патент
№ RU 2366889
МПК F42B39/00
Номер заявки
2007144253/02
Дата подачи заявки
28.11.2007
Опубликовано
10.09.2009
Страна
RU
Как управлять
интеллектуальной собственностью
Чертежи 
5
Реферат

Изобретение относится к области безопасной перевозки, хранения и технического обслуживания взрывоопасных грузов. Контейнер содержит основание с арочной крышей. Под крышей расположены ложемент, бандаж и хомут, скрепленный разъемным элементом с бандажом. В месте их скрепления установлено стопорное устройство. Между бандажом и хомутом расположен подвижный экран, входящий в зацепление с хомутом. Хомут препятствует свободному извлечению разъемных соединений ложемента с бандажом, который в свою очередь связан через подпружиненные задвижки с опасным грузом. Все перекрывается стопорным устройством. Обеспечивается повышенная защита взрывоопасного груза и удобство проведения его технического обслуживания. 2 з.п. ф-лы, 6 ил.

Формула изобретения

1. Контейнер для взрывоопасного груза, содержащий основание с крышей и размещенный на основании ложемент со взрывоопасным грузом, разъемно соединенный с ложементом бандаж и хомут, скрепленный с бандажом разъемным элементом, а в месте их скрепления на хомуте установлено стопорное устройство, отличающийся тем, что он снабжен подвижным экраном, входящим в зацепление с хомутом и расположенным между хомутом и бандажом, который связан с такелажными элементами взрывоопасного груза.

2. Контейнер по п.1, отличающийся тем, что экран установлен с возможностью фиксации в необходимых положениях на направляющие, закрепленные на основании и расположенные с двух противоположных его сторон по всей его длине, а зацепление экрана с хомутом представляет собой стопоры, которые выполнены в виде упора, расположенного на торце боковой поверхности хомута и входящего в паз выступа боковой поверхности экрана, а также упора, расположенного в верхней части хомута, входящего в отверстие экрана.

3. Контейнер по п.2, отличающийся тем, что бандаж снабжен неразъемными с ним корпусами, внутри которых размещены подпружиненные задвижки, связанные с такелажными элементами взрывоопасного груза.

Описание

[1]

Изобретение относится к контейнерным перевозкам, в частности к специальным контейнерам, предназначенным для безопасной перевозки, хранения и технического обслуживания взрывоопасных грузов в регионах с повышенной социальной напряженностью и диверсионной опасностью, а также в условиях возникновения аварийных ситуаций, при которых контейнер с взрывоопасным грузом может быть подвержен доступу посторонних лиц.

[2]

Известна упаковка (контейнер) для взрывоопасного груза (патент РФ №2149347, F42B 39/00, опубл. 20.05.2000 г.), содержащая корпус с крышкой и размещенные внутри корпуса ложементы с фиксирующими устройствами.

[3]

На рабочих сторонах ложементов и поднимающих частей фиксирующих устройств установлены амортизаторы. На внутренней стороне, по меньшей мере, одной из стенок корпуса установлен также амортизатор, при этом в амортизаторе напротив торца, располагаемого в упаковке для взрывоопасного груза, выполнено углубление, входное сечение которого напротив взрывоопасного груза, по меньшей мере, по одному из габаритных размеров меньше контактирующего с амортизатором торца взрывоопасного груза.

[4]

Такая конструкция упаковки (контейнера) позволяет «гасить» энергию от аварийных механических воздействий (падение, удар, опрокидывание) на взрывоопасный груз. Недостатком известной упаковки (контейнера) является то, что она не обеспечивает защиту груза от доступа к нему посторонних лиц, что может привести к похищению или подрыву взрывоопасного груза, а также не имеет средств защиты от воздействия поражающих элементов в виде пуль стрелкового оружия и осколков.

[5]

Известен контейнер для взрывоопасного груза (патент РФ №2257536, F42B 39/00, опубл. 27.07.2005 г.), содержащий основание (корпус) с крышей (крышкой) и размещенный на основании ложемент для опасного груза, разъемно соединенный с ложементом бандаж (фиксирующее устройство) и расположенный между крышей и бандажом хомут (экран), скрепленный с бандажом разъемным элементом, а в месте их скрепления на хомуте установлено стопорное устройство.

[6]

Данный контейнер наиболее близок к предлагаемому контейнеру и выбран в качестве прототипа. Наличие ложемента и крыши в конструкции контейнера, так же как в предыдущем аналоге, позволяет «гасить» энергию от механических воздействий, кроме того, конструкция контейнера предусматривает некоторую защиту от доступа посторонних лиц

[7]

Недостатками известного контейнера являются:

[8]

- недостаточная эффективность обеспечения защиты взрывоопасного груза от доступа посторонних лиц, что может привести к похищению взрывоопасного груза, а именно: при попытке доступа к взрывоопасному грузу с набором инструмента есть возможность вскрыть контейнер и добраться до груза, тем более что здесь отсутствует связь между фиксирующим устройством (бандажом) и опасным грузом, которая намного бы затруднила сбрасывание (срыв) средств защиты (экрана (хомута) и фиксирующего устройства (бандажа)) вместе с тяжелым опасным грузом с основания (корпуса) контейнера.

[9]

- ограниченные возможности проведения технического обслуживания (ТО) с опасным грузом, а именно: при проведении ТО опасного груза необходимо иметь доступ к обслуживаемым элементам внутри груза. Компоновка известного контейнера предполагает, что экран, расположенный, стационарно относительно фиксирующего элемента, находится вне обслуживаемой зоны груза, однако взрывоопасный груз может иметь несколько обслуживаемых зон, и стационарный экран может их перекрывать, что недопустимо при проведении ТО.

[10]

Кроме того, известный контейнер имеет недостаточную защиту от воздействия поражающих элементов в виде пуль стрелкового оружия и осколков.

[11]

Таким образом, задачей настоящего изобретения является создание контейнера, обеспечивающего повышенную защиту от несанкционированного доступа при повышении удобства проведения технического обслуживания взрывоопасного груза.

[12]

Технический результат, который может быть получен при использовании заявленного изобретения, заключается в многоуровневом перекрытии доступа к взрывоопасному грузу и обеспечении проведения ТО в нескольких обслуживаемых зонах при хранении взрывоопасного груза.

[13]

Для достижения указанного технического результата контейнер для взрывоопасного груза, содержащий основание с крышей и размещенные на основании ложемент с взрывоопасным грузом, разъемно соединенный с ложементом бандаж и хомут, скрепленный с бандажом разъемным элементом, а в месте их скрепления на хомуте установлено стопорное устройство, согласно изобретению контейнер снабжен подвижным экраном, входящим в зацепление с хомутом и расположенным между хомутом и бандажом, который связан с такелажными элементами взрывоопасного груза.

[14]

Для предотвращения продольного перемещения экрана относительно хомута при транспортировке, хранении и при проведении ТО, а также удобного разъединения экрана с хомутом, экран установлен с возможностью фиксации в необходимых положениях на направляющие, закрепленные на основании и расположенные с двух противоположных его сторон по всей его длине, а зацепление экрана с хомутом представляет собой стопоры, которые выполнены в виде упора, расположенного на торце боковой поверхности хомута и входящего в паз выступа боковой поверхности экрана, а также упора, расположенного в верхней части хомута и входящего в отверстие экрана.

[15]

Кроме того, для затруднения доступа к взрывоопасному грузу бандаж снабжен неразъемными с ним корпусами, внутри которых размещены подпружиненные задвижки, связанные с такелажными элементами взрывоопасного груза.

[16]

Предложенная новая конструкция контейнера позволяет обеспечить повышенную защиту от доступа к грузу посторонних лиц и повышение удобств его эксплуатации.

[17]

Проведенный заявителем анализ уровня техники, включающий поиск по патентам и научно-техническим источникам информации и выявление источников, содержащих сведения об аналогах заявленного изобретения, позволил установить, что заявителем не обнаружен аналог, характеризующийся признаками, идентичными всем существенным признакам заявленного изобретения, а определение из перечня выявленных аналогов прототипа как наиболее близкого по совокупности признаков аналога позволил выявить совокупность существенных по отношению к усматриваемому заявителем техническому результату отличительных признаков в заявленном объекте, изложенных в формуле изобретения.

[18]

Следовательно, заявленное изобретение соответствует условию патентоспособности "Новизна".

[19]

Для проверки соответствия заявленного изобретения условию «Изобретательский уровень», заявитель провел дополнительный поиск с целью выявления известных решений, содержащих признаки, совпадающие с отличительными от прототипа признаками заявленного изобретения, и не обнаружил таких решений. Следовательно, заявленное изобретение соответствует условию патентоспособности "Изобретательский уровень".

[20]

Предлагаемый контейнер для взрывоопасного груза иллюстрируется чертежами, представленными на фиг.1-6.

[21]

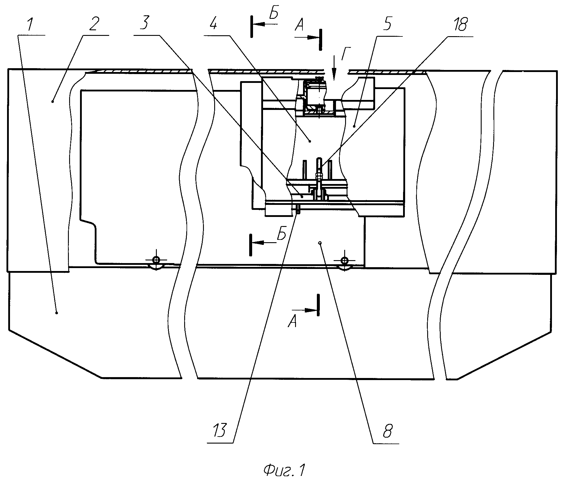
На фиг.1 показан контейнер для взрывоопасного груза;

[22]

- на фиг.2 - разрез А-А на фиг.1;

[23]

- на фиг.3 - экран, вид сбоку;

[24]

- на фиг.4 - разрез Б-Б на фиг.1, расположение упора верхней части хомута в отверстии экрана;

[25]

- на фиг.5 - вид В на фиг.2, расположение упора на торце боковой поверхности хомута в пазу экрана;

[26]

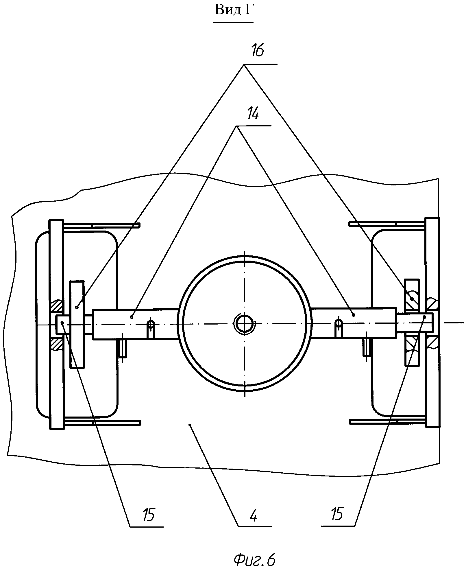
- на фиг.6 - вид Г на фиг.1, расположение разъемных корпусов на бандаже с подпружиненными задвижками, входящими в зацепление с такелажными элементами взрывоопасного груза.

[27]

Контейнер для взрывоопасного груза (фиг.1) содержит основание 1 с арочнообразной крышей 2, которые представляют собой сварные конструкции из стального проката.

[28]

Под крышей 2 расположены закрепленный на основании 1 ложемент 3, бандаж 4 и хомут 5. Хомут 5 скреплен разъемным элементом 6 с бандажом 4 (фиг.2). В месте скрепления на хомуте 5 установлено стопорное устройство 7.

[29]

Контейнер снабжен подвижным экраном 8, выполненным в виде полуцилиндрической обечайки из стали повышенной прочности. Экран 8 расположен между хомутом 5 и бандажом 4, которые также выполнены в виде полуцилиндрических обечаек. Экран 8 установлен своими четырьмя колесами 9 на направляющие (рельсы) 10, по которым он может перемещаться. Направляющие 10 закреплены на основании 1 контейнера с двух его противоположных сторон по всей его длине.

[30]

Экран 8 входит в зацепление с хомутом 5, расположенным между крышей 2 и экраном 8. Хомут 5 выполнен по форме экрана 8 в верхней его части и изготовлен, как и экран 8, из высокопрочной стали (фиг.2).

[31]

В верхней части экрана выполнено отверстие Д, а на боковых поверхностях выполнены выступы 11 с пазами Е (фиг.3).

[32]

Зацепление экрана 8 с хомутом 5 представляет собой стопоры, которые выполнены в виде упора 12, расположенного в верхней части хомута 5, входящего в отверстие Д экрана 8 и упоров 13, расположенных на торцах боковой поверхности хомута 5 и входящих в пазы Е выступов 11 боковой поверхности экрана 8 (фиг.4, 5).

[33]

Бандаж 4 выполнен с двумя неразъемными с ним корпусами 14, внутри которых размещены подпружиненные задвижки 15, которые связаны с такелажными элементами 16 взрывоопасного груза 17 (фиг.6). Такая связь значительно затруднит доступ к взрывоопасному грузу 17, так как при сбрасывании средств защиты с основания 1 контейнера (хомута 5, экрана 8, бандажа 4), связанных между собой вместе, придется преодолевать дополнительно и массу тяжелого взрывоопасного груза 17.

[34]

Стопорное устройство 7 (фиг.2) выполнено в виде резьбовой заглушки, снабженной кодовым замком, перекрывающим доступ к разъемному элементу 6. Хомут 5 препятствует свободному извлечению разъемных соединений 18 например, откидных болтов, связывающих ложемент 3 с бандажом 4. Хомут 5 связан через разъемный элемент 6 с бандажом 4, который в свою очередь связан через подпружиненные задвижки 15 с опасным грузом 17. Вся эта "цепочка" перекрывается стопорным устройством 7. Кроме того, хомут 5 также блокируется экраном 8, который в свою очередь перекрывает несколько разъемных соединений 18.

[35]

Загрузка контейнера осуществляется следующим образом.

[36]

В исходном положении основание 1 контейнера с отстыкованной крышей 2, снятыми хомутом 5, экраном 8 и бандажом 4 установлено горизонтально на монтажной площадке. Грузоподъемными средствами взрывоопасный груз 17 укладывается на ложемент 3, закрывается бандажом 4, при этом подпружиненные задвижки 15 заводят в такелажные элементы 16 взрывоопасного груза 17 и с помощью разъемных соединений 18 закрепляют ложемент 3 и бандаж 4. Затем на основание 1 контейнера устанавливается на направляющие 10 экран 8 и передвигается в положение, необходимое для транспортировки и хранения. При этом частично перекрывая ложемент 3 и бандаж 4 экран 8 закрепляется на направляющих 10 в основании 1 контейнера с помощью, например, болтов. После этого на бандаж 4 и частично на экран 8 устанавливается хомут 5, при этом упоры 12 и 13 хомута 5 входят в отверстие Д и пазы Е экрана 8. Хомут 5 скрепляется с бандажом 4 разъемным элементом 6. В гнездо хомута 5 устанавливается стопорное устройство 7. После этого на основание 1 контейнера, со всеми расположенными в нем элементами, устанавливается крыша 2 контейнера. В таком положении контейнер с взрывоопасным грузом 17 подготовлен для перевозки любыми видами транспортных средств, хранения и выполнения различного вида работ с контейнером и грузом. Технологические операции, выполняемые с грузом при демонтаже, проводятся (в вышеуказанном порядке) в обратной последовательности.

[37]

Рассмотрим вариант аварийной ситуации.

[38]

При попытке доступа посторонних лиц к взрывоопасному грузу 17 необходимо проникнуть в зону разъемных соединений 18 ложемента 3 и бандажа 4, которая перекрыта хомутом 5 и частично экраном 8, причем хомут 5 и экран 8 блокированы между собой для затруднения доступа к взрывоопасному грузу 17. Стопорное устройство 7 перекрывает доступ к разъемному элементу 6, связывающему хомут 5 с бандажом 4. Бандаж 4, в свою очередь, связан с взрывоопасным грузом 17 через подпружиненные задвижки 15, что создает надежную многоуровневую защиту груза.

[39]

Хомут 5 надежно связан с взрывоопасным грузом 17, что позволяет обеспечить защиту от проникновения к взрывоопасному грузу 17.

[40]

Введение подвижного экрана 8, блокируемого с хомутом 5, который в свою очередь связан с взрывоопасным грузом 17 через бандаж 4, значительно уменьшает вероятность доступа посторонних лиц к взрывоопасному грузу 17, обеспечивает дополнительную защиту от внешних воздействий и, кроме того, подвижный экран 8 при снятом хомуте 5 не препятствует проведению ТО с взрывоопасным грузом 17, так как его можно перекатить в любую сторону контейнера, освободив при этом эксплуатационный стык взрывоопасного груза 17, и зафиксировать в необходимых положениях на направляющих 10, например, с помощью подпружиненного штифта, закрепленного на экране (на чертеже не показано).

[41]

Таким образом, предлагаемый контейнер обеспечивает повышенную (многоуровневую) защиту от доступа посторонних лиц, при этом его конструкция позволяет проводить техническое обслуживание в нескольких обслуживаемых зонах взрывоопасного груза, а также обеспечивает защиту от воздействия поражающих элементов в виде пуль стрелкового оружия и осколков.

[42]

Изложенные сведения свидетельствуют о выполнении при использовании заявляемого изобретения следующей совокупности условий:

[43]

- средство, воплощающее заявляемое изобретение при его осуществлении, предназначено для контейнерных перевозок взрывоопасных грузов;

[44]

- для заявляемого устройства в том виде, в котором оно охарактеризовано в формуле изобретения, подтверждена возможность его осуществления с помощью описанных в заявке и известных до даты приоритета средств и методов.

[45]

Следовательно, заявляемое изобретение соответствует условию "промышленная применимость"

Как компенсировать расходы
на инновационную разработку
Похожие патенты