патент
№ RU 2681858
МПК C23C24/04

Портативное устройство для газодинамического напыления покрытий

Авторы:
Школин Сергей Анатольевич Юрьев Юрий Алексеевич Лемешкина Елена Леонидовна
Все (8)
Номер заявки
2017126495
Дата подачи заявки
25.07.2017
Опубликовано
13.03.2019
Страна
RU
Как управлять
интеллектуальной собственностью
Чертежи 
2
Реферат

Изобретение относится к портативному устройству для газодинамического напыления покрытий из порошковых материалов. Блок напыления содержит электронагреватель сжатого газа и сверхзвуковое сопло, выполненное со сменной вставкой, соединенное с выходом электронагревателя, и узел ввода в сопло порошкового материала. Блок управления, соединенный с электронагревателем сжатого газа гибким трубопроводом и электрокабелем, порошковый питатель, выход которого соединен трубопроводом с узлом ввода в сопло порошкового материала, причем сверхзвуковое сопло установлено с возможностью поворота и фиксации на угол до 180°, при этом ось поворота сопла перпендикулярна направлению движения газово-порошкового потока, а для подачи сжатого газа в сверхзвуковое сопло используют трубопровод, выполненный с изгибом под 90° и перпендикулярный оси сопла. Техническим результатом является увеличение срока эксплуатации сменной вставки сверхзвукового сопла, повышение эффективности процесса напыления покрытий и качества покрытия. 3 ил.

Формула изобретения

Портативное устройство для газодинамического напыления покрытий из порошковых материалов, содержащее блок напыления, включающий электронагреватель сжатого газа, соединенный со сверхзвуковым соплом посредством трубопровода, при этом сверхзвуковое сопло выполнено со сменной вставкой и соединено с выходом электронагревателя, и узел ввода в сопло порошкового материала, блок управления, соединенный с электронагревателем сжатого газа посредством электрокабеля и гибкого трубопровода, и порошковый питатель, выход которого соединен трубопроводом с узлом ввода порошкового материала в сопло, отличающееся тем, что сверхзвуковое сопло установлено с возможностью поворота и фиксации на угол не более 180° вокруг оси, перпендикулярной направлению подачи газово-порошкового потока, а для подачи сжатого газа в сверхзвуковое сопло используют трубопровод, выполненный с изгибом под 90° и перпендикулярный оси сопла, при этом узел ввода в сопло порошкового материала выполнен в виде гибкой трубки, посредством которой обеспечивается подача порошка от порошкового питателя в упомянутое сопло и которая натянута на сопло и упомянутый трубопровод не менее чем на 5 мм.

Описание

[1]

Изобретение относится к технологии и средствам для газодинамического нанесения покрытий из порошковых материалов для ремонта и/или восстановления поверхности деталей и изделий, а также получения покрытий, придающих различные свойства обрабатываемым поверхностям и может быть использовано в машиностроении и других отраслях промышленности.

[2]

Известно устройство для газодинамического нанесения покрытий из порошковых материалов, включающее узел подогрева сжатого газа, порошковый питатель-дозатор и сверхзвуковое сопло, отличающееся тем, что выход узла подогрева газа соединен непосредственно с входом сверхзвукового сопла, которое в закритической части соединено через трубопровод с выходом порошкового питателя-дозатора (патент RU №2100474, опубл. 27.12.1997).

[3]

Недостатком этого устройства является то, что в нем отсутствует узел ввода в сопло порошкового материала, наличие и устройстве которого во многом влияют на эффективность процесса напыления в целом.

[4]

Известно устройство для газодинамического напыления порошковых материалов, содержащее блок напыления, включающий электронагреватель сжатого газа и сверхзвуковое сопло, жестко соединенное с выходом электронагревателя сжатого газа и содержащее узел ввода в сопло порошкового материала, блок управления, соединенный с электронагревателем сжатого газа гибким трубопроводом и электрокабелем, а также порошковый питатель (дозатор), выход которого соединен гибким трубопроводом с узлом ввода в сопло порошкового материала (патент RU №2190695, опубл. 10.10.2002). В этом устройстве имеется блок управления, обеспечивающий стабилизацию и контроль температуры сжатого газа, которая является важным параметром режима напыления покрытия.

[5]

Недостатком этого устройства является то, что узел ввода порошка (насадка) установлен вдоль оси сопла и обеспечивает ввод порошка в сопло только по его оси. В этом случае распределение порошка по поперечному сечению сопла может оказываться существенно неравномерным, а именно: с перегрузкой центральной части газового потока в сопле и слабым заполнением периферийной части поперечного сечения сопла. При прочих равных условиях это приводит к уменьшению эффективности напыления в целом.

[6]

Наиболее близким является портативное устройство для газодинамического напыления покрытий из порошковых материалов, содержащее блок напыления, включающий электронагреватель сжатого газа и сверхзвуковое сопло, жестко соединенное с выходом электронагревателя и содержащее узел ввода в сопло порошкового материала, блок управления, соединенный с электронагревателем сжатого газа гибким трубопроводом и электрокабелем, порошковый питатель, выход которого соединен гибким трубопроводом с узлом ввода в сопло порошкового материала, при этом электронагреватель сжатого газа включает в себя кожух, в котором размещен с зазором, заполненным теплоизолятором, металлический корпус, внутри которого установлен тепловыделяющий элемент, при этом в металлическом корпусе выполнены отверстия, обеспечивающие обдув кожуха изнутри ненагретым газом, узел ввода в сопло порошкового материала выполнен с возможностью обеспечения поступления порошкового материала в закритическую часть сверхзвукового сопла под углом к его оси (Патент RU №2257423, опубл. 27.07.2005).

[7]

Недостатками прототипа является то, что вследствие конструктивных особенностей исполнения блока напыления максимальный угол поворота сопла к оси электронагревателя сжатого газа не обеспечивает возможность напыления порошка в наиболее труднодоступные места.

[8]

Задачей является разработка портативного устройства для газодинамического напыления покрытий, позволяющего обеспечить напыление порошка в труднодоступные места, а также уменьшить износ сменной вставки сверхзвукового сопла, что в конечном итоге приводит к повышению эффективности процесса напыления и качества покрытия.

[9]

Техническим результатом является увеличение срока эксплуатации сменной вставки сверхзвукового сопла, повышение эффективности процесса напыления покрытий и качества покрытия.

[10]

Технический результат достигается в портативном устройстве для газодинамического напыления покрытий из порошковых материалов, содержащем блок напыления, включающий электронагреватель сжатого газа, соединенный со сверхзвуковым соплом посредством трубопровода, при этом сверхзвуковое сопло выполнено со сменной вставкой и соединено с выходом электронагревателя и узел ввода в сопло порошкового материала, блок управления, соединенный с электронагревателем сжатого газа посредством электрокабеля и гибкого трубопровода, и порошковый питатель, выход которого соединен трубопроводом с узлом ввода порошкового материала в сопло, причем сверхзвуковое сопло установлено с возможностью поворота и фиксации на угол не более 180° вокруг оси, перпендикулярной направлению подачи газово-порошкового потока, а для подачи сжатого газа в сверхзвуковое сопло используют трубопровод, выполненный с изгибом под 90° и перпендикулярный оси сопла, при этом узел ввода в сопло порошкового материала выполнен в виде гибкой трубки посредством которой обеспечивается подача порошка от порошкового питателя в упомянутое сопло и которая натянута на сопло и упомянутый трубопровод не менее, чем на 5 мм.

[11]

Установка сверхзвукового сопла с возможностью поворота и фиксации на угол до 180° с осью поворота сопла перпендикулярной направлению подачи газово-порошкового потока обеспечивает возможность напыления порошка в наиболее труднодоступные места, где ограничено пространство для напыления покрытий. Подачу сжатого газа в сверхзвуковое сопло осуществляют через трубопровод, выполненный с изгибом под 90° в форме колена и перпендикулярный оси сопла. В результате порошковый материал вводится по центру ускоренного потока сжатого газа. При этом частицы

[12]

порошкового материала захватываются им и движутся вдоль оси сопла и затем по центру сменной вставки сопла. Таким образом, частицы порошкового материала в значительно меньшей степени соударяются со стенками сменной вставки сопла, что уменьшает ее износ и увеличивает срок эксплуатации сменной вставки сверхзвукового сопла.

[13]

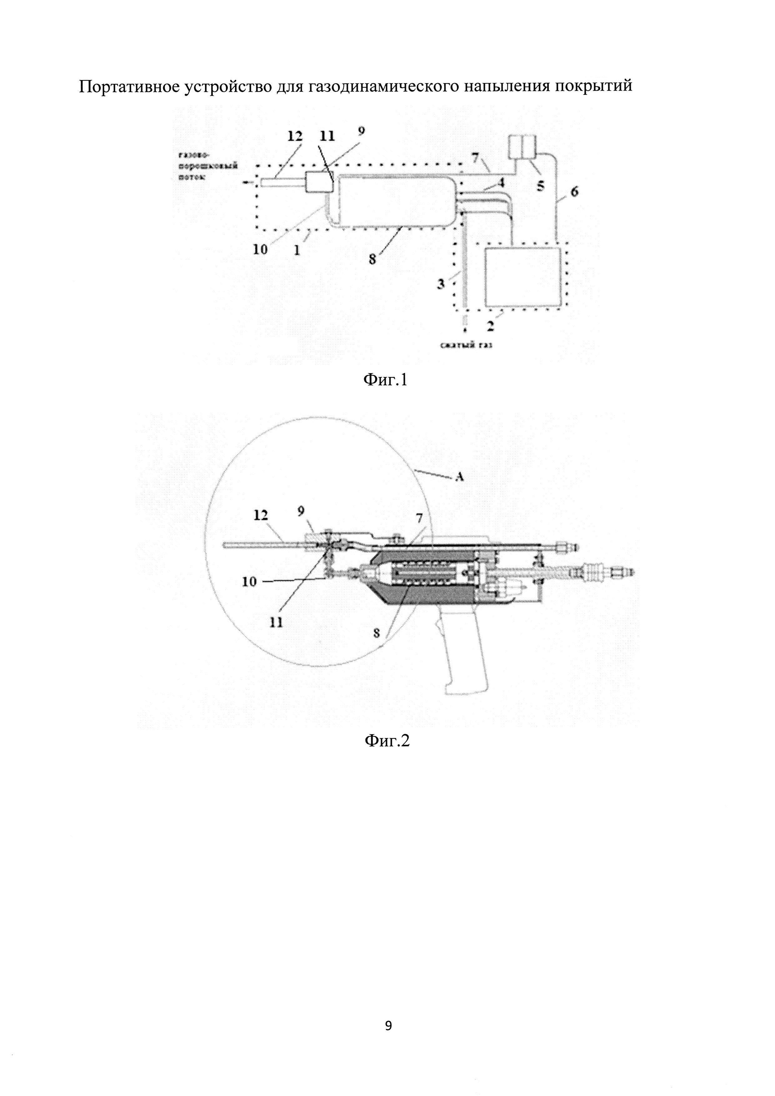
На Фиг. 1 изображена общая схема устройства для газодинамического напыления покрытий.

[14]

На Фиг. 2 - блок напыления в разрезе.

[15]

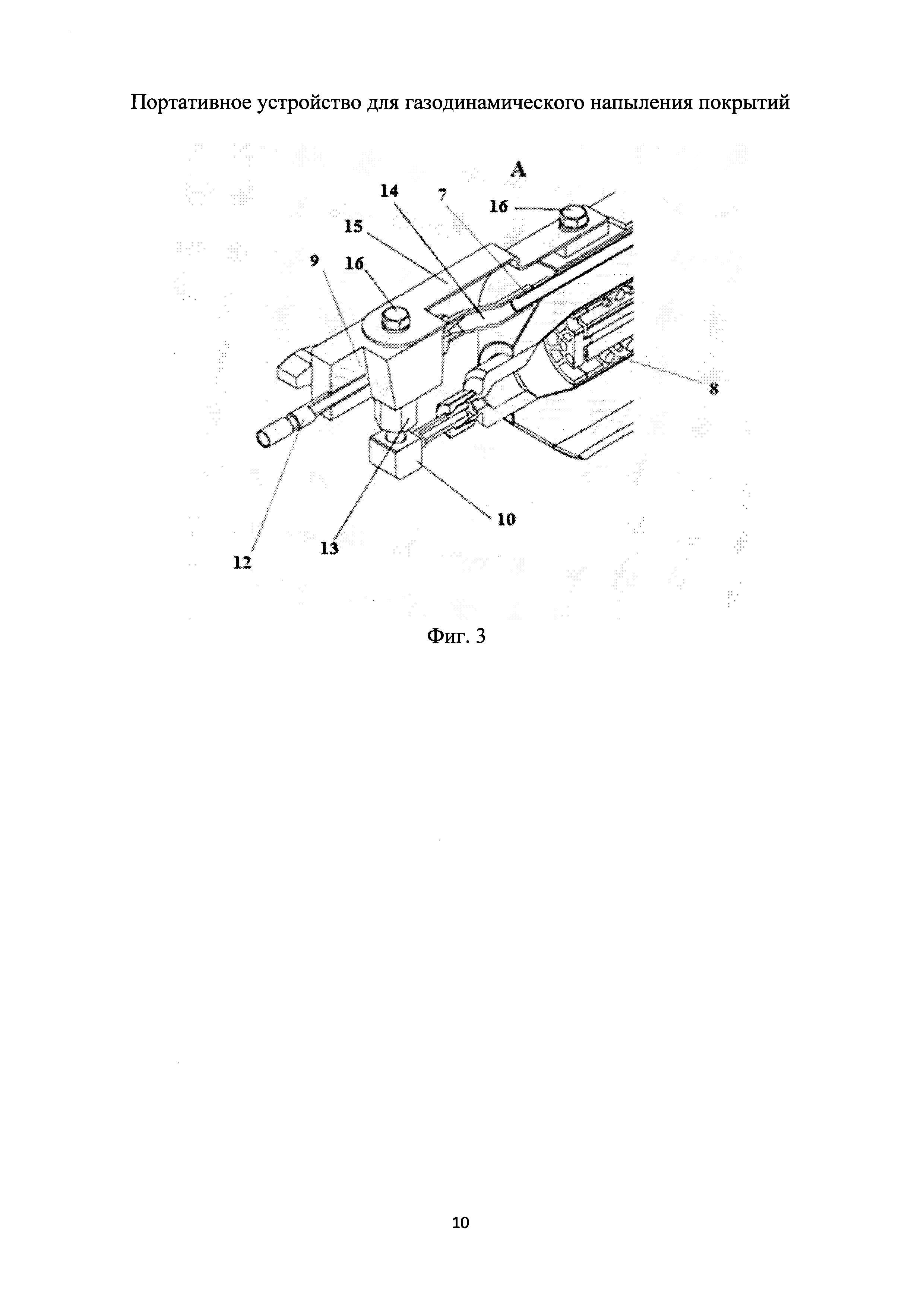
На Фиг. 3 - Вид А блока напыления.

[16]

Портативное устройство для газодинамического напыления покрытий из порошковых материалов содержит блок напыления 1, включающий электронагреватель 8 сжатого газа, выход которого соединен трубопроводом 10 со сверхзвуковым соплом 9, выполненным со сменной вставкой 12, и узел ввода 11в сопло 9 порошкового материала, блок управления 2, соединенный с электронагревателем 8 сжатого газа гибким трубопроводом 3 и электрокабелем 4, порошковый питатель 5, выход которого соединен электрокабелем 6 с блоком управления 2 и соединен трубопроводом 7 с узлом ввода 11 в сопло 9 порошкового материала, причем сверхзвуковое сопло 9 установлено с возможностью поворота и фиксации на угол до 180°, при этом ось поворота сопла 9 перпендикулярна направлению движения газово-порошкового потока. Ввод нагретого воздуха от электронагревателя 8 в сопло 9 осуществляется через трубопровод 10, выполненный с изгибом под 90° в форме колена и перпендикулярный оси сопла 9.

[17]

Фиксация колена трубопровода 10 относительно сопла 9 обеспечивается накидной гайкой 13. Подача порошка от порошкового питателя 5 в сопло 9 при различных углах поворота сопла 9 обеспечивается с помощью гибкой трубки 14. Гибкая трубка 14 должна быть натянута на сопло 9 и трубопровод 7 подачи порошка не менее, чем на 5 мм. Сопло 9 крепится к корпусу электронагревателя 8 с помощью планки 15 и фиксируется винтом 16. Портативное устройство для газодинамического напыления покрытий из порошковых материалов работает следующим образом.

[18]

Газ-носитель поступает в блок управления 2, а затем направляется по гибкому трубопроводу 3 в электронагреватель8 сжатого газа. В блоке управления 2 осуществляется выбор необходимого температурного режима работы устройства. Подача электроэнергии к электронагревателю 8 сжатого газа и передача электрических сигналов от электронагревателя 8 сжатого газа к блоку управления 2 осуществляется по многожильному электрокабелю 4. Сжатый газ из электронагревателя 8 подается в сверхзвуковое сопло 9 со сменной вставкой 12.

[19]

В сверхзвуковом сопле 9 со сменной вставкой 12 сжатый газ ускоряется и внутри сопла 9 формируется сверхзвуковой газовый поток. В этот поток через узел 11 ввода в сверхзвуковое сопло 9 порошкового материала вводится рабочий порошковый материал, который на участке от места ввода его в сопло до выхода из сопла ускоряется до скорости несколько сот метров в секунду и направляется на поверхность обрабатываемого изделия. Рабочий порошковый материал подается в узел ввода 11 в сверхзвуковое сопло 9 по трубопроводу 7, соединенному с выходом порошковых питателей 5. В блоке управления 2 производится выбор необходимого режима работы порошковых питателей 5. Сигналы управления порошковыми питателями передаются из блока управления 2 в порошковые питатели 5 по электрокабелю 6.

[20]

Для подачи порошка в труднодоступные места при напылении покрытий из порошковых материалов используют сверхзвуковое сопло 9 с возможностью его поворота и фиксации на угол до 180°, с осью поворота сопла 9 перпендикулярной направлению движения газово-порошкового потока, а для подачи сжатого газа в сверхзвуковое сопло используют трубопровод, выполненный с изгибом под 90° и перпендикулярный оси сопла 9.

[21]

При напылении порошка в труднодоступные места изменяют угол поворота сопла 9. Для этого необходимо ослабить на 1-2 оборота резьбы винт 16, соединяющий планку 15 и сопло 9, и накидную гайку 13, фиксирующую колено трубопровода 10 и сопло 9, небольшим усилием повернуть сопло 9 относительно оси его поворота на требуемый угол, при этом визуально контролировать, чтобы гибкая трубка 14 подачи порошка не отсоединилась от трубопровода 7 и сопла 9,затянуть накидную гайку 13 на колене трубопровода 10 до упора, затянуть винт 16, соединяющий планку 15 и сопло 9.

[22]

Таким образом, портативное устройство для газодинамического напыления покрытий обеспечивает напыление порошка в труднодоступные места при ремонте и/или восстановлении поверхности деталей и изделий за счет использования сверхзвукового сопла с возможностью его поворота и фиксации на угол до 180°, а также позволяет уменьшить износ сменной вставки сверхзвукового сопла, что в конечном итоге приводит к повышению эффективности процесса напыления и качества покрытия.

Как компенсировать расходы
на инновационную разработку
Похожие патенты