патент
№ RU 2660111
МПК F41F3/04

Способ охлаждения внутренней поверхности транспортно-пускового контейнера (ТПК) при воздействии на нее продуктов сгорания стартового порохового аккумулятора давления (ПАД) при минометном старте твердотопливной ракеты и ТПК для его осуществления

Авторы:
Захаров Виктор Владимирович Сухадольский Александр Петрович Кобцев Виталий Георгиевич
Все (4)
Номер заявки
2016151821
Дата подачи заявки
28.12.2016
Опубликовано
04.07.2018
Страна
RU
Как управлять
интеллектуальной собственностью
Чертежи 
1
Реферат

Группа изобретений относится к средствам запуска твердотопливной ракеты из транспортно-пускового контейнера (ТПК). В способе охлаждения внутренней поверхности ТПК при воздействии на нее продуктов сгорания стартового порохового аккумулятора давления (ПАД) при минометном старте твердотопливной ракеты в полость ТПК с донной его части вдувается вдоль внутренней поверхности по периметру ТПК низкотемпературный инертный газ с расходом пропорционально расходу продуктов сгорания заряда ПАДа. ТПК для минометного старта твердотопливной ракеты содержит корпус в виде трубы с дном, в котором установлен ПАД старта. Донная часть трубы ТПК выполнена в виде поднутренного стакана с фланцем для наружного крепления к трубе ТПК. Снаружи стакана по периметру расположены низкотемпературные (≤100°С) пиротехнические газогенераторы инертного газа, газосвязанные с внутренней полостью ТПК через кольцевой ресивер, закрепленный снаружи фланца стакана, и равномерно расположенные во фланце стакана отверстия. Техническим результатом группы изобретений является сокращение сроков эвакуации пусковой установки после старта ракеты. 2 н. и 1 з.п. ф-лы, 1 ил.

Формула изобретения

1. Способ охлаждения внутренней поверхности транспортно-пускового контейнера (ТПК) при воздействии на нее продуктов сгорания стартового порохового аккумулятора давления (ПАД) при минометном старте твердотопливной ракеты, состоящий в том, что в полость ТПК с донной его части вдувается вдоль внутренней поверхности по периметру ТПК низкотемпературный (≤100°С) инертный газ с расходом пропорционально расходу продуктов сгорания заряда ПАДа.

2. Способ по п. 1, отличающийся тем, что после вылета ракеты из ТПК для вытеснения высокотемпературных продуктов сгорания ПАДа из полости ТПК охлаждающий газ подается в полость ТПК с избыточным давлением.

3. Транспортно-пусковой контейнер (ТПК) для минометного старта твердотопливной ракеты, содержащий корпус в виде трубы с дном, в котором установлен ПАД старта, отличающийся тем, что донная часть трубы ТПК выполнена в виде поднутренного стакана с фланцем для наружного крепления к трубе ТПК, причем снаружи стакана по периметру расположены низкотемпературные (≤100°С) пиротехнические газогенераторы (НГГ) инертного газа, газосвязанные с внутренней полостью ТПК через кольцевой ресивер, закрепленный снаружи фланца стакана, и равномерно расположенные во фланце стакана отверстия.

Описание

[1]

Настоящее техническое решение относится к средствам запуска твердотопливной ракеты наземного базирования из транспортно-пускового контейнера (ТПК), находящегося на пусковой установке (ПУ). (См., например, кн. Энциклопедия отечественного ракетного оружия, 1817-2002 гг.», гл. 24, «Межконтинентальная баллистическая ракета РТ-2ПМ «Тополь», с. 496-498; ракета «Пионер», с. 494-495).

[2]

В существующих ракетных комплексах для проведения работ по эвакуации ПУ после старта ракеты необходимо время ~ 10-15 минут для уменьшения температуры конструкции ТПК, чтобы обслуживающий персонал мог провести завершающие операции.

[3]

В современных условиях требования к времени эвакуации ПУ после старта ракеты составляют 3-5 минут.

[4]

Эту задачу предлагается решить за счет охлаждения внутренней поверхности ТПК от продуктов сгорания заряда ПАДа старта (~ 2000°С) путем вытеснения горячего газа из полости ТПК за счет вдува в полость ТПК со стороны донной его части вдоль внутренней поверхности по периметру ТПК низкотемпературного (~ 100°С) инертного газа (например, азота).

[5]

Для этого предлагается донную часть трубы ТПК, в которой установлен ПАД старта, выполнить в виде поднутренного стакана с фланцем для наружного крепления к трубе ТПК, причем снаружи стакана по периметру расположены низкотемпературные (~ 100°С) пиротехнические газогенераторы (HIT) инертного газа (например, азота), газосвязанные с внутренней полостью ТПК через кольцевой ресивер, закрепленный снаружи фланца стакана, и равномерно расположенные во фланце стакана отверстия.

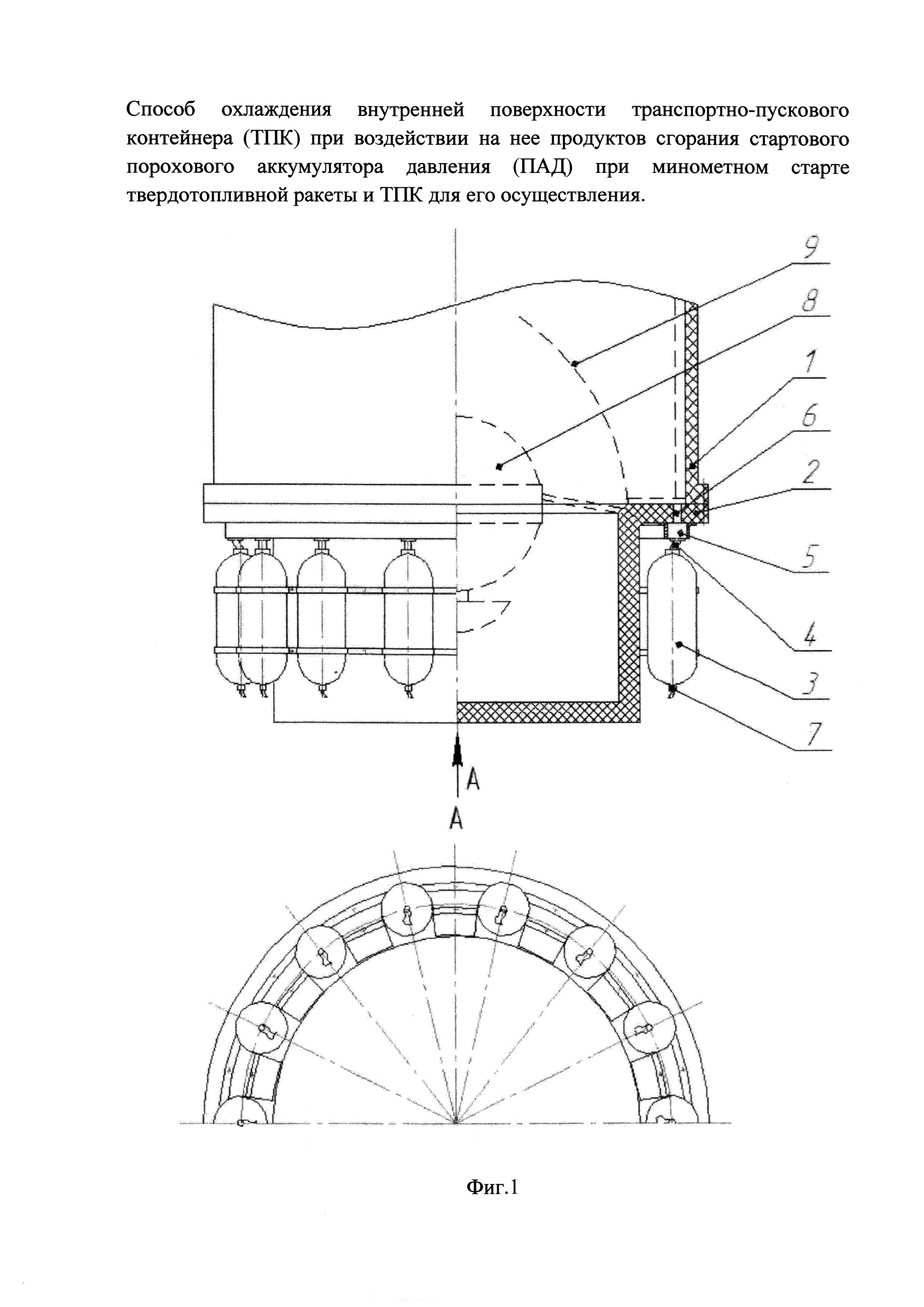
[6]

Предложенный способ охлаждения внутренней поверхности ТПК при воздействии на нее продуктов сгорания заряда стартового ПАДа при минометном старте твердотопливной ракеты и ТПК для его осуществления поясняется чертежом, изображенным на фиг. 1.

[7]

Здесь: труба (1) ТПК, выполненная из стеклопластика, за наружный фланец пристыкована к дну (2) ТПК, выполненного в виде поднутренного стакана с фланцем для крепления к трубе ТПК. Вокруг цилиндрической части дна (2) расположены низкотемпературные газогенераторы (НГГ) (3), которые через газоходы (4) соединены с кольцевым ресивером (5), закрепленным снаружи фланца стакана дна (2), осуществляется газовая связь с полостью ТПК. НГГ (3) имеют узлы задействования (7), связанные с системой управления стартом ракеты.

[8]

На фиг. 1 пунктиром обозначены: ПАД старта (8), хвостовой отсек стартового двигателя (9).

[9]

В качестве источника инертного газа могут быть применены пиротехнические азотгенерирующие устройства (см., например, патент RU №2347979), содержащие корпус с камерой сгорания, заряд твердого источника азота (~ 60% выхода азота), блок охлаждения азота, обеспечивающий температуру на выходе ~ 100°С.

[10]

При движении ракеты в ТПК обеспечивается примерно постоянное давление в полости между торцевой плоскостью хвостового отсека стартового отсека и стенкой ТПК (~ 5 кГ/см2) за счет прогрессивного расхода газа ПАДа старта из-за увеличивающегося объема внутренней полости ТПК.

[11]

Для обеспечения минимального теплового воздействия от высокотемпературных продуктов сгорания заряда ПАДа старта на стенку ТПК создается кольцевой пристеночный слой низкотемпературного азота, поступающего из ресивера.

[12]

При этом расход низкотемпературного азота пропорционален росту расхода газов от ПАДа старта.

[13]

После вылета ракеты из ТПК высокотемпературные продукты сгорания заряда ПАДа старта, находящиеся в полости ТПК при давлении в ~ 5кГ/см2, истекают из ТПК в течение ~ 0,5 с.

[14]

Остаточное давление составляет 0,5-1,5 кГ/см2 и продолжает оказывать тепловое воздействие на внутреннее теплозащитное покрытие ТПК.

[15]

В этот момент срабатывают НГГ, обеспечивая максимальный расход газа с температурой ~ 100°С для обдувания стенки ТПК и вытеснения из полости ТПК оставшихся там продуктов сгорания заряда ПАДа старта.

[16]

Процесс перемешивания и вытеснения горячих газов составляет 2-3 с.

[17]

Предложенный способ охлаждения внутренней поверхности ТПК от высокотемпературных продуктов сгорания заряда ПАДа старта ракеты и конструктивное выполнение донной части ТПК с использованием низкотемпературных газогенераторов позволяет уменьшить время воздействия на ТПК горячих газов после запуска ракеты до 3-5 минут, и тем самым дать возможность провести необходимые завершающие операции для эвакуации ПУ за сокращенное время.

[18]

При движении ракеты в ТПК обеспечивается расход низкотемпературного газа пропорционально росту расхода газов от ПАДа старта. Для вытеснения горячих газов из полости ТПК после вылета ракеты обеспечивается максимальный расход низкотемпературного газа НГГ для обдувания стенки ТПК. Процесс перемешивания и вытеснения горячих газов составляет 2-3 с.

[19]

Предложенный способ охлаждения внутренней поверхности ТПК от высокотемпературных продуктов сгорания заряда ПАДа старта ракеты и конструктивное выполнение донной части ТПК с использованием низкотемпературных газогенераторов позволяет уменьшить время воздействия на ТПК горячих газов после запуска ракеты до 3-5 минут, и тем самым дать возможность провести необходимые завершающие операции для эвакуации ПУ за сокращенное время.

Как компенсировать расходы
на инновационную разработку
Похожие патенты