патент
№ RU 2407438
МПК A61B6/00

РЕНТГЕНОГРАФИЧЕСКАЯ УСТАНОВКА ДЛЯ МЕДИЦИНСКОЙ ДИАГНОСТИКИ

Авторы:
Мишкинис Александр Борисович
Номер заявки
2009136087/14
Дата подачи заявки
30.09.2009
Опубликовано
27.12.2010
Страна
RU
Как управлять
интеллектуальной собственностью
Чертежи 
4
Реферат

Изобретение относится к разделу медицинской техники, а именно к рентгенодиагностическим аппаратам, предназначенным для использования как в специализированных медицинских учреждениях, например противотуберкулезных диспансерах, так и больницах общего профиля. В рентгенографической установке, содержащей расположенные на одной центральной оптической оси рентгеновский излучатель с щелевым коллиматором и центральный линейный рентгеновский детектор, механическое сканирующее устройство с системой вывода на уровень томографического среза рентгеновского излучателя с щелевым коллиматором и центрального линейного рентгеновского детектора, площадку для ног пациента с устройством ее вращения, рентгеновский излучатель подключен к высокочастотному рентгеновскому генератору и программируемому блоку управления. Линейный рентгеновский детектор соединен с системой преобразования, регистрации и формирования изображения, щелевой коллиматор имеет два выходных окна со шторками, одно из которых оптически сопряжено с центральным линейным детектором, а второе - с дополнительным линейным детектором, установленным параллельно центральному. Входное окно дополнительного детектора оптически сопряжено через второе выходное окно коллиматора с лучом рентгеновского излучателя, идущим под углом α=arctg s/f к центральному, где s - это расстояние между входными окнами центрального и дополнительного линейных детекторов, a f - расстояние от фокуса рентгеновского излучателя до входного окна центрального линейного рентгеновского детектора по нормали к его плоскости. Дополнительный линейный рентгеновский детектор соединен с с�

Формула изобретения

Рентгенографическая установка для медицинской диагностики, содержащая расположенные на одной центральной оптической оси рентгеновский излучатель с щелевым коллиматором и центральный линейный рентгеновский детектор, механическое сканирующее устройство с системой вывода на уровень томографического среза рентгеновского излучателя с щелевым коллиматором и центрального линейного рентгеновского детектора, площадку для ног пациента с устройством ее вращения, причем рентгеновский излучатель подключен к высокочастотному рентгеновскому генератору и программируемому блоку управления, а линейный рентгеновский детектор соединен с системой преобразования, регистрации и формирования изображения, отличающаяся тем, что щелевой коллиматор имеет два выходных окна со шторками, одно из которых оптически сопряжено с центральным линейным детектором, а второе - с дополнительным линейным детектором, установленным параллельно центральному, входное окно дополнительного детектора оптически сопряжено через второе выходное окно коллиматора с лучом рентгеновского излучателя, идущим под углом α=arctg s/f к центральному, где s - это расстояние между входными окнами центрального и дополнительного линейных детекторов, a f - расстояние от фокуса рентгеновского излучателя до входного окна центрального линейного рентгеновского детектора по нормали к его плоскости, при этом дополнительный линейный рентгеновский детектор соединен с системой преобразования, регистрации и формирования изображения и имеет пространственную разрешающую способность более высокую, чем центральный линейный рентгеновский детектор.

Описание

[2]

Предлагаемое изобретение относится к разделу медицинской техники, а именно к рентгенодиагностическим аппаратам, предназначенным для использования как в специализированных медицинских учреждениях, например противотуберкулезных диспансерах, так и больницах общего профиля.

[3]

Известна малодозовая цифровая рентгеновская установка (МЦРУ) «Сибирь», разработанная в институте ядерной физики им. Г.И.Будкера (Новосибирск) (Белова И.Б., Китаев В.М. Малодозовая цифровая рентгенография. - Орел, 2001 г., с.29). МЦРУ «Сибирь» содержит высоковольтный генератор высокочастотного типа, рентгеновский излучатель с щелевым коллиматором, многоэлементный линейный рентгеновский детектор, соединенный с системой регистрации и воспроизведения изображения, механическое сканирующее устройство, защитную кабину с площадкой для ног пациента. Сканирование пациента выполняется в вертикальном направлении узким горизонтальным веерным рентгеновским пучком.

[4]

Известно также радиографическое сканирующее устройство (Международная заявка WO 02/17790 А1 от 07.03.2002), содержащее последовательно расположенные на одной оптической оси источник рентгеновского излучения, щелевой коллиматор и линейный приемник рентгеновского излучения. Приемник и коллиматор закреплены на едином кронштейне, установленном с возможностью вращения вокруг вертикальной оси, проходящей через фокус источника рентгеновского излучения.

[5]

В отличие от первого аналога в этом аппарате сканирование пациента производится в горизонтальной плоскости узким вертикальным рентгеновским пучком.

[6]

Известна также рентгенографическая установка для медицинской диагностики (Патент RU 2098929 от 29.05.95 г. А61В 6/00), содержащая высокочастотный рентгеновский генератор, рентгеновский излучатель с щелевым коллиматором, рентгеновский детектор, соединенный с системой регистрации и воспроизведения изображения, механическое сканирующее устройство, защитную кабину с площадкой для ног пациента.

[7]

Сканирование пациента производится в вертикальном направлении. Рентгеновское излучение, прошедшее через тело пациента, регистрируется многоэлементным линейным детектором (МЛД). Детектор улавливает сигналы, минимально превышающие порог чувствительности усилителя, благодаря чему фоновое излучение не фиксируется и создается оптимальное соотношение «сигнал-шум». При этом максимально уменьшается радиационная доза на пациента.

[8]

Информация, накопленная в МЛД во время экспозиции строки, переписывается в память ЭВМ, и затем начинается регистрация следующей по вертикали строки. Для этой цели рентгеновский излучатель, щелевой коллиматор и МЛД во время съемки одновременно и равномерно перемещаются в вертикальном направлении. Коллиматор с узкой щелью формирует тонкий веерообразный пучок рентгеновского излучения, который после прохождения через тело пациента попадает во входное окно МЛД.

[9]

Информация, накопленная детектором за время экспозиции строки, передается в компьютер. После окончания съемки кадра в памяти компьютера формируется матрица изображения (320×256 чисел), содержащая информацию о распределении излучения после прохождения через тело пациента. Цифровое рентгеновское изображение выводится на видеомонитор компьютера через 5 с после окончания сканирования.

[10]

Управление аппаратом осуществляется с помощью ЭВМ. Программное обеспечение включает в себя основную программу, управляющую аппаратом во время съемки, и программы для контроля работоспособности блоков и аппарата в целом.

[11]

Все известные аналоги предназначены в первую очередь для рентгенологического исследования легких (флюорографии) с целью своевременного выявления туберкулеза и других заболеваний органов грудной полости.

[12]

Недостатком всех известных аналогов является невозможность получения томографического среза в зоне интереса, что затрудняет проведение диагностики и ограничивает эксплуатационные возможности аппарата.

[13]

Наиболее близким по конструкции к заявляемому объекту является рентгенографическая установка для медицинской диагностики (Патент RU 2343836 от 15.08.2007 г. А61В 6/00), содержащая высокочастотный рентгеновский генератор, рентгеновский излучатель с щелевым коллиматором, линейный рентгеновский детектор, механическое сканирующее устройство, защитную кабину с площадкой для ног пациента, снабженной механизмом вращения пациента, причем рентгеновский излучатель подключен к высокочастотному рентгеновскому генератору и программируемому блоку управления, снабженному ЭВМ, пультом управления и видеомонитором, а линейный детектор соединен с цифровой электронной системой преобразования, регистрации и формирования изображения. Рентгеновский излучатель с щелевым коллиматором оптически сопряжены с линейным рентгеновским детектором и механически связаны между собой кронштейном.

[14]

Данная рентгенографическая установка позволяет выполнять как флюорографию легких, так и поперечную компьютерную томографию в зоне интереса; она выбрана нами в качестве прототипа.

[15]

Недостатком прототипа является перегрев рентгеновского излучателя в режиме компьютерной томографии.

[16]

Это связано с тем, что к линейным рентгеновским детекторам, которые используются при рентгеновской флюорографии и в компьютерной томографии, предъявляются различные технические требования. Линейный детектор, применяемый при флюорографии, должен иметь повышенную пространственную разрешающую способность (не хуже 2,5 пар линий на мм). Линейный детектор, применяемый в компьютерной томографии, имеет пространственную разрешающую способность значительно ниже, приблизительно 1,0 пар линий на мм. За счет этого он имеет более высокую оптическую чувствительность, что позволяет проведение компьютерной томографии при более щадящей энергетической нагрузке на рентгеновский излучатель.

[17]

Вот почему использование линейного детектора с разрешающей способностью 2,5 пар линий на мм в режиме компьютерной томографии, как это имеет место в прототипе, приводит к перегреву рентгеновского излучателя.

[18]

Целью изобретения является обеспечение оптимальных условий работы рентгеновского излучателя в режиме компьютерной томографии.

[19]

Данная цель достигается тем, что в рентгенографической установке для медицинской диагностики, содержащей расположенные на одной центральной оптической оси рентгеновский излучатель с щелевым коллиматором и центральный линейный рентгеновский детектор, механическое сканирующее устройство с системой вывода на уровень томографического среза рентгеновского излучателя с щелевым коллиматором и центрального линейного рентгеновского детектора, площадку для ног пациента с устройством ее вращения, причем рентгеновский излучатель подключен к высокочастотному рентгеновскому генератору и программируемому блоку управления, а линейный рентгеновский детектор соединен с системой преобразования, регистрации и формирования изображения, щелевой коллиматор имеет два выходных окна со шторками, одно из которых оптически сопряжено с центральным линейным детектором, а второе - с дополнительным линейным детектором, установленным параллельно центральному, входное окно дополнительного детектора оптически сопряжено через второе выходное окно коллиматора с лучом рентгеновского излучателя, идущим под углом α=arctg s/f к центральному, где s - это расстояние между входными окнами центрального и дополнительного линейных детекторов, a f - расстояние от фокуса рентгеновского излучателя до входного окна центрального линейного рентгеновского детектора по нормали к его плоскости, при этом дополнительный линейный рентгеновский детектор соединен с системой преобразования, регистрации и формирования изображения и имеет пространственную разрешающую способность более высокую, чем центральный линейный рентгеновский детектор.

[20]

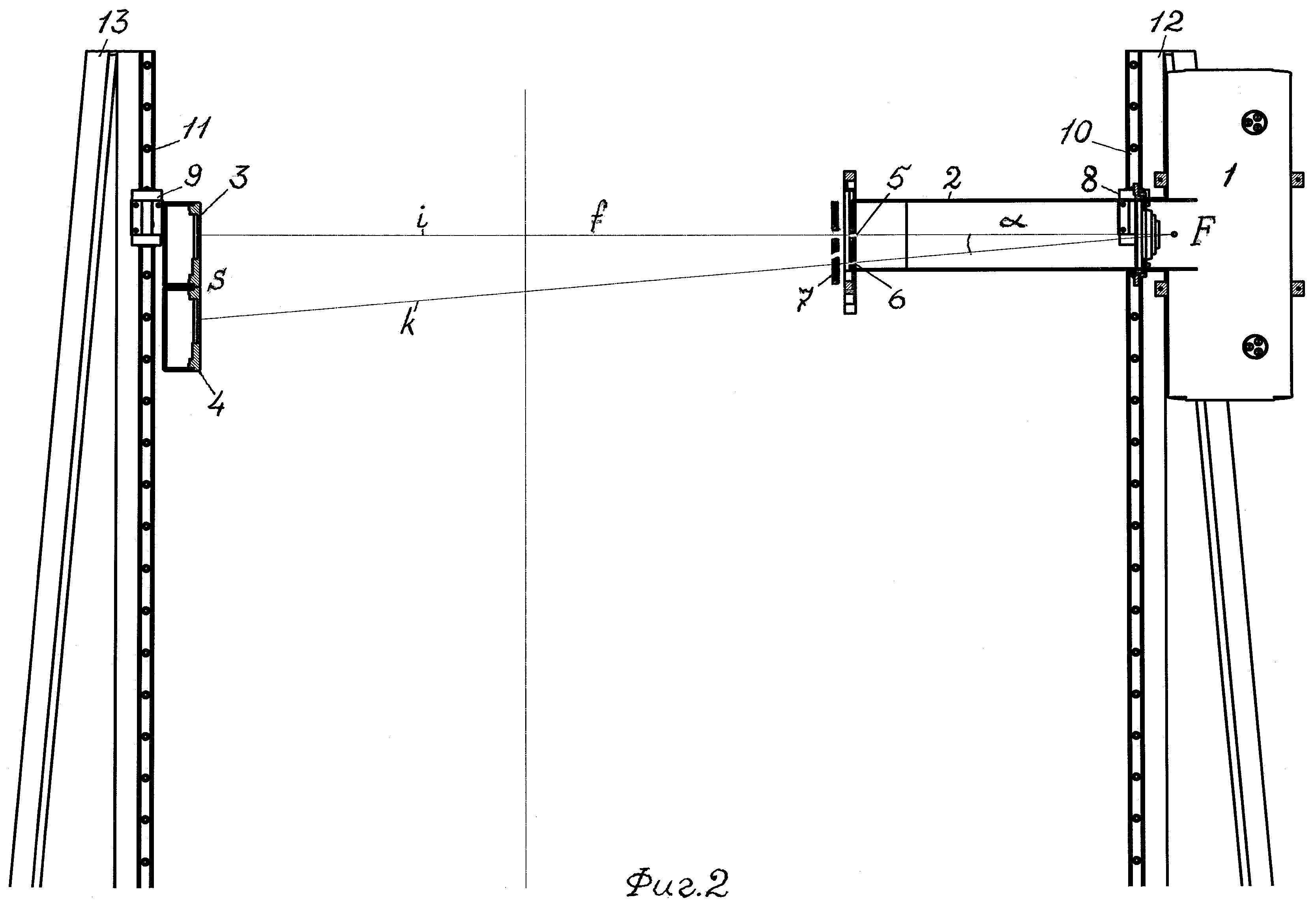
В дальнейшем изобретение сопровождается чертежами и описанием к ним. На фиг.1 показаны основные элементы рентгеновского штатива, на фиг.2 - геометрия хода рентгеновских лучей от рентгеновского излучателя к линейным детекторам, а на фиг.3 приведена блок-схема рентгенографической установки. На фиг.4 показано положение пациента при съемке.

[21]

Штатив рентгенографическая установка для медицинской диагностики содержит рентгеновский излучатель 1 с щелевым коллиматором 2 и два линейный рентгеновский детектора 3 и 4 (фиг.1). В качестве линейных детекторов используются полупроводниковая линейка матричного типа. Коллиматор 2 имеет две щели, центральную 5, оптически сопряженную с оптическим входом центрального линейного рентгеновского детектора 3, и нижнюю 6, оптически сопряженную с рентгеновским детектором 4 (фиг.2). Нижний рентгеновский пучок k проходит относительно центрального i под углом α=arctg s/f, где s - это расстояние между входными окнами центрального 3 и дополнительного 4 линейных детекторов, a f - расстояние от фокуса F рентгеновского излучателя 1 до входного окна центрального линейного рентгеновского детектора 3 по нормали к его плоскости. Вершина угла сопряжена с фокусом F рентгеновского излучателя 1.

[22]

Рентгенографию легких, как правило, выполняют при f=1500 мм. Расстояние s определяется шириной линейных детекторов и составляет приблизительно 30 мм. При этих величинах угол α=1° 10'.

[23]

Включение центрального i или нижнего k рентгеновских пучков производится шторкой 7, изготовленной из материала с высоким атомным номером.

[24]

Нижний линейный рентгеновский детектор 4 имеет пространственную разрешающую способность не хуже 2,5 пар линий на мм и предназначен для получения флюорографического изображения легких. Пространственная разрешающая способность центрального линейного рентгеновского детектора 3 составляет приблизительно 1,0 пар линий на мм; он предназначен для получения поперечного компьютерного среза в зоне интереса.

[25]

Рентгеновский излучатель 1 закреплен на вертикальной каретке 8, а линейные рентгеновские детекторы 3 и 4 закреплены на вертикальной каретке 9. Каретки 8 и 9 могут синхронно и равномерно перемещаться вдоль направляющих 10 и 11, соответственно, которые закреплены на фермах 12 и 13. Движение кареток 8 и 9 происходит при вращении червячных валов (не показаны), механически связанных с электродвигателем 14 реверсионного типа. Все эти элементы входят в состав механического сканирующего устройства рентгенографической установки.

[26]

Внизу между фермами 12 и 13 находится площадка 15 для ног пациента, оснащенная механизмом для ее вращения, содержащим электродвигатель 16, редуктор 17 и группу шестеренок 18. Площадка 15 оборудована экраном 19, изготовленным из жесткого рентгенопрозрачного материала, например оргстекла (фиг.4). К экрану 19 прижимается грудь пациента А во время съемки. На площадке 15 также закреплены фиксаторы для ног и рук пациента А (не показаны).

[27]

Рентгенографическая установка содержит систему вывода сканирующего устройства на уровень томографического среза, включающую координатометр 20, механически соединенный с электродвигателем 14 сканирующего устройства, а электрически - через ЭВМ 21 с видеомонитором 22 (фиг.3).

[28]

Управление аппаратом осуществляется с помощью ЭВМ 21 с программированного блока управления 23. Программное обеспечение содержит основную управляющую программу, предназначенную для получения стандартного цифрового рентгеновского изображения, тестовую программу для проведения контроля работоспособности блоков и аппарата в целом и дополнительную программу для получения поперечных томографических изображений. Высокое напряжение на рентгеновский излучатель 1 подается с высокочастотного генератора 24 по команде ЭВМ 21.

[29]

При получении стандартного цифрового рентгеновского изображения распределение излучения в горизонтальном направлении (строка) измеряется с помощью многоэлементного линейного детектора 4. Строки «сшиваются» в кадр путем механического сканирования тела пациента в вертикальном направлении. Для этой цели рентгеновский излучатель 1 с щелевым коллиматором 2 и детектор 4 во время съемки одновременно и равномерно перемещаются в вертикальном направлении. Коллиматор 2 с шириной щели от 0,5 до 2,0 мм формирует тонкий веерообразный наклонный пучок k рентгеновского излучения, который после прохождения через тело пациента А попадает во входное окно линейного детектора 4. Детектор 4 соединен с электронной системой преобразования, регистрации и воспроизведения цифрового изображения 25, подключенной к ЭВМ 21. Информация, накопленная в приемниках многоэлементного линейного детектора 3 во время экспозиции строки, переписывается в память ЭВМ 21, после чего начинается регистрация следующей по вертикали строки. После окончания съемки кадра в памяти накапливается цифровое изображение-матрица чисел, описывающая распределение излучения после прохождения через тело пациента.

[30]

Первое необработанное изображение на видеомониторе возникает одновременно со сканированием. На экране видеомонитора отображается рентгеновское изображение внутренних органов пациента, например легких, и координатная шкала, позволяющая определить положение того или иного структурного элемента организма по высоте (в системе координат аппарата).

[31]

В случае обнаружения патологического образования, например туберкулезной каверны в легком, врач-рентгенолог наводит «плавающую марку» видеомонитора на целевую точку изображения и нажимает соответствующую кнопку на клавиатуре 26 видеомонитора 22. При этом, во-первых, на программируемом блоке управления 23 включается дополнительная программа получения поперечного томографического среза, и во-вторых, сигнал через ЭВМ 21 и координатометр 20 поступает на электродвигатель 14 сканирующей системы, в результате чего рентгеновский излучатель 1 с щелевым коллиматором 2 и детектор 3 выводятся на уровень томографического среза. Шторка 7 коллиматора 2 переводится в верхнее положение, при котором открывается горизонтальный рентгеновский пучок i, идущий к детектору 3 (см. фиг.2). Детектор 3 соединен с электронной системой преобразования, регистрации и воспроизведения цифрового изображения 26, подключенной к ЭВМ 21. Кроме того, включается электродвигатель 16, задающий равномерное вращение площадки 15, например, со скоростью 1 оборот в секунду. Пациенту А дается команда «глубокий вдох и не дышать». После чего включается рентгеновский излучатель 1. ЭВМ 21 производит обработку сигнала, приходящего с линейного детектора 3, и формируется матрица томографического среза, которая выводится на экран видеомонитора для визуального анализа.

[32]

Для получения одного томографического среза достаточна цифровая информация, полученная ЭВМ за один оборот каретки (360°). При экспозиции одной строки 0,015 с за один оборот каретки производится 67 сканов (строчных сканирований). Если многоэлементный линейный детектор содержит 400 датчиков, то при получении одного томографического среза ЭВМ обрабатывает 26800 дискретных сигналов.

[33]

Предложенное техническое решение обеспечивает возможность пациентам свободно проходить через установку и выходить из рентгеновского кабинета через противоположную от входа дверь, что ускоряет процесс флюорографии. Такая возможность особенно важна при массовой флюорографии населения.

Как компенсировать расходы
на инновационную разработку
Похожие патенты