патент
№ RU 2704279
МПК G06K19/067

Радиочастотная идентификационная метка

Авторы:
Красовский Андрей Александрович
Номер заявки
2019106998
Дата подачи заявки
13.03.2019
Опубликовано
25.10.2019
Страна
RU
Как управлять
интеллектуальной собственностью
Чертежи 
3
Реферат

Изобретение относится к области радиочастотной идентификации. Технический результат заключается в повышении дальности чтения RFID метки на частотах СВЧ (860-960 МГц). Технический результат достигается за счет радиочастотной идентификационной метки, выполненной с возможностью размещения полностью на металлической поверхности, при этом упомянутая метка содержит инлей, на котором размещены чип и антенна, и диэлектрический сердечник. Антенна содержит первый участок длиной 92-96 мм и второй участок длиной 94-100 мм. Диэлектрический сердечник выполнен в форме параллелепипеда из материала с диэлектрической проницаемостью 1,9-2,5 и имеет верхнюю сторону, торцевую сторону и нижнюю сторону. Инлей расположен на диэлектрическом сердечнике таким образом, что первый участок антенны расположен на верхней части диэлектрического сердечника, второй участок антенны расположен на нижней части диэлектрического сердечника, а чип расположен на торцевой стороне диэлектрического сердечника. 4 з.п. ф-лы, 11 ил.

Формула изобретения

1. Радиочастотная идентификационная метка, характеризующаяся тем, что выполнена с возможностью размещения полностью на металлической поверхности и содержит инлей, на котором размещены чип и антенна, и диэлектрический сердечник; антенна содержит первый участок длиной 92-96 мм и второй участок длиной 94-100 мм, а диэлектрический сердечник выполнен в форме параллелепипеда из материала с диэлектрической проницаемостью 1,9-2,5 и имеет верхнюю сторону, торцевую сторону и нижнюю сторону, причем инлей расположен на диэлектрическом сердечнике таким образом, что первый участок антенны расположен на верхней части диэлектрического сердечника, второй участок антенны расположен на нижней части диэлектрического сердечника, а чип расположен на торцевой стороне диэлектрического сердечника.

2. Радиочастотная идентификационная метка по п.1, характеризующаяся тем, что инлей и диэлектрический сердечник размещены в корпусе.

3. Радиочастотная идентификационная метка по п.1, характеризующаяся тем,что инлей содержит подложку из PET или полиамида, на которой размещена антенна.

4. Радиочастотная идентификационная метка по п.1, характеризующаяся тем,что металлическая поверхность выполнена в виде металлической пластины, на которой закреплены инлей и диэлектрический сердечник.

5. Радиочастотная идентификационная метка по п.4, характеризующаяся тем,что инлей и диэлектрический сердечник, размещенные на металлической пластине, расположены в корпусе.

Описание

[1]

Изобретение относится к области радиочастотной идентификации, в частности к конструкции радиочастотных идентификационных меток на интегральных схемах.

[2]

Далее по тексту будут использованы следующие термины и сокращения.

[3]

Радиочастотная идентификация (сокр. РЧИД, RFID – англ. Radio Frequency IDentification) — способ автоматической идентификации объектов, в котором посредством радиосигналов считываются или записываются данные, хранящиеся в так называемых транспондерах или RFID-метках.

[4]

Инлей (англ. Inlay) – функциональная часть RFID метки, в которой закодирована идентификационная информация и которая состоит из двух компонентов: интегральной схемы или чипа, соединенной с металлической антенной, выполненной из алюминия, меди или серебра; антенна и чип расположены на подложке.

[5]

Чип – интегральная (микро)схема – микроэлектронное устройство — электронная схема произвольной сложности (кристалл), изготовленная на полупроводниковой подложке (пластине или плёнке).

[6]

RFID-считыватель (ридер) – устройство для считывания информации с RFID метки.

[7]

PET (Polyethylene terephthalate – Полиэтилентерефталат) – вид термопластика.

[8]

ABS(АБС)-пластик (акрилонитрилбутадиенстирол) — ударопрочная техническая термопластическая смола на основе сополимера акрилонитрила с бутадиеном и стиролом (название пластика образовано из начальных букв наименований мономеров).

[9]

Полипропилен (ПП) — термопластичный полимер пропилена (пропена).

[10]

Полиэтилен — термопластичный полимер этилена, относится к классу полиолефинов.

[11]

UHF (англ. Ultra high frequency) - дециметровые волны (ДМВ) — диапазон радиоволн с длиной волны от 1 м до 10 см, что соответствует частоте от 300 МГц до 3 ГГц.

[12]

Наиболее близким аналогом заявляемого изобретения является радиочастотная идентификационная метка, известная из патентной заявки US 2008122631 и содержащая гибкий инлей с антенной, включающий подложку и структуру антенны, диэлектрический сердечник с прикреплённым к нему инлеем, металлизированную подложку, прикрепленную к диэлектрическому сердечнику для защиты инлея от внешнего воздействия, и защитную конструкцию для размещения и защиты инлея, диэлектрического сердечника и металлизированной подложки.

[13]

Однако данная метка в диапазоне резонансных частот не обеспечивает дальность более 26 футов, т.е. 7,8 м.

[14]

Технической проблемой, на решение которой направлено заявляемое изобретение, является недостаточная дальность чтения RFID меток.

[15]

Техническим результатом предлагаемого изобретения является повышение дальности чтения RFID метки в диапазоне рабочих частот UHF (860-960 МГц).

[16]

Заявляемый технический результат достигается за счёт того, что радиочастотная идентификационная метка выполнена с возможностью размещения полностью на металлической поверхности и содержит инлей, на котором размещены чип и антенна, и диэлектрический сердечник; антенна содержит первый участок длиной 92-96 мм и второй участок длиной 94-100 мм, а диэлектрический сердечник выполнен в форме параллелепипеда из материала с диэлектрической проницаемостью 1,9-2,5 и имеет верхнюю сторону, торцевую сторону и нижнюю сторону, причем инлей расположен на диэлектрическом сердечнике таким образом, что первый участок антенны расположен на верхней части диэлектрического сердечника, второй участок антенны расположен на нижней части диэлектрического сердечника, а чип расположен на торцевой стороне диэлектрического сердечника.

[17]

В радиочастотной идентификационной метке инлей и диэлектрический сердечник могут быть размещены в корпусе.

[18]

В радиочастотной идентификационной метке инлей может содержать подложку из PET или полиамида, на которой размещена антенна.

[19]

В радиочастотной идентификационной меткеметаллическая поверхность может быть выполнена в виде металлической пластины, на которой закреплены инлей и диэлектрический сердечник.

[20]

В радиочастотной идентификационной метке инлей и диэлектрический сердечник, размещенные на металлической пластине, могут быть расположены в корпусе.

[21]

Высокая дальность – не менее 10 метров и вплоть до 54 метров – достигается при размещении RFID метки на металлической основе, размер которой должен быть соизмерим с размерами RFID метки или больше. У RFID метки достаточно широкая амплитудно-частотная характеристика с рабочей полосой частот около 30 МГц по уровню максимальной амплитуды и еще около 30 МГц по уровню падения дальности чтения метки до 2 раз, что дает запас по сдвигу частоты резонанса в сторону нижних и верхних частот. Это означает, что дальность RFID метки остаётся высокой при креплении к различным металлическим поверхностям. Конструктивно RFID метка выполнена таким образом, чтобы иметь возможность настройки частоты резонанса под размещение на конкретных объектах.

[22]

Изобретение поясняется с помощью фиг. 1-11, на которых показаны:

[23]

Фиг. 1 – общий вид в изометрии конструкции радиочастотной идентификационной метки в корпусе;

[24]

Фиг. 2 – развертка антенны;

[25]

Фиг. 3 – участок антенны для монтажа чипа;

[26]

Фиг. 4 – общий вид RFID-инлея, обернутого вокруг сердечника;

[27]

Фиг. 5-7 – вариант исполнения RFID метки для диапазона рабочих частот до 900 МГц;

[28]

Фиг. 8-10 – вариант исполнения RFID метки для диапазона рабочих частот до 930 МГц.

[29]

Фиг. 11 – график зависимости дальности чтения RFID метки от частоты.

[30]

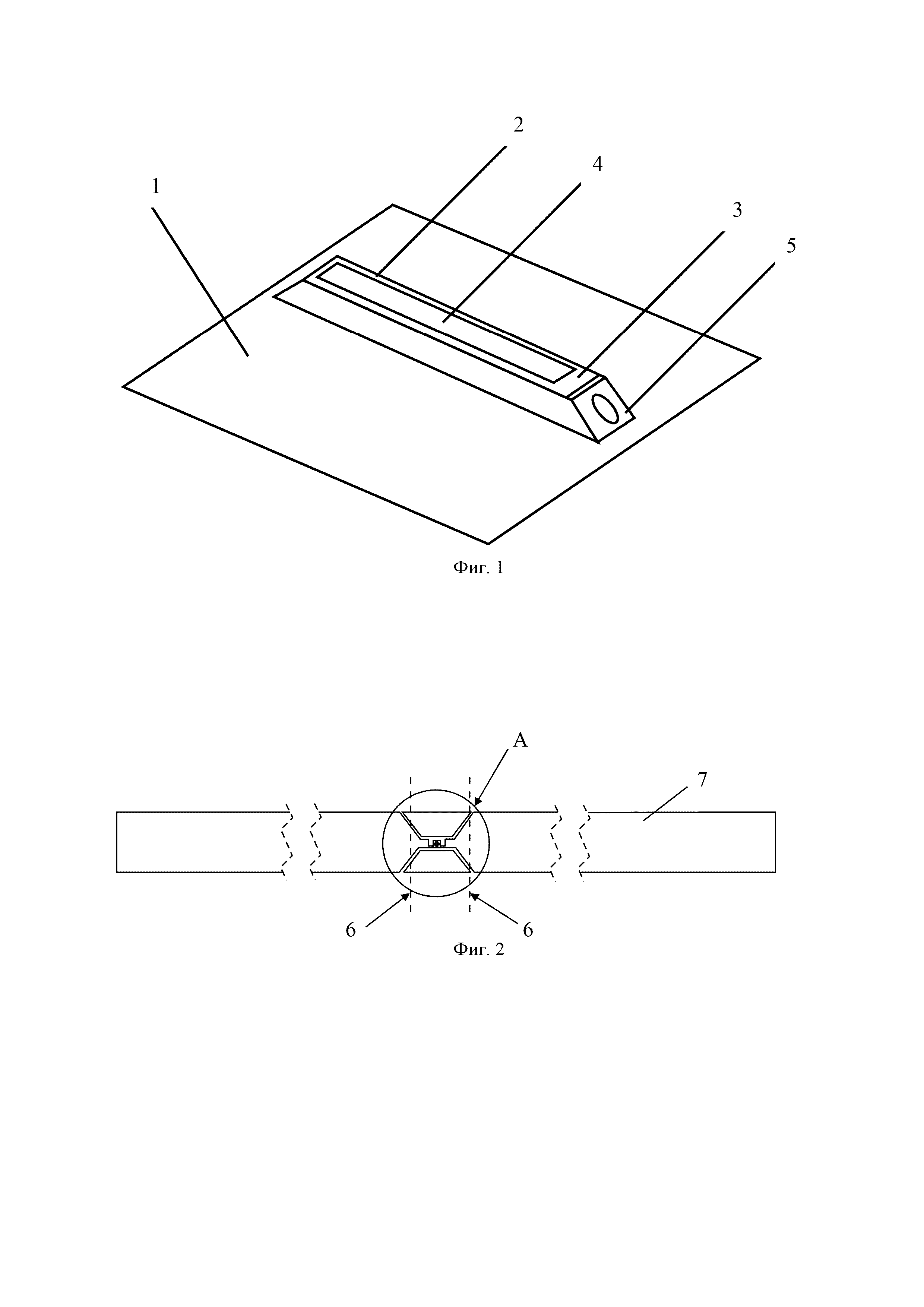
На фиг. 1-10 позициями 1-12 обозначены:

[31]

1 – металлическая поверхность;

[32]

2 – подложка;

[33]

3 – диэлектрический сердечник;

[34]

4 – первый участок антенны, расположенный сверху и обращенный к объекту идентификации;

[35]

5 – корпус;

[36]

6 – линия сгиба;

[37]

7 – антенна;

[38]

8 – место для чипа;

[39]

9 – второй участок антенны;

[40]

10 – торцевая сторона сердечника;

[41]

11 – верхняя сторона диэлектрического сердечника;

[42]

12 – нижняя сторона диэлектрического сердечника.

[43]

Радиочастотная идентификационная метка (RFID метка) содержит инлей с антенной 7 и чипом (не показан) и диэлектрический сердечник 3. Инлей содержит гибкую подложку, на которой размещена антенна 7, содержащая первый участок 4 и второй участок 9.

[44]

В частном случае антенна 7 выполнена алюминиевой и вытравлена на материале PET. Антенна 7 может быть также медная или из другого подходящего материала. Гибкая подложка инлея может быть выполнена из PET или полиамида.

[45]

Размеры антенны 7 подобраны таким образом, чтобы компенсировать влияние материала диэлектрического сердечника 3 и корпуса 5. Варианты настройки (тюнинга) изображены на фиг. 5-10. Возможны и другие варианты настройки антенны 7, которые могут быть как рассчитаны теоретически, так и подобраны эмпирически под ту или иную задачу с указанием требований по дальности работы на определённых частотах.

[46]

На инлее предусмотрено место 8 для размещения чипа. В заявляемом устройстве могут быть использованы два типа чипов: NXP UCODE7 и NXP UCOD8, а также их модификации, отличающиеся от указанных размерами памяти, а также с незначительными корректировками посадочного места чипы NXP UCODE DNA и модификации. Широкая частотная характеристика обеспечивается в том числе и чипом, который имеет встроенную систему каскадов подключаемых емкостей.

[47]

Диэлектрический сердечник 3 имеет верхнюю сторону 11, торцевую сторону 10 и нижнюю сторону 12.

[48]

Инлей расположен на диэлектрическом сердечнике 3 таким образом, что первый участок 4 антенны расположен на верхней стороне 11 диэлектрического сердечника 3, второй участок 9 антенны расположен на нижней стороне 12 диэлектрического сердечника 3, а чип расположен на торцевой стороне 10 диэлектрического сердечника 3.

[49]

Для корректной работы RFID метки антенна 3 на инлее огибается вокруг диэлектрического сердечника 3 по линиям сгиба 6. Длины участков 4 и 9 подбирают под материал, учитывая влияние материала диэлектрического сердечника, корпуса, клея (при наличии) и самого инлея с антенной. В наиболее предпочтительном варианте антенна содержит первый участок длиной 92-96 мм и второй участок длиной 94-100 мм.

[50]

Для фиксации инлея к диэлектрическому сердечнику 3 на инлей может быть нанесен клей.

[51]

Влияние клея компенсируют методами, описанными выше. В текущей конструкции метки выбран способ крепления инлея на клей (самоклеящийся инлей), как наиболее технологичный вариант.

[52]

Диэлектрический сердечник 3 изготавливают из полиолефиновых материалов с диэлектрической проницаемостью 1,9-2,5, таких как полиэтилен высокой плотности (ПЭВП), полиэтилен высокого давления, изотактический полипропилен (изо-ПП) и т.д.

[53]

Заявляемая RFID метка предназначена для работы на металле. Именно при креплении RFID метки на металлическую поверхность она начинает работать на столь значительных удалениях до RFID считывателя.

[54]

Данный эффект наблюдается по причине переотражения электромагнитного сигнала от металлической основы, на которой крепится метка. Совокупность инлея, диэлектрика 3 и металлической поверхности 1 выполняет роль усилителя сигнала, концентрируя на RFID метку тот сигнал, который напрямую не облучает RFID метку, но попадает на металлическую поверхность 1. Данный эффект наблюдается для антенн, выполненных на основе микрополосковых линий связи, и подробно описан в литературе по антенной СВЧ технике.

[55]

При использовании RFID метки на других материалах или в воздухе дистанция её работы значительно снижается.

[56]

Если требуется достичь увеличения дальности и на других материалах, то можно снабдить RFID метку металлической прослойкой между меткой и объектом крепления.

[57]

Предпочтительными металлами для размещения на них RFID метки являются алюминий, медь и железо. В общем случае могут быть использованы любые проводящие материалы.

[58]

Корпус может быть изготовлен из полиэтилена, полипропилена, ABS пластика. Под каждый из материалов производят соответствующую настройку антенны 7. В приведенных примерах реализации корпус выполнен из полипропилена.

[59]

В качестве размеров технологических площадок и зазоров для посадки чипа за основу берут указанные рекомендованные значения, но они могут быть изменены предприятием, которое производит антенну, исходя из своих внутренних требований по соблюдению технологических зазоров и размеру контактных площадок.

[60]

На фиг. 4 представлен общий вид конструкции RFID метки. Особенностью заявляемой RFID метки является возможность настраивать её под конкретный регион, т.к. частоты в разных странах различаются, что регламентируется законодательством страны, в которой будет использована метка. Эта особенность отражена в виде двух вариаций исполнения (фиг. 5-10), отличающиеся друг от друга настройкой антенны.

[61]

Устройство изготавливают следующим образом.

[62]

На гибкой подложке инлея методом электрохимического травления выполняют антенну 7. Затем гибкую подложку инлея с антенной 7 оборачивают вокруг диэлектрического сердечника 3, сгибая подложку инлея по линиям 6. Инлей наклеивают и загибают, соблюдая зазоры и расстояния. Отступление даже на 0,5 мм значительно сказывается на настройке антенны 7, а, следовательно, на дальности. Наклеивание и загибка могут происходить как вручную, так и на специализированном аппарате. Погрешность зазоров должна быть в пределах 0,1 мм.

[63]

Затем на контактные площадки места 8 монтируют чип. После чего осуществляют настройку RFID метки на требуемый диапазон рабочих частот путём подрезания инлея с одной или с обеих сторон антенны 7.

[64]

Полученную RFID метку в частном случае размещают в корпусе 5.

[65]

Ниже показаны частные случая исполнения RFID метки.

[66]

Вариант 1.

[67]

Для диапазона рабочих частот до 900 МГц были выбраны следующие параметры RFID метки:

[68]

- диэлектрический сердечник размером 100×15×10 мм из полиэтилена высокого давления;

[69]

- алюминиевая антенна на подложке из PET длиной 205,64 мм ±0.2 мм, верхняя часть до линии сгиба 95,76 мм ±0.2 мм, нижняя часть 99,78 мм ±0.2 мм.

[70]

Вариант 2.

[71]

Для диапазона рабочих частот до 930 МГц были выбраны следующие параметры RFID метки:

[72]

- диэлектрический сердечник размером 100×15×10 мм из полиэтилена высокого давления;

[73]

- алюминиевая антенна на подложке из PET длиной 187,17 мм ±0.2 мм, верхняя часть до линии сгиба 92,91 мм ±0.2 мм, нижняя часть 94,26 мм ±0.2 мм.

[74]

Устройство используют следующим образом.

[75]

Изготовленную RFID метку размещают на идентифицируемом объекте. Идентификацию осуществляют с помощью RFID считывателя.

[76]

RFID считыватель (ридер) должен работать с RFID метками EPC Class1 Generation2. Для достижения высоких показателей дальности ридер должен иметь мощность около 1 Ватта. Для достижения максимальных значений дальности чтения выбирают RFID считыватель, RFID антенну и коаксиальный кабель антенны-считывателя так, чтобы эффективная излучаемая мощность такой системы была около 2 Ватт.

[77]

Дальность стабильной работы заявляемой RFID метки при испытаниях – 42 метра. Для испытаний применялась система: RFID-считыватель, антенна и кабель, настроенная на 2 Ватта эффективной излучаемой мощности. По результатам испытаний в безэховой камере на специализированном RFID стенде Voyantic дальность составляет величину от 27 до 30 метров для партии из 100 меток (фиг. 11).

[78]

Ценность данной разработки в её электронной начинке и в подборе материалов. Совокупность электронной части и используемых материалов позволила достичь высокой дальности работы. 

Как компенсировать расходы
на инновационную разработку
Похожие патенты