патент
№ RU 2837517
МПК G01N21/01

СИСТЕМА ВИЗУАЛИЗАЦИИ И АНАЛИЗА БИОЛОГИЧЕСКИХ ОБРАЗЦОВ, НАХОДЯЩИХСЯ В КУЛЬТУРАЛЬНОЙ СРЕДЕ

Авторы:
Антифеев Иван Евгеньевич Кузьменков Алексей Юрьевич Пантелеев Николай Викторович
Все (4)
Номер заявки
2024108605
Дата подачи заявки
01.04.2024
Опубликовано
31.03.2025
Страна
RU
Как управлять
интеллектуальной собственностью
Чертежи 
11
Реферат

[78]

Изобретение относится к системе визуализации и анализа биологических образцов. Система содержит устройство регистрации (100), которое состоит из платформы (110) для установки подложек с культуральной средой (111); системы формирования изображения (130), включающей блок освещения (131), расположенный в прямом оптическом доступе с одной из поверхностей подложки с культуральной средой (111), оптическую систему (132), содержащую два набора стационарно закрепленных зеркал (160), (161), и блок детектирования (141); блока управления (140), содержащего блок переключения (141) и соединенного двухсторонней связью с платформой (110), блоком освещения (131) и блоком детектирования (133); устройство анализа изображений (200). Изобретение обеспечивает увеличение надежности системы и повышение достоверности результатов анализа. 11 з.п. ф-лы, 14 ил.

Формула изобретения

1. Система визуализации и анализа биологических образцов, содержащая

устройство регистрации (100), которое состоит из:

платформы (110) для установки подложек с культуральной средой (111);

системы формирования изображения (130), включающей:

блок освещения (131), расположенный в прямом оптическом доступе с по меньшей мере одной из поверхностей подложки с культуральной средой (111),

оптическую систему (132),

блок детектирования (133); и

блока управления (140), соединенного двухсторонней связью с платформой (110), блоком освещения (131) и блоком детектирования (133);

и устройство анализа изображений (200), полученных от системы формирования изображения (130) устройства регистрации (100),

отличающаяся тем, что оптическая система (132) содержит два набора стационарно закрепленных зеркал (160), (161), формирующих два оптических пути, которые передают изображение от разных поверхностей подложки с культуральной средой (111) к блоку детектирования (133), а блок управления (140) содержит блок переключения (141), позволяющий системе формирования изображения (130) формировать изображения разных поверхностей подложки с культуральной средой (111).

2. Система по п. 1, в которой блок детектирования (133) имеет в своем составе одну камеру (137), поворотное зеркало (136) для переключения между двумя оптическими путями и электрический привод (162), соединенный с зеркалом (136) и блоком переключения (141), обеспечивающий поворот зеркала (136) для передачи изображений от разных поверхностей подложки с культуральной средой (111) двумя разными оптическими путями на указанную камеру (137).

3. Система по п. 1, в которой блок детектирования (133) имеет в своем составе две камеры (181), (182), при этом одна камера получает изображение от одной поверхности подложки с культуральной средой (111), а другая – от другой разными оптическими путями, а блок переключения (141) позволяет переключать блок детектирования (133) на изображения разных поверхностей подложки с культуральной средой (111) путем выбора камеры.

4. Система по п. 3, в которой оптическая система (132) имеет два дополнительных стационарно закрепленных зеркала (171), (172).

5. Система по п. 1, имеющая в своем составе источник ультрафиолетового излучения.

6. Система по п. 1, имеющая в своем составе блок идентификации (120) для распознавания машиночитаемых меток на подложке с культуральной средой (111).

7. Система по п. 1, в которой платформа (110) для установки подложек с культуральной средой (111) выполнена подвижной.

8. Система по п. 1, в которой отдельные источники света блока освещения (131) расположены планарно и на равном расстоянии от оси, перпендикулярной геометрическому центру подложки с культуральной средой (111), тем самым обеспечивая равномерное освещение анализируемых образцов.

9. Система по п. 1, в которой отдельные источники света блока освещения (131) расположены с двух сторон подложки с культуральной средой (111), тем самым обеспечивая освещение двух противоположных поверхностей подложки с культуральной средой (111).

10. Система по п. 1, в которой устройство анализа изображений (200) включает базу данных (210), выход которой соединен с блоком преобразования изображения (211), выход которого соединен со входом блока классификации (213), выход которого соединен со входом базы данных (210), которая соединена двусторонней связью с блоком управления (140).

11. Система по п. 1, в которой устройство анализа изображений (200) реализовано в виде компьютера, соединенного двухсторонней связью с устройством регистрации (100).

12. Система по п. 1, в которой устройство анализа изображений (200) включает в себя базу данных (210), блок преобразования изображений (211) и блок классификации (213).

Описание

[1]

Изобретение относится к области микробиологии, а более конкретно к системам визуализации и анализа биологических образцов, и может найти применение в автоматизированном тестировании штаммов микроорганизмов, присутствующих в биологических образцах, на чувствительность к антимикробным веществам.

[2]

Определение чувствительности/устойчивости штаммов в популяции микроорганизмов к антимикробным веществам является одним из важнейших элементов медицинской практики. Качественное тестирование на чувствительность микроорганизмов к различным терапевтическим средствам позволяет определить, является ли микроорганизм устойчивым или чувствительным к определенному антибиотику, но не дает указания на степень чувствительности или резистентности микроорганизма. Количественное тестирование на чувствительность обеспечивает индикацию концентрации противомикробного агента, необходимого для ингибирования роста микроорганизма. Термин минимальная ингибирующая концентрация (MIC) используется для обозначения минимальной концентрации противомикробного агента, которая требуется для ингибирования роста микроорганизма. Использование автоматизированных систем позволяет минимизировать время работы персонала, а также свести к минимуму возможность человеческой ошибки при определении MIC. В общем виде, процесс определения чувствительности/устойчивости штаммов в популяции микроорганизмов к антибиотикам сводится к следующему.

[3]

Лабораторный образец помещается на подложку в среду для биологического роста, а затем подложка перемещается в инкубационную камеру. При реализации современных подходов анализа после инкубации культуральная подложка с биологическим образцом устанавливается в биологический сканер для обнаружения, подсчета и оценки роста бактерий. После установки подложки сканер генерирует изображение подложки с культуральной средой. Затем количество колоний микроорганизмов может быть подсчитано или иным образом определено с использованием процедур обработки изображений и анализа, выполняемых либо в сканирующем устройстве, либо с помощью внешнего вычислительного устройства.

[4]

Известные биологические сканеры автоматизируют обнаружение и подсчет бактерий или других биологических агентов в биологической культуральной среде и тем самым улучшают процесс биологического тестирования за счет уменьшения количества человеческих ошибок и времени проведения анализа.

[5]

В патенте США US6696269B2 описана сканирующая система для проведения микробиологического анализа образцов в чашке Петри, которая имеет опору для удерживания чашки Петри, камеру и множество диодов, расположенных по кругу над камерой и излучающих рассеянный белый свет. Камера оптически обнаруживает зоны подавления роста микроорганизмов, возникающие вокруг диффузионных дисков.

[6]

В патенте США US6372485B1 описано устройство, включающее в себя источник света, способный генерировать составной световой сигнал, имеющий световые элементы переменной интенсивности, и контроллер, адаптированный для управления источником света с использованием заданного профиля освещения.

[7]

В патенте РФ RU2398233C2 чашка Петри устанавливается на основании, снабженном светопоглощающим покрытием, при этом диаметр чашки Петри не может превышать внутренний диаметр осветителя, а расстояние D от горизонтальной плоскости симметрии осветителя до верхней поверхности чашки Петри определяется из соотношения

[8]

[9]

где: t - радиус поперечного сечения осветителя, r - расстояние между центром поперечного сечения осветителя и вертикальной осью симметрии осветителя.

[10]

В патентах США US7298885B2 и US6215894B1 биологический сканер обеспечивает автоматический выбор профилей обработки изображений для сканирования различных типов чашек Петри. Сканер может идентифицировать тип чашки Петри по различным машиночитаемым индикаторам, таким как оптически или магнитносчитываемые метки.

[11]

Патент РФ RU2791813C1 относится к системам и способам обнаружения и классификации колоний микроорганизмов на изображениях на основе технологий искусственного интеллекта и компьютерного зрения, и может быть использован для автоматизированного обнаружения и классификации колоний патогенных и условно патогенных микроорганизмов у больных или из объектов внешней среды на изображениях колоний микроорганизмов в чашках Петри.

[12]

В соответствии с патентом США US11341648B2 система и способ обеспечивают последовательное получение контрастных изображений колоний на чашке Петри и преобразование цветового пространства с использованием входных данных с изображений с течением времени, для оценки того, произошел ли рост микроорганизмов в данном образце.

[13]

Описанные патенты не позволяют создать универсальную систему анализа изображений для проведения анализа и на чашках Петри, и в микробиологических планшетах, так как для этого необходимо изменять направления освещения и/или детектирования относительно подложек с культуральной средой.

[14]

В патенте США US9809836B2 представлен способ идентификации микробных колоний в подложках с культуральной средой, который включает использование устройства формирования изображения для получения первого изображения подложки с культуральной средой при обеспечении освещения передней стороны устройства и для получения второго изображения подложки с культуральной средой при обеспечении освещения задней стороны устройства. Способ дополнительно содержит анализ первого и второго изображений для идентификации колоний микроорганизмов на каждом изображении, анализ значений параметра размера для колонии в конкретном месте подложки с культуральной средой на первом и втором изображениях и сравнение значений.

[15]

В патенте США US8094916B2 описан сканер подложек с культуральной средой, который включает в себя многоцветную систему освещения, позволяющую освещать подложки с культуральной средой разными цветами. Монохроматическая камера захватывает изображения подложки с культуральной средой во время освещения подложки с культуральной средой каждым из цветов освещения. Процессор объединяет изображения для формирования составного многоцветного изображения и/или отдельных компонентов составного изображения и анализирует составное изображение для получения аналитического результата, такого как подсчет колоний или результат присутствия/отсутствия. Сканер может включать компоненты передней и задней подсветки, что позволяет анализировать различные виды подложек с культуральной средой.

[16]

В патенте США US7496225B2 подложка с культуральной средой загружается в биологический сканер с помощью моторизованных роликов, и исполнительный механизм прижимает подложку с культуральной средой к валику, как только подложка с культуральной средой перемещается в положение сканирования внутри биологического сканера. Изобретение позволяет загружать подложки с культуральной средой вертикально и освещать их со стороны камеры или на просвет.

[17]

Системы и устройства, описанные в приведенных патентах, имеют сложные подвижные механизмы в своем составе, что значительно усложняет конструкцию систем и уменьшает их надежность, а также предполагают передвижение подложки с культуральной средой, что может привести к изменению фокусного расстояния от камеры до анализируемых образцов и понизить достоверность результатов анализа.

[18]

Целью предлагаемого изобретения является увеличение надежности системы за счет уменьшения количества подвижных элементов и увеличение функциональности системы путем обеспечения возможности формирования изображений подложки с культуральной средой с различных сторон при обеспечении подложки с культуральной средой, установленной неподвижно на платформе, и неподвижного блока освещения. Также целью предлагаемого изобретения является увеличение длины оптического пути при формировании изображений подложки с культуральной средой для улучшения качества этих изображений и повышения достоверности результатов анализа.

[19]

Указанная цель достигается за счет создания системы визуализации и анализа биологических образцов, которая содержит устройство регистрации, состоящее из платформы для установки подложек с культуральной средой, системы формирования изображения, включающей блок освещения, который расположен в прямом оптическом доступе с по меньшей мере одной из поверхностей подложки с культуральной средой, блок детектирования и оптическую систему, содержащую два набора стационарно закрепленных зеркал, которые формируют два оптических пути, передающих изображение от разных поверхностей подложки с культуральной средой к блоку детектирования, и блока управления, соединенного двухсторонней связью с платформой, блоком освещения и блоком детектирования, и содержащего блок переключения, который позволяет системе формирования изображения формировать изображения разных поверхностей подложки с культуральной средой, и устройство анализа изображений.

[20]

В одном из вариантов системы визуализации и анализа биологических образцов согласно настоящему изобретению блок детектирования имеет в своем составе одну камеру, поворотное зеркало для переключения между двумя оптическими путями и электрический привод, соединенный с зеркалом и блоком переключения, обеспечивающий поворот зеркала для передачи изображений от разных поверхностей подложки с культуральной средой двумя разными оптическими путями на указанную камеру.

[21]

В ещё одном из вариантов системы визуализации и анализа биологических образцов согласно настоящему изобретению блок детектирования имеет в своем составе две камеры, при этом одна камера получает изображение от одной поверхности подложки с культуральной средой, а другая – от другой, разными оптическими путями, а блок переключения позволяет переключать блок детектирования на изображения разных поверхностей подложки с культуральной средой путем выбора камеры.

[22]

В ещё одном из вариантов системы визуализации и анализа биологических образцов согласно настоящему изобретению указанная оптическая система имеет два дополнительных стационарно закрепленных зеркала.

[23]

В ещё одном из вариантов системы визуализации и анализа биологических образцов согласно настоящему изобретению система визуализации и анализа биологических образцов имеет в своем составе источник ультрафиолетового излучения.

[24]

В ещё одном из вариантов системы визуализации и анализа биологических образцов согласно настоящему изобретению система визуализации и анализа биологических образцов имеет в своем составе блок идентификации для распознавания машиночитаемых меток на подложке с культуральной средой.

[25]

В ещё одном из вариантов системы визуализации и анализа биологических образцов согласно настоящему изобретению платформа для установки подложек с культуральной средой выполнена подвижной.

[26]

В ещё одном из вариантов системы визуализации и анализа биологических образцов согласно настоящему изобретению отдельные источники света блока освещения расположены планарно и на равном расстоянии от оси, перпендикулярной геометрическому центру подложки с культуральной средой, тем самым обеспечивая равномерное освещение анализируемых образцов.

[27]

В ещё одном из вариантов системы визуализации и анализа биологических образцов согласно настоящему изобретению отдельные источники света блока освещения расположены с двух сторон подложки с культуральной средой, тем самым обеспечивая освещение двух противоположных поверхностей подложки с культуральной средой.

[28]

В ещё одном из вариантов системы визуализации и анализа биологических образцов согласно настоящему изобретению устройство анализа изображений включает базу данных, выход которой соединен с блоком преобразования изображения, выход которого соединен со входом блока классификации, выход которого соединен со входом базы данных, которая соединена двусторонней связью с блоком управления.

[29]

В ещё одном из вариантов системы визуализации и анализа биологических образцов согласно настоящему изобретению устройство анализа изображений реализовано в виде компьютера, соединенного двухсторонней связью с устройством регистрации.

[30]

В ещё одном из вариантов системы визуализации и анализа биологических образцов согласно настоящему изобретению устройство анализа изображений включает в себя базу данных, блок преобразования изображений и блок классификации.

[31]

Более полное представление о раскрываемом изобретении может быть получено из нижеследующего раздела “Осуществление изобретения” совместно с прилагаемыми чертежами, из которых:

[32]

ФИГ. 1 - блок-схема, отражающая функциональный состав и соединения систем и блоков предлагаемой системы визуализации и анализа биологических образцов, согласно раскрываемому изобретению;

[33]

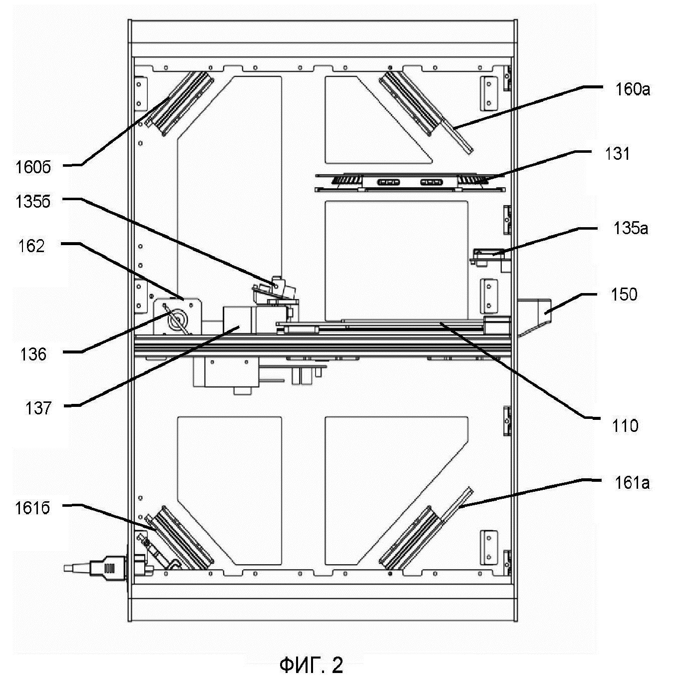
ФИГ. 2 - вид сбоку системы визуализации и анализа биологических образцов с одной камерой и поворотным зеркалом согласно одному из вариантов раскрываемого изобретения;

[34]

ФИГ. 3 - аксонометрический вид системы визуализации и анализа биологических образцов с одной камерой и поворотным зеркалом согласно одному из вариантов раскрываемого изобретения;

[35]

ФИГ. 4 - аксонометрический вид системы визуализации и анализа биологических образцов с одной камерой, поворотным зеркалом и с выдвинутой платформой для загрузки подложек с культуральной средой согласно одному из вариантов раскрываемого изобретения;

[36]

ФИГ. 5 - вид сбоку системы визуализации и анализа биологических образцов с двумя камерами и двумя дополнительными стационарно закрепленными зеркалами согласно другому варианту раскрываемого изобретения;

[37]

ФИГ. 6 - аксонометрический вид системы визуализации и анализа биологических образцов с двумя камерами и двумя дополнительными стационарно закрепленными зеркалами согласно другому варианту раскрываемого изобретения;

[38]

ФИГ. 7 - аксонометрический вид системы визуализации и анализа биологических образцов с двумя камерами и двумя дополнительными стационарно закрепленными зеркалами согласно другому варианту раскрываемого изобретения;

[39]

ФИГ. 8 - блок-схема, отражающая функциональный состав и соединения систем и блоков предлагаемой системы визуализации и анализа биологических образцов, согласно одному из вариантов раскрываемого изобретения;

[40]

ФИГ. 9 - пример изображения подложки с культуральной средой, представляющей собой чашку Петри, полученного системой согласно раскрываемому изобретению;

[41]

ФИГ. 10 - пример изображения подложки с культуральной средой, представляющей собой чашку Петри, с колониями микроорганизмов и дисков с антимикробным препаратом, полученного системой, согласно раскрываемому изобретению;

[42]

ФИГ. 11 - пример массивов определенных координат детектированных объектов на поверхности подложки с культуральной средой, представляющей собой чашку Петри, их класс и вероятности принадлежности к указанному классу;

[43]

ФИГ. 12 - пример изображения подложки с культуральной средой, представляющей собой 96-луночный планшет, полученного системой согласно раскрываемому изобретению;

[44]

ФИГ. 13 - пример изображения подложки с культуральной средой, представляющей собой 96-луночный планшет, с колониями микроорганизмов, полученного системой согласно раскрываемому изобретения;

[45]

ФИГ. 14 - пример фрагмента массивов определенных координат детектированных объектов на поверхности подложки с культуральной средой, представляющей собой 96-луночный планшет, их класс и вероятности принадлежности к указанному классу согласно раскрываемому изобретению.

[46]

Осуществление изобретения

[47]

Далее будут раскрыты некоторые примеры для формирования общего представления о принципах конструкции, функционирования, изготовления и применения систем и устройств, раскрытых в настоящем описании. Несколько примеров проиллюстрированы на прилагаемых чертежах. Специалистам в данной области техники будет понятно, что конкретные системы и устройства, раскрытые в настоящем описании и проиллюстрированные на прилагаемых чертежах, не являются ограничивающими примерами, а также то, что объем настоящего раскрытия определен исключительно формулой изобретения. Отличительные признаки, проиллюстрированные или раскрытые на одном примере, могут быть скомбинированы с отличительными признаками других примеров. Предполагается, что подобные модификации или варианты входят в объем настоящего раскрытия.

[48]

В предлагаемой системе визуализации и анализа биологических образцов использованы технические решения, приведенные на блок-схеме, изображенной на ФИГ. 1.

[49]

Система визуализации и анализа биологических образцов, находящихся в культуральной среде, имеет в своем составе устройство регистрации 100 и устройство анализа изображений 200.

[50]

К устройству регистрации 100 относится платформа 110, в которую загружается подложка с культуральной средой 111. Платформа 110 может быть выполнена подвижной, в этом случае после установки в нее подложки с культуральной средой 111 она перемещает подложку с культуральной средой 111 в устройство регистрации 100. Платформа 110 может приводиться в движение ручным, полуавтоматическим или автоматическим способом путем получения управляющих команд от блока управления 140. Положение платформы может определяться датчиками, такие как оптопары, при этом сигнал о положении платформы отправляется на блок управления 140.

[51]

Согласно одному из вариантов изобретения, изображенному на ФИГ. 2, платформа 110 может быть выполнена подвижной и приводиться в движение ручным способом путем физического воздействие оператора устройства на рукоятку 150. При этом для установки подложки с культуральной средой 111, платформа 110 перемещается из положения, указанного на ФИГ. 4, в положение, указанное на ФИГ. 3.

[52]

Подложка с культуральной средой 111 может представлять собой чашку Петри, например, круглую чашку Петри диаметром 60, 90, 100 и 150 мм или квадратную чашку Петри 120×120 мм, или микробиологический планшет, например, круглодонный или плоскодонный 96-луночных планшет стандарта ANSI/SBS 1-2004. Конструкция платформы 110 позволяет установить на нее подложку с культуральной средой 111 таким образом, чтобы обеспечить ее устойчивость и неподвижность относительно платформы 110 при загрузке в устройство и во время визуализации и анализа подложки с культуральной средой 111.

[53]

Подложка с культуральной средой 111 может иметь машиночитаемые индикаторы, такие как оптические или магнитные индикаторы, нанесенные на подложку. Блок идентификации 120, позволяющий сканировать машиночитаемые индикаторы, может находиться как снаружи устройства, так и внутри него. Блок идентификации 120 функционирует посредством получения управляющих команд от блока управления 140.

[54]

Согласно одному из вариантов изобретения, изображенному на ФИГ. 2, блок идентификации 120 состоит из двух идентификаторов 135а и 135б. Идентификатор 135а расположен рядом с платформой 110 и используется для сканирования машиночитаемых индикаторов, нанесенных на подложку с культуральной средой 111 (не изображена на ФИГ. 2). Оператор устройства сканирует машиночитаемые индикаторы вручную путем позиционирования машиночитаемого индикатора на подложку с культуральной средой 111 в непосредственной близости с идентификатором 135а.

[55]

Идентификатор 135б расположен внутри прибора и предназначен для сканирования машиночитаемых индикаторов, нанесенных на подложку с культуральной средой 111. Сканирование выполняется автоматически при загрузке подложки с культуральной средой 111 внутрь устройства регистрации 100.

[56]

Система формирования изображения 130 предназначена для сканирования поверхности подложки с культуральной средой 111 и генерации ее изображения.

[57]

Система формирования изображения 130 имеет в своем составе блок освещения 131, представляющий собой множество диодов, которые расположены на горизонтальной кольцевой поверхности над платформой 110. Блок освещения 131 функционирует посредством получения управляющих команд от блока управления 140 и обеспечивает равномерное освещение подложки с культуральной средой 111.

[58]

Блок детектирования 133 представляет собой одну или несколько камер, например, CCD или CMOS камеру. Блок детектирования 133 обеспечивает получение изображения поверхностей (верхней или нижней) подложки с культуральной средой 111 при их освещении блоком освещения 131 и передачу изображений на блок управления 140.

[59]

Оптический путь от подложки с культуральной средой 111, освещенной блоком освещения 131, до блока детектирования 133 формируется оптической системой 132, а поверхность подложки с культуральной средой 111, с которой формируется изображение, выбирается посредством блока переключения 141. Длина оптического пути от подложки с культуральной средой 111 до блока детектирования 133 значительно превышает длину оптического пути в аналогичных системах, что улучшает качество изображений, формируемых блоком детектирования 133, за счет уменьшения аберраций. Оптический путь не является прямолинейным, что позволяет уменьшить фоновую засветку при формировании изображений блоком детектирования 133 от блока освещения 131.

[60]

Согласно одному из вариантов изобретения, изображенному на ФИГ. 2 и 3, оптическая система представляет собой зеркала 160а, 160б, 161а и 161б, стационарно установленные под углом 45 градусов относительно центральной линии оптического пути, а также поворотное зеркало 136, принимающее два положения также под углом 45 градусов относительно центральной линии оптического пути. Размер зеркал 160а, 160б, 161а и 161б соответствует размеру поля зрения на соответствующем участке оптического пути или превышает его.

[61]

Поворотное зеркало 136 приводится в движение электрическим приводом 162 посредством получения управляющего сигнала от блока управления 140. Два возможных положения поворотного зеркала 136 определяют один из двух возможных оптических и путей и, соответственно, две области зрения блока детектирования 133, соответствующие нижней и верхней поверхности подложки с культуральной средой 111.

[62]

При положении поворотного зеркала 136, изображенного на ФИГ. 2, оптический путь формируется последовательно через зеркала 160а и 160б. При этом, камера 137 формирует изображение верхней поверхности подложки с культуральной средой 111.

[63]

При изменении положения поворотного зеркала 136 электрическим приводом 162 оптический путь формируется последовательно через зеркала 161а и 161б. При этом камера 137 формирует изображение нижней поверхности подложки с культуральной средой 111.

[64]

На ФИГ. 4 представлен аксонометрический вид устройства согласно варианту настоящего изобретения, описанному выше.

[65]

Согласно одному из вариантов изобретения, изображенному на ФИГ. 5-7, блок детектирования 133 включает в себя камеру 181 и камеру 182. Оптический путь от верхней поверхности подложки с культуральной средой 111, освещенной блоком освещения 131, до камеры 181 формируется последовательно через зеркала 160а, 160б и 171. Оптический путь от нижней поверхности подложки с культуральной средой 111, освещенной блоком освещения 131, до камеры 182 формируется последовательно через зеркала 161а, 161б и 172. При этом поверхность подложки с культуральной средой 111, с которой формируется изображение, выбирается посредством блока переключения 141, включающую соответствующую камеру из камер 181 и 182. Соответствующая камера формирует изображение поверхности подложки с культуральной средой 111 и передает изображение на блок управления 140.

[66]

Согласно одному из вариантов изобретения камеры 181 и 182 могут быть установлены вместо зеркал 170 и 171 соответственно, при этом, они направлены в противоположные стороны и параллельно центральным линиям оптического пути. Оптический путь до камеры 181 от верхней поверхности подложки с культуральной средой 111 формируется последовательно через зеркала 160а, 160б. Оптический путь до камеры 182 от нижней поверхности подложки с культуральной средой 111 формируется последовательно через зеркала 161а, 161б.

[67]

Камеры 181 и 182 могут формировать изображения верхней и нижней поверхностей подложки с культуральной средой 111 одновременно, в таком случае, поверхность подложки с культуральной средой 111, с которой формируется изображение, выбирается посредством блока переключения 141 путем выбора соответствующего одной из камер 181 и 182 сигнала.

[68]

Изображение с блока управления 140 поступают в устройство анализа изображений 200, которое обеспечивает анализ изображений. Согласно одному из вариантов изобретения, изображенному на ФИГ. 8, изображение с блока управления 140 поступает в устройство анализа изображений 200, содержащее базу данных 210, блок преобразования изображения 211 и блок классификации 213.

[69]

Изображение сохраняется в базу данных 210 и передается на блок преобразования изображений 211, который преобразует его в нужную размерность, выполняет фильтрацию и передает на блок классификации 212. Обученная нейронная сеть блока классификации 212 определяет координаты детектированных объектов на поверхности подложки с культуральной средой 111, их класс и массив с вероятностями принадлежности к указанному классу. Блок классификации 212 передает в базу данных 210 три массива чисел: координаты детектированных объектов, их класс и массив с вероятностями принадлежности к указанному классу. Выбор класса зависит от значения вероятности, пороговое значение может составлять, например, 55 % вероятности.

[70]

В базе данных 210 хранится множество изображений подложки с культуральной средой 111, представляющие собой изображения поверхностей подложки с культуральной средой 111, а также результаты обработки изображений блоком классификации 212.

[71]

Пример изображения подложки с культуральной средой 111, представляющей собой чашку Петри, представлен на ФИГ. 9. На ФИГ. 10 представлены обнаруженные блоком классификации объекты на поверхности подложки с культуральной средой 111. Зеленым цветом выделены диски с антимикробным препаратом и колонии микроорганизмов, которые выросли вокруг дисков. На ФИГ. 11 представлен пример массивов определенных координат детектированных объектов на поверхности подложки с культуральной средой, представляющей собой чашку Петри, их класс и вероятности принадлежности к указанному классу. Под ключом 'disks' содержится массив размерности [N, 3], где N - количество найденных дисков с антимикробным препаратом, 3 - это целые числа, означающие x-координату, y-координату и радиус дисков с антимикробным препаратов соответственно. Под ключом 'sensitivity' содержится массив размерности [N, 3], где N - количество найденных зон чувствительности микроорганизмов, 3 - это целые числа, означающие x-координату, y-координату и радиус зоны чувствительности микроорганизма.

[72]

Пример изображения подложки с культуральной средой 111, представляющей собой 96-луночных планшет, представлен на ФИГ. 12. На ФИГ. 13 представлены обнаруженные блоком классификации объекты на поверхности подложки с культуральной средой 111. Зеленым цветом выделены найденные лунки с колониями микроорганизмов. На ФИГ. 14 представлен пример фрагментов массивов определенных координат детектированных объектов в лунках 96-луночного планшета, их класс и вероятности принадлежности к указанному классу, который представляет собой список из трех массивов.

[73]

Первый массив имеет размерность [N, 4], где N - количество лунок на микробиологическом планшете, а 4 - количество координат лунки, т.е. x-координата верхнего левого угла, y-координата верхнего левого угла, x-координата нижнего правого угла, y-координата нижнего правого угла.

[74]

Второй массив имеет размерность [N], где N - количество лунок на микробиологическом планшете. Каждое число представлено либо 1 - класс отсутствия роста микроорганизма, либо 2 - класс наличия роста микроорганизма.

[75]

Третий массив имеет размерность [N], где N - количество лунок на микробиологическом планшете. Каждое число в массиве - это число от 0 до 1, обозначающее вероятность принадлежности лунки с соответствующим индексом к классу 2.

[76]

Согласно одному из вариантов изобретения устройство регистрации 100 может иметь в своем составе один или несколько источников ультрафиолетового излучения, предназначенных для инактивации вирусов и уничтожения бактерий и плесени внутри устройства для регистрации 100.

[77]

Согласно одному из вариантов изобретения устройство анализа изображений 200 может быть реализовано с использованием любой подходящей аппаратной платформы, включая, без ограничений: настольный компьютер; мобильное устройство (например, планшетный компьютер, ноутбук или нетбук); смартфон; или подобное. При этом, устройство анализа изображений 200 соединено двухсторонней связью с устройством регистрации 100.

Как компенсировать расходы
на инновационную разработку
Похожие патенты