Изобретение относится к области гигиены и здоровья человека, а именно к индивидуальной упаковке презервативов, в частности к держателю презерватива, предназначенному для облегчения надевания презерватива, исключению его загрязнения и разрыва при надевании. Держатель презерватива включает основание (1) со средствами захвата (2) кольца презерватива. Замковые приспособления (3) держателя расположены на основании и выполнены в виде защелок со стопором. Концевые участки защелок расположены с зазором относительно концевых участков средств захвата. Основание выполнено разъемным. Средства захвата кольца презерватива выполнены крючкообразной формы. Основание снабжено ручками для удержания пальцами рук. Достигается фиксация презерватива в держателе в процессе надевания (по мере раскручивания кольца презерватива), а также в процессе транспортировки и хранения в индивидуальной упаковке с обеспечением зазора переменного размера для того, чтобы презерватив было быстрее помещать внутрь и извлекать при необходимости. 3 з.п. ф-лы, 5 ил.
1. Держатель презерватива, включающий основание со средствами захвата кольца презерватива, отличающийся тем, что содержит замковые приспособления, расположенные на основании и выполненные в виде защелок со стопором, концевые участки которых расположены с зазором относительно концевых участков средств захвата. 2. Держатель по п. 1, отличающийся тем, что основание выполнено разъемным. 3. Держатель по п. 1, отличающийся тем, что средства захвата кольца презерватива выполнены крючкообразной формы. 4. Держатель по п. 1, отличающийся тем, что основание снабжено ручками для удержания пальцами рук.
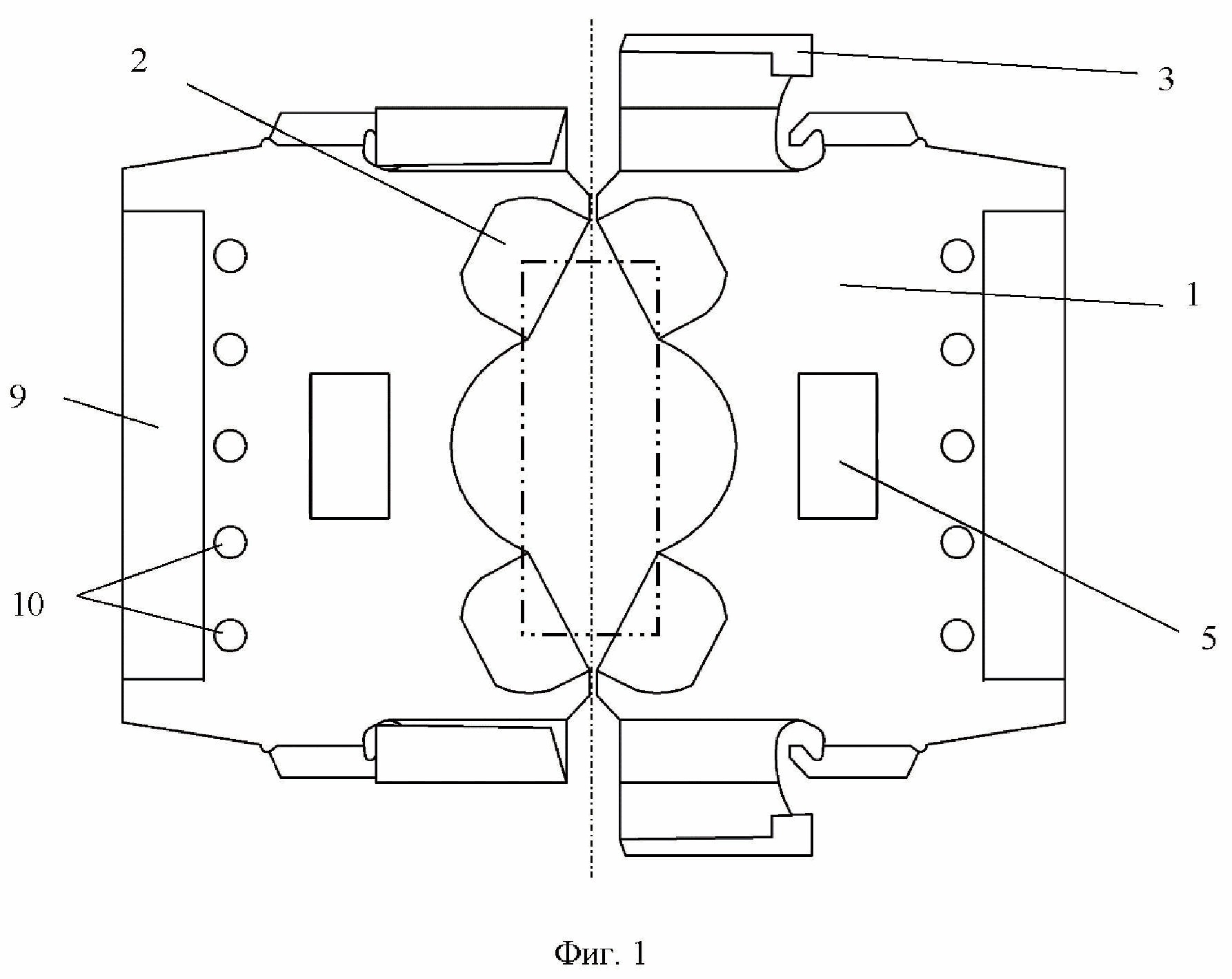
Изобретение относится к области гигиены и здоровья человека, а именно к индивидуальной упаковке презервативов, используемых в качестве средства контрацепции и предотвращения передачи инфекций, в частности к держателю презерватива, предназначенному для облегчения надевания презерватива, исключению его загрязнения и разрыва при надевании. Из уровня техники известна упаковка для презерватива, включающая два листа гибкой пленки, спаянных на их концах с образованием полости для размещения презерватива в скатанном состоянии (патент RU 2562052, опубл. 10.09.2015). На одном из гибких листов выполнена линия наименьшего сопротивления (линия вскрытия), выполненная в виде круга. При этом указанный лист снабжен язычком для захвата пальцами и удобства вскрытия. После вскрытия пользователь извлекает презерватив и надевает его на эрегированный пенис руками. Такая упаковка не содержит средств, облегчающих надевание презерватива на эрегированный пенис и не обеспечивает требуемый уровень гигиеничности, поскольку пользователь извлекает и надевает презерватив своими руками, которые могут быть недостаточно чистыми. Кроме того, необходимость прямого контакта пальцев рук с презервативом приводит к его разрыву вследствие повреждения ногтями, ювелирными изделиями, сухой, грубой кожей пальцев рук и т.д., а также в результате стирания смазки руками (презерватив пересыхает, что приводит к его разрыву). Все вышеперечисленное усугубляется возбужденным эмоциональным состоянием пользователя, не позволяющим аккуратно, без излишнего растяжения, позиционировать презерватив на эрегированный пенис. Наиболее близким по технической сущности является держатель презерватива, описанный в патенте RU 2343880, опубл. 20.01.2009, включающий захваты для удержания края презерватива и соединение между этими захватами, по меньшей мере, частично выполненное упругим, по меньшей мере, частично ограничивающее пространство, в котором может быть размещен презерватив, и выполненный с возможностью изменения формы указанного соединения между двумя конфигурациями, в первой из которых указанное пространство уменьшено, а во второй указанное пространство увеличено. При этом в первой конфигурации, по меньшей мере, часть указанного соединения находится в напряженном состоянии и стремится перейти во вторую конфигурацию, а во второй конфигурации указанное напряжение, по меньшей мере, частично разгружено. Захваты выполнены крючкообразной формы. Держатель снабжен ручкой, предназначенной для удерживания рукой пользователя при надевании презерватива. Недостатком известного технического решения, выбранного в качестве прототипа, является ненадежное удерживание презерватива в свернутом состоянии (при транспортировке и хранении, когда он еще не используется), а также в процессе надевания на эрегированный пенис. Это обусловлено тем, что устройство удерживается пользователем только одной рукой, зачастую не являющейся преобладающей (т.е. рукой с менее развитыми моторными навыками) и не обеспечивающей тем самым необходимую степень усилия при надевании презерватива. При этом надевание одной рукой не позволяет точно позиционировать устройство таким образом, чтобы траектория движения устройства была параллельна оси пениса (чтобы плоскость кольца презерватива была перпендикулярна плоскостям, проходящим через ось пениса). Все вышеперечисленное приводит к тому, что кольцо скатанного презерватива выскакивает из захватов в начале надевания, в результате чего использование устройства в дальнейшем невозможно, или в процессе надевания по мере уменьшения толщины кольца презерватива, что также делает невозможным дальнейшее использование устройства и презерватива. Технической проблемой является необходимость создания держателя презерватива, обеспечивающего фиксацию в нем презерватива в процессе надевания (по мере раскручивания кольца презерватива), а также в процессе транспортировки и хранения в индивидуальной упаковке. Технический результат достигается за счет того, что держатель презерватива, включающий основание со средствами захвата кольца презерватива, согласно изобретению, содержит замковые приспособления. В частных вариантах реализации изобретения замковое приспособление выполнено в виде защелки со стопором; основание выполнено разъемным; средства захвата кольца презерватива выполнены крючкообразной формы; основание снабжено ручками для удержания пальцами рук. Наличие замковых приспособлений в держателе презерватива обуславливает возможность равномерного, без перекосов, раскатывания (раскручивание) презерватива, быстрого и легкого отделения частей основания от кольца презерватива без прикосновения пальцами к презервативу. Кроме того, замковые приспособления обеспечивают неизменную фиксацию презерватива в индивидуальной упаковке при транспортировке и хранении даже в случаях, когда индивидуальная упаковка была подвержена воздействиям, в результате которых основание сломалось (по линиям временных связей), а, следовательно, позволяют использовать презерватив с надломленным основанием. В процессе разработки заявленного держателя презерватива проведены испытания, подтверждающие достижение заявленного технического результата. Для этого 100 презервативов различного размера надевали на приспособление, имитирующее эрегированный пенис (стеклянная колба). Для этого половину образцов (50 шт.) надевали традиционным способом, т.е. раскатывали руками, а другую половину с помощью заявленного держателя. Аккуратное надевание образцов первой группы (традиционный способ надевания) занимало около 13-20 с; при попытке сократить время надевания, раскатывание презерватива затруднялось перекосом кольца презерватива, в результате чего часть презервативов рвалась (43%). Образцы второй группы (надевание с помощью заявленного устройства) надевались за 2-3 с, не сморщиваясь и без разрывов, не соскакивая из замковых приспособлений. Таким образом конструктивные особенности держателя обеспечивают фиксацию в нем презерватива в процессе надевания (по мере раскручивания кольца презерватива), а также в процессе транспортировки и хранения в индивидуальной упаковке. Заявленное изобретение поясняется чертежами, где на фиг. 1 представлен вид сверху на держатель презерватива (два фиксатора открыты), на фиг. 2 - вид снизу ((два фиксатора открыты), на фиг. 3 - общий вид держателя презерватива (аксонометрическая проекция, один фиксатор закрыт), на фиг. 4 - укрупненный вид на защелку, на фиг. 5 - вид сверху на держатель презерватива в процессе использования (презерватив не показан). Держатель презерватива представляет собой основание 1, на котором расположены средства 2 захвата кольца презерватива, т.е. презерватива в свернутом состоянии (презерватив не показан), и замковые приспособления 3 (фиг. 1-5). Основание 1 выполнено разъемным, предпочтительно на две части. При этом в целях обеспечения сохранности презерватива при хранении и транспортировке в индивидуальной упаковке части основания сопряжены друг с другом посредством временных связей, разрушающихся при растяжении основания в разные стороны (например, перемычками) или при незначительном изгибе. В средней части основания 1 выполнено отверстие 4, по периметру которого размещают кольцо (венчик) презерватива. Основание 1 снабжено средствами 2 захвата кольца презерватива, расположенными по периметру отверстия. Средства 2 захвата могут быть выполнены любой формы, обеспечивающей ориентацию презерватива относительно отверстия 4 и предназначенные для аккуратного воздействия на презерватив при его надевании (для растяжения презерватива в процессе разведения частей основания в разные стороны). В предпочтительном варианте указанные средства 2 выполнены крючкообразной формы, например, как показано на фиг. 1-5, таким образом, что их концы направлены наружу от геометрического центра основания 1 (захваты располагаются с внутренней стороны размещенного кольца презерватива). При этом радиус загиба средств 2 захвата может быть незначительно больше или равен толщине свернутого кольца презерватива (но не меньше, во избежание повреждения целостности презерватива). Количество средств 2 захвата презерватива может быть различным и зависит от размеров основания 1 и расположенного презерватива, в предпочтительном варианте не менее четырех. В частных вариантах реализации держатель может быть снабжен дополнительными средствами 5 захвата, крючкообразные концы которых направлены к геометрическому центру основания 1. Такие средства 5 захвата исключают соскакивание презерватива с основных средств 2 захвата, например, в момент сильных перегибов упаковки (и соответственно основания) при транспортировке и хранении. Замковые приспособления 3 расположены на основании 1 снаружи кольца презерватива. Исполнение замковых приспособлений 3 может быть различным. В предпочтительном варианте реализации устройства они могут быть выполнены в виде защелок со стопором 6, а именно в виде шарнирно-закрепленных на основании крючкообразных элементов, фиксация которых в закрытом положении обеспечивается стопорами 6 в виде крючков, с образованием зазоров 7 (промежутков) между концевым участком каждого крючкообразного элемента и концевым участком соответствующего средства 2 захвата (на фиг. зазоры 7 обозначены двойными стрелками). В частных вариантах реализации зазор 7 может быть образован между концевым участком крючкообразного элемента и основанием 1 (на фиг. не показано). В другом варианте реализации устройства замковые приспособления 3 могут быть выполнены упруго отгибающимися (за счет использования материалов с необходимой степенью упругости), обеспечивая возможность их отгибания для установки презерватива при производстве и фасовке с последующим упругим загибанием обратно (после прекращения воздействия), также с образованием зазоров 7 (промежутков) между своим концевым участком и концевым участком средства захвата. Количество замковых приспособлений 3 может быть различным, в зависимости от их формы и расположения, но обеспечивающим равномерность раскручивания презерватива, т.е. расположение кольца презерватива в одной плоскости. В качестве материала основания 1, а также средств 2 захвата и замковых приспособлений 3 может быть использован любой полимерный материал с необходимыми эксплуатационными свойствами (оптимальной гибкостью, прочностью, цитотоксическими показателями и т.д.). Замковое приспособление 3 может быть выполнено за одно целое с основанием. Основание 1 снабжено ручками 8 для удержания пальцами рук. Форма, размер и количество ручек 8 может быть различным. В предпочтительном варианте каждая часть основания 1 снабжена ручкой 8. При этом ручки 8 могут быть снабжены упорами 9 или рифлением 10 или могут быть выполнены изогнутой формы (например, загибающимися кверху) в целях предотвращения скольжения пальцев рук при растяжении частей основания в разные стороны. Держатель используют следующим образом. После вскрытия индивидуальной упаковки (например, традиционной фольгированной упаковки или любой другой) держатель с презервативом извлекают. При этом замковые приспособления находятся в закрытом положении, презерватив надежно зафиксирован. Далее пользователь, держась за ручки, производит надлом основания (тянет в разные стороны или изгибает основание) и раздвижение частей основания в разные стороны. При этом презерватив растягивается средствами захвата, которые в процессе растяжения меняют свою плоскостную конфигурацию из прямоугольной в квадратную (изображена штрих-двойной пунктирной линией на фиг. 1 и 5), обеспечивая тем самым наибольшую площадь растяжения презерватива и позволяя надеть его быстро, не касаясь пальцами. По мере надевания презерватив плавно и равномерно раскручивается (раскатывается) благодаря воздействию замковых приспособлений, одновременно надежно фиксирующих кольцо презерватива в одной плоскости, исключая тем самым соскакивание со средств захвата. На конечном этапе надевания, когда толщина кольца презерватива стала наименьшей, части основания легко отделяются, поскольку тонкое кольцо выходит через промежутки (зазоры) между концевыми участками крючкообразных элементов и концевыми участками средств захвата. Таким образом, изобретение позволяет надежно удерживать презерватив в процессе его надевания, а также в процессе транспортировки и хранения в индивидуальной упаковке.