Изобретение относится к парогенераторам. Парогенератор содержит сборную конструкцию, предназначенную для передачи тепловой энергии, отведенной от активной зоны ядерного реактора теплоносителем первого контура к рабочему телу второго контура. Перегретый пар, полученный на выходе из парогенератора (ПГ), используется в дальнейшем для трансформации тепловой энергии в механическую, а затем в электрическую. Парогенератор содержит корпус в виде вертикальной цилиндрической камеры, эллиптическое днище, крышку, главный патрубок для подвода-отвода теплоносителя первого контура, внутреннее устройство, входную питательную трубу и паровой выходящий патрубок, расположенные в крышке парогенератора, трубную систему парогенератора, трубные доски для крепления трубной системы, внутренний и внешний цилиндрические экраны, питательные секции, замкнутые на питательную камеру и расположенные под крышкой пароненератора, паровые секции, размещенные над трубной системой, сборную камеру перегретого пара, вытеснитель, расположенный в центральной области внутреннего экрана, систему газоудаления. Технический результат - повышение теплогидравлической эффективности и ресурсных показателей внутреннего устройства парогенератора. 3 ил.
Парогенератор, содержащий вертикальный корпус в виде сварной вертикальной цилиндрической камеры с главным патрубком типа «труба в трубе» для подвода-отвода теплоносителя первого контура и жестко соединенным эллиптическим днищем, внутреннее устройство с крепежным узлом, внешний и внутренний экраны, крышку парогенератора с узлами подвода-отвода среды второго контура и системой газоудаления и трубную систему змеевикового типа, отделенную от верхней части парогенератора трубной доской и соединенную с питательными камерами, питательными секциями с секционными трубами, отличающийся тем, что питательная камера выполнена в виде тора, отдельно соединенного с каждой питательной секцией секционными трубами из центра трубной системы, которые вынесены за внешний экран внутреннего устройства, при этом наружная боковая поверхность этого экрана служит опорой для питательных змеевиковых труб опускной зоны, навитых вокруг него из вертикального положения со средним переменным углом 39÷42° относительно горизонтали, переходящим в горизонтальную плоскость, питательная камера соединена с питательными змеевиковыми трубами, в каждой опускной питательной змеевиковой трубе установлен дроссель, заводка опускных змеевиковых труб к подъемным змеевиковым трубам осуществлена в одной горизонтальной плоскости с помощью цилиндрических переходников с постоянным внутренним диаметром, на всей поверхности внутреннего экрана ВУ находятся отверстия для сбора газа через трубопроводы газоудаления, в каждой питательной и паровой секциях установлен разъемный фланец для установки заглушек, количество секционных труб, питательных змеевиковых труб и парогенерирующих змеевиковых труб находится в диапазоне 95÷105 штук, количество питательных секций и паровых секций находится в диапазоне 19÷21 штук.
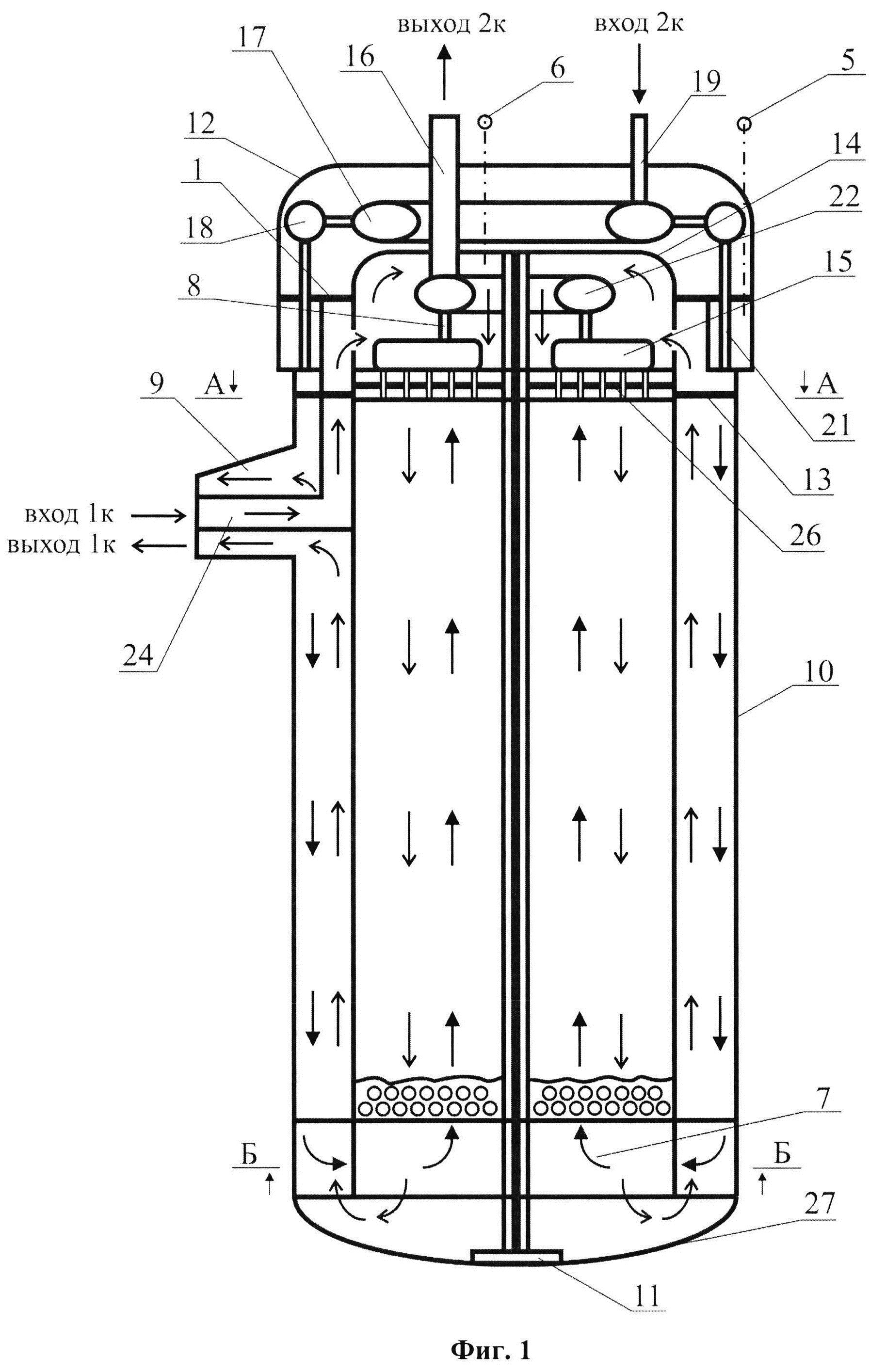
Изобретение относится к теплообменной технике, а именно к парогенераторам, и может быть преимущественно использовано в качестве одного из элементов комплектующего оборудования, входящего в состав реакторных установок (РУ). В частности, изобретение может найти применение на ЯЭУ судов, плавучих атомных электростанций (ПАЭС) и атомных станций малой мощности (АСММ). Уровень техники Из уровня техники известны различные конструкции парогенераторов, например, парогенераторы по патентам РФ №2263845, 2221196, 27673 и др. включающие чаще вертикальный корпус, пучок теплообменных труб, входной и выходной коллекторы теплоносителя. Совокупность признаков, наиболее близкая к совокупности существенных признаков заявляемого решения, присуща известной конструкции парогенератора ПГ-28 с. Техническое описание ПГ-28 с, а также схема циркуляции теплоносителя и рабочего тела приведены в «ПАРОГЕНЕРАТОР ПГ-28 с. Руководство по эксплуатации» ИЖЕР.501421.008 РЭ 18.01.2008 г. Известная конструкция содержит ряд признаков, совпадающих с существенными признаками заявляемого изобретения: параметры текучих сред первого и второго контуров (давления, температуры, расходы); материалы конструктивных элементов ПГ. ПГ-28 с состоит из: - прочноплотного корпуса в виде сварной вертикальной цилиндрической камеры с приваренным к ней в нижней части штампованным эллиптическим днищем, с главным патрубком типа «труба в трубе» для подвода-отвода теплоносителя 1 контура и узлами крепления на баке металоводной защиты (МВЗ); - внутреннего устройства (ВУ), включающего крышку ПГ с узлами подвода-отвода среды 2 контура и трубную систему змеевикового типа с дроссельными пакетами. Крышка в сборе с трубной системой приварена к верхней части корпуса ПГ. Трубная система ПГ выполнена в виде 100 цилиндрических винтовых трубных змеевиков, образующих поверхность нагрева экономайзерного, испарительного и пароперегревательных участков. Дистанционирование змеевиков производится с помощью дистанционирующих полос, устанавливаемых при навивке змеевиков групповым методом, снаружи змеевики окружены цилиндрической обечайкой. Для удаления газа из верхней части трубной системы и повышения теплоотвода в ПГ при аварийной разгерметизации 1 контура в наружной обечайке трубной системы выполнены 8 отверстий, равномерно расположенных по окружности на расстоянии 160 мм ниже оси главного патрубка. В центральной части крышки установлен питательный коллектор для подвода питательной воды. Питательная камера, образована нижней поверхностью крышки ПГ и трубной доской. Питательный и паровой коллекторы, разделены на 20 соответствующих автономных секций. В трубной доске питательной камеры расположено 20 отверстий для коллекторных раздаточных питательных труб с поперечным сечением 22x2,5 мм. Каждая из 20 коллекторных раздаточных питательных труб замкнута на свою секцию, расположенную в питательной камере. Коллекторная раздаточная труба состоит из двух частей: верхняя первая - изготовлена из аустенитной нержавеющей стали 0Х18Н10Т, нижняя вторая, расположенная под трубной доской питательного коллектора и находящаяся в объеме, заполненном теплоносителем 1 контура -изготовлена из титанового сплава ПТ-7М. Эти трубы, изготовленные из металлических сплавов разного типа, соединены между собой при помощи прочноплотного резьбопаяного соединения. Для обеспечения равномерного теплообмена в змеевике распределение расхода питательной воды в дроссельных трубах регулируется длинной находящихся в них дросселей. Из нижней части каждой титановой трубы выходят 5 дросселей в виде изогнутых труб, изготовленных также из титанового сплава ПТ-7М (4 из которых, приварены к боковой стенке, а одна, прямая - к нижнему торцевому окончанию трубы), образуя дроссельный пакет. В свою очередь дроссели входят в дроссельные трубы. Секционирование трубной системы по питательной воде и пару делает конструкцию ПГ ремонтопригодной, то есть позволяет при появлении межконтурной негерметичности отключать по пару и питательной воде (путем установки приварных ремонтных заглушек) только ту секцию, в которой нарушена плотность трубной системы. Выработанный перегретый пар выходит через приваренный к торовому коллектору в крышке ПГ патрубок и подается в главный паропровод. На крышке питательного коллектора установлены штуцеры газоудаления, дренажа полости 1 контура и отбора проб от полости 2 контура. Недостатками известного изобретения являются: - секционированием питательного коллектора, привело к ослаблению прочности конструкции из-за усложнения и изменения местоположения дроссельной системы, что привело к массовым отказам в работе трубных систем; - из-за усиления вибрационных процессов происходит разрыв питательной трубы по полному сечению в районе нижнего сварного шва резьбопаяного соединения; в результате механического воздействия разрушается поверхностный слой трубы, приводящий к разрушению кристаллической решетки титанового сплава за счет проникновения в материал свободных атомов водорода (водородное охрупчивание); - опускной питательный коллектор расположен вертикально и выполнен прямотрубным, необогреваемым; - труба осушения, выполненная из нержавеющей стали 0Х18Н10Т парогенератора по первому контуру соприкасалась с одной из труб опускного питательного коллектора выполненных из титанового сплава ПТ-7М, что являлось причиной протекания электрохимической коррозии; - заданный температурный режим для питательной воды не благоприятен для труб, выполненных из титанового сплава; - в питательном коллекторе конструктивно образована застойная зона из-за отсутствия циркуляции теплоносителя, что приводит к отсутствию разгрузки от осевых напряжений питательных труб, дросселей и дроссельных труб при нисходящем движении среды второго контура и образованию газовой подушки в межтрубном пространстве под верхней трубной доской; - соединение дроссельных и паровых труб из-за разности их проходного сечения выполнено при помощи соединительной муфты с расширительным диффузором внутри. К тому же, разведение дроссельных труб для соединения с змеевиковыми выполнено в вертикальной плоскости в зависимости от принадлежности к определенному ряду с различными углами изгибов и последующим их уводом в практически горизонтальную плоскость (под углами от 4° до 4,5°). Такая конструктивная схема приводит к возникновению зоны реверсивного движения питательной воды в области диффузорного расширения и резкому повышению гидравлического сопротивления вне линейной зависимости от заданной тепловой мощности реактора. Известная конструкция не позволяет достичь назначенного ресурса и срока службы трубной системы, а также номинальной мощности ЯЭУ при выходе из строя, определенного количества секций парогенератора. Часть указанных недостатков обусловлена тем, что не было учтено влияние вибрационных процессов и температурного режима по второму контуру на прочность труб питательного коллектора. Раскрытие изобретения Технической проблемой, на решение которой направлено заявляемое изобретение, является исключение указанных недостатков, а именно, повышение теплогидравлических и ресурсных показателей внутреннего устройства парогенератора реакторной установки. Техническим результатом настоящего изобретения является повышение теплогидравлической эффективности, и ресурса работы внутреннего устройства парогенератора за счет изменения схемы движения теплоносителя и рабочего тела. Технический результат заявленного изобретения достигается тем, что предложен парогенератор, содержащий вертикальный корпус в виде сварной вертикальной цилиндрической камеры с главным патрубком типа «труба в трубе» для подвода-отвода теплоносителя первого контура и жестко соединенным эллиптическим днищем, внутреннее устройство с крепежным узлом, внешний и внутренний экран, крышку парогенератора с узлами подвода-отвода среды второго контура и системой газоудаления и трубную систему змеевикового типа, отделенную от верхней части парогенератора трубной доской и соединенную с питательными камерами, питательными секциями с секционными трубами, питательная камера выполнена в виде тора отдельно соединенного с каждой питательной секцией секционными трубами из центра трубной системы которые вынесены за внешний экран внутреннего устройства, при этом наружная боковая поверхность этого экрана служит опорой для питательных змеевиковых труб опускной зоны, навитых вокруг него из вертикального положения со средним переменным углом 39÷42° относительно горизонтали, переходящим в горизонтальную плоскость, питательная камера соединена питательными, в каждой опускной питательной змеевиковой трубе, установлен дроссель, заводка опускных змеевиковых труб к подъемным змеевиковым трубам осуществлена в одной горизонтальной плоскости с помощью цилиндрических переходников с постоянным внутренним диаметром, на всей поверхности внутреннего экрана ВУ находятся отверстия для сбора газа через трубопроводы газоудаления, в каждой питательной и паровой секциях установлен разъемный фланец для установки заглушек, количество секционных труб, питательных змеевиковых труб и парогенерирующих змеевиковых труб находится в диапазоне 95÷105 штук, количество питательных секций и паровых секций находится в диапазоне 19÷21 штук. Совокупность приведенных выше существенных признаков позволяет повысить прочность конструкции, увеличить срок службы элементов парогенератора при увеличении ресурсных показателей. Краткое описание чертежей Сущность изобретения поясняется на фигурах, на фиг.1 представлено продольное осевое сечение парогенератора, на фиг.2 - поперечное сечение трубной системы парогенератора с видом сверху, на фиг.3 - поперечное сечение трубной системы парогенератора с видом снизу, демонстрирующее горизонтальную разводку первого ряда. На фигурах приняты следующие позиционные обозначения: 1 - верхняя трубная доска; 2 - внешний экран ВУ; 3 - внутренний экран ВУ; 4 -вытеснитель; 5 - трубопровод газоудаления опускной зоны змеевиковых труб; 6 - трубопровод газоудаления подъемной зоны змеевиковых труб; 7 -зона горизонтальной разводки змеевиковой трубной системы; 8 -коллекторная труба; 9 - кольцевой канал главного патрубка для отвода теплоносителя из ПГ; 10 - корпус ПГ; 11 - крепежный узел ВУ; 12 - крышка ПГ; 13 - нижняя трубная доска; 14 - паровая крышка; 15 - паровая секция; 16 - паровой выходящий патрубок; 17 - питательная камера; 18 - питательная секция; 19 - питательная труба; 20 - подъемная зона парогенерирующих змеевиковых труб; 21 - секционная труба; 22 - сборная кольцевая камера перегретого пара; 23 - опускная зона питательных змеевиковых труб; 24 - труба главного патрубка для подвода теплоносителя в ПГ; 25 - трубы первого ряда горизонтальной разводки змеевиковой трубной системы; 26 - центральная трубная доска; 27 - эллиптическое днище. Сущность изобретения состоит в следующем Парогенератор, состоит из: корпуса ПГ 10 в виде вертикальной цилиндрической камеры; эллиптического днища 27; крышки ПГ 12; вытеснителя 4, служащего несущей конструкцией для внутреннего устройства (ВУ) и расположенного в центре ВУ; крепежного узла ВУ 11, служащего для крепления вытеснителя 4 к эллиптическому днищу 27; трубы главного патрубка 24 для подвода теплоносителя первого контура, расположенной на боковой поверхности корпуса ПГ 10; кольцевого канала главного патрубка 9 для отвода теплоносителя первого контура из ПГ, образованного внешней поверхностью трубы главного патрубка 24 и внутренней поверхностью корпуса ПГ 10, питательной трубы 19 для подвода рабочего тела второго контура в ПГ и парового выходящего патрубка 16, расположенных в крышке ПГ 12; внешнего экрана ВУ 2 цилиндрической формы, расположенного между опускной зоной питательных змеевиковых труб 23 и подъемной зоной парогенерирующих змеевиковых труб 20; внутреннего экрана ВУ 3 цилиндрической формы, расположенного между вытеснителем 4 и подъемной зоной парогенерирующих змеевиковых труб 20; верхней трубной доски 1, имеющей форму кольца с отверстиями для прохода и крепления секционных труб 21 и установленной между внутренней боковой поверхностью крышки ПГ 12 и наружной боковой поверхностью паровой крышки 14; нижней трубной доски 13, имеющей форму кольца с отверстиями для соединения секционных труб 21 с питательными змеевиковыми трубами опускной зоны 23 и установленной между внутренней боковой поверхностью корпуса ПГ 10 и внешним экраном ВУ 2; центральной трубной доски 26, установленной под паровыми секциями 15 между внешним 2 и внутренним 3 экранами и предназначенной для прохода и крепления парогенерирующих змеевиковых труб подъемной зоны 20; двадцати питательных секций 18, замкнутых на питательную камеру 17 с помощью коллекторных труб 8 и расположенных над верхней трубной доской 1 под крышкой ПГ 12 по периферии; ста секционных труб 21, соединяющие питательные секции 18 с трубами опускной зоны 23, двадцати паровых секций 15, замкнутых на сборную кольцевую камеру перегретого пара 22 с помощью коллекторных труб 8 и расположенных между паровой крышкой 14 и центральной трубной доской 26; зоны горизонтальной разводки змеевиковой трубной системы 7, находящейся в нижней части корпуса ПГ 10 над эллиптическим днищем 27; трубопровода газоудаления 5, проходящего через крышку ПГ 12 под нижнюю кольцевую трубную доску 13 и предназначенного для газоудаления из межтрубного пространства опускной зоны питательных змеевиковых труб 23; трубопровода газоудаления 6, проходящего через крышку ПГ 12 под центральную трубную доску 26 и предназначенного для газоудаления из межтрубного пространства подъемной зоны парогенерирующих змеевиковых труб 20. Газоудаление производится при приготовлении реакторной установки к вводу в действие, перед/после выполнения ремонтных работ, а также после снижения давления в первом контуре для выполнения технологических операций. Газы выделяются из теплоносителя первого контура в процессе ионизации под воздействием гамма-излучения, а также при снижении давления в первом контуре. Питательная камера в виде тора 17, питательная труба 19 и питательные секции 18 с секционными трубами 21 из центра трубной системы, в отличие от прототипа, вынесены за внешний экран ВУ 2. Наружная боковая поверхность этого экрана служит опорой для питательных змеевиковых труб опускной зоны 23, навитых вокруг него из вертикального положения со средним переменным углом 39°÷42° относительно горизонтали, переходящим в 0°, то есть в горизонтальную плоскость. Это решение позволяет сделать опускную зону питательных змеевиковых труб обогреваемой, тем самым повысив общую поверхность теплообмена трубной системы. В опускной зоне питательных змеевиковых труб 23, обеспечивается разгрузка от осевых напряжений трубной конструкции за счет осуществления противотока движения теплоносителя первого контура, движущегося снаружи труб, и рабочего тела второго контура, движущегося внутри труб. По сравнению с прототипом, изменена схема подвода питательной воды от питательной камеры 17 к питательным секциям 18. Раздача воды осуществляется по трубам к каждой секции отдельно. Для обеспечения устойчивой работы трубной системы в каждой опускной питательной змеевиковой трубе, установлен дроссель. Суммарное количество теплообменных труб в ПГ, по меньшей мере, 100. На каждую питательную секцию замкнуты по 5 теплообменных труб. Змеевиковые трубы опускной 23 и подъемной 20 зоны трубной системы выполнены с одинаковым проходным сечением. По сравнению с прототипом, изменена схема заводки опускных змеевиковых труб к подъемным змеевиковым трубам. Она осуществлена только в одной плоскости в зоне горизонтальной разводки змеевиковой трубной системы 7 с помощью цилиндрических переходников с постоянным внутренним диаметром, что значительно снижает гидравлическое сопротивление в экономайзерной зоне ВУ и улучшает его гидродинамику. Таким образом, устранена возможность образования возвратного течения (гидравлической пробки) и как следствие этого снижается вероятность возникновения кризиса закрученного потока внутри труб в нижней экономайзерной зоне. Также снижается вероятность возникновения резонансных эффектов в трубной системе ПГ, что может приводить к разрушению труб на определенных режимах работы РУ. По сравнению с прототипом, уменьшен диаметр внутреннего экрана ВУ 3 до размера, позволяющего осуществить навивку первого ряда, состоящего из трех труб фиг.3. По всей длине поверхности внутреннего экрана ВУ просверлены отверстия для сбора газа через трубопроводы газоудаления 5 и 6, образующегося в процессе ионизации теплоносителя под воздействием гамма-излучения. По сравнению с прототипом, создан наиболее благоприятный температурный режим и устраненена застойная зона теплоносителя первого контура в межтрубном пространстве питательного коллектора, что приводит к снижению вероятности «наводораживания» труб, изготовленных из титанового сплава ПТ-7М, и увеличению ресурса трубной системы парогенератора. С целью увеличения производительности труда при выполнении ремонтных работ по поиску, обнаружению негерметичных труб, и их отключения в каждой питательной и паровой секциях предусмотрен разъемный фланец для установки заглушек. Для оценки теплогидравлической эффективности парогенератора может быть использован критерий эффективности Ψ, численное значение которого равно соотношению двух характеристик рассматриваемых аппаратов - модернизированного парогенератора и его прототипа. Этими характеристиками являются отношения двух параметров: удельной тепловой мощности реакторной установки и удельной мощности на прокачку теплоносителя. Расчеты показывают, что значение критерия эффективности *Р значительно превосходит единицу и оценивается в диапазоне 1,8 < Ψ < 2,0. Для сохранения номинальных параметров перегретого пара и габаритных размеров корпуса парогенератора-прототипа средний угол навивки опускных питательных змеевиковых труб 23 находится в диапазоне 39°÷42°. В соответствии с этим, количество секционных труб 21, питательных змеевиковых труб 23 и парогенерирующих змеевиковых труб 20 находится в диапазоне 95÷105 штук. Количество питательных секций 19 и паровых секций 15 находится в диапазоне 19÷21 штук. Пример осуществления Схема движения теплоносителя первого контура и рабочего тела второго контура, заявленная в изобретении следующая теплоноситель первого контура поступает в парогенератор по внутреннему трубопроводу главного патрубка 24 и поднимается в верхнюю полость ПГ под паровую крышку 14. Затем теплоноситель опускается вниз в межтрубное пространство, омывая снаружи и нагревая парогенерирующие змеевиковые трубы подъемной зоны 20. Пройдя сверху вниз межтрубное пространство змеевиков, теплоноситель поднимается вверх по кольцевому зазору между корпусом 10 и внешним экраном ВУ 3, передавая оставшуюся энергию опускной зоне питательных змеевиковых труб 23. Затем через кольцевой канал главного патрубка 9, отводится из ПГ. Среда второго контура поступает через питательную трубу 19 в питательную камеру 17, в которой распределяется по двадцати питательным секциям 18 и далее, через секционные трубы 21 распределяется по 100 питательным змеевиковым трубам, расположенным в опускной зоне 23. Опускаясь в них, вода нагревается теплоносителем первого контура до температуры, близкой к температуре насыщения. Затем, пройдя нижнюю горизонтальную разводку трубной системы 7, поступает на подъемную зону в парогенерирующие змеевиковые трубы 20, где питательная вода испаряется и перегревается до требуемых параметров. Перегретый пар из подъемных змеевиковых труб поступает в каналы паровых секций 15, а из них - в сборную кольцевую камеру 22, и через паровой выходящий патрубок 16, отводится из ПГ.