патент
№ RU 2823373
МПК B60M1/12

Автоматизированная система контроля веса проводов контактной сети железной дороги

Авторы:
Черных Владимир Николаевич
Номер заявки
2024103146
Дата подачи заявки
08.02.2024
Опубликовано
22.07.2024
Страна
RU
Как управлять
интеллектуальной собственностью
Чертежи 
1
Реферат

[15]

Изобретение относится к мониторингу состояния контактной сети железнодорожного транспорта. Автоматизированная система контроля веса проводов (АСКВП) компенсированной контактной подвески железной дороги содержит тензометрические датчики для несущего троса для контактного провода, блоки сбора и передачи информации и центральный блок сбора информации. Тензометрический датчик для несущего троса стационарно закреплен между штангой для крепления неподвижного ролика блоков грузокомпенсирующих устройств несущего троса и самим неподвижным роликом и подключен к первому блоку сбора и передачи информации. Тензометрический датчик для контактного провода стационарно закреплен между штангой для крепления неподвижного ролика блоков грузокомпенсирующих устройств контактного провода и самим неподвижным роликом и подключен ко второму блоку сбора и передачи информации. Блоки сбора и передачи информации размещены на опоре контактной сети и содержат автономный источник питания, микропроцессорное устройство и устройство радиосвязи с центральным блоком сбора информации, расположенным на диспетчерском пункте. Технический результат изобретения заключается в возможности измерения веса компенсированной контактной подвески с целью определения факта гололедообразования на проводах и тросе контактной подвески. 1 ил.

Формула изобретения

Автоматизированная система контроля веса проводов (АСКВП) компенсированной контактной подвески железной дороги, включающая тензометрический датчик для несущего троса, стационарно закрепленный между штангой для крепления неподвижного ролика блоков грузокомпенсирующих устройств несущего троса и самим неподвижным роликом и подключенный к первому блоку сбора и передачи информации, тензометрический датчик для контактного провода, стационарно закрепленный между штангой для крепления неподвижного ролика блоков грузокомпенсирующих устройств контактного провода и самим неподвижным роликом и подключенный ко второму блоку сбора и передачи информации, блоки сбора и передачи информации размещены на опоре контактной сети и содержат автономный источник питания, микропроцессорное устройство и устройство радиосвязи с центральным блоком сбора информации, расположенным на диспетчерском пункте.

Описание

[1]

Изобретение относится к дистанционным измерительным системам и предназначено для использования в системах автоматизированного и диспетчерского контроля и мониторинга компенсированной контактной подвески железнодорожного транспорта.

[2]

Известны способ и система для измерения гололедной и ветровой нагрузок на воздушных линиях электропередачи (RU 2145758, С1, 20.02.2000). Данное решение может быть использовано для раннего обнаружения гололедообразования на воздушных линиях электропередачи. Тензометрический датчик, подвешенный между траверсой опоры и гирляндой изоляторов с фазным проводом, контролирует полную нагрузку на воздушную линию электропередачи. Благодаря подключению двух управляемых нелинейных преобразователей между тензометрическим датчиком и двумя каналами телепередачи с измерительными приборами, первый из них измеряет гололедную составляющую полной нагрузки, второй - ветровую составляющую.

[3]

Данное техническое решение имеет ограниченную область применения, и не может быть использовано на контактной сети железнодорожного транспорта ввиду того, что компенсированная и полукомпенсированная контактная подвески крепятся к анкерным опорам с использованием грузокомпенсирующих устройств и не имеют точек непосредственного крепления к анкерной опоре на изоляторах.

[4]

Наиболее близким техническим решением является система диагностики и удаленного мониторинга (СДУМ) усилия натяжения проводов и тросов контактной сети железной дороги (RU 2631891, В60М 1/12, 28.09.2017).

[5]

Система включает закрепленные на анкерных опорах контактные провода, тросы и грузокомпенсирующие устройства и содержит расположенные вдоль контактной сети по всей ее длине измерительные устройства, соединенные со стационарно размещенными вдоль контактной сети блоками сбора и передачи информации, которые соединены посредством проводной и/или беспроводной связи с размещаемым на узловой станции промежуточным концентратором информации СДУМ, соединенным посредством проводной и/или беспроводной связи с единым концентратором информации о состоянии элементов контактной сети железной дороги, при этом измерительные устройства выполнены в виде датчиков измерения усилия натяжения тросов и проводов контактной сети, расположенных на участках несущего троса и контактного провода непосредственно за роликами блоков грузокомпенсирующих устройств и/или над гирляндами грузов грузокомпенсирующих устройств и/или на тросах средней анкеровки, причем каждое измерительное устройство соединено посредством проводной связи с близлежащим блоком сбора и передачи информации, каждый из которых содержит автономный источник питания, микропроцессорное устройство для первичной аналого-цифровой обработки информации с датчика измерения усилия натяжения тросов и проводов контактной сети, и устройство радиосвязи между блоком и промежуточным концентратором информации СДУМ.

[6]

Датчик усилия представляет собой тензометрический преобразователь усилия тяжения в электрический сигнал, в который через специальные проемы вставляется трос и посредством его натяжения осуществляется измерение усилий, воздействующих на контактный провод или несущий трос.

[7]

Отличием данного технического решения является то, что при указанном способе установки тензометрических датчиков измеряется сила натяжения проводов и тросов, а не изменение веса контактной подвески. Указанное техническое решение не предназначено для измерения и контроля гололедообразования на элементах контактной сети.

[8]

Задачей настоящего изобретения является создание автоматизированной системы контроля веса проводов компенсированной контактной подвески железных дорог, которая позволяет в режиме реального времени производить контроль за возможным обледенением контактной сети, анализировать полученные данные и выдавать персоналу, обслуживающему подконтрольный участок, извещения о начале гололедообразования на проводах и тросах контактной подвески.

[9]

Технический результат изобретения заключается в измерении веса компенсированной контактной подвески, с целью определения факта гололедообразования на проводах и тросе контактной подвески.

[10]

Технический результат достигается тем, что между штангой для крепления неподвижного ролика типа «ушко-ушко» и самим неподвижным роликом блоков грузокомпенсирующих устройств, смонтированном на анкерной опоре контактной сети устанавливается тензометрический датчик, измеряющий усилие, создаваемое на штангу для крепления неподвижного ролика элементами контактной подвески, который подключен к блоку сбора и передачи информации, размещенному на опоре контактной сети и содержащему автономный источник питания, микропроцессорное устройство и устройство радиосвязи с центральным блоком сбора информации, расположенным на диспетчерском пункте.

[11]

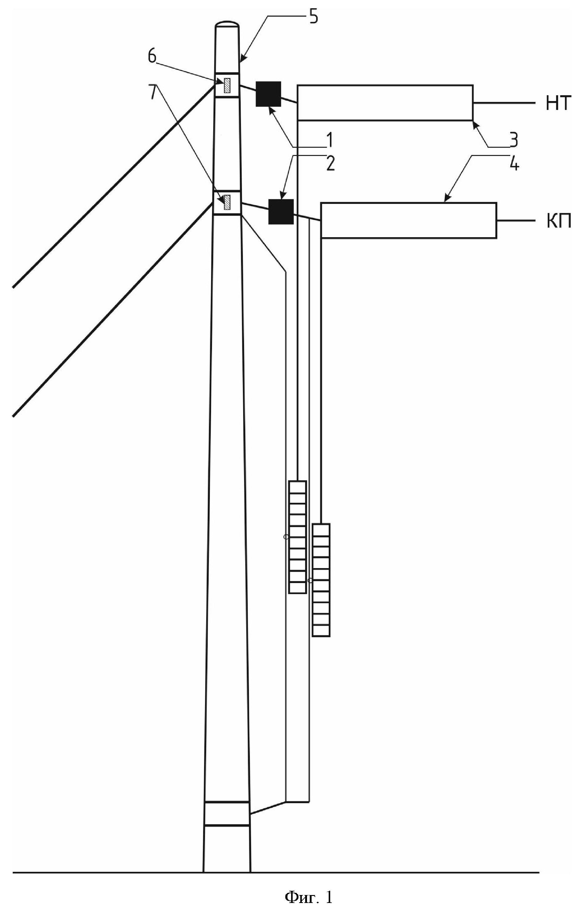
На чертеже представлена автоматизированная система контроля веса проводов (АСКВП) компенсированной контактной подвески железной дороги, смонтированная на анкерной опоре контактной сети 5, состоящая из установленного между штангой для крепления неподвижного ролика типа «ушко-ушко» и самим неподвижным роликом блоков грузокомпенсирующих устройств 3 несущего троса тензометрического датчика 1 подключенного к блоку сбора и передачи информации 6, размещенному на анкерной опоре контактной сети 5 и содержащему автономный источник питания, микропроцессорное устройство и устройство радиосвязи с центральным блоком сбора информации, расположенным на диспетчерском пункте, из установленного между штангой для крепления неподвижного ролика типа «ушко-ушко» и самим неподвижным роликом блоков грузокомпенсирующих устройств 4 контактного провода тензометрического датчика 2 подключенного к блоку сбора и передачи информации 7, размещенному на анкерной опоре контактной сети 5 и содержащему автономный источник питания, микропроцессорное устройство и устройство радиосвязи с центральным блоком сбора информации, расположенным на диспетчерском пункте.

[12]

Сущность изобретения состоит в следующем.

[13]

Автоматизированная система контроля веса проводов (АСКВП) компенсированной контактной подвески железной дороги монтируется на анкерных опорах контактной сети (Фиг.1) и состоит из тензометрических датчиков 1 и 2 для несущего троса и контактного провода соответственно, преобразователей 6 и 7, передающих информацию о весе контактной подвески. Тензометрический датчик, устанавливаемый между штангой для крепления неподвижного ролика типа «ушко-ушко» и самим неподвижным роликом блоков грузокомпенсирующих устройств, конструктивно является цельным изделием и имеет разрывное усилие не менее 160 кН, что почти в два раза превосходит прочность на разрыв проводов.

[14]

Вес компенсированной контактной подвески измеряются тензометрическими датчиками 1 и 2, преобразуются в блоках сбора и передачи информации 6 и 7 и передаются в центральный блок сбора информации, расположенным на диспетчерском пункт где на автоматизированном рабочем месте диспетчера контактной сети осуществляется оперативный контроль факта гололедообразования, который определяется по уровню изменения веса несущего троса и контактного провода. При этом приращение веса компенсированной контактной подвески, регистрируемое системой АСКВП, вызванное проходом токоприемника либо ветровыми нагрузками будет носить кратковременный характер, и по этому признаку, а также по признаку изменения знака приращения веса будет отклонено, и не определяться как факт начала возникновения гололедно-изморозевых отложений.

Как компенсировать расходы
на инновационную разработку
Похожие патенты