Изобретение относится к вспомогательным устройствам для отработки технических приемов стрижек при обучении. Заявлен способ отработки навыков стрижки с использованием устройства для отработки навыков стрижки, который содержит: основание, выполненное с возможностью крепления к манекен-голове, и среднюю часть, прикрепленную к основанию и выполненную с возможностью поворота относительно основания и фиксации, причем средняя часть содержит прорезь; и верхнюю часть, прикрепленную к средней части с возможностью скольжения и фиксации в прорези, причем верхняя часть также выполнена с возможностью поворота относительно средней части; при этом на основание нанесена угловая шкала с угловыми обозначениями, соответствующими различным углам поворота средней части относительно основания, при этом по длине средней части вдоль прорези, с одной стороны от нее, нанесена линейная шкала с обозначениями, соответствующими различным линейным положениям верхней части в прорези, при этом по длине средней части вдоль прорези, с другой стороны от нее, нанесены угловые шкалы с угловыми обозначениями, соответствующими различным углам поворота верхней части относительно средней части, что позволяет самостоятельно отрабатывать упражнения по отчесыванию прядей в нужном направлении и под нужным углом, а также упражнения по выполнению среза волос на нужной длине и под заданным углом. 2 н. и 10 з.п. ф-лы, 1 ил. 
1. Устройство для отработки навыков стрижки, которое содержит: основание, выполненное с возможностью крепления к манекен-голове, и среднюю часть, прикрепленную к основанию и выполненную с возможностью поворота относительно основания и фиксации, причем средняя часть содержит прорезь; и верхнюю часть, прикрепленную к средней части с возможностью скольжения и фиксации в прорези, причем верхняя часть также выполнена с возможностью поворота относительно средней части; при этом на основание нанесена угловая шкала с угловыми обозначениями, соответствующими различным углам поворота средней части относительно основания, при этом по длине средней части вдоль прорези, с одной стороны от нее, нанесена линейная шкала с обозначениями, соответствующими различным линейным положениям верхней части в прорези, при этом по длине средней части вдоль прорези, с другой стороны от нее, нанесены угловые шкалы с угловыми обозначениями, соответствующими различным углам поворота верхней части относительно средней части. 2. Устройство по п.1, в котором основание, средняя и верхняя часть выполнены из пластика, металла или дерева. 3. Устройство по п.1, в котором угловая шкала основания размечена в градусах по дуге от 0° до 180°. 4. Устройство по п.1, в котором угловая шкала основания размечена по дуге от 1 до 5 через каждые 45°. 5. Устройство по п.1, в котором линейная шкала средней части размечена в миллиметрах или сантиметрах. 6. Устройство по п.1, в котором угловая шкала средней части размечена по дуге в градусах от 180° до 0°. 7. Устройство по п.1, в котором угловая шкала средней части размечена скрещенными стрелками, указывающими наружный и внутренний угол 45°. 8. Устройство по п.1, в котором основание и верхняя часть соединены со средней частью зажимными винтами с гайками-барашками. 9. Способ отработки навыков стрижки с использованием устройства для отработки навыков стрижки по п.1, включающий многократное выполнение упражнения по отработке отчесывания волос и упражнения по отработке среза волос, при этом упражнение для отработки отчесывания волос включает в себя этапы, на которых: выставляют среднюю часть устройства для отработки навыков стрижки в предварительно заданное угловое положение относительно значения, соответствующего углу изучаемого отчесывания волос, совмещая кромку средней части с соответствующей меткой угловой шкалы на основании устройства для отработки навыков стрижки, крепят основание устройства для отработки навыков стрижки к манекен-голове вдоль пробора волос, и отчесывают пряди волос, располагая их вдоль средней части устройства для отработки навыков стрижки и захватывают рукой; при этом упражнение для отработки среза волос включает в себя этапы, на которых: устанавливают верхнюю часть устройства для отработки навыков стрижки на предварительно заданное расстоянии от основания, соответствующее длине изучаемого среза, перемещая верхнюю часть устройства для отработки навыков стрижки вдоль прорези в средней части до положения, определяемого совмещением кромки верхней части устройства для отработки навыков стрижки с соответствующей меткой линейной шкалы, поворачивают верхнюю часть устройства для отработки навыков стрижки относительно средней на угол, соответствующий углу изучаемого среза, совмещая кромку верхней части с соответствующей отметкой на угловой шкале средней части; располагают прядь волос вдоль средней части устройства для отработки навыков стрижки, зажимают между пальцами свободной руки, располагаемыми непосредственно на верхней части. 10. Способ по п.9, в котором упражнение для отработки отчесывания волос выполняют многократно, меняя угловое положение средней части и/или переставляя основание устройства для отработки навыков стрижки на другие проборы манекен-головы. 11. Способ по п.9, в котором упражнение для отработки среза волос выполняют многократно, меняя расстояние от верхней части устройства для отработки навыков стрижки до основания и/или угол расположения верхней части относительно средней и/или переставляя основание устройства для отработки навыков стрижки на другие проборы манекен-головы. 12. Способ по п.9, в котором указанные упражнения выполняют последовательно на одном проборе, после чего переставляют основание устройства для отработки навыков стрижки на другой пробор и выполняют снова.
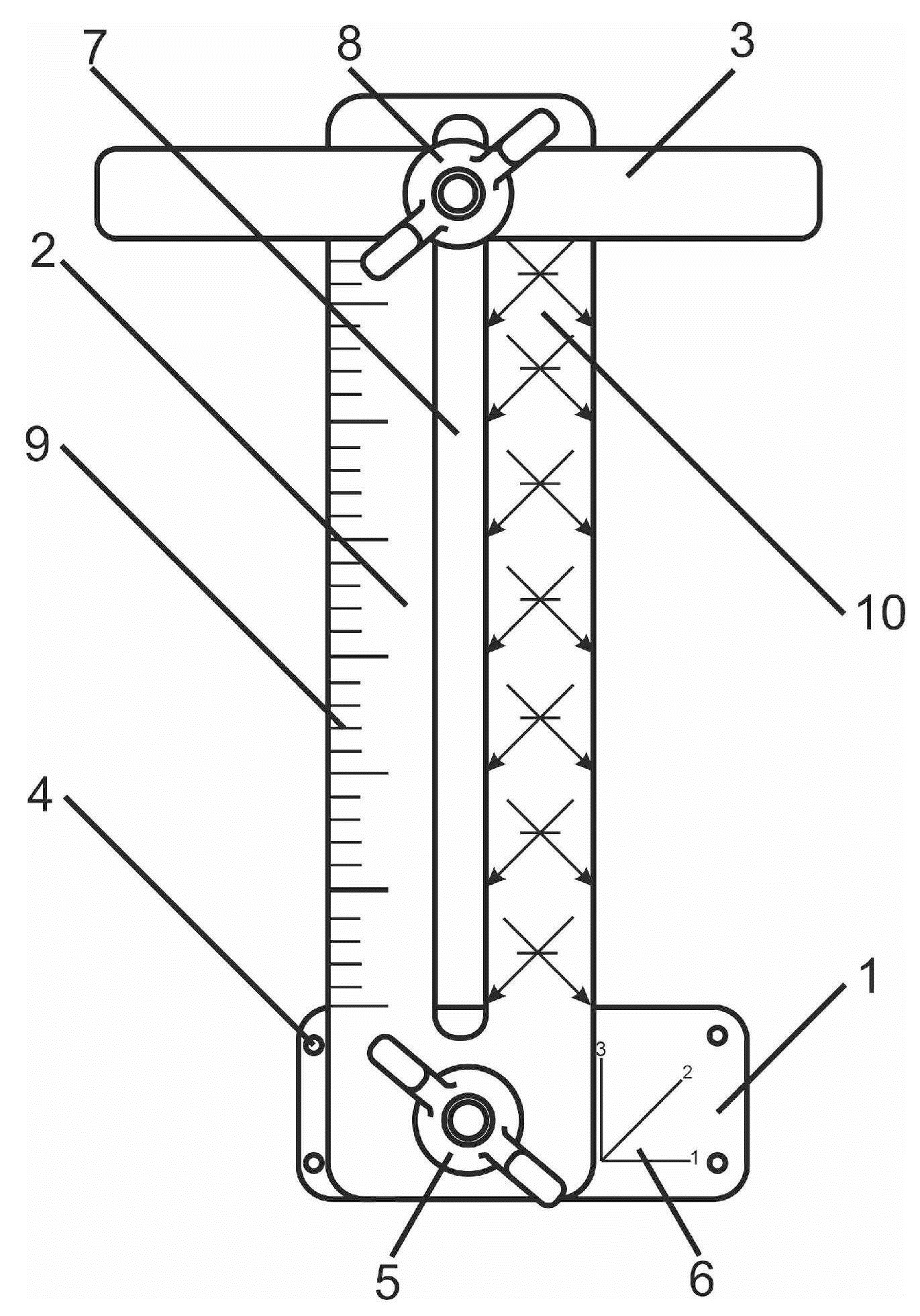
Область техники, к которой относится изобретение Изобретение относится к вспомогательным устройствам для отработки технических приемов, применяемых при выполнении стрижек, в частности используемых для обучения стрижке (МПК A45D24/36, G09B19/00). Уровень техники Из уровня техники известно УСТРОЙСТВО ДЛЯ ОТРАБОТКИ СТРИЖКИ ВОЛОС (WO2015026006A1, опубл. 26.02.2015), представляющее собой выдвижные пластины, прикрепляемые к манекен-голове, позволяющие изменять их длину с тем, чтобы обучаемый имел возможность ориентироваться на них при срезе волос по длине, и способ, в котором обучаемые отрабатывают навык среза волос нужной длины с использованием данного устройства. Недостатком данного устройства является то, что его размещение на манекен-голове лишает обучающихся возможности правильно отчесать прядь в нужном направлении, т.е. выполнить операцию, непосредственно предшествующую срезу волос. Также известен Инструмент для обучения парикмахерским технологиям красоты и модель для обучения парикмахерским технологиям красоты (GB2455450A, опубл. 17.06.2009), представляющий собой полукольцо, надеваемое на голову манекена для стрижки, с множеством пластинок, расположенных перпендикулярно поверхности головы, и снабженных шкалами углов для отработки среза волос под углом, и способ обучения, в котором данное устройство используется для отработки навыков среза волос под заданным углом. Недостатком аналога является конструкция инструмента, позволяющая отрабатывать срез только на прядях, отчесанных перпендикулярно поверхности головы. Наиболее близким по технической сущности является НАПРАВЛЯЮЩЕЕ УСТРОЙСТВО ДЛЯ СТРИЖКИ ВОЛОС И СПОСОБЫ ЕГО ИЗГОТОВЛЕНИЯ И ИСПОЛЬЗОВАНИЯ (US2023200511A1, опубл. 29.06.2023), включающее в себя основание, прикрепляемое к манекен-голове, со множеством рычагов, прикрепленных под разными углами, для отработки навыка направления пряди волос в нужном направлении отчесыванием. Также известен способ его использования для отработки обучающимися навыков отчесывания прядей в нужном направлении под нужным углом. Недостатком прототипа является конструкция устройства, согласно которой, произведя отчесывание пряди в нужном направлении, далее обучающийся самостоятельно должен определить необходимую длину и угол среза пряди или воспользоваться другими вспомогательными средствами. Недостатками прототипа и аналогов является необходимость смены приспособлений для обучения навыкам отчесывания прядей в нужном направлении и под нужным углом и навыков среза волос на определенной длине и под определенным углом, которые являются базовыми для выполнения большинства стрижек, в то время, как при выполнении реальных стрижек, эти операции, в основном, идут последовательно и связаны между собой, вследствие чего предпочтительно вырабатывать у обучающихся навык слитного выполнения операций по отчесыванию и срезу прядей волос. Раскрытие сущности изобретения Задачей изобретения является устранение недостатков аналогов за счет создания устройства для комплексной отработки навыков отчесывания прядей и среза волос, включая направление, угол и длину, а также способа обучения стрижке с использованием данного устройства. Указанную задачу решает заявленное изобретение, которое, в первом своем аспекте, представляет собой УСТРОЙСТВО ДЛЯ ОТРАБОТКИ НАВЫКОВ СТРИЖКИ, которое содержит: основание, выполненное с возможностью крепления к манекен-голове, и среднюю часть, прикрепленную к основанию и выполненную с возможностью поворота относительно основания и фиксации, причем средняя часть содержит прорезь; и верхнюю часть, прикрепленную к средней части с возможностью скольжения и фиксации в прорези, причем верхняя часть также выполнена с возможностью поворота относительно средней части; при этом на основание нанесена угловая шкала с угловыми обозначениями, соответствующими различным углам поворота средней части относительно основания, при этом по длине средней части вдоль прорези, с одной стороны от нее, нанесена линейная шкала с обозначениями, соответствующими различным линейным положениям верхней части в прорези, при этом по длине средней части вдоль прорези, с другой стороны от нее, нанесены угловые шкалы с угловыми обозначениями, соответствующими различным углам поворота верхней части относительно средней части. В частности, основание, средняя и верхняя часть выполнены из пластика, металла или дерева. В частности, угловая шкала основания размечена в градусах по дуге от 0° до 180°. В частности, угловая шкала основания размечена по дуге от 1 до 5 через каждые 45°. В частности, линейная шкала средней части размечена в миллиметрах или сантиметрах. В частности, угловая шкала средней части размечена по дуге в градусах от 180° до 0°. В частности, угловая шкала средней части размечена скрещенными стрелками, указывающими наружный и внутренний угол 45°. В частности, основание и верхняя часть соединены со средней частью зажимными винтами с гайками-барашками. Заявленное изобретение обеспечивает достижение следующих технических результатов: а) Возможность выполнения упражнений по отчесыванию прядей в нужном направлении и под нужным углом и упражнений по выполнению среза волос на нужной длине и под заданным углом с использованием единого устройства. б) Возможность самостоятельной отработки вышеуказанных навыков студентом без постоянного присутствия учителя. Указанную задачу также решает заявленное изобретение, которое, во втором своем аспекте, представляет собой СПОСОБ ОТРАБОТКИ НАВЫКОВ СТРИЖКИ с использованием устройства для отработки навыков стрижки по п.1, включающий многократное выполнение упражнения по отработке отчесывания волос и упражнения по отработке среза волос, при этом упражнение для отработки отчесывания волос включает в себя этапы, на которых: выставляют среднюю часть устройства для отработки навыков стрижки в предварительно заданное угловое положение относительно значения, соответствующего углу изучаемого отчесывания волос, совмещая кромку средней части с соответствующей меткой угловой шкалы на основании устройства для отработки навыков стрижки, крепят основание устройства для отработки навыков стрижки к манекен-голове вдоль пробора волос, и отчесывают пряди волос, располагая их вдоль средней части устройства для отработки навыков стрижки и захватывают рукой; при этом упражнение для отработки среза волос включает в себя этапы, на которых: устанавливают верхнюю часть устройства для отработки навыков стрижки на предварительно заданное расстоянии от основания, соответствующее длине изучаемого среза, перемещая верхнюю часть устройства для отработки навыков стрижки вдоль прорези в средней части до положения, определяемого совмещением кромки верхней части устройства для отработки навыков стрижки с соответствующей меткой линейной шкалы, поворачивают верхнюю часть устройства для отработки навыков стрижки относительно средней на угол, соответствующий углу изучаемого среза, совмещая кромку верхней части с соответствующей отметкой на угловой шкале средней части; располагают прядь волос вдоль средней части устройства для отработки навыков стрижки, зажимают между пальцами свободной руки, располагаемыми непосредственно на верхней части. В частности, упражнение для отработки отчесывания волос выполняют многократно, меняя угловое положение средней части и/или переставляя основание устройства для отработки навыков стрижки на другие проборы манекен-головы. В частности, упражнение для отработки среза волос выполняют многократно, меняя расстояние от верхней части устройства для отработки навыков стрижки до основания и/или угол расположения верхней части относительно средней и/или переставляя основание устройства для отработки навыков стрижки на другие проборы манекен-головы. В частности, указанные упражнения выполняют последовательно на одном проборе, после чего переставляют основание устройства для отработки навыков стрижки на другой пробор и выполняют снова. Под термином «навыки стрижки» в данном случае подразумеваются базовые навыки, такие как навык отчесывания прядей волос в нужном направлении и на нужный угол, и навык среза волос на нужной длине и под нужным углом Процесс выполнения стрижки включает в себя серию последовательных отчесываний и срезов волос. Таким образом, отработка отчесываний и срезов волос, характерных для определенной стрижки, то есть имеющих определенные длину и угол, позволяет студенту изучить этот определенный тип стрижки. Заявленное изобретение обеспечивает достижение следующих технических результатов: а) возможность одновременной отработки навыка отчесывания прядей в нужном направлении и под нужным углом и навыка выполнения среза волос на нужной длине и под заданным углом с использованием единого устройства. б) Сокращение времени отработки навыков стрижки. г) Возможность самостоятельной отработки вышеуказанных навыков студентом без присутствия учителя. Краткое описание чертежей: На Фиг. представлено устройство для отработки навыков стрижки. На фигуре обозначены: 1 – основание; 2 – средний элемент; 3 – верхний элемент; 4 – крепежные отверстия; 5 – крепежный элемент; 6 – угловая шкала; 7 – прорезь; 8 – крепежный элемент; 9 – линейная шкала; 10 – угловая шкала. Заявленное устройство для отработки навыков стрижки включает основание 1, средний элемент 2 и верхний элемент 3, выполненные из металла, пластика или дерева. На основании 1 распложены отверстия 4, предназначенные для крепления основания 1 к манекен-голове, крепежный элемент 5, и угловая шкала 6 с предварительно заданными угловыми обозначениями, соответствующими различным углам поворота средней части относительно основания. Отверстия 4 выполнены с возможностью вмещения любых подходящих крепежных элементов, например, винтов, канцелярских кнопок или иголок с ручками (на фигурах не показаны). Крепежный элемент 5 предназначен для разъемного крепления средней части к основанию и представляет собой, например, втулку с шайбами, шпонку, болт с гайкой или зажимной винт с гайкой типа «барашек». Угловая шкала 6 размечена в любых угловых или условных единицах, например, в градусах по дуге от 0° до 180°, цифрами от «1» до «5» через равные промежутки, например, 45°, или содержит условные обозначения изучаемых стрижек. Средний элемент 2 прикреплен к основанию 1 с помощью крепежного элемента 5, пропущенного в отверстие в среднем элементе 2, и выполнен с возможностью вращения вокруг оси крепежного элемента 5 с возможностью фиксации положения. Данная возможность, в сочетании с наличием крепежного элемента 5 и угловой шкалы 6, соответствующей различным углам поворота средней части 2 относительно основания 1, обеспечивает возможность точной фиксации среднего элемента 2 под определенным углом к основанию 1, соответствующим направлению, в котором следует располагать пряди волос при выполнении отчесывания в изучаемой студентом стрижке. По центру среднего элемента 2 вдоль длинной его стороны выполнена прорезь 7, выполненная с возможностью крепления и перемещения верхнего элемента 3 вдоль среднего элемента 2. Верхний элемент 3 прикреплен к среднему элементу 2 с помощью крепежного элемента 8, например, втулки с шайбами, шпонки, болта с гайкой или зажимного винта с гайкой типа «барашек», пропущенного в прорезь 7, и выполнен с возможностью вращения относительно оси крепежного элемента 8 и перемещения относительно среднего элемента 2 вдоль прорези 7 с возможностью фиксации положения. По длине среднего элемента 2, вдоль прорези, например, с одной стороны от нее, нанесена линейная шкала 9, размеченная в любых линейных или условных единицах, например, в миллиметрах или сантиметрах, предназначенная для фиксации верхнего элемента 3 на определенном расстоянии от основания 1, соответствующем заданной длине пряди, подлежащей срезу, или содержащая отметки, соответствующие типу изучаемой стрижки. Наличие возможности линейного перемещения верхнего элемента 3 вдоль среднего элемента 2 и фиксации положения с помощью крепежного элемента 8, выполненного с возможностью перемещения и фиксации в прорези 7, относительно линейной шкалы 9 обеспечивает возможность изменения и фиксации расстояния между основанием 1, прикрепленным к пробору волос манекен-головы у начала пряди, отчесанной вдоль среднего элемента 2, и верхним элементом 3, указывающим обучающемуся место ее предполагаемого среза. Таким образом, наличие линейной шкалы 9 обеспечивает возможность обучающемуся отмерять пряди волос для выполнения среза прядей определенной длины, соответствующей типу изучаемой стрижки. Также вдоль прорези 7 на поверхность среднего элемента 2 нанесена по меньшей мере одна угловая шкала 10, размеченная в любых угловых или условных единицах, например, по дуге в градусах от 180° до 0°, или в условных обозначениях, соответствующих типу среза прядей, или представляющая собой скрещенные стрелки, направленные вниз под углом 45° к горизонтали, обеспечивающая возможность точного указания угла предполагаемого среза волос. Наличие возможности вращения верхнего элемента 3 вокруг оси крепежного элемента 8, выполненного с возможностью фиксации, и угловой шкалы 10, обеспечивает возможность обучающемуся устанавливать верхний элемент 3 под нужным постоянным углом к пряди волос, отчесанной вдоль средней части 2, определяемым типом изучаемой стрижки, и имитировать срез волос вдоль пальцев, располагаемых непосредственно на верхнем элементе 3. Заявленное устройство используют следующим образом: Упражнение 1. Для отработки навыка выполнения отчесывания: Устройство крепят к манекен-голове, закрепляя основание 1 вдоль нужного пробора с помощью подходящих крепежных элементов через отверстия 4 основания, устанавливают средний элемент 2 с помощью крепежного элемента 5 в заданное положение угловой шкалы 6, соответствующее углу изучаемого отчесывания, и многократно выполняют отчесывание под углом, который показывает приспособление, располагая пряди волос вдоль элемента 2. Далее устанавливают средний элемент в другое положение угловой шкалы 6, фиксируют положение с помощью крепежного элемента 5, и снова многократно выполняют отчесывание прядей волос. Упражнение 2. Для отработки навыка выполнения среза: Устройство крепят к манекен-голове, закрепляя основание 1 вдоль нужного пробора с помощью подходящих крепежных элементов через отверстия 4 основания, устанавливают верхний элемент 3 устройства, с помощью крепежного элемента 8, линейной шкалы 9 и угловой шкалы 10, в положение, соответствующее заданной длине пряди и углу среза волос на нужном расстоянии от основания 1 и под нужным углом относительно среднего элемента 2, отчесывают нужную прядь вдоль среднего элемента 2, располагают указательный и средний пальцы свободной руки на верхней части элемента 3, зажимая прядь между ними, и многократно выполняют упражнение на правильное расположение пальцев на пряди, имитируя движение ножниц вдоль пальцев без среза волос. Далее меняют положение или угол поворота верхнего элемента 3 и снова многократно выполняют имитацию среза волос. Упражнение 3. Для отработки комплексного навыка выполнения отчесывания и среза пряди волос. Устройство крепят к манекен-голове, закрепляя основание 1 вдоль нужного пробора с помощью подходящих крепежных элементов через отверстия 4 основания, устанавливают средний элемент 2 с помощью крепежного элемента 5 в заданное положение угловой шкалы 6, устанавливают верхний элемент 3 устройства, с помощью крепежного элемента 8, линейной шкалы 9 и угловой шкалы 10, в положение, соответствующее заданной длине пряди и углу среза волос на нужном расстоянии от основания 1 и под нужным углом относительно среднего элемента 2 устройства, отчесывают нужную прядь вдоль среднего элемента 2, располагают указательный и средний пальцы на верхней части элемента 3, зажимая прядь между ними, и имитируют движение ножниц вдоль пальцев без среза волос. Далее меняют положение устройства на манекен-голове, и/или угол расположения средней части 2 относительно основания 1, и/или расстояние от основания 1 до верхней части 3 по линейной шкале 9, и/или угол расположения верхней части 3 относительно средней части 2 по угловой шкале 10, и снова выполняют весь комплекс описанных действий. Таким образом, показано, что использование заявленного устройства позволяет отрабатывать навыки выполнения двух основных технических приемов стрижки, таких, как выполнение отчесывания прядей в нужном направлении и под нужным углом, и выполнение среза прядей нужной длины и под нужным углом, как по отдельности, так и совместно. Сокращение времени отработки правильного навыка достигается за счет абсолютно тождественного повторения одних и тех же действий, способствующего их закреплению в зрительной и моторной памяти обучающегося, без необходимости коррекции или риска запоминания неправильных действий. Также отсутствует необходимость многочисленных демонстраций техники при смене угла отчесывания прядей и/или вида и длины среза, а также постоянного контроля правильности выполнения данных упражнений со стороны преподавателя, поскольку для правильного выполнения упражнения со стороны обучающегося достаточно следовать показаниям заявленного устройства. Заявленное изобретение, во втором своем аспекте, представляет собой СПОСОБ ОТРАБОТКИ НАВЫКОВ СТРИЖКИ с использованием заявленного устройства для отработки навыков стрижки, включающий многократное выполнение упражнения по отработке отчесывания волос, упражнения по отработке среза волос и упражнения по комплексному выполнению отчесывания прядей и срезу волос. В процессе обучения стрижке, предпочтительно, проводят изучение основных терминов, обеспечивая таким образом единство терминологии, и типовых приемов, применяемых в данном методе стрижки, с использованием наглядных материалов в виде слайдов с фотографиями и схематичными изображениями. Теоретически изучают: методику разделения волосяного покрова головы на зоны; методику выполнения проборов; методику выполнения отчесывания; методику среза волос. Отработку практических приемов на манекен-голове сначала реализуют отдельно по зонам и начинают с показа ученику фотографий готового результата стрижки в целом и фотографий готового результата стрижки отдельной зоны, где все остальные волосы убраны в зажимы, для обеспечения понимания учеником цели работы с данной зоной. Используя полученные на теоретическом этапе знания, ученик разделяет волосяной покров манекен-головы на зоны, выделяет нужную и убирает все волосы других зон в зажимы. Далее производится отработка навыков ученика по: - выполнению пробора волос манекен-головы; Пробор – это разделительная линия на волосяном покрове головы, разделяющая зоны и секции прядей для целей выполнения стрижки. Выполнение пробора осуществляют широкой стороной расчески для стрижки, которую прикладывают к выбранной начальной точке и указательным пальцем толкают в направлении конечной точки, разделяя волосяной покров зоны на две части. Зубчик расчески должен плотно прилегать к голове, не травмируя при этом кожу. По достижении конечной точки, фиксируют одну часть свободной рукой, а вторую вычесывают расческой в перпендикулярном направлении к пробору. После этого те же действия производят с другой частью волос. - по перенаправлению прядей или всех волос зоны манекен-головы в определенную точку пространства; Перенаправлении волос осуществляют смещением волос расческой в какую-либо сторону от выделенного пробора, что придает определенную форму стрижке при определенном направлении смещения. - выполнению определенного вида отчеса волос манекен-головы; и - выполнению определенного среза волос манекен-головы, причем последние два навыка отрабатываются с использованием заявленного устройства. Согласно заявленному способу, отчес – это положение одной выделенной пряди, которую отчесывают под определенным углом вверх или вниз по ее пробору. Отчесывания выполняют следующими способами: 1й тип отчесывания – пряди отчесывают в нижнюю часть пробора параллельно ему. Угол положения пряди относительно пробора 0°. 2й тип отчесывания – пряди отчесывают в нижнюю часть пробора под углом 45°. 3й тип отчесывания – пряди отчесывают перпендикулярно пробору. Угол положения пряди относительно пробора 90°. 4й тип отчесывания – пряди отчесывают в верхнюю часть пробора под углом 135°. 5й тип отчесывания – пряди отчесывают в верхнюю часть пробора параллельно ему. Угол положения пряди относительно пробора 180°. Согласно заявленному способу, срез – это положение указательного и среднего пальца, между которыми зажимают отчесанную прядь, и на которые, как на опору, плотно помещают ножницы, перемещая их вдоль среднего пальца. Согласно заявленному способу, используют следующие виды срезов: - центральный – прядь волос зажимают перпендикулярно пальцам по всей их длине, все волосы пряди после среза имеют одинаковую длину; - внутренний – прядь волос зажимают по диагонали к пальцам, причем основание пальцев расположено ближе к поверхности головы, чем кончики, нижняя часть пряди после среза короче, чем верхняя; - внешний – прядь волос зажимают по диагонали к пальцам, причем основание пальцев расположено дальше от поверхности головы, чем кончики, нижняя часть пряди после среза длиннее, чем верхняя. Для отработки навыков по отчесыванию и срезу прядей волос ученики, помимо использования визуальных материалов и объяснений преподавателя, используют заявленное устройство, многократно выполняя описанные выше упражнения 1 и 2, и, по мере выработки и закрепления соответствующих навыков, переходят к упражнению 3, повторяя его на разных проборах. Согласно заявленному способу, отработка навыков и по отчесыванию, и по срезу волос производят с использованием одного заявленного устройства, позволяющего заранее выставить и зафиксировать нужный угол отчесывания прядей, длину прядей, подлежащих срезу, и угол среза прядей, соответствующие выбранной модели стрижки, и многократно воспроизводить выбранную комбинацию правильным способом без необходимости постоянного контроля и коррекции со стороны обучающего специалиста, поскольку для правильного выполнения упражнения со стороны обучающегося достаточно следовать показаниям заявленного устройства. При необходимости смены приема, например, при переходе на другой пробор и/или другую зону волосяного покрова манекен-головы, преподаватель объявляет обучающимся новую комбинацию угла отчесывания, длины прядей и угла среза, без необходимости индивидуального показа и/или контроля и коррекции действий каждого обучающегося, при этом все обучающиеся будут гарантированно отрабатывать один и тот же навык. После выполнения всех упражнений (примерная длительность около трех часов) ученик обладает навыком выполнения всей комбинации действий и может приступить к реальной стрижке выделенной зоны, выполняя ее быстро и без использования лишних действий. По такому же принципу ученик тренируется выполнять определенную последовательность технических действий последовательно на всех зонах волосяного покрова манекен-головы. Согласно заявленному способу, многократное механическое повторение указанных действий с использованием заявленного устройства способствует более быстрому закреплению тренируемых навыков благодаря использованию обучающимися зрительной и мышечной памяти, снижает нагрузку на нервную систему обучающихся, не требует постоянного присутствия обучающего специалиста. Для обучения была сформирована группа из 10 учащихся с примерно одинаковым уровнем начальной подготовки в области парикмахерского искусства, которую, после прохождения подготовительного и теоретического курсов, разделили на две группы по пять человек (экспериментальную и контрольную), практические занятия с которыми проводили в разных рабочих помещениях. Отработку навыков отчесывания и среза (описанные выше упражнения 1, 2 и 3) в экспериментальной группе проводили с использованием заявленных устройств, изготовленных из листового пластика для каждого ученика, а в контрольной группе те же упражнения проводили с использованием визуальных материалов (схем и фотографий) и показов и объяснений преподавателя. Преподаватель перемещался между рабочими помещениями, контролируя выполнение упражнений, по мере необходимости давая пояснения, демонстрируя приемы и техники, при этом около 70% времени преподаватель проводил в помещении контрольной группы. Всего было проведено 4 практических занятия по 45 мин каждое, после чего ученики сдавали зачет по технике выполнения отчесывания и среза волос комиссии из трех действующих мастеров-парикмахеров, в котором необходимо было выполнить определенную стрижку отдельной зоны манекен-головы, заданную комиссией. Оценивалась точность выполнения контрольного задания. В контрольной группе «зачет» получили 2 человека из 5, в экспериментальной 4 из 5, причем среднее время выполнения задания в экспериментальной группе составило 15 мин, против 23 мин в контрольной группе.