Предлагаемое изобретение относится к электротехнике и может быть использовано при прокладке электрических кабелей и проводов, расположенных в гофрированной трубе, в частности к узлу крепления гофрированных труб. Клипса-держатель для гофрированной трубы содержит основание с двумя стенками-лепестками, расположенными напротив друг друга и образующими отверстие для размещения в нем гофрированной трубы, а также по меньшей мере один выступ, выполненный по меньшей мере на одной из стенок-лепестков, вдоль ее внутренней поверхности, с возможностью вхождения данного выступа в канавку гофрированной трубы и предотвращения осевого перемещения гофрированной трубы, а в середине основания выполнено отверстие для крепления клипсы-держателя для гофрированной трубы к несущей поверхности. Также клипса держатель содержит упор, выполненный на основании между стенками-лепестками, с возможностью обеспечения корректного позиционирования дула монтажного пистолета относительно отверстия для крепления клипсы-держателя. 7 з.п. ф-лы, 3 ил.
1. Клипса-держатель для гофрированной трубы, содержащая основание с двумя стенками-лепестками, расположенными напротив друг друга и образующими отверстие для размещения в нем гофрированной трубы, при этом стенки-лепестки выполнены с возможностью охватывания и удержания гофрированной трубы по наружному диаметру, отличающаяся тем, что содержит по меньшей мере один выступ, выполненный по меньшей мере на одной из стенок-лепестков, вдоль её внутренней поверхности, с возможностью вхождения данного выступа в канавку гофрированной трубы и предотвращения осевого перемещения гофрированной трубы, а также с возможностью обеспечения дополнительного сжимающего воздействия на гофрированную трубу по внутреннему ее диаметру, содержит также упор, выполненный на основании между стенками-лепестками, а в основании упора выполнена канавка в виде выемки вдоль всего основания, с возможностью обеспечения свободного отделения упора от основания при выстреле монтажного пистолета в момент крепления клипсы-держателя, при этом ширина выступа равна ширине канавки между соседними гофрами гофрированной трубы, а высота выступа равна глубине канавки между соседними гофрами гофрированной трубы, в частности разнице между внешним и внутренним диаметрами гофрированной трубы, при этом в середине основания выполнено отверстие для крепления клипсы-держателя для гофрированной трубы к несущей поверхности, а упор выполнен с возможностью обеспечения корректного позиционирования дула монтажного пистолета относительно отверстия для крепления клипсы-держателя. 2. Клипса-держатель для гофрированной трубы по п. 1, отличающаяся тем, что выступ имеет прямоугольное, квадратное, треугольное или трапециевидное сечение. 3. Клипса-держатель для гофрированной трубы по п. 1, отличающаяся тем, что отверстие для крепления клипсы-держателя для гофрированной трубы имеет форму круга. 4. Клипса-держатель для гофрированной трубы по п. 1, отличающаяся тем, что на внешней поверхности стенок-лепестков выполнены ребра жесткости. 5. Клипса-держатель для гофрированной трубы по п. 1, отличающаяся тем, что каждый выступ выполнен одним целым с соответствующей стенкой-лепестком. 6. Клипса-держатель для гофрированной трубы по п. 1, отличающаяся тем, что вся конструкция клипсы-держателя выполнена одной единой деталью из пластмассы, пластика, полимерных или композиционных материалов. 7. Клипса-держатель для гофрированной трубы по п. 1, отличающаяся тем, что упор имеет прямоугольное, квадратное, треугольное или трапециевидное сечение. 8. Клипса-держатель для гофрированной трубы по п. 1, отличающаяся тем, что канавка в виде выемки в основании упора имеет округлую или остроконечную форму.
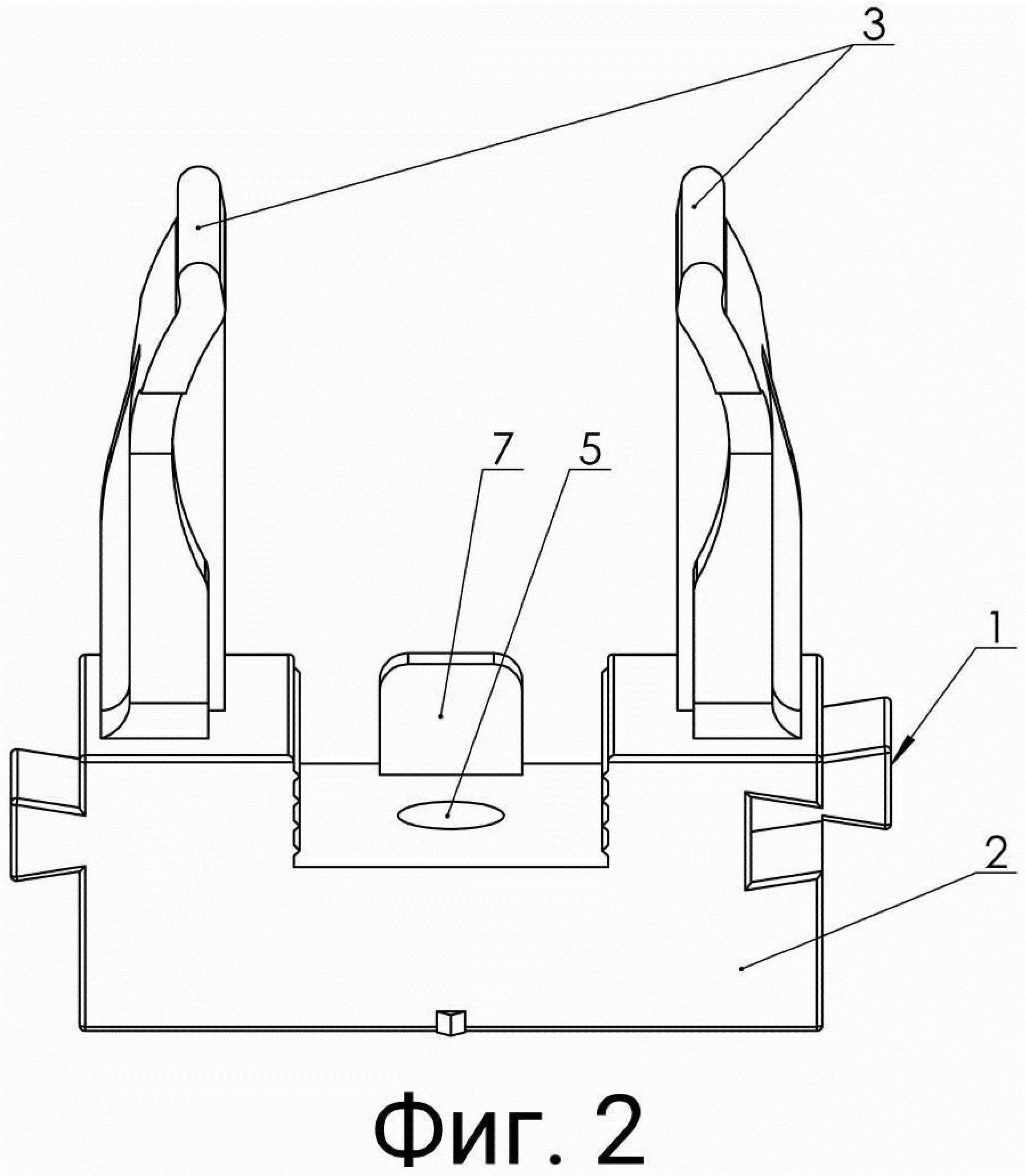
Предлагаемое изобретение относится к электротехнике, и может быть использовано при прокладке электрических кабелей и проводов, расположенных в гофрированной трубе, в частности к узлу крепления гофрированных труб и может применяться для однократного использования при прокладке гофрированных труб внутри зданий или на зданиях, на сооружениях по стенам и перекрытиям, а также на транспортных средствах - для наружного монтажа на стене. Наиболее распространенным способом защиты электрических кабелей и проводов при прокладке является использование жестких и гибких защитных гофрированных труб из полимерных материалов. Но для надежного удержания гофрированной трубы, особенно во избежание её осевого смещения, требуется значительное усилие охвата стенок-лепестков, которое приводит к пластической деформации гофрированной трубы, снижая надежность крепления трубы с кабелем на стене. У известных существующих клипс-держателей для труб основной недостаток заключается в том, что они не обеспечивают плотное обжатие гофрированной трубы по её внутреннему диаметру для предотвращения осевого смещения гофрированной трубы, поскольку стенки-лепестки выполнены с гладкой внутренней поверхностью, и они не могут надежно закрепить трубу по её внутреннему диаметру и предотвратить осевое смещение гофрированной трубы внутри клипсы-держателя. В результате такие клипсы-держатели не обеспечивают необходимого плотного обжатия гофрированной трубы по её внутреннему диаметру, и возникают смещения трубы с образованием деформаций, замятий, трещин и дырок в трубе, и снижения защиты кабелей, расположенных внутри трубы. Известен «Крепеж для трубы», состоящий из клипсы в виде опорного элемента с закругленными вовнутрь боковыми стенками, который снабжен также дюбелем и защелкой, которая выполнена в виде двух дугообразных лапок с шипами. При этом клипса выполнена во фронтальной проекции в виде перевернутой буквы П с закругленными углами, а боковые стенки клипсы выполнены сужающимися по краям в размер защелки, а на наружной стороне опорного элемента клипсы выполнены ребра жесткости, при этом на концах боковых стенок клипсы прикреплены, с наружной стороны, лапки защелки, а у лапки с шипами на внутренней стороне образована выемка (патент РФ на ПМ №152077, F16L 3/227). Данный крепеж для трубы имеет достаточно сложную и не надежную конструкцию. Известно также «Устройство для крепления трубопровода», в котором устройство фиксации элемента трубопровода снабжено парой круглых стенок, обращенных друг к другу для образования отверстия для приема элемента трубопровода между их концами и выступами, соответственно, выполненными за одно целое с круглыми стенками такой формы, чтобы можно было подсоединить провод (патент Японии № JP2006038116, F16L3/12). В данном устройстве имеется приспособление для предотвращения выхода трубопровода из зажима для крепления, но в нем отсутствуют детали, обеспечивающие дополнительное крепление трубопровода по его диаметру. Известен также «Зажим для труб», который содержит базовую часть, предназначенную для крепления к опорной поверхности, при этом указанная базовая часть несет две поворотные соединительные части, расположенные на расстоянии друг от друга, по существу параллельными осями поворота, при этом каждая из поворотных соединительных частей соединяет сегмент трубного зажима с базовой частью, при этом концы сегментов зажима, удаленные от базовой части, снабжены запорными элементами для соединения указанных концов сегментов зажима, и при этом между концами ближайших к базовой части сегментов хомута имеется зазор, при этом в базовой части предусмотрена открытая полость, которая открыта на стороне, обращенной к сегментам зажима, и которая ограничена периферийной стенкой и дном, противоположным открытой стороне, при этом в дне полости предусмотрено отверстие для прохождения через крепежный элемент для прикрепления трубного хомута к опорной поверхности, элемент крепления к которой расположен в стволе пистолета для забивания гвоздей, при этом полость выполнена с возможностью размещения ствола пистолета для забивания гвоздей таким образом, что периферийная стенка окружает ствол (международная заявка РСТ №WO2008140300, F16L3/12). Данный патент является наиболее близким по технической сущности к заявленному изобретению и выбран в качестве прототипа. В данном решении обеспечено крепление трубы, но оно не предназначено для надежного крепления гофрированной трубы, так как в нем отсутствуют элементы, обеспечивающие закрепление гофрированной трубы не только по внешнему диаметру, но и по её внутреннему диаметру, и предотвращение осевого смещения трубы внутри клипсы-держателя. Задачей данного изобретения является повышение эффективности и надежности крепления гофрированной трубы с помощью клипсы-держателя, за счет обеспечения закрепления трубы не только по внешнему диаметру, но и по её внутреннему диаметру, и предотвращения осевого смещения трубы внутри клипсы-держателя, при одновременном обеспечении простоты монтажа клипсы-держателя, за счет наличия упора для корректного позиционирования монтажного пистолета относительно отверстия для крепления клипсы-держателя. Техническим результатом изобретения является повышение эффективности и надежности клипсы-держателя при одновременном обеспечении простоты её монтажа на рабочей поверхности. Поставленный технический результат достигается за счет того, что клипса-держатель для гофрированной трубы, содержащая основание с двумя стенками-лепестками, расположенными напротив друг друга, и образующими отверстие для размещения в нем гофрированной трубы, при этом стенки-лепестки выполнены с возможностью охватывания и удержания гофрированной трубы по наружному диаметру, содержит, по меньшей мере, один выступ, выполненный по меньшей мере на одной из стенок-лепестков, вдоль её внутренней поверхности, с возможностью вхождения данного выступа в канавку гофрированной трубы, и предотвращения осевого перемещения гофрированной трубы, а также с возможностью обеспечения дополнительного сжимающего воздействия на гофрированную трубу по внутреннему ее диаметру, содержит также упор, выполненный на основании между стенками-лепестками, а в основании упора выполнена канавка в виде выемки вдоль основания, с возможностью обеспечения свободного отделения упора от основания при выстреле монтажного пистолета в момент крепления клипсы-держателя, при этом ширина выступа равна ширине канавки между соседними гофрами гофрированной трубы, а высота выступа равна глубине канавки между соседними гофрами гофрированной трубы, в частности разнице между внешним и внутренним диаметрами гофрированной трубы, при этом в середине основания выполнено отверстие для крепления клипсы-держателя для гофрированной трубы к несущей поверхности, а упор выполнен с возможностью обеспечения корректного позиционирования дула монтажного пистолета относительно отверстия для крепления клипсы-держателя. Предпочтительно, чтобы в клипсе-держателе для гофрированной трубы выступ имел прямоугольное, квадратное, треугольное или трапециевидное сечение. Целесообразно, чтобы в клипсе-держателе для гофрированной трубы отверстие для крепления клипсы-держателя для гофрированной трубы имело форму круга. Желательно, чтобы в клипсе-держателе для гофрированной трубы на внешней поверхности стенок-лепестков были выполнены ребра жесткости. Предпочтительно, чтобы в клипсе-держателе для гофрированной трубы каждый выступ был выполнен одним целым с соответствующей стенкой-лепестком. Целесообразно, чтобы вся конструкция клипсы-держателя для гофрированной трубы была выполнена одной единой деталью из пластмассы, пластика, полимерных или композиционных материалов. Желательно, чтобы в клипсе-держателе для гофрированной трубы упор имел прямоугольное, квадратное, треугольное или трапециевидное сечение. Целесообразно, чтобы в клипсе-держателе для гофрированной трубы канавка в виде выемки в основании упора имела округлую или остроконечную форму. Для более подробного раскрытия изобретения далее приводится описание конкретных возможных вариантов его выполнения с соответствующими чертежами. Фиг. 1 – внешний вид клипсы-держателя. Фиг. 2 - внешний вид клипсы-держателя с упором. Фиг. 3 – сечение упора с канавкой. Клипса-держатель 1 для гофрированной трубы, в предпочтительном варианте ее выполнения, содержит основание 2 с двумя стенками-лепестками 3, расположенными напротив друг друга, и образующими отверстие для размещения в нем гофрированной трубы, при этом стенки-лепестки 3 выполнены такой формы, чтобы они могли охватывать и удерживать гофрированную трубу по наружному диаметру (Фиг. 1). Также клипса-держатель 1 содержит, по меньшей мере, один выступ 4, выполненный по меньшей мере на одной из стенок-лепестков 3, вдоль ее внутренней поверхности, с возможностью вхождения данного выступа в канавку гофрированной трубы, охватывания ее по внутреннему диаметру, и предотвращения осевого перемещения гофрированной трубы, а также с возможностью обеспечения дополнительного сжимающего воздействия на гофрированную трубу по внутреннему ее диаметру. При этом ширина b выступа 4 равна ширине канавки между соседними гофрами гофрированной трубы, а высота h выступа равна глубине канавки между соседними гофрами гофрированной трубы, в частности разнице между внешним и внутренним диаметрами гофрированной трубы (Фиг. 1). В середине основания 2 выполнено отверстие 5 для крепления клипсы-держателя для гофрированной трубы к несущей поверхности при помощи монтажного пистолета, а выступ 4 имеет прямоугольное, квадратное, треугольное или трапециевидное сечение, при этом отверстие 5 для крепления клипсы-держателя для гофрированной трубы имеет, предпочтительно, форму круга. На внешней поверхности стенок-лепестков 3 выполнены ребра жесткости 6, при этом каждый выступ 4 выполнен одним целым с соответствующей стенкой-лепестком 3, а вся конструкция клипсы-держателя 1 выполнена одной единой деталью из пластмассы, пластика, полимерных или композиционных материалов. Во втором, преимущественном варианте выполнения, клипса-держатель 1 для гофрированной трубы содержит основание 2 с двумя стенками-лепестками 3, расположенными напротив друг друга, и образующими отверстие для размещения в нем гофрированной трубы, при этом стенки-лепестки 3 выполнены с возможностью охватывания и удержания гофрированной трубы по наружному диаметру. Также клипса-держатель 1 содержит упор 7, выполненный на основании 2 между стенками-лепестками 3, с возможностью обеспечения корректного позиционирования дула монтажного пистолета относительно отверстия 5 для крепления клипсы-держателя 1 (Фиг. 2). В клипсе-держателе 1 для гофрированной трубы в основании упора 7 выполнена канавка 8 в виде выемки вдоль всего основания упора 7, с возможностью обеспечения свободного отделения упора 7 от основания 2 при выстреле монтажного пистолета в момент крепления клипсы-держателя 1 на несущую поверхность (Фиг. 3). При этом упор 7 может иметь прямоугольное, квадратное, треугольное или трапециевидное сечение, а канавка 8 в виде выемки в основании упора 7 может иметь округлую или остроконечную форму. Клипсу-держатель 1 монтируют на несущей поверхности при помощи монтажного пистолета, который прислоняют к упору 7, который отлетает при выстреле пистолета за счет имеющейся в нижней его части проточки 8. Затем вставляют гофрированную трубу между лепестками-держателями 3, а выступ 4 располагают в канавке между соседними гофрами гофрированной трубы. Таким образом, выступ 4 полностью входит в канавку гофрированной трубы, и полностью препятствует осевому перемещению гофрированной трубы в клипсе-держателе 1. При этом выступ 4 также обеспечивает дополнительное обжатие гофрированной трубы по внутреннему ее диаметру, что значительно увеличивает надежность и эффективность крепления гофрированной трубы в клипсе-держателе 1. А за счет наличия в клипсе-держателе 1 упора 7 происходит надежное позиционирование монтажного пистолета при выстреле, а отлетание упора 7 после выстрела препятствует повторному использованию клипсы-упора 1, что обеспечивает простоту и надежность монтажа клипсы-держателя 1. Клипса-держатель может использоваться для любых диаметров гофрированной трубы с пропорциональным изменением её размеров. Наиболее распространенные гофрированные трубы, для которых используется клипса-держатель, имеют внешний диаметр – 16, 20, 25, 32, 40, 50 и 63 мм. Как очевидно специалистам в данной области техники, данное изобретение легко разработать в других конкретных формах, не выходя при этом за рамки сущности данного изобретения. При этом настоящие варианты осуществления необходимо считать просто иллюстративными, а не ограничивающими, причем объем изобретения представлен его формулой, и предполагается, что в нее включены все возможные изменения и область эквивалентности пунктам формулы данного изобретения.