Предлагаемое изобретение относится к области обнаружения и диагностики загрязнения поверхности воды нефтепродуктами и может найти применение как для определения источника выбросов нефтепродуктов, так и для анализа пятна нефтепродуктов на поверхности акватории с целью рационального планирования и разработки природоохранных водоочистных мероприятий и рационального водопользования. Комплекс инфракрасной дистанционной диагностики загрязнения вод нефтепродуктами, содержащий комплект входной оптики переменного увеличения, включающий афокальный объектив, за которым установлен блок переключающихся линз для обеспечения большего увеличения, например с одновременным уменьшением угла зрения; инфракрасный объектив, представляющий собой набор линз, выполненных из материала с большим коэффициентом пропускания инфракрасного излучения в области 8-14 мкм: германия, кремния или оптической керамики; сканирующее устройство, реализующее вертикальное сканирование и сканирование горизонтальное; систему зеркал, состоящую из полупрозрачного зеркала и зеркала, для разделения пучка инфракрасного излучения на две части; два интерференционных фильтра различной пропускающей способности; фотоприемные устройства; предусилители и усилители; блок обработки сигналов изображения; ЭВМ либо систему передачи информации на наземный пункт управления; GPS или ГЛОНАСС приемник. Согласно изобретению в качестве фотоприемных устройств введен двухканальный фотоприемный блок, представляющий собой два неохлаждаемых микроболометрических матричных детектора на оксиде ванадия VOx. Технической задачей, на решение которой направлено предлагаемое изобретение, является дистанционное обнаружение загрязнения поверхности воды нефтепродуктами с возможностью выполнения оперативного и детального анализа пятна нефтепродуктов с использованием аппаратуры, не требующей охлаждения инфракрасной фотоприемной матрицы, что позволяет за счет снижения массы оборудования и его энергоемкости использовать легкие беспилотные летательные аппараты, а также увеличить дальность и продолжительность полета носителя. 1 ил.
Комплекс инфракрасной дистанционной диагностики загрязнения вод нефтепродуктами, содержащий комплект входной оптики переменного увеличения, включающий афокальный объектив, за которым установлен блок переключающихся линз для обеспечения большего увеличения, например с одновременным уменьшением угла зрения; инфракрасный объектив, представляющий собой набор линз, выполненных из материала с большим коэффициентом пропускания инфракрасного излучения в области 8-14 мкм: германия, кремния или оптической керамики; сканирующее устройство, реализующее вертикальное сканирование и сканирование горизонтальное; систему зеркал, состоящую из полупрозрачного зеркала и зеркала, для разделения пучка инфракрасного излучения на две части; два интерференционных фильтра различной пропускающей способности; фотоприемные устройства; предусилители и усилители; блок обработки сигналов изображения; ЭВМ либо систему передачи информации на наземный пункт управления; GPS или ГЛОНАСС приемник, отличающийся тем, что в качестве фотоприемных устройств введен двухканальный фотоприемный блок, представляющий собой два неохлаждаемых микроболометрических матричных детектора на оксиде ванадия VOx.
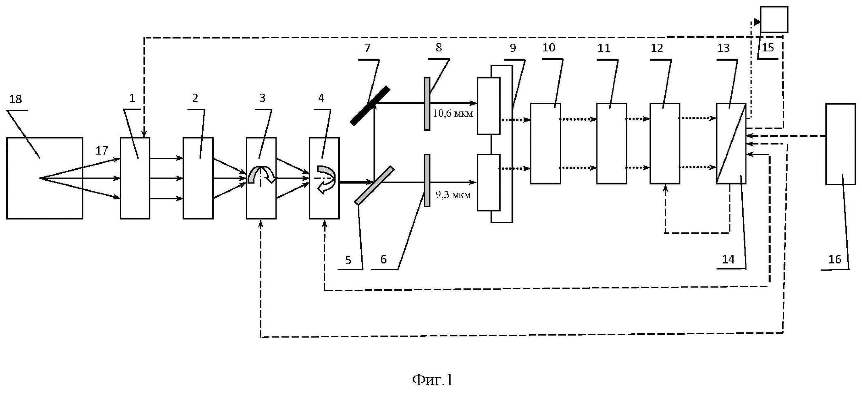
Предлагаемое изобретение относится к области обнаружения и диагностики загрязнения поверхности воды нефтепродуктами и может найти применение как для определения источника выбросов нефтепродуктов, так и для анализа пятна нефтепродуктов на поверхности акватории с целью рационального планирования и разработки природоохранных водоочистных мероприятий и рациональному водопользованию. Известно устройство «Комплекс дистанционной диагностики загрязнения вод нефтепродуктами» (см. патент на изобретение RU 49 267 U1, от 10.11.2005 Бюл. № 31), содержащий комплект входной оптики переменного увеличения, включающий афокальный объектив, за которым установлен блок переключающихся линз для обеспечения большего увеличения (с одновременным уменьшением угла зрения); инфракрасный объектив, представляющий собой набор линз, выполненных из материала с большим коэффициентом пропускания инфракрасного излучения в области 8-14 мкм: германия, кремния или оптической керамики; сканирующее устройство, реализующее вертикальное сканирование и сканирование горизонтальное; фотоприемник, выполненный из тройного соединения Hg-Cd-Те, представляющий собой Спрайт-детектор, размещенный в дьюаре с системой охлаждения, основанной на эффекте Джоуля-Томпсона или цикле Стирлинга; предусилители и усилители; блок обработки сигналов изображения; ЭВМ для приема, обработки и визуализации сигнала. Недостатком данного комплекса является лишь возможность визуализации обработанного изображения на дисплее компьютера. Детальный анализ пятна (определение его точного местоположения, измерение толщины пленки нефтепродуктов и установление ее фракционного состава) не осуществляется. Наиболее близким устройством, которое можно принять за прототип, является «Комплекс инфракрасной дистанционной диагностики загрязнения вод нефтепродуктами» (см. патент на полезную модель RU 54 189 U1, опубликовано: 10.06.2006 Бюл. № 16), содержащий комплект входной оптики переменного увеличения, включающий афокальный объектив, за которым установлен блок переключающихся линз для обеспечения большего увеличения (с одновременным уменьшением угла зрения); инфракрасный объектив, представляющий собой набор линз, выполненных из материала с большим коэффициентом пропускания инфракрасного излучения в области 8-14 мкм: германия, кремния или оптической керамики; сканирующее устройство, реализующее вертикальное сканирование и сканирование горизонтальное; фотоприемное устройство, выполненное из тройного соединения Hg-Cd-Te, размещенное в дьюаре с системой охлаждения, основанной на эффекте Джоуля-Томпсона или цикле Стирлинга; предусилители и усилители; блок обработки сигналов изображения; ЭВМ, отличающийся тем, что перед фотоприемным устройством установлена система зеркал, состоящая из полупрозрачного зеркала и зеркала, для разделения пучка инфракрасного излучения на две части, два интерференционных фильтра различной пропускающей способности, а фотоприемное устройство представляет собой двухканальный фотоприемный блок, выполненный в виде двух Спрайт-детекторов, размещенных в одном дьюаре, а также тем, что к ЭВМ подключен GPS или ГЛОНАСС приемник для определения точного положения пятна нефтепродуктов на поверхности акватории. Недостатком данного комплекса является необходимость использования дополнительных устройств, например, охлаждаемого фотоприемного блока с системой охлаждения, основанной на эффекте Джоуля-Томпсона либо цикле Стирлинга, сосудов Дьюара, прочих устройств, отводящих тепло от рабочего тела матрицы, что увеличивает массу комплекса (так, масса устройств на основе Спрайт-детекторов может достигать 8,5-15 кг, см. Орлов В.А., Петров В.И., Приборы наблюдения ночью и при ограниченной видимости. - М.: Воениздат, 1989, с.157), увеличивает его стоимость,снижает полезную нагрузку носителя, в том числе, массу используемого топлива, что существенно снижает дальность полета соответствующего носителя, повышает энергоемкость, делает невозможным применение легких и дешевых беспилотных летательных аппаратов, кроме того, охлаждающий механизм матрицы состоит из движущихся частей и, вследствие этого, охлаждаемые детекторы требует периодического технического обслуживания – каждые 8-10 тысяч часов эксплуатации. Технической задачей, на решение которой направлено предлагаемое изобретение, является дистанционное обнаружение загрязнения поверхности воды нефтепродуктами с возможностью выполнения оперативного и детального анализа пятна нефтепродуктов с использованием аппаратуры, не требующей охлаждения инфракрасной фотоприемной матрицы, что позволяет за счет снижения массы оборудования и его энергоемкости использовать легкие беспилотные летательные аппараты, а также увеличить дальность и продолжительность полета носителя. Технический результат достигается тем, что комплекс инфракрасной дистанционной диагностики загрязнения вод нефтепродуктами, содержащий комплект входной оптики переменного увеличения, включающий афокальный объектив, за которым установлен блок переключающихся линз для обеспечения большего увеличения (с одновременным уменьшением угла зрения); инфракрасный объектив, представляющий собой набор линз, выполненных из материала с большим коэффициентом пропускания инфракрасного излучения в области 8-14 мкм: германия, кремния или оптической керамики; сканирующее устройство, реализующее вертикальное сканирование и сканирование горизонтальное; систему зеркал, состоящую из полупрозрачного зеркала и зеркала, для разделения пучка инфракрасного излучения на две части; двух интерференционных фильтров различной пропускающей способности; фотоприемные устройства; предусилители и усилители; блок обработки сигналов изображения; ЭВМ, либо систему передачи информации на наземный пункт управления; GPS или ГЛОНАСС приемник, отличающийся тем, что в качестве фотоприемных устройств введен двухканальный фотоприемный блок, представляющий собой два неохлаждаемых микроболометрических матричных детектора на оксиде ванадия VOx. Структура комплекса представлена на фигуре 1. Комплекс дистанционной диагностики загрязнения вод нефтепродуктами содержит комплект входной оптики переменного увеличения 1, инфракрасный объектив 2, сканирующее устройство, реализующее вертикальное сканирование 3 и горизонтальное сканирование 4, полупрозрачное зеркало 5, интерференционный фильтр с пропускающей способностью 9.3 мкм 6, зеркало 7, интерференционный фильтр с пропускающей способностью 10.6 мкм 8, двухканальный фотоприемный блок 9, предусилитель 10, усилитель 11, блок обработки сигналов 12, ЭВМ 13 либо система передачи информации на наземный пункт управления 14, пересылающая данные с блока обработки сигналов на наземный пункт управления 15, GPS или ГЛОНАСС приемник 16, 17 - тепловое излучение, 18 – наблюдаемая поверхность акватории. Разделение пучка инфракрасного излучения осуществляется с помощью полупрозрачного зеркала; в результате разделения одна часть излучения проходит сквозь него, а другая - отражается от его поверхности. Зеркало, установленное на пути отраженного пучка, направляет его параллельно пучку, прошедшему через полупрозрачное зеркало. Интерференционные фильтры предназначены для пропускания излучения со строго определенной длиной волны. Анализ и сравнение изображений, полученных на данных длинах волн, друг с другом, а также с зарегистрированным изображением теплового излучения незагрязненной поверхности воды позволяет определить толщину и фракционный состав пленки нефтепродуктов с высокой точностью. Обрабатывая оптический сигнал на каждой из рабочих длин волн – 9,3 и 10,6 мкм, которые соответствуют окну прозрачности атмосферы для дальней инфракрасной области 7,5-14 мкм (см. Орлов В.А., Петров В.И., Приборы наблюдения ночью и при ограниченной видимости. - М.: Воениздат, 1989, с.23), и максимальной излучательной способности наблюдаемых объектов в температурном диапазоне от -50 до +500 °С (см. Кульчицкий Н.А., Наумов А.В., Старцев В.В., Неохлаждаемые микроболометры инфракрасного диапазона – современное состояние и тенденции развития, Нано- и микросистемная техника, Том 20, №10, 2018, с.613), получают два ряда возможных значений толщины пленки нефтепродуктов. Из этих рядов выбирают два значения с минимальным отклонением друг от друга. По определенному алгоритму в зависимости от технических характеристик применяемой аппаратуры, находят близкую к ним величину, которая является истинным значением толщины исследуемой пленки. Для преобразования пучков инфракрасного излучения в электрические сигналы в состав комплекса включен двухканальный фотоприемный блок. При построении комплекса предлагается использование детекторов теплового излучения, выполненных на основе неохлаждаемых микроболометров на оксиде ванадия VOx, преимущество которых перед традиционными фотоприемниками заключаются в том, что стоимость таких матриц при промышленном производстве на два порядка меньше, чем стоимость традиционных матриц на основе HgCdTe, InSb, и т.д., при этом типичные значения NETD (температурная чувствительность, равная минимальной эквивалентной шуму разности температур – Noise Equivalent Temperature Difference) для болометрических матриц составляют 50…100 мК, что несущественно отличается от данной характеристики для матриц на основе, например, Hg-Cd-Te, для которых типичны значения порядка 10 мК (см. Кульчицкий Н.А., Наумов А.В., Старцев В.В., Неохлаждаемые микроболометры инфракрасного диапазона – современное состояние и тенденции развития, Нано- и микросистемная техника, Том 20, №10, 2018, с.615), не требуют охлаждения для своего функционирования и позволяют отказаться от использования дорогих и сложных микрокриогенных систем и специальных криостатов, применяемых для поддержания низкой рабочей температуры современных охлаждаемых фотонных приемников ИК-излучения на HgCdTe, InSb или многослойных гетероструктур с квантовыми ямами (см. Ovsyuk, V. N. Uncooled microbolometer IR FPA on sol-gel VO / V. N. Ovsyuk, V. V. Shashkin, M. A. Demyanenko [et al.] // Proceedings of SPIE. – 2005. – Vol. 5834. – P. 47-54). Данный комплекс построен на основе тепловизионных приборов, использующих в качестве фотоприемников неохлаждаемые микроболометрические матричные детекторы. Микроболометры представляют собой болометры в миниатюрном исполнении, обычно с использованием технологии микроэлектромеханических систем. Каждый микроболометр матричного приемника излучения представляет собой тонкий слой диоксида ванадия, осажденный на тонкую пластинку нитрида кремния площадью около 40 х 40 мкм, «подвешенную» на проводящих ножках над кремниевым кристаллом (мультиплексором), предназначенным для считывания оптической информации с чувствительных элементов. При фокусировке теплового изображения на плоскость матрицы сопротивление микроболометров уменьшается и на каждом из них возникает электрический сигнал, пропорциональный энергетической яркости излучения в данной точке, который может быть представлен в виде изображения на экране монитора либо направлен для дальнейшей обработки и анализа. Разрешающая способность по температуре при этом достигает 0,07 К (М. А. Демьяненко, Д. Г. Есаев, И. В. Марчишин, Б. И. Фомин, В. Н. Овсюк, Неохлаждаемые микроболометры инфракрасного диапазона, научно-технический журнал Вестник, № 2, 2016, с. 133 [режим доступа https://cyberleninka.ru/article/n/neohlazhdaemye-matrichnye-mikrobolometricheskie-priemniki-infrakrasnogo-diapazona]), что вполне достаточно для решения задач рассматриваемого комплекса обнаружения и диагностики загрязнения поверхности воды нефтепродуктами, так как температурный контраст между поверхностями чистой и загрязненной воды в солнечный день составляет 1-2 К, ночью - 0.5-1 К. При построении тепловизионной аппаратуры комплекса в качестве основы избран параллельно-последовательный способ сканирования, обеспечивающий существенное улучшение соотношения сигнал-шум, а также развертку изображения в поле зрения прибора в одну плоскость, причем пропуски в воспроизведении тепловой картины при ее развертке сканером отсутствуют. Оперативный анализ пятна нефтепродуктов осуществляется в процессе обработки преобразованного в цифровую форму сигнала на ЭВМ, входящей в состав комплекса. Кроме того, ЭВМ позволяет произвести визуализацию изображения в реальном времени. Также за счет использования вычислительных систем возможно повысить уровень автоматизации процесса диагностики. GPS или ГЛОНАСС приемник, входящий в состав комплекса в качестве основного прибора определения местоположения летательного аппарата, на который устанавливается комплекс инфракрасной дистанционной диагностики, и управления вождением носителя, позволяет определить точное местоположение обнаруженного пятна нефтепродуктов. Кроме того, результатом использования GPS или ГЛОНАСС приемника является улучшение фактических линий полета, сокращение затрат летного времени при заходах на съемочные маршруты, уменьшение объемов обработки на этапе коррекции геометрических искажений отснятого материала. Работает комплекс дистанционной диагностики загрязнения вод нефтепродуктами следующим образом. Инфракрасное излучение 17 от наблюдаемой поверхности акватории 18 поступает в комплект входной оптики переменного увеличения 1, представляющий собой афокальный объектив, за которым установлен блок переключающихся линз для обеспечения большего увеличения (с одновременным уменьшением угла зрения). Затем поток излучения попадает в инфракрасный объектив 2, представляющий собой набор линз, выполненных из материала с большим коэффициентом пропускания инфракрасного излучения в области 8-14 мкм: германия, кремния или оптической керамики. Основные параметры инфракрасного объектива (фокусное расстояние и относительное отверстие) определяются исходя из расстояния от комплекса диагностики до поверхности исследуемой акватории и требуемого угла обзора. Следующий элемент комплекса – сканирующее устройство, которое, в данном случае, состоит из колеблющегося зеркала, реализующего вертикальное сканирование 3, и зубчатого ротора, обеспечивающего сканирование горизонтальное 4. Далее поток инфракрасного излучения падает на полупрозрачное зеркало 5, с помощью которого происходит разделение его на две части. Одна часть излучения, проходящая сквозь полупрозрачное зеркало, попадает на интерференционный фильтр 6, который пропускает излучение только с длиной волны 9,3 мкм. Часть излучения, отраженная полупрозрачным зеркалом, вторично отражается зеркалом 7 и попадает на интерференционный фильтр 8, пропускающий излучение только с длиной волны 10,6 мкм. Последним этапом на пути инфракрасного излучения является двухканальный фотоприемный блок 9, представляющий собой два неохлаждаемых микроболометрических матричных детектора на оксиде ванадия VOx. Двухканальный фотоприемный блок осуществляет перевод инфракрасного излучения в электрические сигналы. Электрические сигналы от двухканального фотоприемного блока поступают на предусилитель 10 и усилитель 11, а затем на блок обработки сигналов изображения 12, работающий синхронно со сканирующим устройством. Этот блок преобразует электрический сигнал в цифровую форму. Далее обработанный сигнал в цифровой форме поступает на вход ЭВМ 13 либо посредством системы передачи информации 14 направляет ее через радиоканал связи на наземный пункт управления 15. С помощью ЭВМ (на носителе – вертолете или самолете, либо в составе оборудования наземного комплекта управления беспилотным летательным аппаратом) возможно осуществлять контроль и управлять работой основных элементов комплекса (комплекта входной оптики переменного увеличения, сканирующего устройства, системы охлаждения, блока обработки сигнала), а также определить контуры загрязнения, толщину и состав пленки, время, прошедшее с начала разлива нефтепродуктов и пр. К ЭВМ подключен GPS или ГЛОНАСС приемник 16, который позволяет определить точное положение пятна нефтепродуктов на поверхности акватории. Оригинальность предлагаемого технического решения по снижению массы, энергоемкости и стоимости оборудования для определения источника выбросов нефтепродуктов и анализа пятна нефтепродуктов на поверхности акватории с целью рационального планирования и разработки природоохранных водоочистных мероприятий и рациональному водопользованию достигается путем использования двухканального фотоприемного блока, представляющего собой два неохлаждаемых микроболометрических матричных детектора на оксиде ванадия VOx. Это дает возможность увеличить дальность и время полета носителя, а также применять в качестве носителя легкие беспилотные летательные аппараты, что позволит в режиме реального времени эффективно производить дистанционный мониторинг контролируемых вод; создавать на их основе перспективные системы обнаружения очагов загрязнения и очистки природных и сточных вод от нефтепродуктов; повысить оперативность и качество принимаемых решений при проведении природоохранных мероприятий.