Изобретение относится к СВЧ-технике, в частности к СВЧ-вентилям. СВЧ-вентиль содержит в двух плечах микрополосковые СВЧ-выводы, а в третьем плече радиопоглощающую нагрузку. Каждое плечо содержит волновод, интегрированный в ферритовую подложку с верхней и нижней металлизацией, образованный двумя рядами металлизированных отверстий; при этом третье плечо содержит закороченный участок по широкой стенке волновода, интегрированного в подложку, в котором расположена радиопоглощающая нагрузка в виде многоугольной вставки клиновидной формы. Вставка выполнена объемной, с длиной не менее 1.1
, где
- длина волны в интегрированном в подложку волноводе, радиопоглощающая вставка расположена между верхним и нижним слоями металлизации, образующими топологию вентиля; при этом магнитная система вентиля расположена на верхнем слое металлизации ферритовой подложки между двумя плечами с микрополосковыми СВЧ-выводами. Технический результат – расширение рабочей полосы частот устройства, улучшение развязки между СВЧ-выводами вентиля, уменьшение массогабаритных характеристик. 2 ил.
СВЧ-вентиль, содержащий в двух плечах микрополосковые СВЧ-выводы, а в третьем плече радиопоглощающую нагрузку, каждое плечо содержит волновод, интегрированный в ферритовую подложку с верхней и нижней металлизацией, образованный двумя рядами металлизированных отверстий; при этом третье плечо содержит закороченный участок по широкой стенке волновода, интегрированного в подложку, в котором расположена радиопоглощающая нагрузка в виде многоугольной вставки клиновидной формы, отличающийся тем, что вставка выполнена объемной, с длиной не менее 1.1
, где
- длина волны в интегрированном в подложку волноводе, радиопоглощающая вставка расположена между верхним и нижним слоями металлизации, образующими топологию вентиля; при этом магнитная система вентиля расположена на верхнем слое металлизации ферритовой подложки между двумя плечами с микрополосковыми СВЧ-выводами.
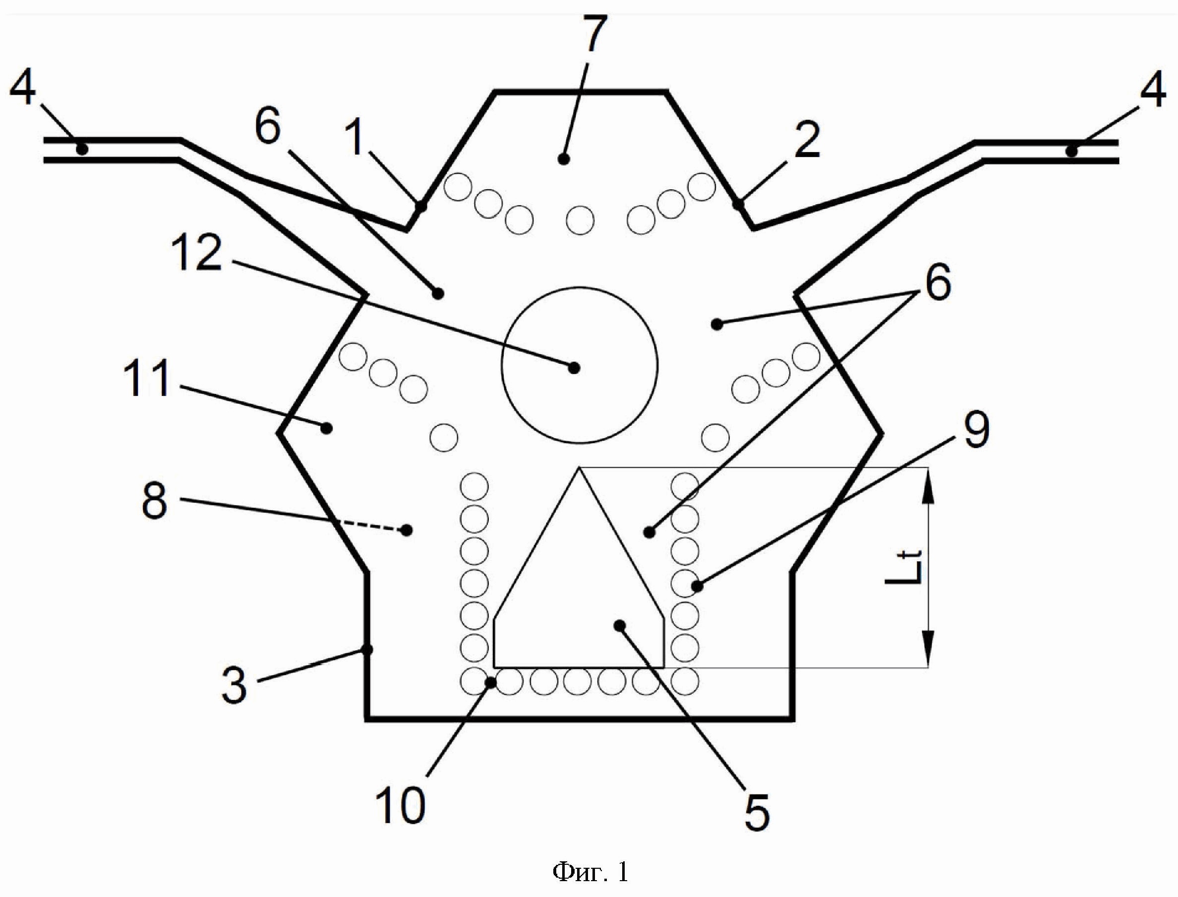
Изобретение относится к технике СВЧ и может быть использовано в СВЧ-трактах передатчиков, приемников, в составе антенн и антенных решеток, а также малогабаритных РЛС, выполненных на одной печатной плате для направленной передачи электромагнитных волн. Известны технические решения, относящиеся к развязывающим приборам на основе интегрированных в подложку волноводов (далее - ИПВ). Например, циркулятор на основе ИПВ, включающий в себя отрезок ИПВ, в центре которого расположена ферритовая вставка и имеющий 3 микрополосковых вывода, организованных через СВЧ-переход «ИПВ- копланарная линия». [Patent CN 104505567A. Substrate integrated waveguide circulator / Chen Liang, Zhu Shuai, Xie Haiyan, Wang Xiaoguang, Deng Longjiang, МПК: H01P1/387, H01P11/00]. Описанная конструкция Y-циркуляторов на основе ИПВ имеет ширину рабочей полосы 20% по уровню -15 дБ, имеет некоторые недостатки, в частности проблемы с нагрузкой и согласованием 3го вывода при оценке коэффициента прохождения и развязки между 2-мя другими плечами. Известен ферритовый вентиль, имеющий 3 плеча, 2 из которых это микрополосковые СВЧ-выводы, а 3-е плечо представляет собой микрополосковый вывод с танталовой радиопоглощающей нагрузкой [см. Ферритовый вентиль на основе интегрированного в подложку волновода для устройств, работающих в Ка-диапазоне частот //В. В. Демшевский, А. Н. Пашков, А. С. Семенов, А. А. Алексеев, А. Г. Налогин, Л. А. Троицкая, Д. А. Воробьев, Е. С. Пирожкова, А. В. Цыберт// Электронная техника, сер. 1, СВЧ-техника, вып. 2(549), 2021. Стр. 38-45]. Недостатком этого технического решения является наличие паразитных дополнительных отражений от СВЧ-перехода «ИПВ-микрополосок», которые в конечном счете негативно влияют на развязку между двумя плечами вентиля с микрополосковыми СВЧ- выводами. Наиболее близким к заявляемому изобретению (прототипом) является ферритовый вентиль на основе интегрированного в подложку волновода [см. «Ka-band Substrate Integrated Waveguide Isolator with Novel Matched Load»// V. V. Demshevsky, M. M. Migalin, S. S. Sidorenko, I.A. Bogachev, I. A. Sikorskaya and G. G. Shchuchkin. - Conference of Russian Young Researchers in Electrial and Electronic Engineering (ElConRus), Saint Peterburg, Russian Federation, 2022. - pp 1054-1057]. Предлагаемое техническое решение направленно на устранение недостатков аналогов и прототипа. Технический результат - расширение рабочей полосы частот устройства, улучшение развязки между СВЧ-выводами вентиля, уменьшение массогабаритных характеристик. Технический результат достигается тем, что в СВЧ-вентиле, содержащем в двух плечах микрополосковые СВЧ-выводы, а в третьем плече радиопоглощающую нагрузку, каждое плечо содержит волновод, интегрированный в ферритовую подложку с верхней и нижней металлизацией, образованный двумя рядами металлизированных отверстий; при этом, третье плечо содержит закороченный участок широкой стенки волновода, интегрированного в подложку, в котором расположена радиопоглощающая нагрузка в виде многоугольной вставки клиновидной формы; вставка выполнена объемной, с длиной не менее 1.1 Сущность технического решения заключается в следующем. Волноводы, интегрированные в подложку, представляют собой подложку с металлизированными отверстиями, верхней и нижней металлизацией, ограничивающими распространение электромагнитной волны. Такие волноводы имеют ряд преимуществ в сравнении с классическими волноводами: ширину в V раз меньше, толщину равную толщине подложки, малый вес. Поэтому использование интегрированных в подложку волноводов при разработке СВЧ-вентилей позволяет существенно уменьшить массогабаритные параметры устройства. Закороченный участок широкой стенки волновода, интегрированного в подложку, за счет наличия клиновидной радиопоглощающей вставки исключает распространение электромагнитной волны через третье плечо. К тому же, если длины вставки недостаточно для полного затухания электромагнитной волны из-за особенностей материала радиопоглощающей вставки, то, выходя перед закороченным участком, ослабленная волна отражается от него и идет в обратном направлении, проходя через вставку второй раз, полностью поглощается вставкой. Длина вставки не меньше 1.1 За счет наличия клиновидной вставки из радиопоглощающей керамики с требуемыми характеристиками электромагнитная волна плавно затухает на всей длине вставки, что существенно влияет на уменьшение коэффициента отражения. Это в свою очередь позволяет расширить рабочую полосу частот устройства. Объемная клиновидная многоугольная вставка позволяет получить максимальный объем радиопоглощающего материала. Всё это позволяет максимально снизить СВЧ-потери в тракте и улучшить развязку между СВЧ-выводами. Размещение магнитной системы на верхнем слое металлизации ферритовой подложки между двумя плечами с микрополосковыми СВЧ-выводами позволяет определить положение развязывающей области, в которой ферритовая подложка начинает работать как ферритовый элемент, встроенный в диэлектрическую подложку. Изобретение поясняется чертежами. На фиг. 1 представлен внешний вид вентиля на основе интегрированного в подложку волновода, где: - первое плечо вентиля - второе плечо вентиля - третье плечо вентиля - микрополосковый СВЧ-вывод - радиопоглощающая нагрузка в виде объемной клиновидной вставки - волновод, интегрированный в ферритовую подложку - верхняя металлизация - нижняя металлизация - металлизированные отверстия - закороченный участок широкой стенки волновода - ферритовая подложка - магнитная система вентиля. На фиг.2 - графическое представление S-параметров предлагаемого устройства. Устройство работает следующим образом. Вентиль представляет собой 3 идентичных отрезка волновода (6), интегрированного в подложку, каждый из которых образован 2-мя рядами металлизированных отверстий (9), расположенных в ферритовой подложке и разнесенных друг от друга на некоторое расстояние (ширина интегрированного в подложку волновода). На выходе первого и второго плеча вентиля (1, 2) выполнены микрополосковые СВЧ-выводы (4), а третье плечо (3) содержит клиновидную радиопоглощающую вставку (5) и закороченный участок широкой стенки волновода (10). Отрезки волновода соединены между собой под углом 120 градусов, через общие отверстия металлизированные отверстия (9), тем самым образуя Y-образный бинарный делитель мощности. Верхний слой металлизации (7) образует топологию вентиля, а нижний слой металлизации (8) повторяет контур вентиля и выполняет роль земли. Входная электромагнитная волна поступает в волновод (6) первого плеча вентиля (1), проходит до области магнитной системы (12), расположенной на верхнем слое металлизации (8), электромагнитная волна разворачивается для излучения в волновод (6) второго плеча вентиля (2). Часть электромагнитной волны, попадая в волновод (6) третьего плеча вентиля (3), поглощается клиновидной радиопоглощающей вставкой (5). Если полного затухания электромагнитной волны в радиопоглощающей вставке (5) не произошло, то, выходя перед закороченным участком широкой стенки волновода (10), ослабленная волна отражается от него и идет в обратном направлении. Проходя через вставку второй раз, полностью поглощается вставкой (5). Пример исполнения. Устройство выполнено из феррита со структурой типа шпинель (никель-цинковая шпинель (НЦВ), разработан в АО «НПП «Исток» им. Шокина») с относительной диэлектрической проницаемостью s=13, насыщения 4 Ферритовая подложка 6мм х 10мм, размер интегрированного в подложку волновода 1.7 мм х 2.0 мм, длина закороченного участка широкой стенки волновода 1.6 мм. Диаметр магнитной системы 1.6 мм. Радиопоглощающая вставка в форме клиновидного многоугольника длиной 2 мм выполнена из материала марки РМ-24, резистивное сопротивление радиопоглощающей вставки 40 Ом. Полученные характеристики разработанного вентиля приведены на фиг.2. Коэффициент передачи S21 не менее -1дБ, развязка между выходами S12 не менее -20дБ и коэффициенты отражения S11 и S22 на входах вентиля не более -10дБ. ширина рабочего диапазона частот вентиля равна 21%. Результаты измерений при испытании устройства показывают, что удалось расширить рабочую полосу частот вентиля с 14% до 21%. Это подтверждает достижение заявленного технического результата.
, где
- длина волны в интегрированном в подложку волноводе, радиопоглощающая вставка расположена между верхним и нижним слоями металлизации, образующими топологию вентиля; при этом магнитная система вентиля расположена на верхнем слое металлизации ферритовой подложки между двумя плечами с микрополосковыми СВЧ-выводами.
, т.к. необходимо обеспечить полное затухание электромагнитной волны длиной
.
Ms =350 кА/м.