патент
№ RU 2808894
МПК F17C9/02

Устройство управляемой подачи хладагента

Авторы:
Платонов Анатолий Петрович Галюк Олег Степанович Сметанина Людмила Викторовна
Все (4)
Номер заявки
2023117855
Дата подачи заявки
05.07.2023
Опубликовано
05.12.2023
Страна
RU
Как управлять
интеллектуальной собственностью
Чертежи 
2
Реферат

[11]

Изобретение относится к области криогенной техники, в частности к устройствам для поддержания температурного режима охлаждаемых объектов. Новым в устройстве являются снабжение питающей трубки, коаксиально расположенной и открытой в газовое пространство заполненного сосуда Дьюара, трубкой-коллектором со штуцерами для подключения электромагнитных клапанов управления потоками хладагента, подвижной муфтой-регулятором пропускной способности открытого в газовое пространство сосуда Дьюара отверстия в питающей трубке и соединенным с ней штуцером с подключаемым к нему теплоизолированным транспортным рукавом для передачи хладагента в охлаждаемый объект, а также выполнение нагревателя, расположенного на ее конце, погружаемом в сосуд Дьюара, в форме диска и установка датчика минимально допустимого уровня жидкого хладагента в непосредственной близости от нагревателя. Все основные элементы устройства, кроме транспортного рукава и элементов, погружаемых в сосуд Дьюара, размещены в компактном корпусе. Технический результат изобретения - расширение функциональных возможностей устройства при одновременном повышении надежности и безопасности работы, сокращении времени герметичной установки устройства на сосуд Дьюара, упрощении подключения к охлаждаемому объекту. 2 ил.

Формула изобретения

Устройство управляемой подачи хладагента, содержащее питающую трубку, один конец которой снабжен нагревателем-испарителем и датчиком минимально допустимого уровня жидкого хладагента в сосуде с хладагентом, на горловине которого оно установлено и герметично с ним соединено, а другой присоединен к охлаждаемому объекту, причем трубка в месте, расположенном над поверхностью жидкого хладагента, имеет отверстие, снабжено нормально открытым и нормально закрытым электромагнитными клапанами, теплоизолированным транспортным рукавом, над отверстием в питающей трубке и коаксиально ей расположена газовая трубка-коллектор со штуцерами для присоединения электромагнитных клапанов, а над газовой трубкой-коллектором - штуцер для подключения транспортного рукава, при этом через верхний обрез питающей трубки герметично выведены питающие провода нагревателя-испарителя и датчика уровня, отверстие в ней закрыто подвижной муфтой, а выход нормально закрытого электромагнитного клапана связан со штуцером подключения транспортного рукава, трубка-коллектор в верхней части герметично связана с питающей трубкой, нагреватель выполнен в форме диска, датчик уровня расположен вблизи нагревателя и на одном уровне с ним, а транспортный рукав выполнен легкосменным со смещающимся по осям координат конечным участком и переходником для ввода хладагента под углом к продольной оси входного устройства охлаждаемого объекта, при этом остальные элементы устройства размещены в заполненном теплоизоляционным материалом едином корпусе, через днище которого, снабженное центрирующим выступом и быстродействующими замками для уплотнения стыковки устройства с используемым сосудом с хладагентом, проходит питающая трубка с уплотнением по поверхности трубки-коллектора.

Описание

[1]

Изобретение относится к области криогенной техники, в частности, к устройствам для контролируемой подачи сжиженного газа и его паров из сосуда для хранения в термостатируемые объекты или иные, например, камеры замораживания либо другие сосуды для содержания жидкого хладагента.

[2]

Известно устройство [www.chem.21/info>info/1267301/Справочник химика 21, Термостатирование при низких температурах, с. 286] для пропускания через термостатируемый кюветодержатель спектрофотометра паров жидкого азота, поступающих из металлического сосуда Дьюара с размещенным в нем нагревателем-испарителем через теплоизолированный трубопровод по сигналу термопары, установленной в кюветном отсеке и управляющей включением -отключением испарителя, поддерживая требуемую температуру. Это устройство предполагает использование в качестве хладагента исключительно паров жидкого азота, в нем отсутствует контроль минимально допустимого уровня жидкого азота в сосуде Дьюара и возможность автоматического сброса давления паров при запредельном его повышении вследствие, например, замыкания в электрической цепи испарителя, что: а) сужает область применения устройства, б) снижает надежность из-за опасности выхода из строя испарителя, не погруженного в жидкий азот, когда уровень его ниже минимально допустимого, в) нарушает безопасность работы с устройством. Известно устройство [Патент. RU №2359167 С2, F17C 9/02, 2009, БИ №17] для перелива жидкого азота из сосуда Дьюара, содержащее заправочную трубку, один конец которой, снабженный испарителем, погружен в сосуд Дьюара, а другой выведен из сосуда через уплотнение в пробке, герметизирующей горловину сосуда Дьюара, и опущен в заправляемую емкость. Недостатками этого устройства является невозможность расширить область его применения, например, на охлаждение объектов образующимся при испарении жидкого азота газом и контролировать процесс переливания. Известно также устройство [Патент. RU №2604045 С1, F17C 9/02, F25D 3/10, 2016], в котором установлен датчик для контроля минимального допустимого уровня жидкого хладагента в сосуде Дьюара с расположением на погруженном в жидкий хладагент конце питающей трубки, герметизация соединения устройства для подачи хладагента с сосудом Дьюара выполнена при помощи фланца, на котором оно смонтировано, и кольцеобразной герметизирующей прокладки между торцом горловины сосуда Дьюара и посадочным местом во фланце, а также винтового соединения этого фланца с ручками сосуда Дьюара. Однако: а) расположение датчика уровня жидкого хладагента на расстоянии 30-50 мм выше нагревателя увеличивает на эту величину высоту слоя остающегося в сосуде Дьюара жидкого хладагента, уменьшая, следовательно, полезный (использованный) объем хладагента и допустимое время охлаждения или термостатирования; б) расположение всех элементов устройства подачи хладагента на открытом фланце создает неудобства в работе (обмерзание охлаждаемых деталей с последующим оттаиванием и каплепадением, возможность повреждения электровводов), а винтовое соединение этого фланца с ручками сосуда Дьюара делает невозможной быструю, при необходимости, перестановку устройства подачи с опорожнившегося сосуда Дьюара на полный.

[3]

В качестве прототипа выбрано устройство [Патент.SU №350216 А1, F25D 3/10, 1972, БИ №26 (прототип)] для подачи хладагента в камеру холода. Оно содержит питающую трубку, один конец которой снабжен нагревателем, размещенным в сосуде Дьюара, а другой соединен с камерой холода (охлаждаемым объектом), в месте выхода трубки из горловины сосуда Дьюара расположено уплотнительное устройство. Стенка трубки в месте, расположенном над поверхностью жидкого хладагента в сосуде Дьюара, имеет отверстие. Недостатками устройства являются: невозможность использования этого устройства для охлаждения объектов, требующих больших расходов жидкого хладагента, по причине маломощности нагревателя; ограниченность величины газового потока, поступающего в объект при термостатировании его газообразным хладагентом, по причине недостаточной пропускной способности предназначенного для этого отверстия в питающей трубке; возможность срыва температурного режима охлаждаемого объекта при опорожнении сосуда Дьюара и выхода из строя нагревателя из-за отсутствия датчика контроля минимально допустимого уровня жидкого хладагента в сосуде с соответствующей сигнализацией.

[4]

Задачей является расширение функциональных возможностей устройства за счет повышения эффективности управления потоками жидкого и газообразного хладагентов и расширения диапазона регулирования их расхода при одновременном повышении надежности и безопасности работы, сокращении времени герметичной установки-съема устройства на сосуд Дьюара, упрощения подключения к охлаждаемому объекту.

[5]

Задача решается предлагаемым устройством для подачи хладагента в камеру холода, содержащем питающую трубку, один конец которой снабжен нагревателем-испарителем, размещенным в сосуде Дьюара, а другой соединен с камерой холода (охлаждаемым объектом), в месте выхода трубки из горловины сосуда Дьюара расположено уплотнительное устройство, а стенка трубки в месте, расположенном над поверхностью жидкого хладагента в сосуде Дьюара, имеет отверстие, дополнительно снабженным нормально открытым и нормально закрытым электромагнитными клапанами, теплоизолированным транспортным рукавом, над отверстием в питающей трубке коаксиально расположена герметично соединенная с ней по верхнему краю газовая трубка-коллектор со штуцерами для присоединения электромагнитных клапанов, над газовой трубкой-коллектором расположен выходной штуцер для подключения транспортного рукава, причем отверстие в питающей трубке закрыто подвижной муфтой, выход нормально закрытого электромагнитного клапана связан со штуцером для подключения транспортного рукава, нагреватель выполнен в форме диска, закрытого кожухом с расположенным внутри него в непосредственной близости от нагревателя датчиком минимально допустимого уровня жидкого хладагента, выводы датчика уровня и нагревателя герметично пропущены через верхний обрез питающей трубки, при этом транспортный рукав выполнен легкосменным со смещающимся по осям координат конечным участком, а все остальные конструктивные элементы устройства размещены в заполненном теплоизолированным материалом едином корпусе, через днище которого с центрирующим выступом проходит питающая трубка, герметизируемая по поверхности трубки-коллектора, снабженном быстродействующими замками для уплотнения стыковки устройства с используемым сосудом для хладагента.

[6]

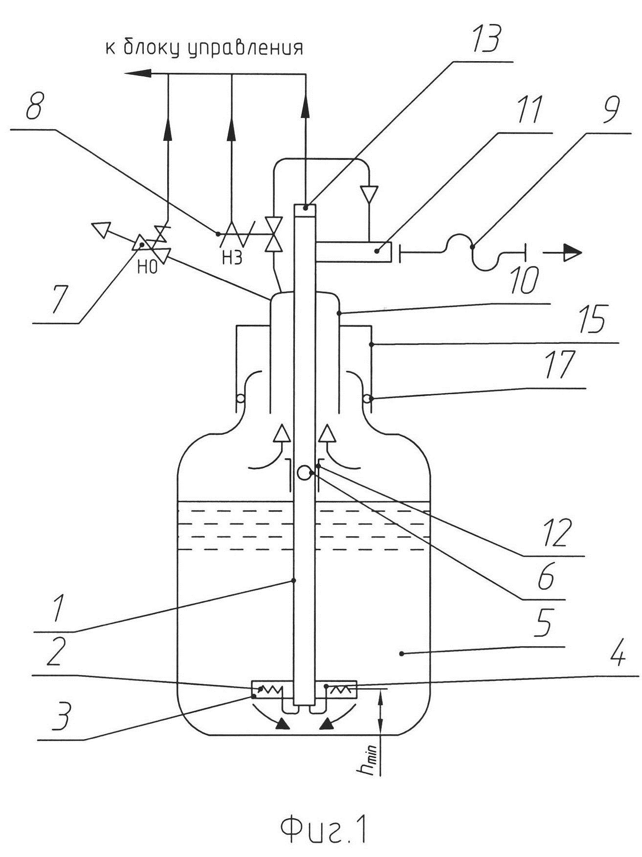
Сущность изобретения поясняется чертежом, где на фиг. 1 показана схема устройства, на фиг. 2 устройство в разрезе.

[7]

Устройство управляемой подачи хладагента содержит питающую трубку 1, нижний конец которой снабжен нагревателем 2 с защитным кожухом 3, внутри которого рядом с нагревателем и на одном уровне с ним установлен датчик 4 минимально допустимого уровня жидкого хладагента в сосуде 5 Дьюара, в который они погружены. Нагреватель 2 имеет форму диска, расположенного коаксиально питающей трубке 1, что позволяет уменьшить высоту слоя жидкого хладагента, минимально необходимого для погружения в него нагревателя, и таким образом определить величину минимально допустимого уровня жидкого хладагента в сосуде Дьюара. В питающей трубке 1 в месте, располагающемся над поверхностью жидкого хладагента, выполнено отверстие 6, диаметр d которого равен внутреннему диаметру транспортного рукава 9, подключаемого к охлаждаемому объекту. Нормально открытый 7 и нормально закрытый 8 электромагнитные клапаны подключены к штуцерам трубки-коллектора 10, расположенной коаксиально питающей трубке 1 над отверстием 6, герметично соединенной с ней в верхней ее части и открытой снизу для связи с газовым пространством над поверхностью жидкого хладагента. Выход нормально закрытого электромагнитного клапана 8, выполняющего также функцию предохранительного, связан со штуцером 11 подключения теплоизолированного транспортного рукава 9, соединяемого с охлаждаемым объектом. Отверстие 6 в питающей трубке 1 перекрыто подвижной муфтой 12 для регулирования пропускной способности отверстия. Через верхний обрез 13 питающей трубки 1 герметично пропущены выводы нагревателя 2 и датчика уровня 4. Транспортный рукав 9 выполнен легкосменным со смещающимся по осям координат конечным участком для облегчения подключения его к охлаждаемому объекту. Длина рукава 9 зависит от размеров используемых сосуда Дьюара и охлаждаемого объекта. При необходимости, например, в условиях ограниченного пространства, к транспортному рукаву 9 может быть присоединен переходник для ввода хладагента под углом к продольной оси входного штуцера охлаждаемого объекта. Основные элементы заявляемого устройства расположены в заполненном теплоизоляционным материалом 14 корпусе, через днище 15 которого проходит питающая трубка 1, герметизированная в нем по поверхности газовой трубки-коллектора 10. На днище 15 предусмотрены кольцевой выступ 16 для центрирования устройства по заправочной горловине сосуда Дьюара и удержания уплотнительного кольца 17 при установке-съеме устройства и быстродействующие замки 18 для пристегивания к ручкам сосуда Дьюара с одновременным сжатием уплотнительного кольца 17. Провода питания электромагнитных клапанов 7 и 8, нагревателя 2 и датчика 4 минимально допустимого уровня жидкого хладагента соединены с расположенным на поверхности корпуса электрическим разъемом 19, связанным с блоком управления (на чертеже не показан). Для обеспечения максимального использования хладагента, содержащегося в сосуде Дьюара, нижний обрез питающей трубки 1 должен располагаться на расстоянии 3-5 мм от днища этого сосуда.

[8]

Устройство работает следующим образом. После подключения к блоку управления (на чертеже не показан) через электрический разъем 19 устройство устанавливается на заполненный жидким хладагентом сосуд Дьюара и закрепляется на нем с помощью быстродействующих замков 18, обеспечивающих герметизацию соединения устройство - сосуд Дьюара деформированием уплотнительного кольца 17. При этом для подачи преимущественно газообразного хладагента муфта 12 должна быть передвинута в положение, обеспечивающее требуемую пропускную способность отверстия 6. Изначально нормально открытый клапан 7 открыт, нормально закрытый клапан 8 закрыт, пары хладагента через клапан 7 сбрасываются из сосуда Дьюара в атмосферу. Подключив транспортный рукав 9 к охлаждаемому объекту, включают блок управления и начинают процесс подачи хладагента, автоматически регулируя ее по датчику температуры, уровня жидкости или др. датчику изменением мощности нагревателя 2 либо времени его включения. При этом нормально открытый клапан 7 закрыт и периодически открывается лишь в моменты отключения нагревателя 2, нормально закрытый клапан 8 работает в режиме предохранительного, сбрасывая из сосуда Дьюара давление паров хладагента при несанкционированном его росте. Когда по мере выработки уровень жидкого хладагента в сосуде Дьюара понижается до минимально допустимого значения, датчик 4 выдает сигнал на отключение нагревателя и замену пустого сосуда Дьюара полным. Одновременно снимается напряжение с клапана 7, переводя его в открытое состояние, благодаря чему давление паров хладагента сбрасывается из сосуда в атмосферу, транспортный рукав 9 отключают от охлаждаемого объекта, после чего устройство готово к перестановке на заполненный сосуд Дьюара и к продолжению процесса управляемой подачи хладагента в охлаждаемый объект. Для подачи в объект жидкого хладагента подвижную муфту 12 переводят в положение, полностью перекрывающее отверстие 6 питающей трубки 1, устанавливают устройство на сосуд Дьюара 5, защелкивая на его ручках быстродействующие замки 18, после подключения транспортного рукава 9 к охлаждаемому объекту при нормально открытом положении клапана 7 и нормально закрытом положении - клапана 8 включают блок управления, начиная процесс выдачи хладагента автоматическим закрытием клапана 7 и подачей напряжения на нагреватель 2. После достижения заданных температуры или, например, уровня жидкого хладагента в охлаждаемом объекте по сигналу установленного в нем датчика происходит снятие напряжения с нагревателя 2, открытие клапана 8, вследствие чего пары хладагента сбрасываются из газового пространства сосуда Дьюара 5 в транспортный рукав 9 по линии, соединяющей его с выходом клапана 8. Если отклонение регулируемого показателя (температура и др.) в охлаждаемом объекте выходит за установленные пределы, происходит либо открытие клапана 7 и полное прекращение подачи газообразного хладагента благодаря его сбросу в атмосферу через этот клапан, либо, наоборот, при закрытом клапане 7 закрывается клапан 8, подается напряжение на нагреватель 2 и в охлаждаемый объект опять поступает жидкий хладагент. Процесс подачи хладагента продолжается до момента опорожнения сосуда Дьюара до заданного минимально допустимого уровня и, если необходимо, замены этого сосуда Дьюара полным.

[9]

Наличие быстродействующих электромагнитных клапанов и подвижной муфты-регулятора пропускной способности выходного отверстия в питающей трубке дает возможность управлять потоками хладагента, позволяя пользователю с помощью одного устройства вести охлаждение и/или термостатирование объектов либо газообразным, либо жидким хладагентом, изменяя в значительных пределах (до 10 л/час жидкого) скорость их подачи (расхода), что существенно расширяет функциональные возможности устройства. Выполнение нагревателя в форме диска с расположением датчика уровня жидкого хладагента на одном уровне с нагревателем, позволив уменьшить величину минимально допустимого уровня жидкого хладагента в сосуде Дьюара, увеличивает объем доступного к полезному использованию хладагента и фактическую продолжительность работы системы охлаждения - до замены опорожнившегося сосуда Дьюара полным. Установка датчика минимально допустимого уровня жидкого хладагента в непосредственной близости от нагревателя, подогревающего датчик с момента граничного понижения уровня хладагента, повышает скорость выработки сигнала на отключение нагревателя, необходимость замены сосуда Дьюара и, как следствие, повышает надежность и срок службы предлагаемого устройства. Выполнение нормально закрытым клапаном функции предохранительного защищает сосуд Дьюара в случае недопустимо высокого подъема давления в нем и обеспечивает безопасность работы. Размещение не погружаемых в сосуд Дьюара элементов устройства в едином корпусе и наличие легкосменного транспортного рукава, длина которого определяется расстоянием от центра горловины сосуда Дьюара до входного штуцера охлаждаемого объекта, превращает это устройство в компактный, удобный в обращении и обслуживании инструмент, без труда адаптируемый к стандартным сосудам Дьюара, например, серии СДП, а заполнение корпуса теплоизоляционным материалом и теплоизолирование транспортного рукава исключают обмерзание расположенных в них охлаждающихся частей устройства и неудобства, связанные с последующим их размораживанием. Возможность смещения конечного участка транспортного рукава по осям координат и наличие переходника для ввода хладагента под углом к оси входного штуцера охлаждаемого объекта упрощает соединение-отсоединение его с этим штуцером, облегчая обслуживание. Наличие быстродействующих замков для пристегивания устройства к сосуду Дьюара и кольцевого выступа корпуса для центрирования его по горловине этого сосуда минимизирует время установки устройства на сосуд, не допуская срыва или заметного нарушения температурного режима в охлаждаемом объекте в ходе замены опорожнившегося сосуда Дьюара полным.

[10]

Устройство может использоваться для термостатирования образцов, в том числе вращающихся, при спектроскопических исследованиях, в системе охлаждения ЯМР-спектрометров, в низкотемпературной микрокалориметрии, для переливания жидкого азота в лабораторных условиях, для питания камер холода и др. при установке, в частности, на сосуды Дьюара СДП 16/60, СДП 25/60 и др. с диаметром горловины 58 мм.

Как компенсировать расходы
на инновационную разработку
Похожие патенты