Изобретение относится к строительству, в частности к конструкциям винтовых опор и сооружению свайных фундаментов. Технический результат - повышение скорости завинчивания и несущей способности сваи. Винтовая свая включает тело сваи со сквозными пазами и расположенные на теле сваи спиральную часть, выполненную с шагом навивки спиральной части, равным 0,5D-3D, где D - диаметр тела, фланец опорный на торце тела сваи, элемент вертикальной устойчивости, размещенный между спиральной частью и уплотнительным кольцевым элементом и выполненный в виде гильзы с лопастными элементами. На теле сваи имеется подвижный элемент с резьбовыми отверстиями, выполненный между торцом тела сваи и фланцем опорным со сквозными пазами, под которым имеется уплотнительный кольцевой элемент. Спиральная часть выполнена с диаметром, равным 1,1D-10D, где D - диаметр тела. 10 пр., 7 ил.
Винтовая свая, включающая тело сваи со сквозными пазами и расположенные на теле сваи спиральную часть, выполненную с шагом навивки спиральной части равной 0,5D-3D, где D - диаметр тела, фланец опорный на торце тела сваи, элемент вертикальной устойчивости, размещенный между спиральной частью и уплотнительным кольцевым элементом и выполненный в виде гильзы с лопастными элементами, отличающаяся тем, что на теле сваи имеется подвижный элемент с резьбовыми отверстиями, выполненный между торцом тела сваи и фланцем опорным со сквозными пазами, под которым имеется уплотнительный кольцевой элемент, а спиральная часть выполнена с диаметром равным 1,1D-10D, где D - диаметр тела.
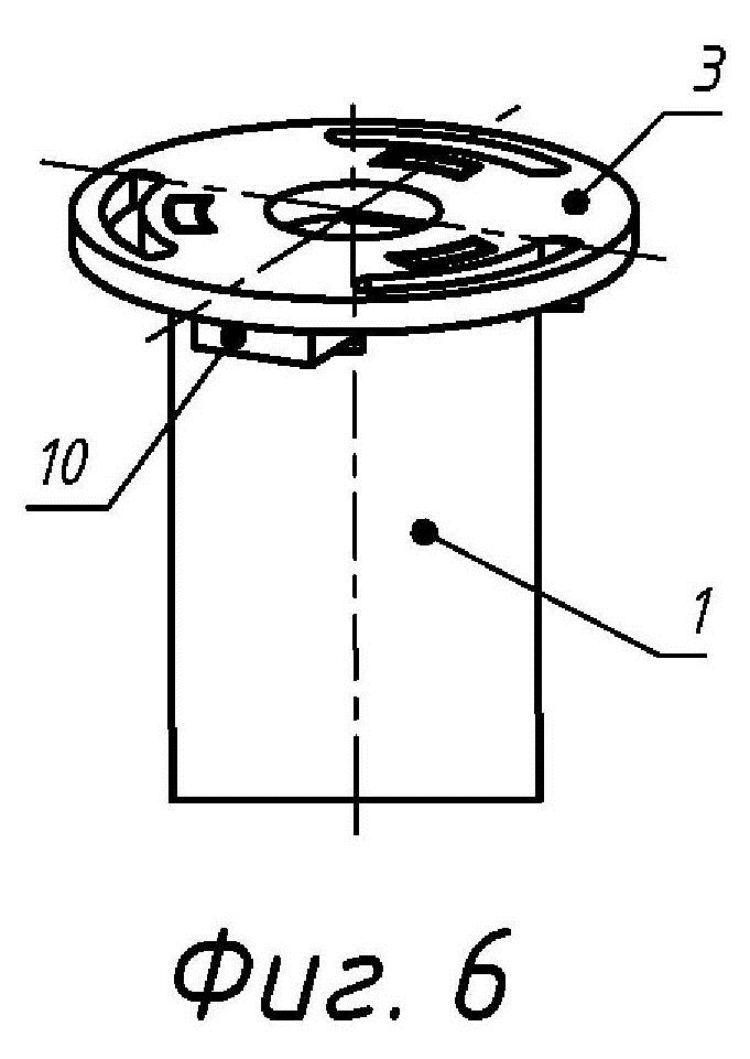
Изобретение относится к строительству, в частности к конструкциям винтовых опор и сооружению свайных фундаментов, и может быть использовано при строительстве малоэтажных домов, зданий модульного типа, бань, террас, пирсов и причалов, навесов, теплиц, ангаров, трубопроводов, рекламных конструкций, дорожных знаков и указателей, шумозащитных экранов, опор линий освещения и связи, монтажа садово-парковой мебели, ландшафтных светильников и уличных фонарей, конструкций малых архитектурных форм, заборов и ограждений, оснований солнечных батарей и ветрогенераторов и пр. Конструкция винтовой сваи представляют собой металлическую трубу с винтовой поверхностью. Погружение в землю таких элементов производится путем закручивания трубы вокруг своей оси. Винтовая свая применяется при строительстве менее крупных объектов, например, частных жилых домов. Их установка не требует применения дорогостоящей техники, а также крупных вложений. Винтовые сваи различаются по нескольким критериям: размерам; наконечникам; по ширине и количеству лопастей; типу стали (материалу изготовления); защитному покрытию. По типу наконечников винтовые сваи бывают 2 видов: Литые. Такие элементы изготавливаются путем литья, в результате наконечник с лопастью представляет собой единую деталь. Они характеризуются повышенной прочностью, однако их цены выше. Применять их рекомендуют на твердых каменистых почвах. Сварные. Эти наконечники изготавливаются путем приваривания лопасти к наконечнику. Отличаются низкой прочностью. Если такую опору попытаться поднять из земли, есть высокий риск срыва лопасти. По количеству лопастей. Опоры бывают: Однолопастными. Их рекомендуют к использованию на грунте с высокой несущей способностью. Однолопастные сваи со сварным наконечником быстро достигают критической нагрузки, что вызывает срыв лопасти. Многолопастными. Наличие 2 лопастей обеспечивает повышенную стойкость к горизонтальным, вдавливающим и выдергивающим нагрузкам. В зависимости от технологии строительства дома монтируют на сваи фланцы с косынками, фланцы нескольких типов: плоский - пластина, приваренная к куску трубы, внутренний диаметр которой равен (или чуть больше) наружному размеру сваи; П-образный - применяется исключительно для срубов, «каркасников», панельных, фахверковых, щитовых зданий, позволяет уложить внутрь брус, зафиксировать его саморезами для стабилизации геометрии ростверка. Известен аналог винтовая свая в описании полезной модели к патенту РФ №26233, МПК E02D 5/56, по заявке №2002110509/20 от 23.04.2002, опубл. 20.11.2002 в Бюл. №32, включающая цилиндрический трубчатый ствол и винтовую лопасть, дополнительно снабжена ребрами жесткости, соединяющими верхнюю часть ствола с горизонтально расположенным опорным фланцем, при этом отношение диаметра ствола к диаметру лопасти составляет 0,6-0,8, а шаг лопасти относится к ее диаметру как 0,5-0,7, нижний конец винтовой лопасти располагается во внутренней полости ствола, образуя консоль, при этом нижний виток винтовой лопасти имеет уменьшенный диаметр, а его режущая кромка заточена под углом 40-60°, в нижней части сваи для заведения винтовой лопасти внутрь ствола выполнена прорезь, имеющая форму винтовой линии, вылет консоли составляет 1/2-1/3 внутреннего диаметра ствола, диаметр нижнего витка составляет 0,8-0,9 диаметра винтовой лопасти. Недостатки: недостаточно высокие скорость завинчивания и несущая способность. Известен ближайший аналог винтовая свая в описании полезной модели к патенту РФ №123796, МПК E02D 5/56, по заявке №2012141546/03 от 01.10.2012, опубл. 10.01.2013 в Бюл. №1, содержащая полый цилиндрический ствол, винтовую лопасть, фланцевую соединительную опору с приваренными к ней усилителями, соединяющими верхнюю часть ствола с фланцевой соединительной опорой, между винтовой лопастью и усилителями установлен уплотнительный кольцевой элемент, а нижний конец ствола выполнен скошенным, винтовая лопасть выполнена одновитковой, усилители имеют треугольную форму, уплотнительный кольцевой элемент выполнен из Стали 3, или Стали 20, или Стали 09Г2С, имеет диаметр 90-110 мм, и приварен на высоте 100 мм от фланцевой соединительной опоры, во фланцевой соединительной опоре выполнены отверстия для крепления механизма завинчивания, винтовая лопасть имеет ширину захвата 50 мм и высоту изгиба - 70 мм, на конце винтовой лопасти выполнен вырез. Недостатки: недостаточно высокие скорость завинчивания и несущая способность. Технический результат: повышение скорости завинчивания и несущей способности. Технический результат в винтовой свае достигается за счет того, что винтовая свая включает тело сваи со сквозными пазами и расположенные на теле сваи спиральную часть с диаметром, равным 1,1D-10D, где D - диаметр тела, шагом навивки спиральной части, равным 0,5D-3D, где D - диаметр тела, фланец опорный на торце тела сваи со сквозными пазами, уплотнительный кольцевой элемент под фланцем опорным, элемент вертикальной устойчивости, размещенный между спиральной частью и уплотнительным кольцевым элементом и выполненный в виде гильзы с лопастными элементами. Выполнение спиральной части с диаметром, равным 1,1EM0D, где D - диаметр тела сваи, с шагом навивки спиральной части, равным 0,5D-3D, где D - диаметр тела сваи, является оптимальным для обеспечения высокой несущей способности винтового фундамента, которая обусловлена тем, что при завинчивании сваи грунт не разрыхляется, а наоборот - уплотняется, повышая скорость завинчивания и несущую способность, увеличивая надежность фундамента, особенно для сложных грунтов. Наличие спиральной части с предложенным шагом навивки, равным 0,5D-3D, где D - диаметр тела сваи, не создают критического давления даже на мягкие торфяные и песчаные грунты и не позволяют фундаменту двигаться даже при глубоком промерзании. Время установки занимает всего несколько минут. Сквозные пазы позволяют вводить через них электрический кабель. Наличие фланца упрощает, облегчает и ускоряет сервисные работы по установке фундамента, обеспечивает устойчивость опорной конструкции. Использование фланца в совокупности с существенными признаками заявляемой сваи позволяют расширить спектр применения сваи. Фланец опорный дает возможность выбора для крепления механизма завинчивания во фланцевой соединительной опоре. На фланец опорный используя сквозные пазы и подвижный элемент, устанавливают опорную конструкцию с применением разъемного соединения, что повышает скорость завинчивания и несущую способность. Уплотнительный кольцевой элемент, выполненный в виде гильзы с лопастными элементами под фланцем опорным, усиливает фланец, обеспечивает лучшее вхождение сваи в грунт, уплотнение грунта и повышает несущую способность и скорость завинчивания. Элемент вертикальной устойчивости, размещенный между спиральной частью и уплотнительным кольцевым элементом и выполненный в виде гильзы с лопастными элементами позволяет использование заявляемой сваи, как отдельно стоящих стоек для фонарных столбов. Особенно эффективно показала себя заявляемая свая в тандеме с фонарными столбами длиной от 2 м и более. Также элемент вертикальной устойчивости на заявляемой свае доказал свою эффективность в применении таких свай в качестве якорных при укреплении берегов шпунтом ПВХ там, где преобладает боковая нагрузка на сваю. В результате всего этого заявленная совокупность существенных признаков предлагаемого технического решения позволяет достичь технического результата. Из уровня техники не выявлены технические решения, содержащие признаки, совпадающие с отличительными признаками заявляемого устройства, поэтому заявляемое устройство отвечает критерию изобретательского уровня. Наличие отличительных от прототипа существенных признаков позволяет признать заявляемое техническое решение новым. Возможность осуществления заявляемого изобретения в промышленности позволяет признать его соответствующим критерию промышленной применимости. Сущность заявляемого устройства поясняется следующими чертежами: фиг.1 - аксонометрический вид винтовой сваи с лопастной спиральной частью, фиг. 2 - аксонометрический вид винтовой сваи с многовитковой спиральной частью, фиг. 3 - вид спереди винтовой сваи с лопастной спиральной частью, фиг. 4 - вид спереди винтовой сваи с многовитковой спиральной частью, фиг. 5 - вид сбоку винтовой сваи, фиг. 6 - вид винтовой сваи с подвижным элементом, фиг. 7 - вид в поперечном разрезе элемента вертикальной устойчивости винтовой сваи. Винтовая свая включает тело сваи 1 со сквозными отверстиями или сквозными пазами 6 и расположенные на теле сваи 1 спиральную часть 2 цилиндрической или конической формы в виде одно- или многовитковой лопасти с диаметром, равным 1,1D-10D, где D - диаметр тела сваи, с шагом t навивки спиральной части, равным 0,5-3D, где D - диаметр тела сваи, фланец опорный 3, выполненный на торце тела сваи 1, с отверстиями 9 или пазами 7, или отверстиями 11 для крепления опорных конструкций, и/или механизма завинчивания сваи, и/или ввода электрического кабеля, уплотнительный кольцевой элемент 8, выполненный на теле сваи 1 под фланцем опорным 3, элемент вертикальной устойчивости 5, выполненный между спиральной частью 2 и уплотнительным кольцевым элементом 8 в виде цилиндрической или конической гильзы с лопастными элементами 12, которые выполнены преимущественно вертикальными, подвижный элемент 10 с резьбовыми отверстиями, выполненный между торцом тела сваи 1 и фланцем опорным 3, косынки 4 в месте соединения фланца опорного 3 и тела сваи 1 для увеличения прочности вместе соединения фланца опорного 3 и тела сваи 1. Тело сваи 1 имеет сквозные отверстия или сквозные пазы 6 преимущественно в параллельных плоскостях соосные или смещенные относительно друг друга в направлении оси тела сваи 1, а нижний конец тела сваи 1 может иметь угол, равный 1-90 градусам. Спиральная часть 2 выполнена с применением метода холодной или горячей ковки, или с применением метода литья, тело сваи 1 может иметь уплотнительный кольцевой элемент 8, а фланец опорный 3, имеющий форму круглую или квадратную, или прямоугольную, или овальную, или многоугольную, имеет отверстия 11 круглые или овальные, или пазы, или сквозные пазы 7 для крепления опорных конструкций с возможностью быстросъемного соединения с инструментом или механизмом завинчивания сваи, а также отверстие 9 для ввода электрического кабеля. Элемент вертикальной устойчивости 5 представляет собой цилиндрическую гильзу с лопастными элементами 12, он расположен между спиральной частью 2 и уплотнительным кольцевым элементом 8. Примеры для спиральной части с диаметром, равным 1,1D-10D, где D - диаметр тела Пример 1 Спиральная часть с диаметром, равным до 1, 1D, где D - диаметр тела не создает достаточное тяговое усилие для осуществления погружения тела сваи в грунт, спиральная часть создает тяговое усилие, но его не достаточно для осуществления погружения тела сваи в грунт. В этом случае может происходить лишь рыхление без нужного нам завинчивания сваи в грунт, снижение скорости завинчивания и несущей способности. Пример 2 Спиральная часть с диаметром более 10D, где D - диаметр тела, создает слишком большое сопротивление при завинчивании сваи, а это влечет за собой значительное повышение мощности, габаритов, материалоемкости и веса вращателя для завинчивания сваи, снижение скорости завинчивания и несущей способности. Примеры 3, 4 Спиральная часть с диаметром меньше 1,1D и больше 10D, где D - диаметр тела, не создает большое сопротивление при завинчивании сваи, не влечет за собой значительное повышение мощности, габаритов, материалоемкости и веса вращателя для завинчивания сваи, снижение скорости завинчивания и несущей способности. Пример 5 Спиральная часть с диаметром 5, 5D, где D - диаметр тела не создает слишком большое сопротивление при завинчивании сваи, не влечет за собой значительное повышение мощности, габаритов, материалоемкости и веса вращателя для завинчивания сваи, а приводит к повышению скорости завинчивания и несущей способности. Обеспечивает необходимое и достаточное тяговое усилие для осуществления погружения тела сваи в грунт. Это приводит к повышению скорости завинчивания винтовой сваи, устойчивости в грунтах. Примеры для значения шага t навивки спиральной части, равном 0,5-3D, где D - диаметр тела сваи Пример 1 При значении шага t навивки спиральной части, равном 0,5D, где D - диаметр тела сваи, повышение скорости завинчивания винтовой сваи, устойчивости в грунтах проявляются не достаточно Пример 2 При значении шага t навивки спиральной части, равном 3D, где D - диаметр тела сваи, повышение скорости завинчивания винтовой сваи, устойчивости в грунтах проявляются не достаточно Примеры 3, 4 При значении шага t навивки спиральной части, равном меньше 0, 5D, и больше 3D, где D - диаметр тела сваи, повышение скорости завинчивания винтовой сваи, устойчивости в грунтах не проявляются. Пример 5 Наилучшие показатели повышения скорости завинчивания винтовой сваи, устойчивости в грунтах проявляются при значении шага навивки спиральной части, равном 1,75D, где D - диаметр тела сваи. Эти примеры подтверждаются результатами работы на строительных площадках компании ООО ГК «ВиКа Инжиниринг». Были изготовлены образцы свай различных типоразмеров совокупностью указанных существенных признаков. В ходе испытаний винтовую сваю своей спиральной частью 2 устанавливали вертикально или под углом на грунт в точку монтажа. Ключ механизма завинчивания сваи вставляли в сквозные пазы 7. Крутящий момент по часовой стрелке от ключа через сквозные пазы 7 фланца опорного передавался телу сваи 1 и на спиральную часть 2. Спиральная часть 2 погружалась в грунт, увлекая за собой тело сваи 1. После необходимого количества оборотов ключа элемент вертикальной устойчивости 5 с лопастными элементами 12, упираясь в уплотнительный кольцевой элемент 8, задавливали в грунт. После заглубления сваи на проектную отметку ключ поворачивали против часовой стрелки до момента выведения из зацепления в пазах и снимали вертикально вверх с фланца опорного 3. В зависимости от проектного решения через сквозные пазы вводили электрический кабель, на фланец опорный используя сквозные пазы 6, на подвижный элемент 10 устанавливали опорную конструкцию с применением разъемного соединения. Испытания проводились в сравнении с обычными однолопастными винтовыми сваями одинаковых диаметров и длин. Например, сравнивалась скорость завинчивания между заявляемой спиральной сваей диаметром 57 мм и длиной 1,5 м и обычной однолопастной винтовой сваей с тем же диаметром и той же длиной. В различных грунтовых условиях преимущество в скорости монтажа заявляемой сваи в сравнении с обычной однолопастной винтовой сваей было в диапазоне от 20 до 33%. Также установлено преимущество в заявляемой свае при испытаниях других диаметров и длин. А применение элемента вертикальной устойчивости 5 добавило преимуществ в использовании заявляемой сваи, как отдельно стоящих стоек для фонарных столбов. Особенно эффективно показала себя заявляемая свая в тандеме с фонарными столбами длиной от 2 м и более. Также элемент вертикальной устойчивости 5 на заявляемой свае доказал свою эффективность в применении таких свай в качестве якорных при укреплении берегов шпунтом ПВХ там, где преобладает боковая нагрузка на сваю. В итоге проведенные полевые испытания образцов свай различных типоразмеров, в различных грунтовых условиях при воздействии как вертикальной, так и боковой нагрузки заявляемая свая показала свои преимущества в повышении скорости завинчивания винтовой сваи, устойчивости в грунтах с различными характеристиками, универсальность, При проведении расчетов и экспериментальных работ заявителем были сделаны выводы, что заявляемая свая обеспечивает повышение скорости завинчивания и несущей способности. Заявляемое устройство работает следующим образом. Винтовую сваю своей спиральной частью 2 устанавливают вертикально или под углом на грунт в точку монтажа. Ключ механизма завинчивания сваи вставляют в пазы 7 фланца опорного 3. Крутящий момент по часовой стрелке от ключа через пазы 7 фланца опорного 3 и косынки 4 передается телу сваи 1 и на спиральную часть 2. Спиральная часть 2 погружается в грунт, увлекая за собой тело сваи 1. После необходимого количества оборотов ключа элемент вертикальной устойчивости 5 с лопастными элементами 12, упираясь в уплотнительный кольцевой элемент 8, задавливают в грунт. После заглубления сваи на проектную отметку ключ поворачивают против часовой стрелки до момента выведения из зацепления в пазах 7 и снимают вертикально вверх с фланца опорного 3. В зависимости от проектного решения через отверстия 6 или 9 вводят электрический кабель, на фланец опорный 3 используя отверстия 11, подвижный элемент 10 устанавливают опорную конструкцию с применением разъемного соединения. Цикл завершен. Использование заявляемого устройства позволит повысить скорость завинчивания винтовой сваи и несущую способность.