Изобретение относится к нефтедобывающей промышленности, в частности к устройствам для опрессовки двухрядного превентора на скважине. Расширяются функциональные возможности устройства, повышается надёжность устройства в работе, снижается трудоёмкость проведения работ по опрессовке превентора с двумя рядами плашек, а также повышается качество опрессовки трубных плашек превентора. Устройство для опрессовки двухрядного превентора на скважине включает корпус превентора с установленными в нём трубными плашками, образующими отверстие под опорную трубу. Опорная труба пропущена через корпус превентора и имеет возможность наружной герметизации трубными плашками превентора. Устройство также содержит пакер, установленный в скважине, и насос для заполнения скважины жидкостью и опрессовки превентора. Превентор выполнен двухрядным, отверстие, образуемое трубными плашками нижнего ряда, смещено относительно отверстия, образуемого трубными плашками верхнего ряда, обеспечивающее последовательное выполнение опрессовки трубных плашек. Устройство оснащено двумя герметизируемыми опорными трубами, а отверстия, образуемые при смыкании трубных плашек нижнего и верхнего рядов, расположены напротив опорных труб с возможностью их герметичного охвата. Снизу опорные трубы заглушены и пропущены через осевой канал превентора. На верхний конец опорных труб навернуты муфты, позволяющие последовательно подвешивать опорные трубы на элеваторе. Пакер выполнен извлекаемым с гидравлической посадкой, насос гидравлически обвязан с затрубным пространством скважины. Для монтажа и демонтажа устройства использовано грузоподъемное сооружение со стропами. 3 ил.
Устройство для опрессовки двухрядного превентора на скважине, включающее корпус превентора с установленными в нём трубными плашками, образующими отверстие под опорную трубу, опорная труба пропущена через корпус превентора и имеет возможность наружной герметизации трубными плашками превентора, пакер, установленный в скважине, насос для заполнения скважины жидкостью и опрессовки превентора, отличающееся тем, что превентор выполнен двухрядным, отверстие, образуемое трубными плашками нижнего ряда, смещено относительно отверстия, образуемого трубными плашками верхнего ряда, обеспечивающее последовательное выполнение опрессовки трубных плашек, устройство оснащено двумя герметизируемыми опорными трубами, а отверстия, образуемые при смыкании трубных плашек нижнего и верхнего рядов, расположены напротив опорных труб с возможностью их герметичного охвата, причём снизу опорные трубы заглушены и пропущены через осевой канал превентора, а на верхний конец опорных труб навернуты муфты, позволяющие последовательно подвешивать опорные трубы на элеваторе, пакер выполнен извлекаемым с гидравлической посадкой, при этом насос гидравлически обвязан с затрубным пространством скважины, при этом для монтажа и демонтажа устройства используют грузоподъемное сооружение со стропами.
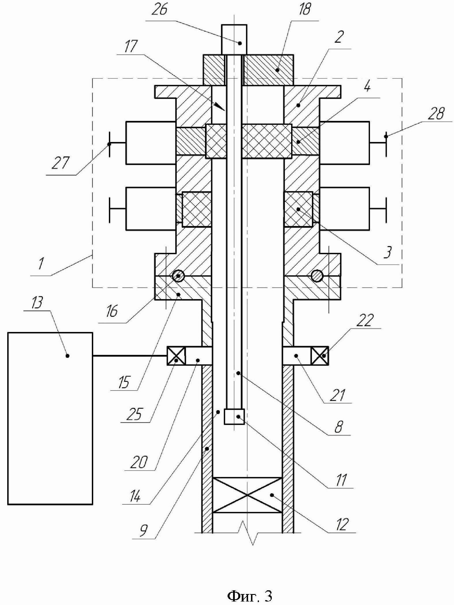
Изобретение относится к нефтедобывающей промышленности, в частности к устройствам для опрессовки двухрядного превентора на скважине. Известен стенд для опрессовки превентора на скважине (патент RU 2719879, МПК Е21В 33/03, опубл. 23.04.2020), включающий опорную трубу, проходящую через корпус превентора, установленный в опорной трубе полый шток и размещённый на опорной трубе пакер в виде резиновой манжеты, наружная поверхность опорной трубы оснащена закрытым фигурным пазом, а выше закрытого фигурного паза оснащена ступенчатой кольцевой выборкой, состоящей из нижней и верхней ступеней, причём фигурный паз состоит из продольных короткого и длинного участков, при этом напротив фигурного паза на наружной поверхности опорной трубы подвижно размещена подпружиненная наружу цанга с направляющим штифтом, размещенным в фигурном пазу, при этом продольные короткий и длинный участки фигурного паза соединены между собой замкнутым фигурным участком так, что при осевом возвратно-поступательном перемещении цанги относительно опорной трубы направляющий штифт будет расположен то в продольном коротком участке фигурного паза - транспортное положение, в котором цанга взаимодействует с нижней ступенью наружной ступенчатой кольцевой выборкой опорной трубы, то в продольном длинном участке фигурного паза - рабочее положение, в котором цанга взаимодействует с верхней ступенью наружной ступенчатой кольцевой выборки опорной трубы, причём нижняя часть резиновой манжеты, выполненная в виде полого цилиндра, жестко закреплена на нижней части опорной трубы, при этом верхняя часть резиновой манжеты надета на дорн, жестко закреплённый на опорной трубе, при этом выше дорна, но ниже фигурного паза опорная труба оснащена рядом радиальных отверстий, а напротив дорна снабжена сквозными продольными пазами, в которые установлены подвижные пальцы, которые с одной стороны соединены с дорном, а с другой стороны соединены с полым штоком, который сверху оснащён обратным клапаном, а снизу подпружинен от опорной трубы, причём в транспортном положении полый шток герметично перекрывает ряд радиальных отверстий опорной трубы, при этом снизу полый шток гидравлически сообщает пространства над и под опорной трубой, причём в рабочем положении полый шток имеет возможность осевого ограниченного перемещения вниз в пределах сквозных продольных пазов опорной трубы до открытия ряда радиальных отверстий опорной трубы, причём опорная труба ниже резиновой манжеты снабжена пружинным центратором, а наружный диаметр d1 пружинного центратора больше наружного диаметра d2 резиновой манжеты в транспортном положении, при этом верхний конец опорной трубы гидравлически обвязан с насосом. Недостатками стенда являются: - во-первых, ограниченная функциональная возможность стенда, заключающаяся в том, что стенд не предназначен для опрессовки превентора с двумя рядами плашек (верхним и нижним) расположенными эксцентрично; - во-вторых, низкая надежность работы, обусловленная высокой вероятностью потери герметичности стенда в процессе опрессовки, так как после каждой опрессовки плашки превентора необходимо распакеровывать пакер, поднимать его на устье с опорной трубой, поменять типоразмер опорной трубы под опрессовываемую плашку превентора, вновь спускать пакер на опорной трубе и посадить пакер. Такие работы повторяются не один раз в зависимости от типоразмера герметизируемой превентором опорной трубы и плашек под них, что в конечном итоге приведёт к потере герметичности и отказу стенда в работе; - в-третьих, высокая трудоёмкость и себестоимость применения, так как устройство одноразового применения, т.е. после каждой опрессовки превентора необходимо производить его разборку, ревизию, изменять типоразмер плашек под герметизируемую опорную трубу, производить повторную сборку и посадку пакера, что увеличивает стоимость обслуживания стенда; - в-четвёртых, низкое качество опрессовки трубных плашек превентора, ввиду отсутствия точной центровки оси опорной трубы и оси смыкаемых плашек. В результате можно получить потерю герметичности опрессовки из-за нарушения центровки опорной трубы относительно оси скважины, и как следствие, не качественную опрессовку трубных плашек превентора; - в-пятых, низкая эффективность в работе, связанная с низкой вероятностью фиксации цанги пакера в зазоре муфты трубы даже при соблюдении условия: а < b, где а - высота фиксирующей части цанги, b - высота зазора муфты. На практике на внутренних стенках скважин присутствуют асфальтенопарафиновые отложения, которые не позволят цанге закрепиться в зазоре муфты обсадных труб скважины. Наиболее близким к предлагаемому является устройство для опрессовки превентора, включающее корпус превентора с установленными в нём трубными плашками, образующими отверстие под опорную трубу, опорная труба пропущена через корпус превентора и имеет возможность наружной герметизации трубными плашками превентора, пакер установленный в скважине, насос для заполнения скважины жидкостью и опрессовки превентора (патент RU 2708748, МПК Е21В 33/03, опубл. 11.12.2019). Пакер состоит из нижней и верхней резиновых манжет с шайбой между ними. На опорной трубе выполнена наружная цилиндрическая выборка, в которой снизу вверх установлены опорная тарелка, выполненная снизу под конус, сужающийся сверху вниз, а сверху опорная тарелка выполнена под обратный конус, сужающийся снизу вверх, нижняя резиновая манжета, шайба, верхняя резиновая манжета и зажимная тарелка, при этом внутренний диаметр нижней резиновой манжеты больше внутреннего диаметра верхней резиновой манжеты, причём в транспортном положении обратный конус опорной тарелки сверху взаимодействует с нижней резиновой манжетой, а верхние торцы опорной и зажимной тарелок взаимодействуют с торцами наружной цилиндрической выборки, причём в опорной трубе напротив зажимной тарелки выполнен вертикальный сквозной паз, в котором установлен палец, при этом палец жестко закреплен с одной стороны в зажимной тарелке, а с другой стороны в полом штоке с возможностью ограниченного перемещения в пределах вертикального сквозного паза в рабочем положении, при этом полый шток снизу оснащён посадочным седлом под сбрасываемый в патрубок запорный элемент, причем опорная и зажимная тарелки оснащены конусными фасками под резиновые манжеты, позволяющие предотвратить затекание резиновых манжет за опорную и зажимную тарелки при их герметизации на скважине, при этом опорная труба ниже опорной тарелки снабжена механическим якорем с направляющим штифтом, размещенным в фигурном пазу, выполненном на наружной поверхности опорной трубы в виде соединенных между собой горизонтальной и вертикальной проточек, при этом механический якорь имеет возможность радиального и осевого перемещения в пределах фигурного паза, при этом верхний конец опорной трубы и затрубное пространство скважины гидравлически обвязаны с насосом. Недостатками устройства являются: - во-первых, ограниченная функциональная возможность устройства, заключающаяся в том, что устройство не предназначен для опрессовки превентора с двумя рядами плашек (верхним и нижним) расположенными эксцентрично; - во-вторых, низкая надежность работы, обусловленная высокой вероятностью потери герметичности устройства в процессе опрессовки, так как после каждой опрессовки плашки превентора необходимо распакеровывать пакер, поднимать его на устье с опорной трубой, поменять типоразмер опорной трубы под опрессовываемую плашку превентора, вновь спускать пакер на опорной трубе и посадить пакер. Такие работы повторяются не один раз в зависимости от типоразмера герметизируемой превентором опорной трубы и плашек под них, что в конечном итоге приведёт к потере герметичности и отказу устройства в работе; - в-третьих, высокая трудоёмкость и себестоимость применения, так как устройство одноразового применения, т.е. после каждой опрессовки превентора необходимо производить его разборку, ревизию, изменять типоразмер плашек под герметизируемую опорную трубу, производить повторную сборку и посадку пакера, что увеличивает стоимость обслуживания устройства; - в-четвёртых, низкое качество опрессовки трубных плашек превентора, ввиду отсутствия точной центровки оси опорной трубы и оси смыкаемых плашек. В результате можно получить потерю герметичности опрессовки из-за нарушения центровки опорной трубы относительно оси скважины, и как следствие, некачественную опрессовку трубных плашек превентора. Техническими результатами изобретения являются расширение функциональных возможностей устройства, повышение надёжности устройства в работе, снижение трудоёмкости и себестоимости проведения работ по опрессовке превентора с двумя рядами плашек, а также повышение качества опрессовки трубных плашек превентора. Технические результаты достигаются устройством для опрессовки двухрядного превентора на скважине, включающим корпус превентора с установленными в нём трубными плашками, образующими отверстие под опорную трубу, опорная труба пропущена через корпус превентора и имеет возможность наружной герметизации трубными плашками превентора, пакер, установленный в скважине, насос для заполнения скважины жидкостью и опрессовки превентора. Новым является то, что превентор выполнен двухрядным, отверстие, образуемое трубными плашками нижнего ряда, смещено относительно отверстия, образуемого трубными плашками верхнего ряда, обеспечивающее последовательное выполнение опрессовки трубных плашек, устройство оснащено двумя герметизируемыми опорными трубами, а отверстия, образуемые при смыкании трубных плашек нижнего и верхнего рядов, расположены напротив опорных труб с возможностью их герметичного охвата, причём снизу опорные трубы заглушены и пропущены через осевой канал превентора, а на верхний конец опорных труб навернуты муфты, позволяющие последовательно подвешивать опорные трубы на элеваторе, пакер выполнен извлекаемым с гидравлической посадкой, при этом насос гидравлически обвязан с затрубным пространством скважины, при этом для монтажа и демонтажа устройства используют грузоподъемное сооружение со стропами. На фиг. 1 схематично изображено устройство для опрессовки двухрядного превентора на скважине в начальном положении. На фиг. 2 схематично изображено устройство для опрессовки двухрядного превентора на скважине в рабочем положении при опрессовке нижнего ряда трубных плашек двухрядного превентора. На фиг. 3 схематично изображено устройство для опрессовки двухрядного превентора на скважине в рабочем положении при опрессовке верхнего ряда трубных плашек двухрядного превентора. Двухрядный превентор предназначен для обеспечения безопасности обслуживающего персонала на устье скважины при проведении работ с двухлифтовой колонной труб, оснащённой внутри скважинным оборудованием на случай выбросов на устье скважины в виде нефтегазоводопроявлений (НГВП). Требованием безопасности является обязательная установка противовыбросного оборудования (превентора) на устье добывающей (одновременно раздельная эксплуатация скважины по двум колоннам труб) и нагнетательной скважины (одновременно раздельная закачка). При этом в добывающую или нагнетательную скважину спускают различные сочетания типоразмеров насосно-компрессорных труб (НКТ) по ГОСТ 633-80, а именно наружными диаметрами: 48 мм × 48 мм 48 мм × 60 мм 60 мм × 60 мм. Предлагаемое устройство необходимо для проверки герметичности плашек, предназначенных для герметизации каждой трубы в любом из этих сочетаний. И необходим для исключения негерметичности плашек во время проведения спуско-подъёмных операций на скважине в случае возникновения НГВП с целью обеспечения безопасности (жизни и здоровья) обслуживающего персонала, работающего на устье добывающей или нагнетательной скважины. Устройство для опрессовки двухрядного превентора 1 на скважине (фиг. 1, 2 и 3) включает корпус 2 превентора, в котором размещены нижний ряд 3 трубных плашек и верхний ряд 4 трубных плашек. Отверстие 5 (фиг. 1), образуемое трубными плашками верхнего ряда 4, смещено относительно отверстия 6 (фиг. 1), образуемое трубными плашками нижнего ряда 3. Устройство оснащено двумя герметизируемыми опорными трубами 7 (фиг. 2) и 8 (фиг. 3). Опорные трубы 7 и 8 предназначены для последовательной проверки герметичности, соответственно нижнего ряда 3 трубных плашек и верхнего ряда 4 трубных плашек двухрядного превентора 1, созданием избыточного давления (опрессовкой) в скважине 9 (фиг. 1-3) под превентором 1. Снизу в опорные трубы 7 и 8 ввернуты соответствующие заглушки 10 (фиг. 2) и 11 (фиг. 3) соответственно. Пакер 12 (фиг. 1-3) выполнен извлекаемым и сажается в скважине 9 гидравлическим способом перед опрессовкой превентора. В качестве извлекаемого пакера используют любую известную извлекаемую пакер пробку (ИПП), например с гидравлической посадкой производства ООО «Нефтяник» (Российская Федерация, Республика Татарстан, г. Бугульма). Пакер 12 имеет на верхнем конце цилиндрический шток с коническим захватом (на фиг. 1-3 не показано). Насос 13 (фиг. 1-3) гидравлически обвязан с затрубным пространством 14 скважины 9. В качестве насоса 13 может использоваться насос любой известной конструкции, предназначенный для закачки жидкости в скважину, например цементировочный агрегат марки ЦА-320, производства ООО «Ижнефтегаз» (Российская Федерация, Республика Удмуртия, г. Ижевск). Для монтажа и демонтажа устройства используют грузоподъёмную мачту (на фиг. не показана), например АПРС 40. Устройство работает следующим образом. Перед установкой превентора 1 и опрессовкой трубных плашек 4 и 5 производят монтаж устройства. В скважину 9 (фиг.1) с помощью грузоподъемной мачты (на фиг. не показана) на технологической колонне труб (на фиг. 1-3 не показана), например колонне насосно-компрессорных труб наружным диаметром 73 мм по ГОСТ 633-80 производят спуск и посадку извлекаемой пакер пробки 12, например на глубине 50-100 м. Посадку производят гидравлически (на фиг. 1-3 не показано) с помощью насоса 13, после посадки технологическую колонну труб извлекают из скважины 9. Далее с помощью грузоподъемной мачты (на фиг. 1-3 не показана) производят установку двухрядного превентора 1 на опорный фланец 15 (фиг. 1-3) скважины 9, предварительно установив герметизирующее кольцо 16 (фиг. 1-3) между нижним фланцем двухрядного превентора 1 и опорным фланцем 15 скважины. Крепят двухрядный превентор 1 к опорному фланцу 15 скважины 9 с помощью шпилек и гаек (на фиг. 1-3 показано условно). Для опрессовки трубных плашек нижнего ряда 3 (фиг. 2) двухрядного превентора 1 снизу на ниппельный конец опорной трубы 7, например НКТ наружным диаметром 60 мм по ГОСТ 633-80 наворачивают заглушку 10 (см. фиг. 2). Спускают опорную трубу 7 через осевой канал 17 (фиг. 1-3) двухрядного превентора 1 в скважину 9. Затем опорную трубу 7 подвешивают на элеватор 18 (фиг. 2, 3) предварительно навернув муфту 19 (фиг. 2) на верхний конец опорной трубы 7. Обвязывают первый боковой отвод 20 (фиг. 2, 3) скважины 1 с насосным агрегатом 13 и заполняют скважину 1 технологической жидкостью, например, пресной водой плотностью 1000 кг/м3, с помощью насосного агрегата 13 до излива жидкости через второй боковой отвод 21 (фиг. 2, 3), после чего заверачивают вентиль 22 на втором боковом отводе 21. Доливают с помощью насосного агрегата 13 скважину 1 до излива жидкости через осевой канал 17 двухрядного превентора 1. Вращением штурвалов 23 и 24 (фиг. 2) двухрядного превентора 1 до упора в опорную трубу 7 герметизируют опорную трубу 7 нижним рядом трубных плашек 3. Поднимают избыточное давление жидкости под двухрядным превентором до намеченного давлением опрессовки двухрядного превентора, например 21,0 МПа и закрывают задвижку 25 (фиг. 2, 3) первого бокового отвода 20. Выдерживают двухрядный превентор 1 под вышеуказанным давлением, например, в течение 30 мин, причём падение давления более чем на 5% не допускается, т.е. после окончания опрессовки избыточное давление должно быть не ниже 19,95 МПа. Таким образом производят опрессовку нижнего ряда плашек 3 двухрядного превентора 1. После окончания опрессовки нижнего ряда плашек 3 двухрядного превентора 1 стравливают давление, открыв задвижку 22 на втором боковом отводе 21. Вращением штурвалов 23 и 24 двухрядного превентора 1 освобождают загерметизированную опорную трубу 7 и через осевой канал 17 двухрядного превентора 1 извлекают опорную трубу 7 с заглушкой 10 из скважины 9. Далее для опрессовки трубных плашек верхнего ряда 4 (фиг. 3) двухрядного превентора 1 снизу на ниппельный конец опорной трубы 8, например НКТ наружным диаметром 48 мм по ГОСТ 633-80 наворачивают заглушку 11 (см. фиг. 3). Спускают опорную трубу 8 через осевой канал 17 двухрядного превентора 1 с верхним рядом трубных плашек 4 в скважину 9. Затем опорную трубу 8 подвешивают на элеватор 18, предварительно навернув муфту 26 (фиг. 3) на верхний конец опорной трубы 8. Доливают с помощью насосного агрегата 13 скважину 1 до излива жидкости через осевой канал 17 двухрядного превентора 1. Вращением штурвалов 27 и 28 (фиг. 3) двухрядного превентора 1 до упора в опорную трубу 8 герметизируют опорную трубу 8 верхним рядом трубных плашек 4. Поднимают избыточное давление жидкости под двухрядным превентором до намеченного давлением опрессовки превентора, например 21,0 МПа и закрывают задвижку 25 первого бокового отвода 20. Выдерживают двухрядный превентор 1 под вышеуказанным давлением, например, в течение 30 мин, причём падение давления более чем на 5 % не допускается, т.е. после окончания опрессовки избыточное давление должно быть не ниже 19,95 МПа. Таким образом производят опрессовку верхнего ряда плашек 4 двухрядного превентора 1. После окончания опрессовки верхнего ряда плашек 4 двухрядного превентора 1 стравливают давление, открыв задвижку 22 на втором боковом отводе 21. Вращением штурвалов 27 и 28 превентора 1 освобождают загерметизированную опорную трубу 8 и через осевой канал 17 двухрядного превентора 1 поднимают из скважины 9. Демонтируют двухрядный превентор 1. Спуском ловильного инструмента (на фиг. 1-3 не показано), например наружной труболовкой извлекают пакер 12, производят залавливание штока пакера 12 за конический захват. С помощью грузоподъёмной мачты производят натяжение труболовки вверх, срывают пакер 12 с места посадки и извлекают из скважины. Расширяются функциональные возможности устройства, заключающиеся в том, что устройство предназначено для опрессовки превентора с двумя рядами плашек (верхним и нижним) расположенными эксцентрично. Повышается надежность работы, исключается потери герметичности устройства в процессе опрессовки. Так как в данном случае используется извлекаемый пакер пробка, который сажается только один раз и извлекается из скважины ловильным инструментом (труболовкой) по окончанию цикла опрессовки всех трубных плашек различных типоразмеров. Снижается трудоёмкость и себестоимость применения устройства, так как оно многоразового применения и позволяет производить опрессовку трубных плашек диаметрами 48 и 60 мм, а также их сочетание. Кроме того, нет необходимости после каждой опрессовки превентора производить повторную сборку и посадку пакера. Повышается качество опрессовки трубных плашек двухрядного превентора благодаря конструкции трубных плашек верхнего и нижнего ряда превентора, которая позволяет осуществить точную центровку осей опорных труб и осей соответствующих смыкаемых плашек. Устройство для опрессовки двухрядного превентора на скважине позволяет: - расширить функциональные возможности устройства; - повысить надежность работы устройства; - снизить трудоёмкость и себестоимость применения устройства; - повысить качество опрессовки трубных плашек превентора.