патент
№ RU 2774455
МПК E21B43/26

СПОСОБ ЗАКАНЧИВАНИЯ СКВАЖИНЫ С ГОРИЗОНТАЛЬНЫМ ОКОНЧАНИЕМ С ПРИМЕНЕНИЕМ ЭКСПЛУАТАЦИОННОЙ КОЛОННОЙ ОДНОГО ДИАМЕТРА ОТ УСТЬЯ ДО ЗАБОЯ И ПОСЛЕДУЮЩИМ ПРОВЕДЕНИЕМ БОЛЬШЕОБЪЕМНОГО, СКОРОСТНОГО И МНОГОСТАДИЙНОГО ГИДРОРАЗРЫВА ПЛАСТА

Авторы:
Шамсутдинов Николай Маратович Леонтьев Дмитрий Сергеевич Елшин Александр Сергеевич
Все (5)
Правообладатель:
Все (2)
Номер заявки
2021132453
Дата подачи заявки
09.11.2021
Опубликовано
21.06.2022
Страна
RU
Как управлять
интеллектуальной собственностью
Реферат

[142]

Изобретение относится к нефтегазодобывающей промышленности, в частности к способам заканчивания скважин с горизонтальным окончанием. Технический результат заключается в разработке конструкции горизонтальной скважины и технологии по проведению большеобъемного, скоростного и многостадийного ГРП с кластерной перфорацией и разделением стадий. Предложен способ заканчивания скважины с горизонтальным окончанием с применением эксплуатационной колонны одного диаметра от устья до забоя и последующим проведением большеобъемного с объемом 150-200 т, скоростного со скоростью от 12 до 22 м3/мин и многостадийного гидроразрыва пласта (ГРП). При этом в разбуренный на углеводородном растворе горизонтальный участок до плановой глубины спускают эксплуатационную колонну как с возможностью вращения при спуске и цементировании, так и без вращения, состоящую снизу вверх из: прорабатывающего башмака колонны, обратного клапана, посадочной муфты под цементировочную пробку, гидравлической муфты ГРП, обсадной трубы с трубными центраторами, при выборе технологии двухступенчатого цементирования применяют муфту ступенчатого цементирования (МСЦ). Конструкция предыдущих обсадных колонн представлена направлением и кондуктором или направлением, кондуктором и промежуточной колонной. Далее осуществляют одноступенчатое или двухступенчатое сплошное цементирование эксплуатационной колонны, при необходимости в процессе цементирования эксплуатационную колонну вращают с целью получения качественного цементного камня за колонной. После стадии ожидания затвердевания цемента (ОЗЦ) осуществляют мероприятия по проверке эксплуатационной колонны на герметичность. Для проведения перфорации под технологическую стадию ГРП с целью создания приемистости производят активацию гидравлической муфты ГРП путем создания в эксплуатационной колонне давления до 60 МПа, после активации гидравлической муфты ГРП через циркуляционные окна в горизонтальном участке скважины появляется сообщение с пластом и приемистость. При отсутствии в составе компоновки гидравлической муфты ГРП перфорацию под техническую стадию ГРП производят с помощью флота колтюбинга путем спуска на гибкой насосно-компрессорной трубе (ГНКТ) компоновки, состоящей снизу вверх из: кумулятивного перфоратора и локатора муфт, активацию перфоратора осуществляют гидравлическим или электрическим способом. После активации муфты ГРП или после проведения перфорации и подъема компоновки на ГНКТ через эксплуатационную колонну и перфорационные отверстия производят технологическую стадию ГРП с целью увеличения приемистости для проведения дальнейших работ. Далее для проведения перфорации под первую большеобъемную с объемом 150-200 т, скоростную со скоростью от 12 до 22 м3/мин стадию ГРП с кластерной перфорацией, в эксплуатационную колонну на кабеле или на ГНКТ до необходимой глубины спускают компоновку, состоящую снизу вверх из: первой секции кумулятивного перфоратора, переводника селективной перфорации, второй секции кумулятивного перфоратора, локатора муфт и кабельного наконечника при спуске компоновки на кабеле. Активацию перфораторов осуществляют гидравлическим или электрическим способом. Затем производят подъем и осмотр компоновки на предмет срабатывания перфораторов. Далее через перфорационные отверстия, входящие в состав одного кластера, производят большеобъемную с объемом 150-200 т, скоростную со скоростью от 12 до 22 м3/мин стадию ГРП. Для проведения мероприятий по разделению предыдущих стадий ГРП и кластерной перфорации перед второй и последующими стадиями в эксплуатационную колонну на кабеле или на ГНКТ до необходимой глубины спускают компоновку, состоящую снизу вверх из: проходной-разбуриваемой или проходной-растворимой пакер-пробки, посадочного инструмента, компенсатора, первой секции кумулятивного перфоратора, переводника селективной перфорации, второй секции кумулятивного перфоратора, локатора муфт и кабельного наконечника при спуске компоновки на кабеле. Активацию пакер-пробки и перфораторов осуществляют гидравлическим или электрическим способами. Затем производят подъем и осмотр компоновки на предмет установки пакер-пробки и срабатывания перфораторов, обеспечивая тем самым разделение в горизонтальном участке эксплуатационной колонны предыдущую стадию ГРП и кластерную перфорацию, состоящую из двух интервалов перфорационных отверстий. Далее через перфорационные отверстия, входящие в состав одного кластера, производят большеобъемную с объемом 150-200 т, скоростную со скоростью от 12 до 22 м3/мин стадию ГРП. Для проведения последующих стадий ГРП и кластерной перфорации, операции по спуску компоновки с пакер-пробкой и кумулятивными перфораторами повторяют до нужного количества стадий, в зависимости от длины горизонтального участка. После проведения всех стадий ГРП, при помощи флота колтюбинга производят нормализацию хвостовика путем фрезерования разделяющих пробок при использовании нерастворимых пакер-пробок или промывки горизонтального участка скважины при использовании растворимых пакер-пробок, затем осуществляют разрядку скважины или в эксплуатационную колонну на НКТ спускают оборудование для эксплуатации. 19 ил.

Формула изобретения

Способ заканчивания скважины с горизонтальным окончанием с применением эксплуатационной колонны одного диаметра от устья до забоя и последующим проведением большеобъемного с объемом 150-200 т, скоростного со скоростью от 12 до 22 м3/мин и многостадийного гидроразрыва пласта (ГРП), отличающийся тем, что в разбуренный на углеводородном растворе горизонтальный участок до плановой глубины спускают эксплуатационную колонну как с возможностью вращения при спуске и цементировании, так и без вращения, состоящую снизу вверх из: прорабатывающего башмака колонны, обратного клапана, посадочной муфты под цементировочную пробку, гидравлической муфты ГРП, обсадной трубы с трубными центраторами, при выборе технологии двухступенчатого цементирования применяют муфту ступенчатого цементирования (МСЦ); при этом конструкция предыдущих обсадных колонн представлена направлением и кондуктором или направлением, кондуктором и промежуточной колонной; далее осуществляют одноступенчатое или двухступенчатое сплошное цементирование эксплуатационной колонны, при необходимости в процессе цементирования эксплуатационную колонну вращают с целью получения качественного цементного камня за колонной; далее после ожидания затвердевания цемента (ОЗЦ) осуществляют мероприятия по проверке эксплуатационной колонны на герметичность; далее для проведения перфорации под технологическую стадию ГРП с целью создания приемистости производят активацию гидравлической муфты ГРП путем создания в эксплуатационной колонне давления до 60 МПа, после активации гидравлической муфты ГРП через циркуляционные окна в горизонтальном участке скважины появляется сообщение с пластом и приемистость, при отсутствии в составе компоновки гидравлической муфты ГРП перфорацию под техническую стадию ГРП производят с помощью флота колтюбинга путем спуска на гибкой насосно-компрессорной трубе (ГНКТ) компоновки, состоящей снизу вверх из: кумулятивного перфоратора и локатора муфт; активацию перфоратора осуществляют гидравлическим или электрическим способом; после активации муфты ГРП или после проведения перфорации и подъема компоновки на ГНКТ через эксплуатационную колонну и перфорационные отверстия производят технологическую стадию ГРП с целью увеличения приемистости для проведения дальнейших работ; далее для проведения перфорации под первую большеобъемную с объемом 150-200 т, скоростную со скоростью от 12 до 22 м3/мин стадию ГРП с кластерной перфорацией, в эксплуатационную колонну на кабеле или на ГНКТ до необходимой глубины спускают компоновку, состоящую снизу вверх из: первой секции кумулятивного перфоратора, переводника селективной перфорации, второй секции кумулятивного перфоратора, локатора муфт и кабельного наконечника при спуске компоновки на кабеле; активацию перфораторов осуществляют гидравлическим или электрическим способом; далее производят подъем и осмотр компоновки на предмет срабатывания перфораторов; далее через перфорационные отверстия, входящие в состав одного кластера, производят большеобъемную с объемом 150-200 т, скоростную со скоростью от 12 до 22 м3/мин стадию ГРП; для проведения мероприятий по разделению предыдущих стадий ГРП и кластерной перфорации перед второй и последующими стадиями в эксплуатационную колонну на кабеле или на ГНКТ до необходимой глубины спускают компоновку, состоящую снизу вверх из: проходной-разбуриваемой или проходной-растворимой пакер-пробки, посадочного инструмента, компенсатора, первой секции кумулятивного перфоратора, переводника селективной перфорации, второй секции кумулятивного перфоратора, локатора муфт и кабельного наконечника при спуске компоновки на кабеле; активацию пакер-пробки и перфораторов осуществляют гидравлическим или электрическим способами; далее производят подъем и осмотр компоновки на предмет установки пакер-пробки и срабатывания перфораторов, обеспечивая тем самым разделение в горизонтальном участке эксплуатационной колонны предыдущую стадию ГРП и кластерную перфорацию, состоящую из двух интервалов перфорационных отверстий; далее через перфорационные отверстия, входящие в состав одного кластера, производят большеобъемную с объемом 150-200 т, скоростную со скоростью от 12 до 22 м3/мин стадию ГРП; для проведения последующих стадий ГРП и кластерной перфорации, операции по спуску компоновки с пакер-пробкой и кумулятивными перфораторами повторяют до нужного количества стадий, в зависимости от длины горизонтального участка; после проведения всех стадий ГРП, при помощи флота колтюбинга производят нормализацию хвостовика путем фрезерования разделяющих пробок при использовании нерастворимых пакер-пробок или промывки горизонтального участка скважины при использовании растворимых пакер-пробок, затем осуществляют разрядку скважины или в эксплуатационную колонну на НКТ спускают оборудование для эксплуатации.

Описание

[1]

Изобретение относится к нефтегазодобывающей промышленности, а точнее для оптимизации конструкции скважины, увеличение расхода для реализации интервального, большеобъемного, скоростного и многостадийного гидравлического разрыва пласта (далее ГРП) в скважинах с горизонтальным окончанием, а также упрощение геолого-технических мероприятий в процессе эксплуатации скважины.

[2]

В настоящее время наиболее эффективным методом интенсификации притока углеводородов и повышения нефтеотдачи продуктивных пластов в скважинах, в частности с горизонтальным окончанием, остается технология ГРП. Во многих регионах, по мнению некоторых отечественных и зарубежных исследователей, это единственная технология вовлечения в разработку месторождений с трудноизвлекаемыми запасами углеводородов, приуроченными к низкопроницаемым, слабодренируемым, неоднородным и расчлененным коллекторам, позволяющая существенно увеличить добычу углеводородов и сделать скважины экономически рентабельными.

[3]

Известна конструкция скважины для проведения многоэтапного гидроразрыва пласта [ПМ №175464], включающая нецементируемый хвостовик для проведения многоэтапного ГРП, характеризующийся тем, что он выполнен с возможностью размещения в продуктивном пласте, закрепления в эксплуатационной колонне и разделения заколонными пакерами на участки, содержащие секцию фильтровых труб, секцию сплошных труб и управляемые циркуляционные муфты с возможностью открытия и закрытия, при этом ширина щели в фильтровой трубе определена соотношением:

[4]

t ≤ (0,65÷0,80)D10,

[5]

где t - ширина щели в фильтровой трубе, мм;

[6]

D10 - диаметр частиц расклинивающего материала для гидроразрыва пласта, соответствующий размеру ячей сита, через которые проходит 10% от общей массы пробы расклинивающего материала, мм.

[7]

Данная конструкция, включающая фильтровую трубу с шириной фильтрующей щели определенной по заявленному соотношению направлена на предотвращение выноса расклинивающего материала (проппанта) из трещин гидроразрыва в скважину.

[8]

Недостатком данной конструкции является то, что для проведения ГРП требуется колонна насосно-компрессорных труб, оборудованная сдвоенным пакером, что подразумевает появление дополнительных сопротивлений потоку, это повлечет за собой уменьшение концентрации проппанта и, соответственно, трещина ГРП будет недостаточно эффективна. Также отсутствует возможность контроля фиксации верхнего пакера, а нижний пакер невозможно опрессовать должным образом, т.е. высока вероятность получения негерметичности пакера при ГРП, что приведет к высыпанию проппанта в колонну.

[9]

Наиболее близким по технической сущности и достигаемому результату является способ заканчивания строительства добывающей горизонтальной скважины с проведением поинтервального гидравлического разрыва пласта [Патент РФ № 2564316], включающий бурение ствола добывающей горизонтальной скважины с определением фильтрационно-емкостных характеристик пласта и их изменения по стволу горизонтальной скважины, разделение ствола скважины на зоны, отличающиеся фильтрационно-емкостными характеристиками пласта в 1,5-1,6 раза, подбор пропускной способности отверстий фильтра отдельно для каждой зоны и количества отверстий в зависимости от фильтрационно-емкостных характеристик, спуск в ствол пробуренной горизонтальной скважины эксплуатационной колонны с фильтром и заколонными нефтенабухающими пакерами, размещение пакеров на границах зон с различающимися фильтрационно-емкостными характеристиками, крепление эксплуатационной колонны, спуск в горизонтальную скважину колонны труб с насосом и запуск горизонтальной скважины в эксплуатацию. Согласно изобретению на наружной поверхности каждого фильтра установлен водонабухающий пакер, выполненный в виде эластичного рукава с отверстиями и натянутый на фильтр, причем отверстия в фильтрах соосны с отверстиями, выполненными в эластичных рукавах, а диаметры отверстий в эластичном рукаве выполнены в два раза больше диаметров отверстий в фильтрах и при контакте с водой отверстия в эластичном рукаве стягиваются и герметично перекрывают снаружи отверстия в фильтрах, производят разъединение технологической колонны труб от заглушенного снизу извлекаемого хвостовика путем срабатывания скважинного разъединителя, после чего извлекают технологическую колонну труб на поверхность, спускают в горизонтальную скважину колонну труб с насосом и запускают горизонтальную скважину в эксплуатацию.

[10]

Недостатками данного способа являются:

[11]

- набухающие пакера и рукава требуют определенного времени выстойки для их активации или деактивации (в случае с рукавами), надежность которых в пластовых условиях вызывает сомнения и практически невозможно проконтролировать результат;

[12]

- протяженность зон, разделенных заколонными пакерами для селективного производства ГРП очень ограничена, так как, например, при 100 м зоне невозможно будет изолировать одни рукава (закрыть отверстия) и оставить другие, кроме того, рукава должны будут выдерживать давление, создаваемое при ГРП;

[13]

- низкая эффективность, обусловленная тем, что в данном способе не реализованы меры для предотвращения выноса проппанта при эксплуатации скважины.

[14]

Задачей заявляемого изобретения является подбор оптимального варианта заканчивания скважины с горизонтальным окончанием с последующим проведением большеобъемного (к примеру: 150-200 тн), скоростного (к примеру: от 12 до 22 м3/мин) и многостадийного (к примеру: от 15 до 50 стадий) ГРП с кластерной перфорацией и разделением между стадий, что позволит повысить продуктивность скважины после проведения работ.

[15]

Технический результат заключается в разработке конструкции горизонтальной скважины и технологии по проведению большеобъемного, скоростного и многостадийного ГРП с кластерной перфорацией и разделением стадий.

[16]

Поставленная задача и технический результат достигаются тем, что способ заканчивания скважины с горизонтальным окончанием с применением эксплуатационной колонны одного диаметра от устья до забоя и последующим проведением большеобъемного, скоростного и многостадийного гидроразрыва пласта, включает спуск в разбуренный на углеводородном растворе горизонтальный участок эксплуатационной (к примеру: диаметр 139,7 мм) как с возможностью вращения при спуске и цементировании, так и без возможностью вращения, состоящей из (снизу-вверх): прорабатывающий башмак колонны (к примеру: башмак без обратного клапана или башмак с обратным клапаном), обратный клапан (возможно применение двух обратных клапанов, двойного обратного клапана либо вовсе не включать обратный клапан в состав компоновки), посадочная муфта под цементировочную пробку (возможно не включать в состав компоновки), гидравлическая муфта ГРП или ее аналоги (возможно не включать в состав компоновки), обсадная труба (к примеру: 139,7 мм с резьбовым соединением типа TMK UP PF либо VAM TOP HT), трубные центраторы (к примеру: пружинные или жесткие), при выборе технологии двухступенчатого цементирования возможно применение муфты ступенчатого цементирования (далее МСЦ); при этом конструкция предыдущих колонн может быть представлена в следующем исполнении:

[17]

Исполнение №1: Направление (к примеру: номинальным наружным диаметром 323,9 мм, ГОСТ 632-80, интервал установки колонны по вертикали: 0-60 метром, тип соединения ОТТМА), кондуктор (к примеру: номинальным наружным диаметром 244,5 мм, ГОСТ 632-80, интервал установки колонны по вертикали: 0-1800 (+/- 400) метром, тип соединения ОТТМА), эксплуатационная колонна (к примеру, номинальным наружным диаметром 139,7 мм, API Spec 5CT / ISO 11960:2004, интервал установки колонны по вертикали: 0-2400 (+/- 500) метром, тип соединения TMK UP PF либо VAM TOP HT).

[18]

Исполнение №2: Направление (к примеру: номинальным наружным диаметром 426 мм, ГОСТ 632-80, интервал установки колонны по вертикали: 0-60 метром, тип соединения НОРМКБ), кондуктор (к примеру: номинальным наружным диаметром 323,9 мм, ГОСТ 632-80, интервал установки колонны по вертикали: 0-1000 (+/- 400) метром, тип соединения ОТТМА), промежуточная колонна (к примеру: номинальным наружным диаметром 244,5 мм, ГОСТ 632-80, интервал установки колонны по вертикали: 0-1850 (+/- 400) метром, тип соединения ОТТМА), эксплуатационная колонна (к примеру, номинальным наружным диаметром 139,7 мм, API Spec 5CT / ISO 11960:2004, интервал установки колонны по вертикали: 0-2400 (+/- 500) метром, тип соединения TMK UP PF либо VAM TOP HT).

[19]

* Далее будем рассматривать конструкцию предыдущих колонн в исполнении №1.

[20]

Осуществляется одноступенчатое, сплошное цементирование эксплуатационной колонны (возможно проведение двухступенчатого цементирования при наличии в составе компоновки МСЦ), также при необходимости в процессе цементирования эксплуатационную колонну возможно вращать с целью получения качественного цементного камня за колонной.

[21]

Далее после ожидания затвердевания цемента (ОЗЦ), происходят мероприятия на герметичность эксплуатационной колонны.

[22]

Далее для проведения перфорации (сообщения с пластом) под технологическую стадию ГРП с целью создания приемистости и возможности в дальнейшем прокачивать оборудование существует 2 варианта:

[23]

Вариант № 1: При наличии в составе компоновки гидравлической муфты ГРП (или ее аналогов) производится ее активация, путем создания в эксплуатационной колонне давления (к примеру: до 60 МПа (600 атм)), после активации гидравлической муфты ГРП (или ее аналогов) через циркуляционные окна в горизонтальном участке скважины появляется сообщение с пластом и приемистость.

[24]

Вариант № 2: При отсутствии в составе компоновки гидравлической муфты ГРП (или ее аналогов), перфорация под техническую стадию ГРП производится силами флота колтюбинга следующими методами:

[25]

Электрический метод заключается в том, что в эксплуатационную колонну на гибкой насосно-компрессорной трубе (далее ГНКТ) с запасованным в нее кабелем спускается до заданной глубины компоновка, состоящая из кумулятивного перфоратора электрического действия и локатора муфт (может не входить в состав компоновки). Далее подается электрический импульс и происходит активация кумулятивного перфоратора, после чего в эксплуатационной колонне обрадуются перфорационные отверстия.

[26]

Гидравлический метод заключается в том, что в эксплуатационную колонну на ГНКТ, спускается до заданной глубины компоновка, состоящая из кумулятивного перфоратора гидравлического действия и локатора муфт (может не входить в состав компоновки). Далее производится активация кумулятивного перфоратора гидравлического действия путем создания в ГНКТ давления (к примеру: 12 МПа (120 атм)), после чего в эксплуатационной колонне обрадуются перфорационные отверстия.

[27]

После активации муфты ГРП (либо ее аналогов) или после проведения перфорации и подъема компоновки на ГНКТ, через эксплуатационную колонну и перфорационные отверстия производится технологическая стадия ГРП (к примеру: 5-10 тн) с целью увеличения приемистости для проведения дальнейших работ.

[28]

Для проведения перфорации (сообщения с пластом) под первую, большеобъемную, скоростную стадию ГРП с кластерной перфорацией существует 2 варианта:

[29]

Вариант № 1: В эксплуатационную колонну на ГНКТ до необходимой глубины спускается компоновка (компоновка может использоваться как гидравлического действия, так и работающая от электрического импульса по средствам запасованного в ГНКТ кабеля) состоящая из (снизу-вверх): первая секция кумулятивного перфоратора, переводник селективной перфорации, вторая секция кумулятивного перфоратора (секций с кумулятивным зарядом может быть от 1 до 5), локатор муфт.

[30]

Существует 2 метода активации компоновки: гидравлический и электрический.

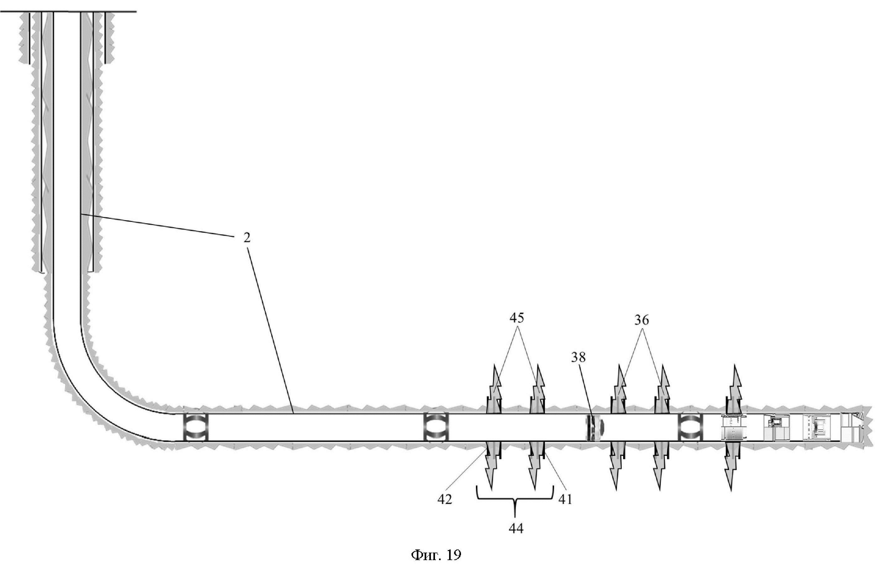
[31]

Гидравлический метод заключается в том, что при создании определенного давления (к примеру: 12,5 МПа (125 атм)) происходит активация первой секции кумулятивного перфоратора и в эксплуатационной колонне образуются перфорационные отверстия, следом создаются давление (к примеру: 15 МПа (150 атм)) происходит активация второй секции кумулятивного перфоратора и в эксплуатационной колонне образуются перфорационные отверстия.

[32]

Электрический метод заключается в том, что по запасованному кабелю находящемуся в ГНКТ подается электрический импульс и происходит активация первой секции кумулятивного перфоратора и в эксплуатационной колонне образуются перфорационные отверстия, следом подается следующий электрический импульс и происходит активация второй секции кумулятивного перфоратора и в эксплуатационной колонне образуются перфорационные отверстия.

[33]

Вариант № 2: В эксплуатационную колонну на кабеле до необходимой глубины спускается компоновка состоящая из (снизу-вверх): первая секция кумулятивного перфоратора, переводник селективной перфорации, вторая секция кумулятивного перфоратора (секций с кумулятивным зарядом может быть от 1 до 5), локатор муфт и кабельный наконечник.

[34]

Активация компоновки происходит электрический способ и заключается в том, что по кабелю подается электрический импульс, в результате происходит активация первой секции кумулятивного перфоратора и в эксплуатационной колонне образуются перфорационные отверстия, следом подается следующий электрический импульс и происходит активация второй секции кумулятивного перфоратора и в эксплуатационной колонне образуются перфорационные отверстия.

[35]

Далее производится подъем и осмотр компоновки варианта №1 или варианта №2 на предмет срабатывания перфораторов. В горизонтальном участке эксплуатационной колонны образована кластерная перфорация, состоящая из двух интервалов перфорационных отверстий (возможно применение от 1 до 5 секций с кумулятивными зарядами). Далее через перфорационные отверстия входящие в состав одного кластера производится большеобъемная (к примеру: 150-200 тн), скоростная (к примеру: от 12 до 22 м3/мин) стадия ГРП.

[36]

2** Возможно не перфорировать и не проводить технологическую стадию ГРП для создания приемистости, а произвести мероприятия по варианту №1 проведения перфорации (сообщения с пластом) под первую, большеобъемную, скоростную стадию ГРП с кластерной перфорацией.

[37]

Для проведения мероприятий по разделению стадий (предстоящей от предыдущей) и кластерной перфорации перед второй и последующими большеобъемными, скоростными и многостадийными стадиями ГРП существует 2 варианта:

[38]

Вариант № 1: В эксплуатационную колонну на ГНКТ до необходимой глубины спускается компоновка (компоновка может использоваться как гидравлическая, так и работающая от электрического импульса по средствам запасованного в ГНКТ кабеля) состоящая из (снизу-вверх): пакер-пробка (к примеру: глухая (разбуриваемая), проходная (разбуриваемая) или проходная (растворимая)) позволяющая разделять стадии ГРП, инструмент посадочный, компенсатор, первая секция кумулятивного перфоратора, переводник селективной перфорации, вторая секция кумулятивного перфоратора (секций с кумулятивным зарядом может быть от 1 до 5), локатор муфт.

[39]

Существует 2 метода активации компоновки: гидравлический и электрический.

[40]

Гидравлический метод заключается в том, что при создании определенного давления (к примеру: 10 МПа (100 атм)) в ГНКТ происходит активация (посадка) пакер-пробки способствующая разделению предстоящей стадии от предыдущей стадии ГРП, далее создаются давление (к примеру: 12,5 МПа (125 атм)) происходит активация первой секции кумулятивного перфоратора и в эксплуатационной колонне образуются перфорационные отверстия, следом создаются давление (к примеру: 15 МПа (150 атм)) происходит активация второй секции кумулятивного перфоратора и в эксплуатационной колонне образуются перфорационные отверстия.

[41]

Электрический метод заключается в том, что по запасованному кабелю находящемуся в ГНКТ подается электрический импульс и происходит активация (посадка) пакер-пробки способствующая разделению предстоящей стадии от предыдущей стадии ГРП, далее подается следующий электрический импульс и происходит активация первой секции кумулятивного перфоратора и в эксплуатационной колонне образуются перфорационные отверстия, следом подается следующий электрический импульс и происходит активация второй секции кумулятивного перфоратора и в эксплуатационной колонне образуются перфорационные отверстия.

[42]

Вариант № 2: В эксплуатационную колонну на кабеле до необходимой глубины спускается компоновка состоящая из (снизу-вверх): пакер-пробка (к примеру: глухая (разбуриваемая), проходная (разбуриваемая) или проходная (растворимая)) позволяющая разделять стадии ГРП, инструмент посадочный, компенсатор, первая секция кумулятивного перфоратора, переводник селективной перфорации, вторая секция кумулятивного перфоратора (секций с кумулятивным зарядом может быть от 1 до 5), локатор муфт и кабельный наконечник.

[43]

Активация компоновки происходит электрический способ и заключается в том, что по кабелю подается электрический импульс, в результате происходит активация (посадка) пакер-пробки способствующая разделению предстоящей стадии от предыдущей стадии ГРП, далее подается следующий электрический импульс и происходит активация первой секции кумулятивного перфоратора и в эксплуатационной колонне образуются перфорационные отверстия, следом подается следующий электрический импульс и происходит активация второй секции кумулятивного перфоратора и в эксплуатационной колонне образуются перфорационные отверстия.

[44]

Далее производится подъем и осмотр компоновки варианта №1 или варианта №2 на предмет установки пакер-пробки и срабатывания перфораторов.

[45]

В горизонтальном участке эксплуатационной колонны установлена пакер-пробка разделяющая предстоящую стадию от предыдущей стадии ГРП и кластерная перфорация, состоящая из двух интервалов перфорационных отверстий (возможно применение от 1 до 5 секций с кумулятивными зарядами). Далее через перфорационные отверстия входящие в состав одного кластера производится большеобъемная (к примеру: 150-200 тн), скоростная (к примеру: от 12 до 22 м3/мин) стадия ГРП.

[46]

Для проведения последующих стадий ГРП, операции по спуску компоновки (пакер-пробки, секций кумулятивных перфораторов и т.д.) повторяются до нужного количества стадий (к примеру: 20-50 стадий) в зависимости от длины горизонтального участка.

[47]

После проведения всех стадий ГРП, силами флота колтюбинга производится нормализация хвостовика путем фрезерования пробок при использовании не растворимых пакер-пробок или промывки горизонтального участка скважины при использовании растворимых пакер-пробок. В конце скважина уходит в отработку (разрядку) или в эксплуатационную колонну на НКТ спускают оборудование для эксплуатации.

[48]

Способ осуществляется следующим образом (фиг. 1-19).

[49]

В разбуренный на углеводородном растворе горизонтальный участок 1 до плановой глубины (к примеру: глубина по вертикали: 2400 (+/- 500) метром) спускается эксплуатационная колонна 2 (к примеру: диаметром 139,7 мм) как с возможностью вращения при спуске и цементировании, так и без возможностью вращения, состоящей из (снизу-вверх): прорабатывающий башмак колонны 3 (к примеру: башмак без обратного клапана 3.1 или башмак с обратным клапаном 3.2), обратный клапан 4 (возможно применение двух обратных клапанов, двойного обратного клапана либо вовсе не включать обратный клапан в состав компоновки), посадочная муфта под цементировочную пробку 5 (возможно не включать в состав компоновки), гидравлическая муфта ГРП 6 или ее аналоги (возможно не включать в состав компоновки), обсадная труба 7 (к примеру: диаметр 139,7 мм с резьбовым соединением типа TMK UP PF либо VAM TOP HT), трубные центраторы 8 (к примеру: пружинные 8.1 или жесткие 8.2), при выборе технологии двухступенчатого цементирования возможно применение муфты ступенчатого цементирования 9 (далее МСЦ). При этом конструкция предыдущих колонн может быть представлена в следующем исполнении:

[50]

Исполнение №1

[51]

Направление 10 (к примеру: номинальным наружным диаметром 323,9 мм, ГОСТ 632-80, интервал установки колонны по вертикали: 0-60 метром, тип соединения ОТТМА), кондуктор 11 (к примеру: номинальным наружным диаметром 244,5 мм, ГОСТ 632-80, интервал установки колонны по вертикали: 0-1800 (+/- 400) метром, тип соединения ОТТМА), эксплуатационная колонна 2 (к примеру, номинальным наружным диаметром 139,7 мм, API Spec 5CT / ISO 11960:2004, интервал установки колонны по вертикали: 0-2400 (+/- 500) метром, тип соединения TMK UP PF либо VAM TOP HT) (фиг. 1).

[52]

Исполнение №2

[53]

Направление 13 (к примеру: номинальным наружным диаметром 426 мм, ГОСТ 632-80, интервал установки колонны по вертикали: 0-60 метром, тип соединения НОРМКБ), кондуктор 14 (к примеру: номинальным наружным диаметром 323,9 мм, ГОСТ 632-80, интервал установки колонны по вертикали: 0-1000 (+/- 400) метром, тип соединения ОТТМА), промежуточная колонна 15 (к примеру: номинальным наружным диаметром 244,5 мм, ГОСТ 632-80, интервал установки колонны по вертикали: 0-1850 (+/- 400) метром, тип соединения ОТТМА), эксплуатационная колонна 2 (к примеру, номинальным наружным диаметром 139,7 мм, API Spec 5CT / ISO 11960:2004, интервал установки колонны по вертикали: 0-2400 (+/- 500) метром, тип соединения TMK UP PF либо VAM TOP HT) (фиг. 2).

[54]

* Далее будем рассматривать конструкцию предыдущих колонн в исполнении №1 (фиг. 1).

[55]

Осуществляется одноступенчатое, сплошное цементирование эксплуатационной колонны 2 (возможно проведение двухступенчатого цементирования при наличии в составе компоновки МСЦ 9), также при необходимости в процессе цементирования эксплуатационную колонну 2 возможно вращать (не показано) с целью получения качественного цементного камня за колонной.

[56]

Далее после ожидания затвердевания цемента (ОЗЦ) 12, происходят мероприятия на герметичность эксплуатационной колонны 2 (не показано) (фиг. 3).

[57]

Далее для проведения перфорации (сообщения с пластом) под технологическую стадию ГРП с целью создания приемистости и возможности в дальнейшем прокачивать оборудование существует 2 варианта:

[58]

Вариант № 1:

[59]

При наличии в составе компоновки гидравлической муфты ГРП 6 (или ее аналогов) производится ее активация, путем создания в эксплуатационной колонне 2 давления (к примеру: до 60 МПа (600 атм)), после активации гидравлической муфты ГРП 6 (или ее аналогов) через циркуляционные окна 16 в горизонтальном участке скважины появляется сообщение с пластом 17 и приемистость (фиг. 4).

[60]

Вариант № 2:

[61]

При отсутствии в составе компоновки гидравлической муфты ГРП 6 (или ее аналогов), перфорация 17 под техническую стадию ГРП производится силами флота колтюбинга следующими методами:

[62]

Электрический метод заключается в том, что в эксплуатационную колонну 2 на гибкой насосно-компрессорной трубе (далее ГНКТ) 18 с запасованным в нее кабелем 19 спускается до заданной глубины компоновка 20 состоящая из кумулятивного перфоратора электрического действия 21 и локатора муфт 22 (может не входить в состав компоновки). Далее подается электрический импульс и происходит активация кумулятивного перфоратора 21, после чего в эксплуатационной колонне 2 обрадуются перфорационные отверстия 17 (фиг. 5).

[63]

Гидравлический метод заключается в том, что в эксплуатационную колонну 2 на ГНКТ 18, спускается до заданной глубины компоновка 23 состоящая из кумулятивного перфоратора гидравлического действия 24 и локатора муфт 22 (может не входить в состав компоновки). Далее производится активация кумулятивного перфоратора гидравлического действия 24 путем создания в ГНКТ 18 давления (к примеру: 12 МПа (120 атм)), после чего в эксплуатационной колонне 2 обрадуются перфорационные отверстия 17 (фиг. 6).

[64]

После активации муфты ГРП 6 (либо ее аналогов) или после проведения перфорации 17 и подъема компоновки 20 или 23 на ГНКТ, через эксплуатационную колонну 2 и перфорационные отверстия 17 производится технологическая стадия ГРП (к примеру: 5-10 тн) 25 с целью увеличения приемистости для проведения дальнейших работ (фиг. 7).

[65]

Для проведения перфорации (сообщения с пластом) под первую, большеобъемную, скоростную стадию ГРП с кластерной перфорацией существует 2 варианта:

[66]

Вариант № 1:

[67]

В эксплуатационную колонну 2 на ГНКТ 18 до необходимой глубины спускается компоновка 26 (компоновка может использоваться как гидравлического действия, так и работающая от электрического импульса по средствам запасованного в ГНКТ 18 кабеля 19) состоящая из (снизу-вверх): первая секция кумулятивного перфоратора 27, переводник селективной перфорации 28, вторая секция кумулятивного перфоратора 29 (секций с кумулятивным зарядом может быть от 1 до 5), локатор муфт 22 (фиг. 8).

[68]

Существует 2 метода активации компоновки 26: гидравлический и электрический.

[69]

Гидравлический метод заключается в том, что при создании определенного давления (к примеру: 12,5 МПа (125 атм)) происходит активация первой секции кумулятивного перфоратора 27 и в эксплуатационной колонне 2 образуются перфорационные отверстия 30, следом создаются давление (к примеру: 15 МПа (150 атм)) происходит активация второй секции кумулятивного перфоратора 29 и в эксплуатационной колонне 2 образуются перфорационные отверстия 31 (фиг. 9).

[70]

Электрический метод заключается в том, что по запасованному кабелю 19 находящемуся в ГНКТ 18 подается электрический импульс и происходит активация первой секции кумулятивного перфоратора 27 и в эксплуатационной колонне 2 образуются перфорационные отверстия 30, следом подается следующий электрический импульс и происходит активация второй секции кумулятивного перфоратора 29 и в эксплуатационной колонне 2 образуются перфорационные отверстия 31. (фиг. 10).

[71]

Вариант № 2:

[72]

В эксплуатационную колонну 2 на кабеле 32 до необходимой глубины спускается компоновка 33 состоящая из (снизу-вверх): первая секция кумулятивного перфоратора 27, переводник селективной перфорации 28, вторая секция кумулятивного перфоратора 29 (секций с кумулятивным зарядом может быть от 1 до 5), локатор муфт 22 и кабельный наконечник 34 (фиг. 11).

[73]

Активация компоновки 33 происходит электрический способ и заключается в том, что по кабелю 32 подается электрический импульс, в результате происходит активация первой секции кумулятивного перфоратора 27 и в эксплуатационной колонне 2 образуются перфорационные отверстия 30, следом подается следующий электрический импульс и происходит активация второй секции кумулятивного перфоратора 29 и в эксплуатационной колонне 2 образуются перфорационные отверстия 31 (фиг. 12).

[74]

Далее производится подъем и осмотр компоновки 26 (при варианте №1) или 33 (при варианте №2) на предмет срабатывания перфораторов 27 и 29. В горизонтальном участке эксплуатационной колонны 2 образована кластерная перфорация 35, состоящая из двух интервалов перфорационных отверстий 30 и 31 (возможно применение от 1 до 5 секций с кумулятивными зарядами). Далее через перфорационные отверстия 30 и 31 входящие в состав одного кластера 35 производится большеобъемная (к примеру: 150-200 тн), скоростная (к примеру: от 12 до 22 м3/мин) стадия ГРП 36 (фиг. 13).

[75]

2** Возможно не перфорировать и не проводить технологическую стадию ГРП для создания приемистости описанную и показанную в фигурах с 4 по 7 (включительно), а произвести мероприятия по варианту №1 описанному и показанному в фигурах с 8 по 10.

[76]

Для проведения мероприятий по разделению стадий (предстоящей от предыдущей) и кластерной перфорации перед второй и последующими большеобъемными, скоростными и многостадийными стадиями ГРП существует 2 варианта:

[77]

Вариант № 1:

[78]

В эксплуатационную колонну 2 на ГНКТ 18 до необходимой глубины спускается компоновка 37 (компоновка может использоваться как гидравлическая, так и работающая от электрического импульса по средствам запасованного в ГНКТ 18 кабеля 19) состоящая из (снизу-вверх): пакер-пробка 38 (к примеру: глухая (разбуриваемая) 38.1, проходная (разбуриваемая) 38.2 или проходная (растворимая) 38.3) позволяющая разделять стадии ГРП, инструмент посадочный 39, компенсатор 40, первая секция кумулятивного перфоратора 27, переводник селективной перфорации 28, вторая секция кумулятивного перфоратора 29 (секций с кумулятивным зарядом может быть от 1 до 5), локатор муфт 22 (фиг. 14).

[79]

Существует 2 метода активации компоновки 37: гидравлический и электрический.

[80]

Гидравлический метод заключается в том, что при создании определенного давления (к примеру: 10 МПа (100 атм)) в ГНКТ 18 происходит активация (посадка) пакер-пробки 38 способствующая разделению предстоящей стадии от предыдущей стадии ГРП 36, далее создаются давление (к примеру: 12,5 МПа (125 атм)) происходит активация первой секции кумулятивного перфоратора 27 и в эксплуатационной колонне 2 образуются перфорационные отверстия 41, следом создаются давление (к примеру: 15 МПа (150 атм)) происходит активация второй секции кумулятивного перфоратора 29 и в эксплуатационной колонне 2 образуются перфорационные отверстия 42 (фиг. 15).

[81]

Электрический метод заключается в том, что по запасованному кабелю 19 находящемуся в ГНКТ 18 подается электрический импульс и происходит активация (посадка) пакер-пробки 38 способствующая разделению предстоящей стадии от предыдущей стадии ГРП 36, далее подается следующий электрический импульс и происходит активация первой секции кумулятивного перфоратора 27 и в эксплуатационной колонне 2 образуются перфорационные отверстия 41, следом подается следующий электрический импульс и происходит активация второй секции кумулятивного перфоратора 29 и в эксплуатационной колонне 2 образуются перфорационные отверстия 42. (фиг. 16).

[82]

Вариант № 2:

[83]

В эксплуатационную колонну 2 на кабеле 32 до необходимой глубины спускается компоновка 43 состоящая из (снизу-вверх): пакер-пробка 38 (к примеру: глухая (разбуриваемая) 38.1, проходная (разбуриваемая) 38.2 или проходная (растворимая) 38.3) позволяющая разделять стадии ГРП, инструмент посадочный 39, компенсатор 40, первая секция кумулятивного перфоратора 27, переводник селективной перфорации 28, вторая секция кумулятивного перфоратора 29 (секций с кумулятивным зарядом может быть от 1 до 5), локатор муфт 22 и кабельный наконечник 34 (фиг. 17).

[84]

Активация компоновки 43 происходит электрический способ и заключается в том, что по кабелю 32 подается электрический импульс, в результате происходит активация (посадка) пакер-пробки 38 способствующая разделению предстоящей стадии от предыдущей стадии ГРП 36, далее подается следующий электрический импульс и происходит активация первой секции кумулятивного перфоратора 27 и в эксплуатационной колонне 2 образуются перфорационные отверстия 41, следом подается следующий электрический импульс и происходит активация второй секции кумулятивного перфоратора 29 и в эксплуатационной колонне 2 образуются перфорационные отверстия 42 (фиг. 18).

[85]

Далее производится подъем и осмотр компоновки 37 (при варианте №1) или 43 (при варианте №2) на предмет установки пакер-пробки 38 и срабатывания перфораторов 27 и 29.

[86]

В горизонтальном участке эксплуатационной колонны 2 установлена пакер-пробка 38 разделяющая предстоящую стадию от предыдущей стадии ГРП 36 и кластерная перфорация 44, состоящая из двух интервалов перфорационных отверстий 41 и 42 (возможно применение от 1 до 5 секций с кумулятивными зарядами). Далее через перфорационные отверстия 41 и 42 входящие в состав одного кластера 44 производится большеобъемная (к примеру: 150-200 тн), скоростная (к примеру: от 12 до 22 м3/мин) стадия ГРП 45 (фиг. 19).

[87]

Для проведения последующих стадий ГРП, операции по спуску компоновки (пакер-пробки 38, секций кумулятивных перфораторов 27 и 29 и т.д.) повторяются до нужного количества стадий (к примеру: до 50 стадий) в зависимости от длины горизонтального участка.

[88]

После проведения всех стадий ГРП, силами флота колтюбинга производится нормализация хвостовика путем фрезерования пробок при использовании не растворимых пакер-пробок или промывки горизонтального участка скважины при использовании растворимых пакер-пробок. В конце скважина уходит в отработку (разрядку) или в эксплуатационную колонну на НКТ спускают оборудование для эксплуатации.

[89]

Пояснения к рисункам:

[90]

1 - Разбуренный на углеводородном растворе горизонтальный участок;

[91]

2 - Эксплуатационная колонна;

[92]

3 - Прорабатывающий башмак колонны;

[93]

3.1 - Башмак без обратного клапана;

[94]

3.2 - Башмак с обратным клапаном;

[95]

4 - Обратный клапан;

[96]

5 - Посадочная муфта под цементировочную пробку;

[97]

6 - Гидравлическая муфта ГРП;

[98]

7 - Обсадная труба эксплуатационной колонны;

[99]

8 - Трубные центраторы;

[100]

8.1 - Пружинные центраторы;

[101]

8.2 - Жесткие центраторы;

[102]

9 - Муфта ступенчатого цементирования (МСЦ);

[103]

10 - Направление;

[104]

11 - Кондуктор;

[105]

12 - Цемент;

[106]

13 - Направление;

[107]

14 - Кондуктор;

[108]

15 - Промежуточная колонна;

[109]

16 - Циркуляционные окна гидравлической муфты ГРП (6);

[110]

17 - Перфорационные отверстия (сообщение с пластом);

[111]

18 - Гибкой насосно-компрессорной трубе (ГНКТ);

[112]

19 - Запасованный в ГНКТ кабель;

[113]

20 - Компоновка;

[114]

21 - Кумулятивный перфоратор электрического действия;

[115]

22 - Локатор муфт;

[116]

23 - Компоновка;

[117]

24 - Кумулятивный перфоратор гидравлического действия;

[118]

25 - Технологическая стадия ГРП;

[119]

26 - Компоновка;

[120]

27 - Секция кумулятивного перфоратора;

[121]

28 - Переводник селективной перфорации;

[122]

29 - Секция кумулятивного перфоратора;

[123]

30 - Перфорационные отверстия;

[124]

31 - Перфорационные отверстия;

[125]

32 - Кабель;

[126]

33 - Компоновка;

[127]

34 - Кабельный наконечник;

[128]

35 - Перфорационный кластер;

[129]

36 - Большеобъемная, скоростная стадия ГРП;

[130]

37 - Компоновка;

[131]

38 - Пакер-пробка;

[132]

38.1 - Глухая (разбуриваемая) пакер-пробка;

[133]

38.2 - Проходная (разбуриваемая) пакер-пробка;

[134]

38.3 - Проходная (растворимая) пакер-пробка;

[135]

39 - Инструмент посадочный;

[136]

40 - Компенсатор;

[137]

41 - Перфорационные отверстия;

[138]

42 - Перфорационные отверстия;

[139]

43 - Компоновка;

[140]

44 - Перфорационный кластер;

[141]

45 - Большеобъемная, скоростная стадия ГРП.

Как компенсировать расходы
на инновационную разработку
Похожие патенты