Предложенное изобретение относится к устройствам запорной арматуры и предназначено для открытия и закрытия потока текучей среды в трубопроводе. Оно может быть использовано в промышленности в системах трубопроводного транспорта. Устройство содержит корпус задвижки и запорный элемент со штоком. На корпусе задвижки закреплен корпус линейного актуатора. На внешнем конце штока закреплена соединительная деталь штока, а на внешнем конце толкателя актуатора – соединительная деталь толкателя. Задвижка снабжена средством, обеспечивающим возможность скрепления соединительных деталей толкателя и штока между собой. В соединительной детали штока выполнено углубление вдоль оси штока. Углубление обеспечивает возможность осевого перемещения штока между его крайними положениями при открепленных друг от друга соединительных деталях толкателя и штока, а также возможность осевого перемещения толкателя между его крайними положениями при открепленных друг от друга соединительных деталях. Соединительная деталь штока снабжена зубчатой рейкой. На задвижке закреплен короткий вал с шестерней и средством его вращения. Технический результат, достигаемый при реализации изобретения, заключается в повышении безотказности задвижки с линейным приводом. 9 з.п. ф-лы, 13 ил.
1. Задвижка, содержащая корпус задвижки и запорный элемент, запорный элемент соединен с внутренним концом штока, запорный элемент выполнен с возможностью перекрывать поток текучей среды между патрубками корпуса задвижки при перемещении его вдоль воображаемой оси штока, на корпусе задвижки закреплен корпус линейного актуатора, линейный актуатор содержит толкатель, внутренний конец толкателя расположен в корпусе линейного актуатора, воображаемая ось толкателя совпадает с воображаемой осью штока, линейный актуатор выполнен с возможностью линейного перемещения толкателя вдоль воображаемой оси штока, отличающаяся тем, что на внешнем конце штока закреплена соединительная деталь штока, на внешнем конце толкателя закреплена соединительная деталь толкателя, задвижка снабжена средством, обеспечивающим возможность скрепления соединительных деталей толкателя и штока между собой, в соединительной детали штока выполнено углубление вдоль воображаемой оси штока, углубление выполнено с возможностью обеспечения осевого перемещения штока между его крайними положениями при открепленных друг от друга соединительных деталях толкателя и штока, а также с возможностью обеспечения осевого перемещения толкателя между его крайними положениями при открепленных друг от друга соединительных деталях толкателя и штока, соединительная деталь штока снабжена зубчатой рейкой, зубчатая рейка параллельна воображаемой оси штока, задвижка снабжена коротким валом, имеющим возможность осевого вращения без возможности линейного перемещения относительно корпуса задвижки, на коротком валу закреплена шестерня, шестерня своими зубьями находится в зацеплении с зубчатой рейкой, короткий вал снабжен средством его вращения. 2. Задвижка по п. 1, характеризующаяся тем, что средством, обеспечивающим возможность скрепления соединительных деталей толкателя и штока между собой, является набор элементов, состоящий из стержня, отверстия в соединительной детали толкателя и отверстия в соединительной детали штока, причем отверстие в соединительной детали штока перпендикулярно оси штока, отверстие в соединительной детали толкателя перпендикулярно оси толкателя, воображаемые оси отверстий в соединительных деталях штока и толкателя расположены в одной воображаемой плоскости, стержень выполнен с возможностью проникать одновременно в отверстие соединительной детали толкателя и в отверстие соединительной детали штока. 3. Задвижка по п. 1, характеризующаяся тем, что дополнительно введена коническая зубчатая пара и длинный вал, первое колесо конической зубчатой пары закреплено на коротком валу, второе колесо конической зубчатой пары закреплено на конце длинного вала, длинный вал закреплен вдоль воображаемой оси штока с возможностью осевого вращения и снабжен средством его вращения. 4. Задвижка по п. 1, характеризующаяся тем, что средством вращения короткого вала является шпоночное или шлицевое соединение. 5. Задвижка по п. 3, характеризующаяся тем, что средством вращения длинного вала является шпоночное или шлицевое соединение. 6. Задвижка по п. 1, характеризующаяся тем, что корпус линейного актуатора закреплен на корпусе задвижки при помощи двух цилиндрических направляющих, воображаемые оси которых параллельны воображаемой оси штока и находятся с ней в одной воображаемой плоскости, шток расположен между цилиндрическими направляющими, в соединительной детали штока выполнены отверстия для цилиндрических направляющих, цилиндрические направляющие находятся внутри отверстий для цилиндрических направляющих с возможностью скольжения соединительной детали штока по ним, цилиндрические направляющие выполнены с возможностью обеспечения перемещения запорного элемента со штоком между крайними положениями. 7. Задвижка по п. 1, характеризующаяся тем, что линейный актуатор является пьезоэлектрическим линейным шаговым двигателем. 8. Задвижка по п. 1, характеризующаяся тем, что линейный актуатор является магнитострикционным линейным шаговым двигателем. 9. Задвижка по п. 1, характеризующаяся тем, что линейный актуатор является пневматическим цилиндром. 10. Задвижка по п. 1, характеризующаяся тем, что линейный актуатор является гидравлическим цилиндром.
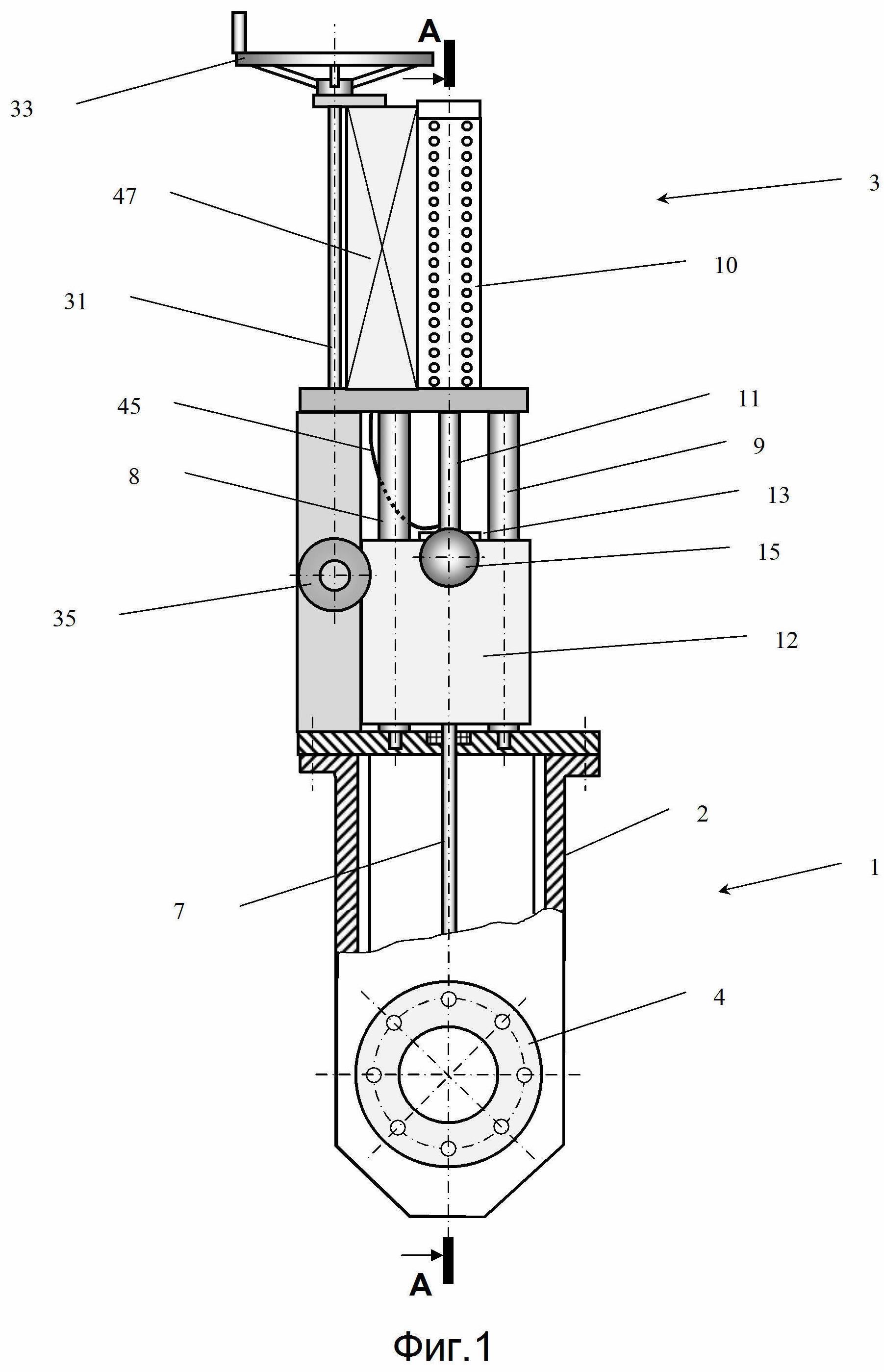
Область техники Изобретение относится к устройствам запорной арматуры и предназначено для открытия и закрытия потока текучей среды в трубопроводе. Оно может быть использовано в промышленности и в быту. Предшествующий уровень техники Ближайшим аналогом заявленного технического решения является задвижка, описанная в патенте США №10161531, дата подачи 27.05.2016. Устройство содержит корпус задвижки и запорный элемент внутри него. На корпусе задвижки выполнены два патрубка. Запорный элемент соединен с внутренним концом штока и выполнен с возможностью закрывать или открывать поток текучей среды между патрубками корпуса задвижки при перемещении его вдоль воображаемой оси штока. На корпусе задвижки закреплен корпус линейного актуатора. Линейный актуатор содержит толкатель. Внутренний конец толкателя расположен в корпусе линейного актуатора. Воображаемая ось толкателя совпадает с воображаемой осью штока. Толкатель и шток жестко соединены. Линейный актуатор выполнен с возможностью линейного перемещения толкателя, штока и запорного элемента вдоль воображаемой оси штока. При необходимости открыть задвижку запорный элемент приводят в движение, прикладывая к штоку усилие от толкателя линейного актуатора. Однако вследствие выхода из строя линейного актуатора или непоступлении к нему энергии для перемещения толкателя задвижка не может сработать – запорный элемент не сможет закрыть или открыть поток текучей среды между патрубками корпуса задвижки. Недостатком известной задвижки является низкая безотказность задвижки с линейным приводом. Раскрытие изобретения Таким образом, задача, на решение которой направлено настоящее техническое решение, состоит в устранении вышеотмеченного недостатка. Технический результат, достигаемый при реализации изобретения, заключается в повышении безотказности задвижки с линейным приводом. Для решения поставленной задачи с достижением технического результата изменена конструкция известного устройства. Конструкция известной задвижки содержит корпус задвижки и запорный элемент, при этом запорный элемент соединен с внутренним концом штока. Запорный элемент выполнен с возможностью перекрывать поток текучей среды между патрубками корпуса задвижки при перемещении его вдоль воображаемой оси штока. На корпусе задвижки закреплен корпус линейного актуатора, который, в свою очередь, содержит толкатель. Внутренний конец толкателя расположен в корпусе линейного актуатора. Воображаемая ось толкателя совпадает с воображаемой осью штока. Линейный актуатор выполнен с возможностью линейного перемещения толкателя вдоль воображаемой оси штока. На внешнем конце штока закреплена соединительная деталь штока, а на внешнем конце толкателя - соединительная деталь толкателя. Также задвижка снабжена средством, обеспечивающим возможность скрепления соединительных деталей толкателя и штока между собой. В соединительной детали штока выполнено углубление вдоль воображаемой оси штока, которое обеспечивает возможность осевого перемещения штока между его крайними положениями при открепленных друг от друга соединительных деталях толкателя и штока. Также это углубление обеспечивает возможность осевого перемещения толкателя между его крайними положениями при открепленных друг от друга соединительных деталях толкателя и штока. Соединительная деталь штока снабжена зубчатой рейкой, которая параллельна воображаемой оси штока. Задвижка снабжена коротким валом, который имеет возможность осевого вращения без возможности линейного перемещения относительно корпуса задвижки. На коротком валу закреплена шестерня, которая своими зубьями находится в зацеплении с зубчатой рейкой. Короткий вал снабжен средством его вращения. Средством, обеспечивающим возможность скрепления соединительных деталей толкателя и штока между собой, может являться набор элементов, состоящий из стержня, отверстия в соединительной детали толкателя и отверстия в соединительной детали штока. Причем отверстие в соединительной детали штока перпендикулярно оси штока, а отверстие в соединительной детали толкателя перпендикулярно оси толкателя. Воображаемые оси отверстий в соединительных деталях штока и толкателя расположены в одной воображаемой плоскости. Стержень выполнен с возможностью проникать одновременно в отверстие соединительной детали толкателя и в отверстие соединительной детали штока. Дополнительно может быть введена коническая зубчатая пара и длинный вал. Первое колесо конической зубчатой пары закреплено на коротком валу, а второе колесо - на конце длинного вала. Длинный вал закреплен вдоль воображаемой оси штока с возможностью осевого вращения и снабжен средством его вращения. Средством вращения короткого вала может быть шпоночное или шлицевое соединение. Средством вращения длинного вала также может быть шпоночное или шлицевое соединение. Корпус линейного актуатора может быть закреплен на корпусе задвижки при помощи двух цилиндрических направляющих, воображаемые оси которых параллельны воображаемой оси штока и находятся с ней в одной воображаемой плоскости. Шток в этом варианте конструкции расположен между цилиндрическими направляющими, в соединительной детали штока выполнены отверстия для цилиндрических направляющих. Цилиндрические направляющие находятся внутри отверстий для цилиндрических направляющих с возможностью скольжения соединительной детали штока по ним. Цилиндрические направляющие выполнены с возможностью обеспечения перемещения запорного элемента со штоком между крайними положениями. Линейный актуатор может быть пьезоэлектрическим или магнитострикционным линейным шаговым двигателем. Также линейный актуатор может быть пневматическим или гидравлическим цилиндром. За счет новой конструкции устройства удается, при выходе из строя линейного актуатора или непоступлении к нему энергии для перемещения толкателя, вращая короткий или длинный вал, а также открепив друг от друга соединительные детали штока и толкателя, обеспечить срабатывание задвижки. Запорный элемент в этом случае сможет закрывать или открывать поток текучей среды между патрубками корпуса задвижки. Описание фигур чертежей Указанные преимущества изобретения, а также его особенности поясняются лучшими вариантами выполнения со ссылками на чертежи. Фиг. 1 изображает задвижку с линейным приводом в закрытом состоянии, вид со стороны патрубка. В верхней части корпуса задвижки выполнен вырыв. Соединительные детали штока и толкателя скреплены между собой. Фиг. 2 изображает вид сбоку задвижки с линейным приводом в разрезе в закрытом состоянии. В качестве запорного элемента применен клин. Соединительные детали штока и толкателя скреплены между собой. В качестве актуатора применен пьезоэлектрический линейный шаговый двигатель. Фиг. 3 изображает задвижку с линейным приводом в закрытом состоянии, вид со стороны патрубка. Корпус задвижки выполнен в разрезе. На кожухе короткого вала выполнен вырыв, обнажающий шестерню и зубчатую рейку. Соединительные детали штока и толкателя скреплены между собой. Фиг. 4 изображает разрез кожуха короткого вала задвижки, изображенного на фиг. 3. Втулка короткого вала находится в зацеплении с шестерней. Фиг. 5 изображает разрез кожуха короткого вала задвижки, изображенного на фиг. 3. Втулка короткого вала выведена из зацепления с шестерней. Фиг. 6 изображает вид сбоку задвижки с линейным приводом в разрезе в открытом состоянии. В качестве запорного элемента применен клин. Соединительные детали штока и толкателя скреплены между собой. В качестве актуатора применен магнитострикционный линейный шаговый двигатель. Провода внутри штока и снаружи не изображены. Фиг. 7 изображает разрез соединительных деталей штока и толкателя, а также соединительный стержень и цилиндрические направляющие в проекции, ортогональной к виду на фиг. 6. Соединительные детали штока и толкателя скреплены между собой. Фиг. 8 изображает вид сбоку задвижки с линейным приводом в разрезе в закрытом состоянии. В качестве запорного элемента применен параллельный затвор. Соединительные детали штока и толкателя откреплены друг от друга. В качестве актуатора применен пневматический цилиндр. Толкатель находится в заднем положении. Фиг. 9 изображает вид сбоку задвижки с линейным приводом в разрезе в открытом состоянии. В качестве запорного элемента применен клин. Соединительные детали штока и толкателя откреплены друг от друга. В качестве актуатора применен гидравлический цилиндр. Толкатель находится в переднем положении. Фиг. 10 изображает бегун пьезоэлектрического линейного шагового двигателя в той проекции, в которой он изображен на фиг. 2. Фиг. 11 изображает бегун пьезоэлектрического линейного шагового двигателя в проекции, ортогональной к виду на фиг. 10. Фиг. 12 изображает бегун магнитострикционного линейного шагового двигателя в той проекции, в которой он изображен на фиг. 6. Фиг. 13 изображает бегун магнитострикционного линейного шагового двигателя в проекции, ортогональной к виду на фиг. 12. Лучший вариант осуществления изобретения Задвижка 1 (фиг. 1) содержит корпус задвижки 2 и линейный актуатор 3. В корпусе задвижки 2 выполнены два патрубка, позиции 4 и 5 на фиг. 2. Также в корпусе задвижки 1 размещен запорный элемент, он выполнен в виде клина 6 с возможностью закрывать или открывать поток текучей среды между патрубками 4 и 5 корпуса задвижки 2. Шток 7 соединен своим внутренним концом с клином 6. Шток 7 выполнен с возможностью перемещать запорный элемент и перекрывать поток текучей среды между патрубками 4 и 5 корпуса задвижки 2 при перемещении его вдоль воображаемой оси штока 7. На корпусе задвижки 2 (фиг. 1 и 2) закреплен при помощи при помощи двух цилиндрических направляющих 8 и 9 корпус 10 линейного актуатора 3. Воображаемые оси цилиндрических направляющих 8 и 9 параллельны воображаемой оси штока 7 и находятся с ней в одной воображаемой плоскости. Шток 7 расположен между цилиндрическими направляющими 8 и 9. Линейный актуатор 3 содержит толкатель 11. Внутренний конец толкателя 11 расположен в корпусе 10 линейного актуатора 3. Воображаемая ось толкателя 11 совпадает с воображаемой осью штока 7. Линейный актуатор 3 выполнен с возможностью линейного перемещения толкателя 11 вдоль воображаемой оси штока 7. На внешнем конце штока 7 закреплена соединительная деталь 12 штока 7, а на внешнем конце толкателя 11 - соединительная деталь 13 толкателя 7. Также задвижка 1 снабжена стержнем 14 с рукояткой 15, обеспечивающим возможность скрепления соединительной детали 13 толкателя 7 и соединительной детали 12 штока 7 между собой. В соединительной детали 12 штока 7 выполнено отверстие 16. В соединительной детали 13 толкателя 11 выполнено отверстие 17. Отверстие 16 в соединительной детали 12 штока 7 перпендикулярно оси штока 7, а отверстие 17 в соединительной детали 13 толкателя 11 перпендикулярно оси толкателя 11. Воображаемые оси отверстий 16 и 17 в соединительных деталях штока 7 и толкателя 11 расположены в одной воображаемой плоскости. Стержень 14 выполнен с возможностью проникать одновременно в отверстие 17 соединительной детали 13 толкателя 11 и в отверстие 16 соединительной детали 12 штока 7. На стержне 14 выполнены две канавки 18 и 19 для фиксации его в двух положениях. В соединительной детали 12 штока расположен шариковый фиксатор 20, состоящий из пружины, шарика и заглушки. Первое положение стержня 14, в котором шарик шарикового фиксатора находится в канавке 18 (фиг. 2, 6 и 7) соответствует скрепленному состоянию соединительной детали 13 толкателя 7 и соединительной детали 12 штока 7 между собой. Второе положение стержня 14, в котором шарик шарикового фиксатора находится в канавке 19 (фиг. 8 и 9) соответствует открепленному состоянию соединительной детали 13 толкателя 7 от соединительной детали 12 штока 7. В соединительной детали 12 штока 7 выполнено углубление 21 вдоль воображаемой оси штока 7, которое обеспечивает возможность осевого перемещения штока 7 между его крайними положениями при открепленных друг от друга соединительных деталях толкателя 11 и штока 7. Также углубление 21 обеспечивает возможность осевого перемещения толкателя 11 между его крайними положениями при открепленных друг от друга соединительных деталях толкателя 11 и штока 7. Соединительная деталь 12 штока 13 снабжена зубчатой рейкой 22 (фиг. 3), которая параллельна воображаемой оси штока 7. На корпусе задвижки 1 и/или на корпусе линейного актуатора 10 закреплен короткий вал 23 (фиг. 3, 4, 5) с возможностью осевого вращения без возможности линейного перемещения относительно корпуса. На коротком валу закреплена шестерня 24, которая своими зубьями находится в зацеплении с зубчатой рейкой 22. Короткий вал 23 снабжен средством его вращения. На фиг. 4 изображено шлицевое средство вращения короткого вала - шлицы 25. На шлицы может быть насажен маховик 26 или рукоять 27 (фиг. 5). На фиг. 5 изображено иное шлицевое средство вращения короткого вала - шпоночный паз со шпонкой 28. На шпонку может быть насажена рукоять 27 или маховик 26 (фиг. 4). Дополнительно может быть введена коническая зубчатая пара 29, 30 и длинный вал 31 (фиг. 3, 4, 5). Первое колесо 29 конической зубчатой пары закреплено на коротком валу 23, а второе колесо 30 - на конце длинного вала 31. Длинный вал 31 закреплен вдоль воображаемой оси штока 7 с возможностью осевого вращения и снабжен средством его вращения. На фиг. 3 изображено возможное средство вращения длинного вала 31 - шлицы 32. На шлицы насажен маховик 33. Также может быть применено иное средство вращения длинного вала 31 – шпоночный паз со шпонкой. Для вращения длинного вала 31 может быть применена рукоять. Фиг. 4 изображает разрез кожуха 34 короткого вала 23 задвижки 1, изображенного на фиг. 3. Втулка 35 короткого вала 23 имеет шлицевое отверстие 36. Его шлицы соединены со шлицами короткого вала 23. Втулка 35 находится в зацеплении своими кулачками 37 с кулачками 38 шестерни 24. Для фиксации втулки 35 на коротком валу 23 выполнены канавки 39, а во втулке 35 размещен шариковый фиксатор 40. Фиг. 5 изображает разрез кожуха 34 короткого вала 23 задвижки 1, изображенного на фиг. 3. Втулка 35 короткого вала 23 выведена из зацепления с шестерней 24 – кулачки 37 втулки 35 не зацеплены с кулачками 38 шестерни 24. Шестерня 24 имеет возможность осевого вращения относительно короткого вала 23. На фиг. 8 изображено состояние задвижки при отказе линейного привода в заднем положении, когда толкатель 11 находится большей частью внутри корпуса 10 линейного актуатора. Задвижка 1 при этом закрыта. В качестве запорного элемента применен параллельный затвор 41. Соединительные детали штока 7 и толкателя 11 откреплены друг от друга. В качестве линейного актуатора применен пневматический цилиндр 42. На фиг. 9 изображено состояние задвижки при отказе линейного привода в переднем положении, когда толкатель 11 находится большей частью вне корпуса 10 линейного актуатора. Задвижка 1 при этом открыта. В качестве запорного элемента применен клин 6. Соединительные детали штока 7 и толкателя 11 откреплены друг от друга. Углубление 21 в соединительной детали 12 штока 7 обеспечивает возможность расположения штока 7 в крайнем положении, соответствующем отрытому состоянию задвижки 1. В качестве линейного актуатора применен гидравлический цилиндр 43. Линейный актуатор 3 может быть пьезоэлектрическим линейным шаговым двигателем (фиг. 2). Внутри корпуса 10 расположен бегун 44, секции которого соединены проводами 45. Бегун 44 изображен в неразрезанном виде. Провода выходят наружу из корпуса 10 через полый шток 7, радиальное отверстие 46 в нем и входят в электронный блок 47 (фиг. 1, 3). Линейный актуатор 3 может быть магнитострикционным линейным шаговым двигателем (фиг. 6). Внутри корпуса 10 расположен бегун 48, секции которого соединены проводами 49. Бегун 48 изображен в неразрезанном виде. Провода выходят наружу из корпуса 10 через полый шток 7, радиальное отверстие 46 в нем и входят в электронный блок 47. Провода внутри штока 7 и снаружи не изображены. Также линейный актуатор 3 может быть пневматическим цилиндром 50 (фиг. 8) или гидравлическим цилиндром 51 (фиг. 9). Бегун 44 пьезоэлектрического линейного шагового двигателя представлен на фиг. 10 в той проекции, в которой он изображен на фиг. 2. Бегун 44 состоит из передней распорной секции 53, ходовой секции 54 и задней распорной секции 55. В каждой секции расположены пьезопакеты, собранные из пластин пьезоэлектрического материала 56 и электродов 57. Сборка и все соединения пьезопакета выполнены по известному из уровня техники правилу, с учетом чередования направления поляризации пластин пьезоэлектрического материала 56 по высоте (длине) актуатора. В каждой распорной секции 53 и 55 может быть расположено несколько пьезопакетов параллельно. Передняя распорная секция 53 выполнена с возможностью затормаживать передний конец ходовой секции 54 в корпусе 10 (фиг. 2) при ее подключении к источнику электрического напряжения, а также растормаживать передний конец ходовой секции 54 (фиг. 10) в корпусе 10 при ее отключении от источника электрического напряжения. Ходовая секция 54 выполнена с возможностью увеличения своей длины в направлении перемещения запорного элемента при ее подключении к источнику электрического напряжения, а также восстановления своей длины в том же направлении при ее отключении от источника электрического напряжения. Задняя распорная секция 55 выполнена с возможностью затормаживать задний конец ходовой секции 54 в корпусе 10 при ее подключении к источнику электрического напряжения, а также растормаживать задний конец ходовой секции 54 в корпусе 10 при ее отключении от источника электрического напряжения. Бегун 44 пьезоэлектрического линейного шагового двигателя, изображенный на фиг. 2 и 10, но в ортогональной проекции, представлен на фиг. 11. Бегун 48 магнитострикционного линейного шагового двигателя представлен на фиг. 12 в той проекции, в которой он изображен на фиг. 6. Бегун 48 состоит из передней распорной секции 58, ходовой секции 59 и задней распорной секции 60. В каждой секции расположены стержни магнитострикционного материала 61 с катушками индуктивности 62. Передняя распорная секция 58 выполнена с возможностью затормаживать передний конец ходовой секции 59 в корпусе 10 (фиг. 6) при ее подключении к источнику электрического напряжения, а также растормаживать передний конец ходовой секции 58 (фиг. 12) в корпусе 10 при ее отключении от источника электрического напряжения. Ходовая секция 59 выполнена с возможностью увеличения своей длины в направлении перемещения запорного элемента при ее подключении к источнику электрического напряжения, а также восстановления своей длины в том же направлении при ее отключении от источника электрического напряжения. Задняя распорная секция 60 выполнена с возможностью затормаживать задний конец ходовой секции 59 в корпусе 10 при ее подключении к источнику электрического напряжения, а также растормаживать задний конец ходовой секции 59 в корпусе 10 при ее отключении от источника электрического напряжения. Бегун 48 магнитострикционного линейного шагового двигателя, изображенный на фиг. 6 и 12, но в ортогональной проекции, представлен на фиг. 13. Устройство работает следующим образом. Для открытия задвижки 1, изображенной на фиг. 1, 2 и 3 секции бегуна 44 пьезоэлектрического линейного шагового двигателя при посредстве электронного блока 47 (фиг. 1 и 3) подключают к источнику электрического напряжения и отключают от него в определенной последовательности. Вначале заднюю распорную секцию 55 подключают к источнику напряжения, в результате чего на ее электродах 57 (фиг. 10) ее пьезопакета возникает электрический потенциал. Этот электрический потенциал создает в пластинах пьезоэлектрического материала 56 электрическое поле, отчего пластины 56 стремятся увеличить свою толщину. Однако в силу жесткости конструкции распорной секции 55 она распирается в корпусе 10 (фиг. 2). Соответственно задний конец ходовой секции 54 затормаживается в корпусе 1. Ходовую секцию 54 подключают к источнику напряжения, в результате чего на электродах 57 (фиг. 10 и 11) возникает электрический потенциал. Этот электрический потенциал создает в пластинах пьезоэлектрического материала 56 ее пьезопакета электрическое поле, отчего пластины 56 увеличивают свою толщину. Соответственно, ходовая секция 54 увеличивает свою длину в направлении перемещения клина 6 (фиг. 2 и 3). Переднюю распорную секцию 53 подключают к источнику напряжения, в результате чего на электродах 57 (фиг. 10) ее актуатора возникает электрический потенциал. Этот электрический потенциал создает в пластинах пьезоэлектрического материала 56 ее пьезопакета электрическое поле, отчего пластины 56 стремятся увеличить свою толщину. Однако в силу жесткости конструкции распорной секции 53 она распирается в корпусе 10 (фиг. 2). Соответственно, передний конец ходовой секции 54 затормаживается в корпусе 10 таким же образом, как был заторможен ее задний конец. Заднюю распорную секцию 55 (фиг. 10 и 11) отключают от источника напряжения, в результате чего задний конец ходовой секции 54 растормаживается в корпусе 10 - секция 55 перестает давить на стенки корпуса 10 изнутри. Ходовую секцию 54 отключают от источника напряжения, в результате чего она восстанавливает (уменьшает) свою длину в направлении перемещения клина 6. При этом клин 6, будучи в данное мгновение соединенным через шток 7, заднюю 55 и ходовую 54 секции бегуна 44 с заторможенной в корпусе 10 передней распорной секцией 53, перемещается на некоторое расстояние относительно корпуса 10. Заднюю распорную секцию 55 вновь подключают к источнику напряжения. Переднюю распорную секцию 53 отключают от источника напряжения. Последовательность подключения и отключения секций бегуна 44 (фиг. 2, 10, 11) повторяют вышеописанным образом, в результате чего он движется в направлении от запорного органа, увлекая за собой соединенный с ним толкатель 11 и соединительную деталь 13. Это движение состоит из коротких периодов поступательного движения и коротких периодов неподвижного состояния. Соответственно, соединительная деталь 13 движет в том же направлении соединительную деталь 12 вместе со штоком 7 благодаря тому, что их скрепляет стержень 14. Шариковый фиксатор 20 помогает стержню 14 удержаться в этом положении. А шток 7, соединенный с запорным элементом – клином 6 – движет его за собой и открывает задвижку 1. Шестерня 24 при этом вращается на коротком валу 23, будучи в зацеплении с зубчатой рейкой 22 (фиг. 5). Но короткий вал 23 остается неподвижным, поскольку втулка 35 не связывает между собой шестерню 24 и короткий вал 23. Шариковый фиксатор 40 помогает втулке 35 удержаться в этом положении. Закрытие задвижки 1 при помощи линейного актуатора 3 осуществляют аналогичным образом. Однако, если по какой-либо причине линейный актуатор 3, выполненный, например, в виде пьезоэлектрического линейного шагового двигателя, перестает функционировать или к нему перестает поступать электрическая энергия для перемещения бегуна 44 и толкателя 11, задвижка 1 не может сработать. В таком случае открепляют друг от друга соединительные детали 13 и 12 соответственно толкателя 11 и штока 7. Для этого за рукоятку 15 вытягивают стержень 14 до положения, в котором он выходит из отверстия 17 соединительной детали 13 толкателя 11, оставаясь при этом в отверстии 16 соединительной детали 12 штока 7. Шариковый фиксатор 20 помогает стержню 14 удержаться в этом положении. После этого соединяют между собой шестерню 24 и короткий вал 23 при помощи втулки 35. Для этого перемещают ее по шлицевому короткому валу 23 до положения, в котором своими кулачками 37 она входит в зацепление с кулачками 38 шестерни 24. Шариковый фиксатор 40 помогает втулке 35 удержаться в этом положении. Для ручного открытия задвижки 1 вращают короткий вал 23 при помощи маховика 26 (фиг. 4) или рукояти (фиг. 5), в результате чего вращается шестерня 24 и перемещает при посредстве зубчатой рейки 22 соединительную деталь 12 штока 7, а вместе с ними и запорный элемент задвижки 1 - клин 6 (фиг. 2, 3). Также открывание задвижки можно осуществить вращением маховика 33 (фиг. 1, 3), связанного с ним длинного вала 31 и конической зубчатой пары 30 и 29 (фиг. 4). Поскольку первое колесо 29 конической зубчатой пары закреплено на коротком валу 23, это обеспечит его вращение и открытие задвижки 1. Закрытие задвижки 1 вручную осуществляют аналогичным образом. Использование в промышленности Наиболее успешно заявленное устройство может быть использовано в промышленности в системах трубопроводного транспорта. Изобретение было раскрыто выше со ссылкой на конкретные варианты его осуществления. Для специалистов могут быть очевидны и иные варианты осуществления изобретения, не меняющие его сущности, как она раскрыта в настоящем описании. Соответственно, изобретение следует считать ограниченным по объему только нижеследующей формулой изобретения.