патент
№ RU 228987
МПК C02F1/78

Устройство озонирования воды

Авторы:
Елфимов Алексей Иванович
Номер заявки
2024106607
Дата подачи заявки
14.03.2024
Опубликовано
18.09.2024
Страна
RU
Как управлять
интеллектуальной собственностью
Чертежи 
1
Реферат

[34]

Полезная модель относится к химической промышленности, в частности к установкам для озонирования воды, преимущественно, рыбоводного бассейна. Техническим результатом полезной модели является повышение эффективности озонирования воды. Установка озонирования воды содержит корпус, оснащенный узлом подачи исходного газа на озонирование и узлом выхода озона, при этом в корпусе установлены три реактора генерации озона, входной патрубок которых параллельно соединен с узлом подачи исходного газа на озонирование трубопроводом подачи исходного газа на озонирование, а выходной патрубок указанных реакторов параллельно соединен с трубопроводом подачи озона.

Формула изобретения

1. Устройство озонирования воды, содержащее корпус, оснащенный узлом подачи исходного газа на озонирование и узлом выхода озона, при этом в корпусе установлены три реактора генерации озона, входные патрубки которых параллельно соединены с узлом подачи исходного газа на озонирование трубопроводом подачи исходного газа на озонирование, а выходные патрубки указанных реакторов параллельно соединены с трубопроводом подачи озона, причем выходные патрубки реакторов генератора озона оснащены датчиками концентрации озона.

2. Устройство по п. 1, отличающееся тем, что корпус оснащен контроллером управления, выполненным с возможностью управления работой реакторов генерации озона при помощи внешнего датчика концентрации озона в воде.

3. Устройство по п. 2, отличающееся тем, что корпус оснащен блоком управления и индикации, выполненным с возможностью дистанционного управления контроллером управления блоком дистанционного управления.

4. Устройство по п. 3, отличающееся тем, что корпус оснащен блоком дистанционного управления, выполненным с возможностью удаленного управления блоком управления и индикации, расположенным на корпусе.

5. Устройство по п. 1, отличающееся тем, что трубопровод подачи исходного газа на озонирование оснащен безмасляным компрессором.

Описание

[1]

ОБЛАСТЬ ТЕХНИКИ

[2]

Полезная модель относится к химической промышленности, в частности к установкам для озонирования воды, преимущественно, рыбоводного бассейна.

[3]

УРОВЕНЬ ТЕХНИКИ

[4]

Известна установка озонирования воды, раскрытая в RU 2196741 С1, опубл. 20.01.2003. Установка озонирования воды содержит озонатор с устройством электропитания, блок осушки рабочего газа в виде сосуда для промывки газа, заполненного гигроскопической жидкостью, регулировочный вентиль, эжектор и дегазатор, газовая полость которого через блок осушки и озонатор соединена с приемной камерой эжектора. При этом установка оснащена байпасным трубопроводом, соединяющим газовую полость дегазатора с приемной камерой эжектора, на котором установлен регулировочный вентиль.

[5]

Недостатком раскрытого выше технического решения является отсутствие регулировки производительности. Кроме того, применение одного озонатора с устройством электропитания снижает надежность устройства.

[6]

Кроме того, из уровня техники известна установка озонирования воды, раскрытая в RU 2236385 С1, опубл. 20.09.2004, прототип. Установка для озонирования воды, содержащая устройство осушки воздуха с магистралью вакуумирования, генератор озона, струйный насос и контактную камеру, отличающаяся тем, что устройство осушки воздуха выполнено в виде установки короткоцикловой безнагревной адсорбции, магистраль вакуумирования которой соединена со струйным насосом, к которому подсоединены также газовые выходы генератора озона.

[7]

Недостатком раскрытого выше технического решения является отсутствие регулировки производительности. Кроме того, применение одного озонатора с устройством электропитания снижает надежность устройства.

[8]

РАСКРЫТИЕ ПОЛЕЗНОЙ МОДЕЛИ

[9]

Задачей заявленной полезной модели является разработка установка озонирования воды с высокой эффективностью озонирования воды.

[10]

Техническим результатом изобретения является повышение эффективности озонирования воды.

[11]

Указанный технический результат достигается за счет того, что установка озонирования воды содержит корпус, оснащенный узлом подачи исходного газа на озонирование и узлом выхода озона, при этом в корпусе установлены три реактора генерации озона, входной патрубок которых параллельно соединен с узлом подачи исходного газа на озонирование трубопроводом подачи исходного газа на озонирование, а выходной патрубок указанных реакторов параллельно соединен с трубопроводом подачи озона.

[12]

Выходные патрубки реакторов генератора озона оснащены датчиками концентрации озона.

[13]

Корпус оснащен контролером управления, выполненный с возможностью управления работой реакторов регенерации озона при помощи внешнего датчика концентрации озона в воде.

[14]

Корпус оснащен блоком управления и индикации, выполненный с возможностью дистанционного управления контролером управления блоком дистанционного управления.

[15]

Корпус оснащен блоком дистанционного управления, выполненным с возможностью удаленного управления блоком управления и индикации, расположенным на корпусе.

[16]

Трубопровод подачи исходного газа на озонирование оснащен безмасляным компрессором.

[17]

КРАТКОЕ ОПИСАНИЕ ЧЕРТЕЖЕЙ

[18]

Полезная модель будет более понятной из описания, не имеющего ограничительного характера и приводимого со ссылками на прилагаемые чертежи, на которых изображено:

[19]

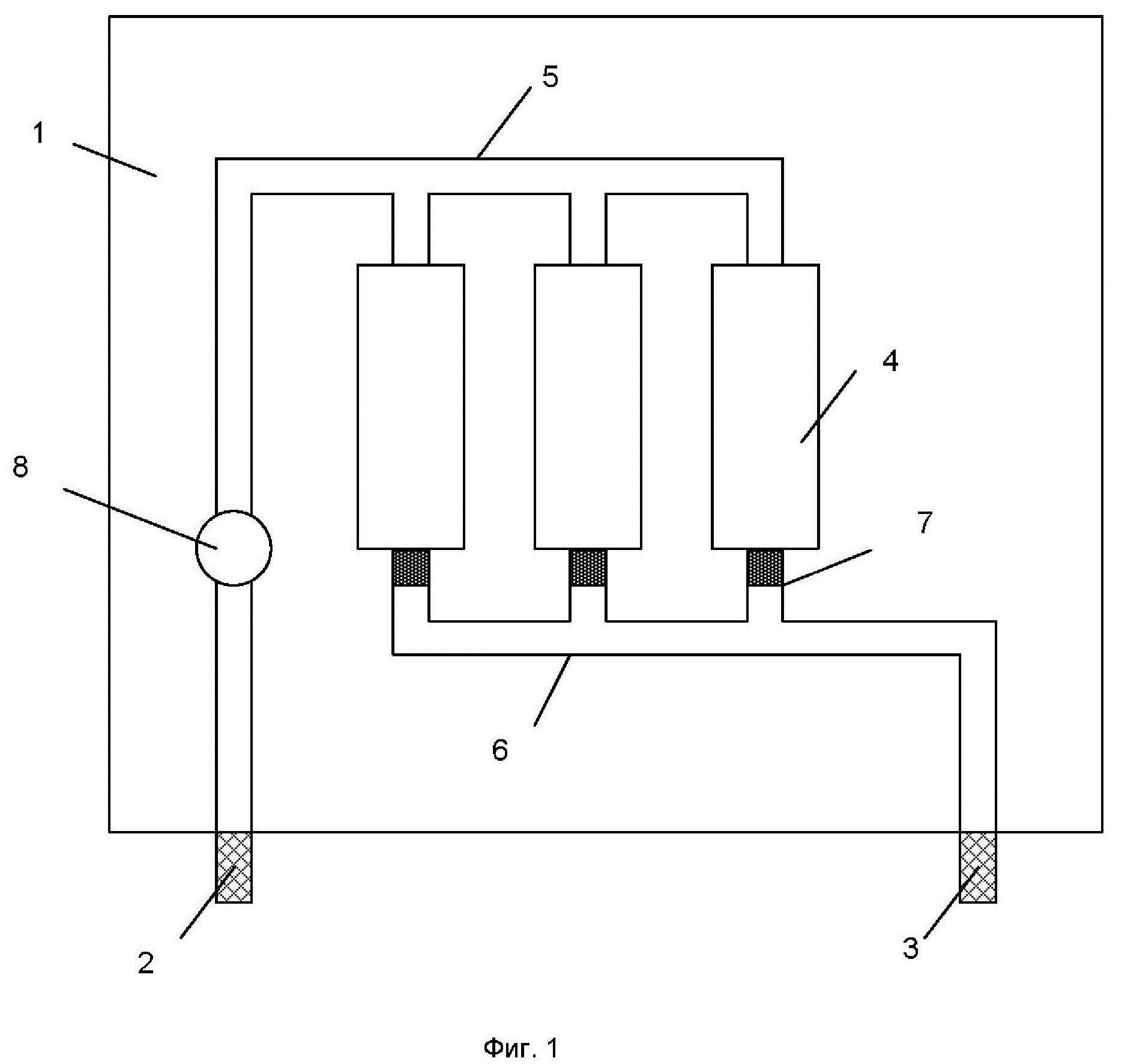
Фиг. 1 - Заявленная установка

[20]

1 - корпус; 2 - узел подачи исходного газа на озонирование; 3 - узел выхода озона; 4 - реактор генерации озона; 5 - трубопровод подачи исходного газа на озонирование; 6 - трубопровод подачи озона; 7 - датчик концентрации озона; 8 - безмасляный компрессор.

[21]

ОСУЩЕСТВЛЕНИЕ ПОЛЕЗНОЙ МОДЕЛИ

[22]

Установка озонирования воды содержит корпус (1), оснащенный узлом (2) подачи исходного газа на озонирование и узлом (3) выхода озона. Указанные узлы (2, 3) врезаны в корпус. В корпусе установлены (например, закреплены на каркасе корпуса) три реактора (4) генерации озона, входной патрубок которых параллельно соединен с узлом (2) подачи исходного газа на озонирование трубопроводом (5) подачи исходного газа на озонирование, а выходной патрубок указанных реакторов (4) параллельно соединен с трубопроводом (7) подачи озона.

[23]

Выходные патрубки реакторов генератора озона оснащены датчиками (7) концентрации озона.

[24]

Корпус (1) оснащен контролером управления, выполненный с возможностью управления работой реакторов (4) регенерации озона при помощи внешнего датчика концентрации озона в воде.

[25]

Корпус (1) оснащен блоком управления и индикации, выполненный с возможностью дистанционного управления контролером управления блоком дистанционного управления.

[26]

Корпус (1) оснащен блоком дистанционного управления, выполненным с возможностью удаленного управления блоком управления и индикации, расположенным на корпусе (1).

[27]

Трубопровод (5) подачи исходного газа на озонирование оснащен безмаслянным компрессором (8).

[28]

Заявленная установка работает следующим образом.

[29]

Исходный газ (например, смесь воздуха и кислорода) поступает узел подачи исходного газа на озонирование, далее при помощи безмасляного компрессора (8) по трубопроводу (5) подачи исходного газа на озонирование осуществляют подачу под давлением исходного газа (воздух или кислород) в ректоры (4) генерации озона, в которые подается напряжение 6 кВ от высоковольтных блоков питания указанных реакторов (5). Между электродами реактора в барьерном зазоре из кварцевого стекла возникает импульсный коронный разряд. Под воздействием электрических разрядов молекулы кислорода расщепляются (диссоциация электронным ударом) с последующим образованием озона. Произведенный озон в виде озоно-воздушной смеси по трубопроводу (6) подачи озона поступает на узел (3) выхода озона и далее по внешнему трубопроводу на озонирование воды, например, в бассейн для рыбы. За счет безмасляного компрессора (8), который за счет прокачки исходного газа до реакторов (4) генерации озона и через указанные реакторы (4), позволяет подавать озоно-воздушную смесь в воду.

[30]

На выходном патрубке каждого реактора (4) генерации озона смонтированы пороговые датчики (7) концентрации озона, благодаря которым осуществляется контроль работоспособности каждого реактора озона. Контроль за концентрацией озона в воде, например в бассейне для рыбы, осуществляется внешним датчиком концентрации озона, установленного в воде. Данные о концентрации озона воде по обратной связи поступают в контроллер управления, который в свою очередь регулирует производительность реакторов (4) генерации озона для поддержания необходимой концентрации озона в озоно-воздушной смеси. Вся информация о состоянии установки озонирования, исправности реакторов (4) генерации озона, концентрации озона в воде через блок дистанционного управления поступает оператору по сети Internet. Управление, регулировка индикация производится блоком управления и индикации, расположенным на корпусе установки озонирования воды или удаленно по командам оператора.

[31]

Наличие трех реакторов озонирования воды позволяет в случае выхода из строя одного из них продолжать осуществлять озонирования воды, что позволяет не снижать эффективности озонирования воды и обеспечить непрерывную работоспособность установки.

[32]

Наличие датчик (7) концентрации озона позволяет отследить необходимую концентрацию озона озоно-воздушной смеси, необходимой для эффективного озонирования, воды и в случае ее снижения обеспечить меры по ее увеличению до необходимого значения, что позволяет повысить эффективность озонирования воды. Кроме того, датчик (7) концентрации озона позволяет оценить выход из строя реакторагенерации озона, что позволяет отключить его для ремонта или профилактики, следовательно, обеспечить непрерывную работоспособность установки.

[33]

Полезная модель была раскрыта выше со ссылкой на конкретный вариант ее осуществления. Для специалистов могут быть очевидны и иные варианты осуществления полезной модели, не меняющие ее сущности, как она раскрыта в настоящем описании. Соответственно, полезную модель следует считать ограниченным по объему только нижеследующей формулой полезной модели.

Как компенсировать расходы
на инновационную разработку
Похожие патенты