Полезная модель относится к области строительства, а именно к проектированию и возведению узла сопряжения стальных колонн со сборно-монолитными железобетонными фундаментами. Техническое решение заключается в повышении прочности и жесткости подколонника стальной колонны, повышении надежности работы элементов узла сопряжения. Узел сопряжения включает в себя укороченные анкерные болты-шпильки, соединенные сварным швом с верхом металлической трубы подколонника. Анкерные болты-шпильки пропущены через предусмотренные отверстия опорного кольца базы колонны, навинчиванием высоких гаек на болты-шпильки, приводят узел сопряжения в работу. 8 з.п. ф-лы, 3 ил.
1. Узел сопряжения стальной колонны с железобетонным фундаментом, включающий развитой подколонник, оборудованный анкерными болтами для крепления опорной пластины базы стальной колонны и ребра жесткости, отличающийся тем, что развитый подколонник выполнен в виде тонкостенной металлической трубы, заполненной конструктивным бетоном высокой прочности, при этом анкерные болты выполнены в виде укороченных анкерных болтов-шпилек, закрепленных с помощью сварного шва в верхней части металлической трубы, а опорная пластина базы колонны выполнена в виде опорного кольца с отверстиями для пропуска анкерных болтов-шпилек, оборудованных высокими гайками и упругими шайбами. 2. Узел сопряжения по п. 1, отличающийся тем, что расчетное сопротивление бетона и его класс по прочности на сжатие ( 3. Узел сопряжения по пп. 1 и 2, отличающийся тем, что коэффициент условий работы металла ( 4. Узел сопряжения по пп. 1 и 2, отличающийся тем, что площадь сечения металла трубы ( 5. Узел сопряжения по п. 1, отличающийся тем, что толщина опорного кольца базы стальной колонны назначена конструктивно в пределах 6. Узел сопряжения по п. 1, отличающийся тем, что число укороченных анкерных болтов-шпилек и их диаметр определены по расчету на срез, сжатие или растяжение. 7. Узел сопряжения по п. 1, отличающийся тем, что укороченные анкерные болты-шпильки соединены с тонкостенной металлической трубой подколонника двусторонним прерывистым угловым сварным швом: катет шва 8. Узел сопряжения по п. 1, отличающийся тем, что металлическая труба подколонника на уровне обреза фундамента соединена по периметру с опорным кольцом базы стальной колонны односторонним прерывистым сварным швом встык: катет шва 9. Узел сопряжения по п. 1, отличающийся тем, что ребра жесткости и опорное кольцо базы колонны соединены между собой двусторонним сварным швом: катет шва
) определены по уравнению
, где
- продольная сила, действующая на обрез фундамента, кН;
и
- коэффициенты условий работы бетона и металла трубы на сжатие в составе трубобетона:
;
;
- расчетное сопротивление металла трубы на сжатие, МПа;
и
- площадь сечения металла трубы и площадь бетона, мм2.
) в составе трубобетона вычислен с использованием уравнений
;
, где
- расчетное сопротивление металла трубы на сжатие в составе трубобетона, МПа;
- расчетное сопротивление металла трубы на сжатие, МПа;
- эксцентриситет приложения продольной силы на обрез фундамента, мм;
- наружный диаметр металлической трубы, мм;
- толщина металла трубы, мм.
) вычислена по уравнению
, где
и
- радиусы трубы наружный и внутренний, мм.
, а площадь опорного кольца базы стальной колонны принята исходя из условий сжатия бетона под опорным кольцом.
, длина шва
.
, длина шва
.
.
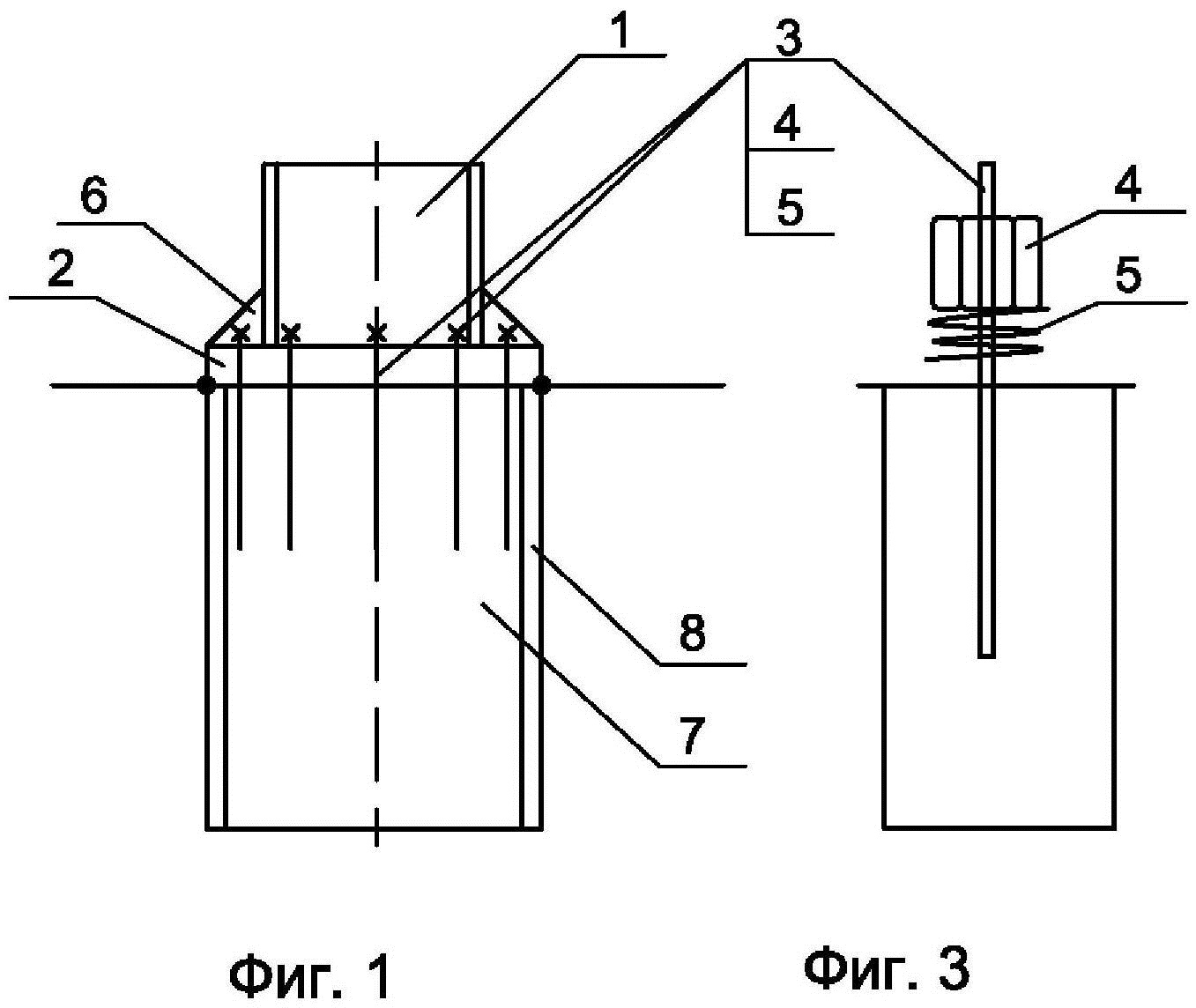
Полезная модель относится к области строительства, а именно к устройству узлов сопряжения стальных колонн со сборно-монолитными железобетонными фундаментами. Известен узел стыка сборной колонны с фундаментом, в котором сопряжение сборной колонны с плитной частью фундамента выполнено анкерными болтами, пропущенными через стальную пластину плитной части; в верхней части анкерных болтов выполнена резьба, а нижняя часть - в виде полукольца; закладная деталь в торце колонны выполнена в виде торцевой пластины с отверстиями под анкерныеболты / Патент на ПМ 128636 МПК Е04 В 1/38; Узел стыка сборной железобетонной колонны с фундаментом / Матвеев А.В., Пермяков В.Л., Родевич В.В.; заяв. 09.01.2013, опуб. 27.05.2013, Бюл. №15.[1]. Недостатком этого узла сопряжения является высокий расход металла на изготовление стандартных анкерных болтов, сложность изготовления башмака (базы) колонны, нет обоснований принятых размеров элементов узла стыка. Известно сопряжение (опирание) стальных конструкций колонны на железобетонный фундамент, включающее размещение типовых анкерных болтов для крепления металлоконструкции башмака (базы) стальной колонны; анкерные болты приняты диаметром Недостатками известного узла сопряжения является большая трудоемкость, большой расход стали на изготовление анкерных болтов, не рациональное конструирование элементов узла сочленения, использование низкого класса бетона по прочности на сжатие для изготовления подколонника, как правило, только прямоугольного сечения; не проработаны детально конструирование верхней части фундамента и узла сопряжения со стальной колонной в зависимости от способа опирания стального башмака на фундамент и метода монтажа колонны. Сущность полезной модели заключается в совершенствовании конструкции узла сопряжения стальной колонны с железобетонным фундаментом, в повышении надежности работы элементов узла сопряжения. Технический результат - повышение прочности и жесткости подколонника стальной колонны, повышение надежности работы элементов узла сопряжения. Технический результат достигается тем, что в известном узле сопряжения стальной колонны с железобетонным фундаментом, включающем развитой подколонник, оборудованный анкерными болтами для крепления опорной пластины базы стальной колонны и ребра жесткости, особенностью является то, что развитый подколонник выполнен в виде тонкостенной металлической трубы, заполненной конструктивным бетоном высокой прочности, при этом анкерные болты выполнены в виде укороченных анкерных болтов-шпилек, закрепленных с помощью сварного шва в верхней части металлической трубы, а опорная пластина базы колонны выполнена в виде опорного кольца с отверстиями для пропуска анкерных болтов-шпилек, оборудованных высокими гайками и упругими шайбами. Расчетное сопротивление бетона и его класс по прочности на сжатие ( где Коэффициент условий работы металла ( где Площадь сечения металла трубы ( где Толщина опорного кольца базы стальной колонны назначена конструктивно в пределах Число укороченных анкерных болтов-шпилек и их диаметр определены по расчету на срез, сжатие или растяжение. Укороченные анкерные болты-шпильки соединены с тонкостенной металлической трубой подколонника двусторонним прерывистым угловым сварным швом: катет шва Металлическая труба подколонника на уровне обреза фундамента соединена по периметру с опорным кольцом базы стальной колонны односторонним прерывистым сварным швом встык: катет шва Ребра жесткости и опорное кольцо базы колонны соединены между собой двусторонним сварным швом: катет шва На фиг. 1 изображен боковой вид узла сопряжения стальной колонны с трубобетонным подколонником составного внецентренно-сжатого железобетонного фундамента: 1 – стальная колонна; 2 – опорное кольцо базы стальной колонны; 3 – анкерный болт-шпилька; 4 – высокая гайка; 5 – упругая пружинная шайба; 6 – ребро жесткости базы стальной колонны δ = 10 мм; 7 – подколонник; 8 – металлическая труба, На фиг. 2 изображено опорное кольцо с 8 отверстиями, расположенными в средней части кольца на одинаковом расстоянии друг от друга: 2 – опорное кольцо базы стальной колонны; 6 – ребро жесткости базы стальной колонны δ = 10 мм; 8 –металлическая труба, На фиг. 3 изображена укороченная анкерная болт-шпилька для крепления стальной колонны: 3 – анкерный болт – шпилька; 4 – высокая гайка; 5 –упругая пружинная шайба. Узел сопряжения стальной колонны с железобетонным фундаментом включает в себя укороченные анкерные болты-шпильки – 3, выполненные из арматурных стержней и установленные в верхней части тонкостенной металлической трубы – 8. На верхней части анкерных болтов-шпилек – 3 выполнена метрическая резьба. Анкерные болты-шпильки – 3 пропущены через отверстия опорного кольца базы стальной колонны – 2. Анкерные болты-шпильки – 3 оборудованы крепежными высокими гайками – 4 и упругими пружинными шайбами – 5. Опорное кольцо базы стальной колонны – 2 оборудовано отверстиями для пропуска анкерных болтов-шпилек – 3. Ребра жесткости базы стальной колонны – 6 приварены по контуру сварными швами к стальной колонне – 1. Соединение анкерных болтов-шпилек – 3 с металлом трубы подколонника – 7 осуществлено двусторонним прерывистым сварным швом, толщина катета шва Монтаж узла сопряжения стальной колонны – 1 с подколонником – 7 составного железобетонного фундамента производят следующим образом. Вначале в составе заготовительного процесса изготовляют металлическую трубу – 8 подколонника – 7 и укороченные анкерные болты-шпильки – 3, оборудуя их типовыми высокими гайками – 4 и упругими пружинными шайбами – 5; изготовляют опорное кольцо базы стальной колонны – 2, просверливая восемь отверстий для последующего пропуска анкерных болтов-шпилек – 3; устанавливают с помощью сварных швов укороченные анкерные болты-шпильки – 3 на поверхности тонкостенной металлической трубы – 8 подколонника – 7; затем, выполняя монтажно-укладочные процессы, распределяют, укладывают до верха и уплотняют бетонную смесь в металлической трубе – 8 подколонника – 7. После набора прочности бетоном, стальная колонна – 1 монтируется на подготовленный подколонник – 7 путём установки базы стальной колонны, состоящей из опорного кольца – 2 и ребер жесткости – 6, на укороченные анкерные болты-шпильки – 3 и закручиванием высоких гаек – 4 присоединяют базу стальной колонны на верхнюю часть трубобетонного подколонника – 7. Затем проводят гидроизоляционные работы узла сопряжения стальной колонны – 1 с подколонником – 7 железобетонного фундамента. Анкерные болты-шпильки, пропущенные через предусмотренные отверстия опорного кольца базы колонны, посредством навинчивания высоких гаек на болты-шпильки, приводят узел сопряжения в работу. Причинно-следственная связь между совокупностью признаков и техническим результатом заключена в следующем: Использование несъемной тонкостенной металлической трубы в качестве опалубки для возведения подколонника фундамента приводит к увеличению его жёсткости и прочности за счёт оказания металлической трубой дополнительного сопротивления действующим нагрузкам. Повышение надежности работы элементов узла сопряжения обеспечивается конструктивными особенностями его исполнения, а именно использованием укороченных анкерных болтов-шпилек, закрепленных с помощью сварного шва в верхней части металлической трубы, которая в дальнейшем заполняется конструктивным бетоном высокой прочности; сопряжением опорной пластины базы стальной колонны с ребрами жёсткости с подколонником посредством анкерных болтов, оборудованных высокими гайками и упругими шайбами. Использование предлагаемого технического решения по проектированию и изготовлению элементов узла сопряжения стальной колонны с железобетонным подколонником фундамента позволяет увеличить прочность и жесткость подколонника за счет повышения надежности работы элементов узла сопряжения стальной колонны с железобетонным фундаментом. Источники информации: 1. Патент на ПМ 128 636; МПК Е04 Е 1/38; Узел стыка сборной железобетонной колонны с фундаментом. / Матвеев А.В., Пермяков В.Л., Родевич В.В.; заяв. 09.01.2013, опуб. 27.05.2013, Бюл. №15. 2. Руководство по конструированию бетонных и железобетонных конструкций из тяжелого бетона (без ПН) - М., CU, 1978, (рис.65 ÷ 67, с.84 ÷ 86).
, выступающая часть имеет нарезку длиной
, глубина заделки
; длина отгиба
; полная длина болтов
; анкерные болты устанавливаются в проектное положение и бетонируются одновременно с фундаментом / Руководство по конструированию бетонных и железобетонных конструкций из тяжелого бетона (без ПН) - М., Cтройиздат, 1978, (рис.65 ÷ 67,с.84 ÷ 86) / [2] - принят за прототип.
) определено по уравнению:
;
- продольная сила, действующая на обрез фундамента, кН;
и
- коэффициенты условий работы бетона и металла трубы на сжатие в составе трубобетона:
;
;
- расчетное сопротивление металла трубы на сжатие, МПа;
и
- площадь сечения металла трубы и площадь бетона, мм2.
) в составе трубобетона, вычислен с использованием уравнений:
;
;
- расчетное сопротивление металла трубы на сжатие в составе трубобетона, МПа;
- расчетное сопротивление металла трубы на сжатие, МПа;
- эксцентриситет приложения продольной силы на обрез фундамента, мм;
- наружный диаметр металлической трубы, мм;
- толщина металла трубы, мм.
) вычислена по уравнению:
и
- радиусы трубы наружный и внутренний, мм.
, а площадь опорного кольца базы стальной колонны принята исходя из условий сжатия бетона под опорным кольцом.
, длина шва
.
, длина шва
.
.
.
.
, соединение металлической трубы – 8 верха подколонника – 7 с опорным кольцом базы стальной колонны – 2 осуществлено односторонним прерывистым сварным швом, толщина катета шва
. Полость металлической трубы – 8 подколонника – 7 заполнена конструктивным бетоном повышенной прочности.