Полезная модель относится к области прикладного телевидения и может быть использована в системах телевизионной (ТВ) автоматики и автоматического регулирования, в следящих устройствах, различных системах технического зрения для определения дальности до объектов, их размеров, углового положения объектов в кадре на основе их ТВ изображений, выработки на основе углового отклонения объекта от заданного управляющих сигналов для управления линией визирования электронной стабилизации ТВ изображений и т.д. Технический результат - расширение функциональных возможностей по увеличению дальности обнаружения объектов заданного цвета за счет привлечения их пространственных признаков и осуществления автосопровождения объектов с формированием управляющих сигналов для электронного совмещения линии визирования изображения объекта с оптической осью ТВ камеры достигается тем, что в отличие от известного устройства для определения углового положения объектов заданного цвета, имеющего блоки и узлы, включающие спектрозональную ТВ камеру, аналого-цифровые преобразователи видеосигналов для формирования на их выходах цифровых сигналов в n-разрядном параллельном двоичном коде дешифраторами сигналов, объединенными в первую группу, и дешифраторами сигналов, объединенными во вторую группу, при этом выходы аналого-цифровых преобразователей видеосигналов соединены с соответствующими входами дешифраторов первой группы, выходы которых соединены со входами первого коммутатора сигналов заданного цвета, выходы которого соединены со входами вычислительного устройства, а также сумматор-коммутатор, на входы которого подаются видеосигналы со спектрозональной ТВ камеры, а его три выхода соединены со входами цветного видеоконтрольного устройства, кроме того, сигнал с вычислительного устройства поступает на вход знакогенератора, выход которого соединен с одним из входов сумматора-коммутатора, исполнительное устройство, соединенное с выходами вычислительного устройства, которое выполнено с возможностью определения углового отклонения объектов заданного цвета по углу «рыскания» и углу «тангажа», согласно полезной модели, дополнительно в него введены регулируемый блок формирования сигналов изображений типа «рамка» и «окошко», блок формирования сигналов изображений объектов заданных пространственных признаков, выход которого соединен со входом вычислительного устройства, а также второй коммутатор сигналов изображений, причем первый выход блока формирования измерительных сигналов, имеющий на первом выходе сигнал изображения типа «рамка», соединен с сумматором-коммутатором, а второй его выход, имеющий сигнал изображения типа «окошко», соединен с одним из входов вычислителя через второй коммутатор сигналов изображений, кроме того, один из выходов сумматора-коммутатора соединен с одним из входов вычислительного устройства, которое выполнено с возможностью определения также задаваемых пространственных признаков объектов, при этом один из выходов исполнительного устройства соединен с платформой, на которой установлена спектрозональная ТВ камера, которая под воздействием исполнительного устройства на платформу может изменять свое положение по углу «рыскания» и углу «тангажа» для совмещения линии визирования изображения объекта и оптической оси ТВ камеры.
1. Устройство для определения углового положения объектов заданного цвета и пространственных признаков, имеющее блоки и узлы, включающие спектрозональную ТВ камеру, аналого-цифровые преобразователи видеосигналов для формирования на их выходах цифровых сигналов в n-разрядном параллельном двоичном коде дешифраторами сигналов, объединенных в первую группу, и дешифраторами сигналов, объединенных во вторую группу, при этом выходы аналого-цифровых преобразователей видеосигналов соединены с соответствующими входами дешифраторов первой группы, выходы которых соединены со входами первого коммутатора сигналов заданного цвета, выходы которого соединены со входами вычислительного устройства, а также сумматор-коммутатор, на входы которого подаются видеосигналы со спектрозональной телевизионной камеры, а его три выхода соединены со входами цветного видеоконтрольного устройства, кроме того, сигнал с вычислительного устройства поступает на вход знакогенератора, выход которого соединен с одним из входов сумматора-коммутатора, исполнительное устройство, соединенное с выходами вычислительного устройства, которое выполнено с возможностью определения углового отклонения объектов заданного цвета по углу «рыскания» и углу «тангажа», отличающееся тем, что в него дополнительно введены регулируемый блок формирования сигналов изображений типа «рамка» и «окошко», блок формирования сигналов изображений объектов заданных пространственных признаков, выход которого соединен со входом вычислительного устройства, а также второй коммутатор сигналов изображений, причем первый выход регулируемого блока формирования сигналов изображений, имеющий на первом выходе сигнал изображения типа «рамка», соединен с сумматором-коммутатором, а второй его выход, имеющий сигнал изображения типа «окошко», соединен с одним из входов вычислителя через второй коммутатор сигналов изображений, при этом один из выходов сумматора-коммутатора соединен с одним из входов вычислительного устройства, которое выполнено с возможностью определения также задаваемых пространственных признаков объектов, а также один из выходов исполнительного устройства соединен с платформой, на которой установлена спектрозональная телевизионная камера, которая под воздействием исполнительного устройства на платформу может изменять свое положение по углу «рыскания» и углу «тангажа» для совмещения линии визирования изображения объекта селекции и оптической оси телевизионной камеры. 2. Устройство по п. 1, отличающееся тем, что для надежного автосопровождения объекта заданного цвета и пространственных признаков, который изменяет свое местоположение, в вычислительном устройстве вырабатывается управляющий сигнал перемещения, который, воздействуя на регулируемый блок формирования сигналов изображений типа «рамка» и «окошко», изменяет их положения и размеры по полю ТВ изображения. 3. Устройство по п. 2, отличающееся тем, что управляющий сигнал перемещения воздействует на регулируемый блок формирования сигналов изображений типа «рамка» и «окошко» в течении времени Δti до тех пор, пока не изменится их местоположение по углу «рыскания» и углу «тангажа» в ТВ растре и объект селекции не будет в центре изображения типа «рамка», а центр изображения типа «рамка» не будет совмещен с центром оптической оси спектрозональной ТВ камеры на экране цветного ВКУ. 4. Устройство по п. 3, отличающееся тем, что линейный размер изображения типа «окошко» по строке и кадру выбирается больше отображаемого на экране цветного видеоконтрольного устройства изображения типа «рамка» на величину не менее, чем в 1,2 раза.
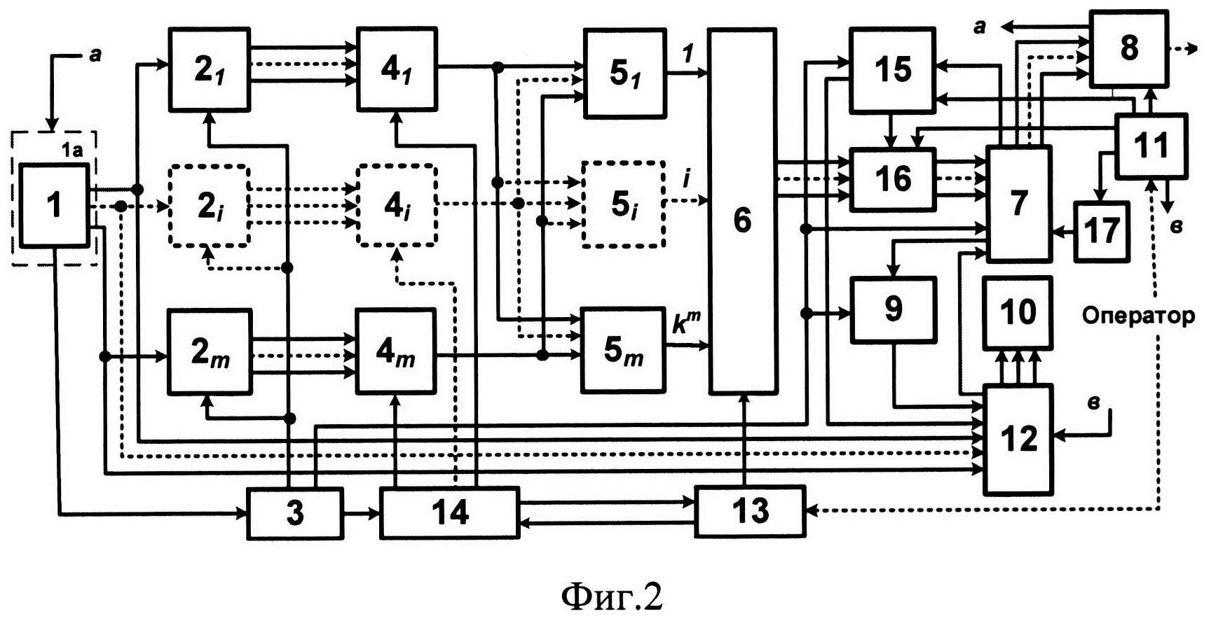
Полезная модель относится к области прикладного телевидения и может быть использована в системах телевизионной (ТВ) автоматики и автоматического регулирования, в следящих устройствах, различных системах технического зрения для определения дальности до объектов, их размеров, углового положения объектов в кадре на основе их ТВ изображений, выработки на основе углового отклонения объекта от заданного, управляющих сигналов для управления линией визирования электронной стабилизации ТВ изображений и т.д. Принципы определения параметров объектов на основе ТВ изображений нашли свое отражение в работах [1, 2]. Использование видеоинформации с ТВ камеры для вычисления параметров объектов может осуществляться в измерительной системе координат ТВ камеры Оху [3]. При этом, если х, у - измерительная система координат, центр которой О совмещен с центром рабочей поверхности матричного фотоприемника (МФП), то положение изображения центра объекта на МФП характеризуется координатами xi и yi. Если через центр МФП ТВ камеры проходит ось оптической системы, то координаты xi и yi, характеризуют угловое отклонение линии визирования объекта от оптической оси. Другими словами, текущие величины координат xi и yi характеризуют угол «рыскания» и угол «тангажа» объекта наблюдения (фиг. 1), а значения Δxi и Δyi расстояние от центра МФП до центра наблюдаемого объекта (объекта селекции). В работе [1] представлены ТВ устройства летательных аппаратов, где отражаются вопросы построения ТВ визиров или координаторов. В общем случае ТВ визир может измерять угловое отклонение объекта от оптической оси ТВ камеры в горизонтальной и вертикальной плоскостях и может осуществлять выработку сигналов управления по углу «рыскания» (влево-вправо) и углу «тангажа» (вверх-вниз) в измерительной систем координат ТВ камеры Оху. В ней также рассматриваются ТВ визиры с амплитудной, а также корреляционной обработкой видеосигналов применительно к обработке одноканальных черно-белых ТВ изображений, что является их недостатком. Это связано с тем, что необходимо использовать ТВ изображения с высокой контрастностью цели и фона. Недостаточный уровень освещенности объектов приводит к снижению уровня сигнала и контрастности ТВ изображения, что в конечном итоге влияет на точность определения координат и положения объекта в пространстве. Наиболее близким по совокупности операций и техническим признакам является устройство определения углового положения объектов заданного цвета, согласно патенту [4]. Структурная схема устройства для определения углового положения объектов заданного цвета и представляет собой ТВ автомат, имеющий блоки и узлы, включающие спектрозональную ТВ камеру, m - аналого-цифровых преобразователей (АЦП) видеосигналов, формирующих на своих выходах цифровые сигналы в n-разрядном двоичном коде и представленные в параллельном виде, первая группа m-дешифраторов сигналов, вторая группа m-дешифраторов сигналов, коммутатор выбора сигнала объектов заданного цвета, сумматор сигналов, знакогенератор, видеоконтрольное устройство (ВКУ), блоки и панель управления, исполнительное устройство, вычислительное устройство с возможностью определения углового отклонения αi объектов заданного цвета по углу рыскания (αх) и углу тангажа (αу). Принцип работы устройства заключается в следующем. Спектрозональная ТВ камера, осуществляет регистрацию лучистого потока отраженного от объектов в m-зонах спектрального участка от λ1 до λn, при этом m≥3. После преобразования лучистого потока осуществляется формирование m-спектрозональных видеосигналов U1(t), …, Ui(t)…, Um(t), каждый из которых поступает на вход своего АЦП и тем самым образуя m-информационных каналов. На выходах АЦП формируются цифровые сигналы в n-разрядном двоичном коде, которые представлены в параллельном виде. Они поступают на входы первой группы дешифраторов 41, … 4i, …, 4m, каждый из которых может быть настроен на определенную кодовую последовательность импульсов, поступающих от АЦП с помощью блока установки амплитуды входных сигналов в каждом информационном канале. При совпадение кодовой последовательности импульсов на выходе первой группы дешифраторов, формируются сигналы логической единицы "1" или нуля "0" в случае не совпадения. Эти сигналы поступают на вторую группу дешифраторов, каждый из которых на своем выходе формирует сигнал логической единицы "1" в случае совпадения определенной кодовой последовательности сигналов на ее входах. Далее сигналы логической единицы с выходов второй группы дешифраторов поступают на входы блока выборки (коммутатора) сигналов объектов заданного цвета. Этот блок выбора цвета объекта дает разрешение на коммутацию одного сигнала с 1, 2, …, i, …, 2m входа коммутатора на его выход. С выхода коммутатора сигнал логической единицы заданного цвета (заданной спектральной характеристики) объекта поступает на вход вычислительного устройства. Оператор может наблюдать на экране цветного видеоконтрольного устройства (ВКУ) все объекты, а также выделенный объект заданного цвета и его отображаемые параметры, формируемые с помощью знакогенератора. С выхода спектрозональной ТВ камеры поступают синхронизирующие импульсы на вход местного генератора тактовых и управляющих импульсов, с выхода которого поступают импульсы на вторые входы АЦП а также на соответствующие входы других вспомогательных блоков. С помощью пульта управления, оператор может изменять исходные данные и алгоритм работы вычислительного устройства. Как было ранее сказано, вычислительное устройство выполнено с возможностью определения углового отклонения αi объектов заданного цвета по углу «рыскания» (αх) и углу «тангажа» (αу). Это осуществляется на основе выражения где С=С1⋅С2 - постоянная величина, определяемая допустимыми углами измерения возможного отклонения объекта по углам рыскания и тангажа и априорно известными параметрами ТВ камеры; ΔZx и ΔZy - число элементов и строк приходящее на угловое отклонение линии визирования объекта от оптической оси ТВ камеры по горизонтали и вертикали. При этом значение постоянной величины С1 находится согласно на основе известных табличных тригонометрических функций для функции tg αi при принятых значениях возможного отклонения по углу рыскания и тангажа, например, когда 1°≤αi≤20°, где значения Ci определяются зависимостью а значение постоянной величины С2 определяется на основе выражения где X1 - линейный размер рабочей поверхности МФП по горизонтали или вертикали; Z - число активных строк в ТВ кадре; F - фокусное расстояние объектива спектрозональной ТВ камеры. Подсчет числа элементов и строк, приходящих на угловое отклонение линии визирования объекта от оптической оси ТВ камеры по горизонтали и вертикали ΔZx и ΔZy можно осуществить различными способами [3, 4], например, путем выделения длительности сигналов, от центра МФП до объекта. При этом длительность ТВ сигналов изображения по горизонтали (строке) и вертикали (кадру) может быть представлена в виде определенного числа стробирующих импульсов заданной частоты Следует отметить, что наблюдаемые объекты в спектрозональных ТВ изображениях наделены некоторым множеством информационных признаков, включающих: спектрально-энергетические признаки (СЭП) объектов, которые отражают яркость, цветовой тон, насыщенность цвета, яркостную, цветовую и тепловую контрастность изображения и т.д.; пространственные признаки (ПП) объектов, которые отражают размер, форму, конфигурацию и др.; динамические и дополнительные признаки (ДП) объектов, отражающие координаты и их изменение во времени, скорость движения объекта и фона и т.д. При этом малая контрастность формируемых спектрозональных ТВ изображений, по своей природе может быть обусловлена различными причинами: слабой отражательной способностью объекта и фона; близкими между собой спектральными характеристиками объекта и фона; слабой освещенностью или излучательной способностью объекта и фона; плохой прозрачностью дистанционной среды и другими факторами. Из-за перечисленных факторов, которые могут влиять на качество формируемого изображения, недостатком рассмотренного патента [4] является то, что при увеличении дальности наблюдения до объектов, начинают теряться спектральные признаки (цвет) объектов, но их ПП будут еще сохраняться. Поэтому, в таких ситуациях, привлечение дополнительной информации по задаваемым ПП объектов, позволит определять угловое отклонение объекта по углу «рыскания» и углу «тангажа» в ТВ изображении. Технический результат - расширение функциональных возможностей по увеличению дальности обнаружения объектов заданного цвета за счет привлечения информации по их пространственным признакам, повышению точности определения углового положения объектов и осуществления их автосопровождения с формированием управляющих сигналов для электронного совмещения линии визирования изображения объекта с оптической осью ТВ камеры. Технический результат достигается тем, что в отличие от известного устройства для определения углового положения объектов заданного цвета, представляющем собой ТВ автомат, имеющий блоки и узлы, включающие спектрозональную ТВ камеру, аналого-цифровые преобразователи видеосигналов, для формирование на их выходах цифровых сигналов в n-разрядном параллельном двоичном коде, дешифраторами сигналов, объединенные в первую группу, и дешифраторы сигналов, объединенные во вторую групп, при этом выходы аналого-цифровых преобразователей видеосигналов соединены с соответствующими входами дешифраторов первой группы, выходы которых соединены со входами первого коммутатора сигналов заданного цвета, выходы которого соединены со входами вычислительного устройства, а также сумматор-коммутатор на входы которого подаются видеосигналы со спектрозональной ТВ камеры, а его три выхода соединены со входами цветного ВКУ, кроме того сигнал с вычислительного устройства поступает на вход знакогенератора, выход которого соединен с одним из входов сумматора-коммутатора, исполнительное устройство соединенное с выходами вычислительного устройства, которое выполнено с возможностью определения углового отклонения объектов заданного цвета по углу рыскания и углу тангажа, согласно полезной модели, дополнительно в него введены регулируемый блок формирования сигналов изображений типа «рамка» и «окошко», блок формирования сигналов изображений объектов заданных пространственных признаков, а также второй коммутатор сигналов изображений, причем первый выход блока формирования измерительных сигналов, имеющий на первом выходе сигнал изображения типа «рамка» соединен с сумматором-коммутатором, а второй его выход, имеющий сигнал изображения типа «окошко», соединен с одним из входов вычислительного через второй коммутатор сигналов изображений, кроме того один из выходов сумматора-коммутатора соединен с одним из входов вычислительного устройства, которое выполнено с возможностью определения также задаваемых пространственных признаков объектов, при этом один из выходов исполнительного устройства соединен с платформой, на которой установлена спектрозональная ТВ камера, которая под воздействием исполнительного устройства на платформу, может изменять свое положение по углу «рыскания» и углу «тангажа» для совмещения линии визирования изображения объекта и оптической оси ТВ камеры. В качестве сигнала изображения типа «рамка» для наведения его на изображения объекта селекции по экрану цветного ВКУ могут быть использованы и другие сигналы, например, типа «крест», «рамка + крест», «прерывистая рамка + крест» и т.д. Преимущество данного подхода, состоит в том, что сохраняется возможность определения углового отклонения объекта по углу «тангажа» и углу «рыскания» при увеличении дальности нахождения объектов в поле зрения спектрозональной ТВ камеры. Это достигается за счет привлечения дополнительной информации по пространственным признакам объектов селекции и участия оператора в формировании сигналов изображений типа «рамка» для выполнения операции селекции объекта с заданным цветом и пространственными признаками. Причем визуальное совмещение оператором центра изображения типа «рамка» с центром изображения объекта селекции предварительно повышает точностью определения углового отклонения объекта по углу «тангажа» и углу «рыскания» в вычислительном устройстве. На фиг. 1 показана проекция оптического изображения наблюдаемого пространства на рабочей поверхности матричного фотоприемника (МФП) спектрозональной телевизионной камеры. На фиг. 2 представлена структурная схема устройства для определения углового положения объектов заданного цвета и пространственных признаков. На фиг. 3 показаны условные изображения объекта наблюдения и сигнала изображения типа «рамка» для двух случаев их расположения в поле зрения спектрозональной телевизионной камеры. Позиции на фиг. 2: 1 - спектрозональная телевизионная камера; 1а - платформа, на которой установлена спектрозональная телевизионная камера; 2 - аналогово-цифровые преобразователи (АЦП); 3 - местный генератор импульсов; 4 - дешифраторы сигналов первой группы; 5 - дешифраторы сигналов второй группы; 6 - первый коммутатор сигналов объектов заданного цвета; 7 - вычислительное устройство параметров объектов; 8 - исполнительное устройство; 9 - знакогенератор; 10 - цветное видеоконтрольное устройство (ВКУ); 11 - пульт управления; 12 - сумматор-коммутатор сигналов; 13 - панель управления; 14 - блок установки амплитуды входных сигналов в каждом канале; 15 - регулируемый блок формирования сигналов изображений типа «рамка» и «окошко»; 16 - второй коммутатор сигналов изображений; 17 - блок формирования сигналов изображений объектов заданных пространственных признаков. В устройстве для определения углового положения объектов произвольного цвета и пространственных признаков (фиг. 2), спектрозональная ТВ камера 1, осуществляет регистрацию лучистого потока отраженного от объектов в m-зонах спектрального участка от λ1 до λn, при этом m≥3. После преобразования лучистого потока осуществляется формирование m-спектрозональных сигналов изображений U1(t), …,Ui(t) …, Um(t), каждый из которых, с одной стороны, поступает на вход своего АЦП 21, …, 2i, …, 2m, а с другой стороны на информационные входы сумматора-коммутатора сигналов 12. При необходимости, в устройстве с помощью пульта управления 11, подается разрешающий сигнал на включение регулируемого блока формирования сигналов изображений типа «рамка» и «окошко» 15, сигнал с первого выхода которого, в виде изображения типа «окошко», через второй коммутатор сигналов 16 поступает на вычислительное устройство 7, а сигнал со второго его выхода в виде изображения типа «рамка» (фиг. 3) поступает на один из входов сумматора-коммутатора сигналов 12 и отображается на экране цветного ВКУ 10. Кроме того с пульта управления 11, через блок формирования сигналов изображений объектов заданных пространственных признаков 17 на один из входов вычислительного устройства 7 подается сигнал, определяющий задаваемые пространственные признаки объекта селекции с заданным цветом. Для объекта заданного цвета и пространственных признаков оператор наводит изображение типа «рамка» на изображение наблюдаемого объекта на экране цветного ВКУ. Это соответствует изображению типа «рамка» наведенного на изображение объекта селекции, как показано на фиг. 3 (вариант А). При этом центр изображения объекта селекции должен быть визуально совмещен с центром изображения типа «рамка» или, например, «крест». На экране цветного ВКУ линейный размер изображения типа «рамка» Lp выбирается, например, исходя из минимально возможного линейного размера изображения объекта селекции Lo по строке и кадру поля ТВ изображения. В этом случае, он должен удовлетворять условию Естественно, что в выражении (6) линейный размер изображения типа «рамка» и объекта селекции на экране цветного ВКУ может быть представлен числом элементов и строк приходящих на их изображения по горизонтали и вертикали с выделения длительности сигналов изображений, согласно (5). При увеличении линейного размера объекта селекции в процессе его наблюдения, увеличивается и линейный размер изображения типа «рамка» и «окошко» за счет воздействия формируемых управляющих сигналов с вычислительного устройства 7 на регулируемый блок формирования сигналов изображений типа «рамка» и «окошко» 15. Для автосопровождения объектов заданного цвета и пространственных признаков с сохранением их положения внутри изображения типа «рамка» в вычислительном устройстве вырабатывается управляющий сигнал перемещения, который воздействуя на регулируемый блок формирования сигналов изображений типа «рамка» и «окошко» изменяет их местоположение в ТВ растре по углу «рыскания» и углу «тангажа», если необходимо, изменяет и их размер, чтобы изображение объекта селекции всегда находилось в центре изображений типа «рамка». Роль сигнала изображения типа «окошко», заключается в том, что он поступая в вычислительное устройство дает разрешение на обработку сигнала только для той части ТВ изображения, где находится сигнал изображения типа «окошко» и соответственно сигнал изображения типа «рамка». Для достижения надежного изменения местоположения сигнала изображения типа «рамка» и «окошко» и точности слежения за объектом селекции, линейный размер сигнала изображений типа «окошко» Lок, который поступает на вход вычислительного устройства выбирается для обработки сигналов с некоторым запасом по строке и кадру ТВ изображения, а именно больше линейного изображения «рамка» не менее, чем на величину Далее, управляющий сигнал перемещения воздействует на регулируемый блок формирования сигналов изображений типа «рамка» и «окошко» в течении времени Δti до тех пор, пока не изменится их местоположение по углам «рыскания» и «тангажа» в ТВ растре и объект селекции не будет в центре изображения типа «рамка», а центр изображения типа «рамка» не будет совмещен с центром оптической оси спектрозональной ТВ камеры на экране цветного ВКУ (вариант В, фиг. 3). Источники 1. Барсуков Ф.И., Величкин А.И., Сухарев А.Д. Телевизионные системы летательных аппаратов/ Под ред. А.И. Величкина. - М.: Сов. Радио, 1979. - 256 с. 2. В.В. Коротаев, А.В. Краснящих. Телевизионные измерительные системы / Учебное пособие. - СПб: СПбГУ ИТМО, 2008. - 108 с. 3. Сагдуллаев Ю.С., Ковин С.Д., Сагдуллаев Т.Ю., Смирнов А.И. Информационно-измерительные системы телевидения. - М.: "Спутник+", 2013. - 199 с. 4. Патент РФ на полезную модель №151920. Устройство для определения углового положения объектов заданного цвета/ Вилкова Н.Н., Ковин С.Д., Сагдуллаев Ю.С., Рожков К.Ю. Опубл.20.04.2015 г.





