Полезная модель относится к железнодорожному подвижному составу и касается железнодорожного вагона-цистерны рамной конструкции для перевозки жидких грузов и оборудованного сливным устройством с тройной степенью защиты, содержащего котёл (1), раму (2) с хребтовой балкой (3) и установленное в нижней части котла (1) сливное устройство (4), включающее сливной патрубок (5) с верхним фланцем (6) и нижним фланцем (7) и закреплённый между фланцами промежуточный затвор (8) с приводом управления (9), свободный конец (10) которого выполнен, например, в виде штурвала и закреплён перпендикулярно продольной оси N-N железнодорожного вагона-цистерны. Технический результат, который заключается в повышении эффективности обслуживания железнодорожного вагона-цистерны, достигается тем, что промежуточный затвор (8) закреплён на расстоянии P от нижней поверхности хребтовой балки (3) рамы (2) до верхнего фланца (6), составляющем от 5 до 1700 мм, привод управления (9) промежуточного затвора (8) установлен вдоль продольной оси N-N железнодорожного вагона-цистерны, а свободный конец (10) привода управления (9) относительно продольной оси N-N железнодорожного вагона-цистерны направлен перпендикулярно вниз. 1 з.п. ф-лы, 2 ил.
1. Железнодорожный вагон-цистерна, содержащий котёл, раму с хребтовой балкой и установленное в нижней части котла сливное устройство, включающее сливной патрубок с верхним и нижним фланцами и закреплённый между ними под хребтовой балкой промежуточный затвор с приводом управления, свободный конец которого перпендикулярен продольной оси N-N железнодорожного вагона-цистерны, отличающийся тем, что промежуточный затвор закреплён на расстоянии P от нижней поверхности хребтовой балки до верхнего фланца, составляющем от 5 мм до 170 мм, привод управления промежуточного затвора установлен вдоль продольной оси N-N железнодорожного вагона-цистерны, а свободный конец привода управления относительно продольной оси N-N железнодорожного вагона-цистерны направлен перпендикулярно вниз. 2. Железнодорожный вагон-цистерна по п. 1, отличающийся тем, что расстояние P от нижней поверхности хребтовой балки до верхнего фланца составляет от 25 мм до 100 мм.
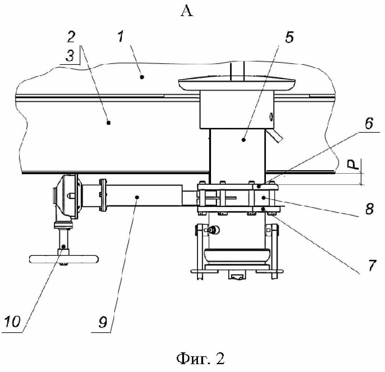
Полезная модель относится к железнодорожному подвижному составу и касается железнодорожного вагона-цистерны рамной конструкции для перевозки жидких грузов, оборудованного сливным устройством с тройной степенью защиты. Из уровня техники известна железнодорожная цистерна для нефтепродуктов (RU 115314, B61D 5/00, опубл. 27.04.2012), включающая котёл, раму, сливной прибор с тремя степенями защиты в составе основного клапана, клапана в виде цилиндрической трубы с верхним и нижним фланцами, между которыми установлен дисковый затвор с редуктором, закрытие и открытие которого осуществляется штурвалом, закрепленным на валу, ось которого расположена от нижней поверхности рамы цистерны на расстоянии Н в пределах от 60 до 100 мм. Данное устройство направлено на повышение удобства пользования, выражаемого в доступе к штурвалу привода управления для персонала. Известно сливное устройство железнодорожной цистерны (RU 52373, B61D 5/00, B65D 39/00, опубл. 27.03.2006), включающее последовательно расположенные и независимо управляемые затворы, основной из которых размещен во внутреннем объёме котла в зоне нижнего сливного отверстия, сливной патрубок, разъединённый на две части, снабженные фланцами, промежуточный затвор, установленный между фланцами и снабженный приводом с зубчатой передачей, и затвор, размещенный на конце сливного патрубка, при этом промежуточный затвор установлен под хребтовой балкой, при этом расстояние от фланца верхней части сливного патрубка до нижней поверхности хребтовой балки составляет 0,05-0,08 диаметра сливного патрубка, а управление приводом промежуточного затвора выполнено в виде карданного вала, свободный конец которого перпендикулярен продольной оси железнодорожной цистерны, что даёт возможность оператору стоять лицом к изделию при обслуживании сливного устройства (прототип). Общей технической проблемой, решаемой созданием заявленной полезной модели, является повышение эффективности обслуживания железнодорожного вагона-цистерны за счёт обеспечения доступа к сливному устройству с двух сторон железнодорожного вагона-цистерны, доступа с целью осмотра оборудования железнодорожного вагона-цистерны при обеспечении безопасности железнодорожного вагона-цистерны и вписывания в нижнее очертание габарита, обеспечивая необходимое расстояние от нижней привалочной плоскости сливного прибора до уровня головки рельса. Техническим результатом заявляемой полезной модели является повышение эффективности обслуживания железнодорожного вагона-цистерны. Технический результат обеспечивается железнодорожным вагоном-цистерной, содержащим котёл, раму с хребтовой балкой и установленное в нижней части котла сливное устройство, включающее сливной патрубок с верхним и нижним фланцами и закреплённый между ними под хребтовой балкой рамы промежуточный затвор с приводом управления, свободный конец которого перпендикулярен продольной оси N-N железнодорожного вагона-цистерны, в котором промежуточный затвор закреплён на расстоянии P от нижней поверхности хребтовой балки рамы до верхнего фланца от 5 до 170 мм, привод управления промежуточного затвора установлен вдоль продольной оси N-N железнодорожного вагона-цистерны, а свободный конец управления привода относительно продольной оси N-N железнодорожного вагона-цистерны направлен перпендикулярно вниз. В качестве развития полезной модели расстояние P от нижней поверхности хребтовой балки рамы до верхнего фланца предпочтительно составляет от 25 до 100 мм. Сопоставительный анализ с прототипом показывает, что предлагаемый железнодорожный вагон-цистерна отличается от прототипа тем, что промежуточный затвор закреплён на расстоянии P от нижней поверхности хребтовой балки до верхнего фланца от 5 до 170 мм, привод управления промежуточного затвора установлен вдоль продольной оси N-N железнодорожного вагона-цистерны, а свободный конец управления привода относительно продольной оси N-N железнодорожного вагона-цистерны направлен перпендикулярно вниз; расстояние P от нижней поверхности хребтовой балки до верхнего фланца предпочтительно составляет от 25 до 100 мм. Такое отличие от прототипа даёт основание утверждать о соответствии предлагаемого технического решения критерию патентоспособности полезной модели - «новизна». Предлагаемая полезная модель поясняется графическим материалом, где на фиг. 1 показан главный вид железнодорожного вагона-цистерны; на фиг. 2 - выносной элемент А фиг. 1. Железнодорожный вагон-цистерна (фиг. 1 и 2) содержит котёл 1, раму 2 с хребтовой балкой 3 и установленное в нижней части котла 1 сливное устройство 4, включающее сливной патрубок 5 с верхним фланцем 6 и нижним фланцем 7 и закреплённый между фланцами 6, 7 под хребтовой балкой 3 рамы 2 промежуточный затвор 8 с приводом управления 9, свободный конец 10 которого выполнен, например, в виде штурвала и закреплён перпендикулярно продольной оси N-N железнодорожного вагона-цистерны. Привод управления 9 может быть выполнен, например, в виде шиберной заслонки, расположенной внутри корпуса промежуточного затвора 8 с возможностью возвратно-поступательного перемещения. Корпус привода управления 9 концевой частью жёстко соединён с промежуточным затвором 8, например, посредством сварки. При этом концевая часть привода управления 9 установлена между верхним фланцем 6 и нижним фланцем 7. Технический результат, который заключается в повышении эффективности обслуживания железнодорожного вагона-цистерны, достигается следующим образом. Промежуточный затвор 8 закреплён на расстоянии P от нижней поверхности хребтовой балки 3 рамы 2 до верхнего фланца 6 от 5 до 170 мм, привод управления 9 промежуточного затвора 8 установлен вдоль продольной оси N-N железнодорожного вагона-цистерны, а свободный конец привода управления 9 относительно продольной оси N-N железнодорожного вагона-цистерны направлен перпендикулярно вниз. Такое конструктивное исполнение железнодорожного вагона-цистерны обеспечивает удобный доступ с целью монтажа промежуточного затвора 8 сливного устройства 4, осмотра железнодорожного вагона-цистерны и открывания/закрывания сливного устройства 4 с двух сторон вагона-цистерны и при этом выполняет требования ГОСТ 20772 о расстоянии от нижней привалочной плоскости сливного устройства до уровня головки рельса в собранном железнодорожном вагоне-цистерне, которое должно быть не менее 575 мм для вписывания в нижнее очертание габарита и беспрепятственного подсоединения установки с телескопическим гидромонитором типа УСНГ. Выполнение расстояния P более 170 мм обеспечит достижение технического результата, однако приведёт к нарушению требований. А выполнение расстояния P менее 5 мм не обеспечит достижение технического результата из-за размещения элементов закрепления, например болтового соединения (позицией не показано) промежуточного затвора 8 между верхним фланцем 6 и нижним фланцем 7 внутри хребтовой балки 3 рамы 2, что приведёт к их плохой визуализации, затруднению монтажа и обслуживания промежуточного затвора 8 и неудобному размещению свободного конца 10 управления привода 9. Предпочтительным является выполнение расстояния Р от нижней поверхности хребтовой балки 3 рамы 2 до верхнего фланца 6 от 25 до 100 мм. Полезная модель работает следующим образом. При монтаже железнодорожного вагона-цистерны котёл 1 устанавливают на раму 2. Сливное устройство 4 железнодорожного вагона-цистерны выполняют в виде трёх последовательно расположенных и независимо управляемых затворов: верхнего затвора (позицией не показано), нижнего затвора (позицией не показано) и промежуточного затвора 8 и монтируют затворы в нижней части котла 1. Верхний затвор размещают во внутреннем объёме котла 1 в зоне сливного отверстия (позицией не показано). Нижний затвор располагают на конце сливного патрубка 5. Промежуточный затвор 8 располагают в средней части сливного патрубка 5 между верхним фланцем 6 и нижним фланцем 7 и закрепляют под хребтовой балкой 3 рамы 2 на расстоянии P от нижней поверхности хребтовой балки 3 рамы 2 до верхнего фланца 6 от 5 до 170 мм, предпочтительно на расстоянии P от 25 до 100 мм. Затем монтируют привод управления 9, свободный конец 10 которого выполняют, например, в виде штурвала и закрепляют перпендикулярно вниз продольной оси N-N железнодорожного вагона-цистерны, что обеспечит эффективный доступ к штурвалу с обеих сторон железнодорожного вагона-цистерны. Такое исполнение полезной модели обеспечивает удобство монтажа компактного сливного устройства 4 и контроль качества сборки сливного устройства 4 и железнодорожного вагона-цистерны, что влияет на повышение эффективности обслуживания железнодорожного вагона-цистерны в целом. В эксплуатации при осмотрах железнодорожного вагона-цистерны заявляемое исполнение полезной модели обеспечивает беспрепятственный доступ ко всему оборудованию железнодорожного вагона-цистерны, в том числе, к сливному устройству 4. При разгрузке железнодорожного вагона-цистерны для обслуживающего персонала обеспечивается беспрепятственный доступ к сливному устройству 4. Для открытия промежуточного затвора 8 вращают свободный конец 10 управления привода 9, который, располагаясь под хребтовой балкой 9, находится для персонала в удобном и безопасном доступе с двух сторон железнодорожного вагона-цистерны. Таким образом, заявляемая полезная модель позволяет создать железнодорожный вагон-цистерну для перевозки жидких грузов, оборудованный компактным сливным устройством с тройной степенью защиты с повышенной эффективностью обслуживания.