Предлагаемая полезная модель относится к устройствам для регистрации магнитных свойств высокотемпературных сверхпроводников (ВТСП) в широких диапазонах температур и магнитных полей, а конкретно к установкам для исследования флуктуационных процессов в зависимости от температуры и магнитного поля в непрерывном режиме. Предложена установка для исследования флуктуационных процессов в зависимости от температуры и магнитного поля в непрерывном режиме, содержащая криогенная систему, зонд для исследования магнитных свойств ВТСП материалов, термоблок для обеспечения градиента ΔT/Δx < 0.1 K/мм внутри измерительной ячейки, криогенную систему для охлаждения измерительной ячейки до необходимых температур, систему термометрии (линия откачки паров гелия, датчик давления паров гелия, термометра сопротивления и нагревательного элемента) для регулировки скорости изменения температуры. Технический результат полезной модели заключается в повышении достоверности результатов путем уменьшения градиента температур внутри измерительной ячейки и регулирования скорости изменения температуры в процессе регистрации магнитных свойств высокотемпературных сверхпроводников. 3 ил.
Установка для регистрации магнитных свойств высокотемпературных сверхпроводников в широких диапазонах температур и магнитных полей в непрерывном режиме, содержащая криостат с двумя резервуарами с жидким азотом и гелием для охлаждения высокотемпературного сверхпроводящего образца, окруженными вакуумной рубашкой, которая изолирует резервуары от комнатной температуры, линию для откачки паров жидкого гелия, включающую два ответвления, которые через вентили подключаются к форвакуумному насосу, термоблок для уменьшения градиента и стабилизации температуры, причем к гелиевому резервуару криостата присоединен датчик давления, используемый для регулирования температуры криостата, термоблок состоит из верхней секции, имеющей сужение для нагревательного элемента, и нижней секции, состоящей из измерительной ячейки для исследования магнитных свойств, снабженной термодатчиком сопротивления, при этом криостат в нижней части имеет сужение для помещения между полюсами магнита, а также установка имеет блок коммутации каналов, соединенный с измерительной ячейкой для исследования магнитных свойств, используемый для подключения к персональному компьютеру и к измерительным устройствам.
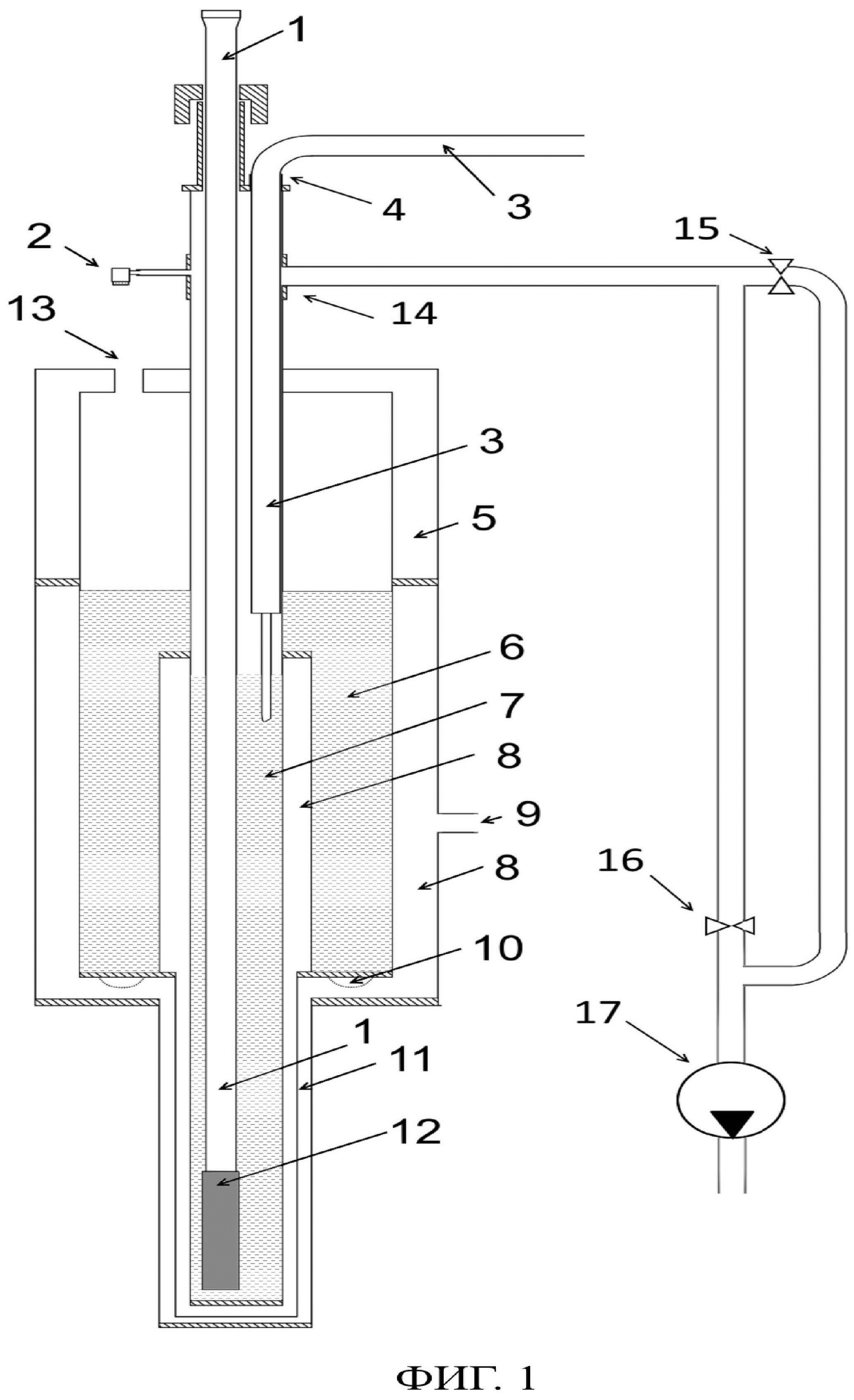
Предлагаемая полезная модель относится к устройствам для регистрации магнитных свойств высокотемпературных сверхпроводников (ВТСП) в широких диапазонах температур и магнитных полей, а конкретно к установкам для исследования флуктуационных процессов в зависимости от температуры и магнитного поля в непрерывном режиме. Ключевым вопросом в изучении ВТСП материалов встают флуктуационные процессы, которые отвечают за такие явления, как волны зарядовой плотности, волны спиновой плотности и состояние нематического порядка, которые, в свою очередь, влияют на сверхпроводимость при более низких температурах. Кроме того, эти процессы имеют высокую подвижность, что усложняет понимание общей картины. Для решения этой проблемы необходимо проследить развитие этих процессов от сверхпроводящего перехода до комнатных температур. Также надо помнить, что скорость изменения температуры влияет на релаксационные процессы, и от изменения этой скорости поведение флуктуационных процессов может усложниться. Таким образом, для исследования флуктуационных процессов в ВТСП материалах необходимо изменять температуру в широких пределах и контролировать скорость изменения температуры в этом диапазоне температур. Ранее эти процессы исследовались с помощью проточного и/или заливного криостатов. В качестве преимущества проточной криогенной системы можно указать возможность быстрого изменения температуры системы в широких пределах, однако нижняя (минимально возможная) температура ограничена температурой кипения хладагента. Для гелиевого криостата эта температура находятся в районе 7 K. В свою очередь, заливные криостаты, обеспечивающие хорошую стабилизацию температуры (ΔT < 0.05 K), являются, в основном, узкоспециализированными разработками и предназначены для изучения конкретных параметров при определенной температуре. Такие системы требуют значительных трудовых и временных затрат для достижения необходимых температур. Также есть возможность исследования объектов в разных криогенных системах с прерыванием эксперимента для смены криогенной системы, однако это может привести к необоснованным заключениям о природе возникновения высокотемпературной сверхпроводимости из-за влияния внешних факторов. Недостатки этих криогенных систем могут быть устранены путем использования комбинированной криогенной системы, который содержит преимущества как проточного, так и заливного криостатов. Известен аналог - «Установка для исследования физических и магнитных свойств высокотемпературных сверхпроводников», описанный в патенте на полезную модель №123973 от 11.05.2012, опуб. 10.01.2013. Установка содержит корпус, криостат, держатель образца, двигатель, приводящий во вращение исследуемый образец, и катушку индуктивности. Образец закрепляют в держателе образца с помощью центратора и уравновешивают при помощи рычажных весов. Гравитационную характеристику в несверхпроводящем состоянии регистрирую при помощи электронных весов. С помощью катушки индуктивности создают магнитное поле, что приводит к левитации образца. Изменение веса возникшего из-за левитации регистрируют с помощью электронных весов и получают гравитационную силу. Далее с помощью датчиков, закрепленных на держателе датчиков, измеряют распределение величины магнитной индукции в зазоре между образцом и катушкой. Недостатками данной установки являются: неоднородное поле, создаваемое катушкой индуктивности, сложность хода эксперимента, неуниверсальность и ограниченное количество измеряемых параметров. Известен аналог - «Установка для исследования физических процессов, происходящих в высокотемпературных сверхпроводниках в неоднородном локальном магнитном поле», описанный в патенте на полезную модель №134332 от 30.07.2013, опуб. 10.11.2013. Установка содержит криостат для охлаждения высокотемпературного сверхпроводника, магниты в ферромагнитном экране, основание для крепления исследуемого образца, а также устройство для вращения магнитной системы. Сверхпроводник закрепляется в основание для образца и система в режиме FC (охлаждение в магнитном поле) охлаждается до температуры кипения азота. В объеме сверхпроводящего образца под действием магнитного поля формируются вихри. Затем магнитную систему вращают с помощью мотора-редуктора. Образец будет вращаться до срыва вихрей с центров пиннинга. В момент срыва фиксирую угол поворота. Полученные данные позволяют определить силу пиннинга, величину критического тока и коэффициент вязкого трения образца. Недостатки: ограничения рабочих температур из-за использования только доступного хладагента - жидкий азот, неоднородное поле, наличие ферромагнитного материала в магнитной системе, что является источником остаточного поля. Технический результат полезной модели заключается в повышении достоверности результатов путем уменьшения градиента температур внутри измерительной ячейки и регулирования скорости изменения температуры в процессе регистрации магнитных свойств высокотемпературных сверхпроводников. Технический результат достигается за счет того, что установка для исследования флуктуационных процессов в зависимости от температуры и магнитного поля в непрерывном режиме, содержащая криогенная систему, зонд для исследования магнитных свойств ВТСП материалов, отличающаяся тем, что содержит термоблок для обеспечения градиента ΔT/Δx < 0.1 K/мм внутри измерительной ячейки; криогенную систему для охлаждения измерительной ячейки до необходимых температур; систему термометрии (линия откачки паров гелия, датчик давления паров гелия, термометра сопротивления и нагревательного элемента) для регулировки скорости изменения температуры. В состав установки для исследования флуктуационных процессов высокотемпературных сверхпроводящих материалов входят (фиг. 1): измерительная вставка 1, датчик давления 2, вакуумная трубка для подачи жидкого гелия 3, канал для вакуумной трубки 4, тепловой экран 5, азотный резервуар 6, гелиевый резервуар 7, вакуумное пространство 8, канал для откачки вакуумной «рубашки» 9, сорбционный насос (активированный уголь) 10, радиационный медный экран, законтаченный на азотную ванну 11, измерительная ячейка в медном термоблоке с термометром 12, отверстие для заливки азота 13, линия для откачки паров жидкого гелия 14, вентиль игольчатый 15, вентиль обычный 16, форвакуумный насос 17. Заливной криостат из нержавеющей стали имеет два резервуара (азотная 6 и гелиевая 7 ванны), окруженных вакуумной рубашкой 8, которая изолирует эти резервуары от комнатной температуры. В нижней части криостата имеется сужение. Такая конструкция необходима для помещения криостата между полюсами магнита. Поскольку магнитная система вынесена за криогенную систему, то можно проводить измерения как в режиме ZFC (охлаждение в отсутствии магнитного поля), так и в FC (охлаждение в магнитном поле). Однородность поля обеспечивается внешним электромагнитом. Экранирование гелиевой ванны от теплового излучения в нижней части криостата осуществляется при помощи медного экрана 11, припаянного на азотную ванну 6. Высокий вакуум в вакуумной рубашке обеспечивает тонкий слой активированного угля. Активированный уголь служит сорбционным насосом и сокращает время подготовки криостата к работе. Температура кипения жидкого гелия при нормальном атмосферном давлении 4.2 K. Для дальнейшего понижения температуры (ниже 4.2 K) измерительной части системы используется откачка паров жидкого гелия. Для откачки паров жидкого гелия предусмотрены два ответвления, которые через вентили 15 и 16 подключаются к форвакуумному насосу 17 объемом 40 л. В диапазоне температур 4.2÷3 K система охлаждается с помощью игольчатого вентиля 15, а для достижения 1.8 K система откачивается обычным вакуумным вентилем. Температура в диапазоне 1.8÷4.2 K контролируется по давлению насыщенных паров гелия и регулируется изменением скорости откачки с помощью вентилей 15 и 16. Ниже 4.2 K температура измерительной части определяется при помощи датчик давления 2. Этот датчик находится на верхней части измерительной установки, подсоединен к гелиевому резервуару напрямую. Такая конструкция позволяет точно определить температуру криостата и в то же время оставаться при комнатной температуре. Температура в диапазоне 4.2÷350 K определяется с помощью термометра сопротивления Cernox 1050 HT с чувствительностью при гелиевой температуре 5 мкВ/K. Данный термодатчик находится в измерительной ячейке. Для получения достоверных результатов во время исследования магнитных свойств высокотемпературных сверхпроводников необходимо обеспечить градиент ΔT/Δx < 0.1 K/мм внутри измерительной ячейки. Температурный градиент металлического цилиндра определяется размерами термоблока: диаметром, толщиной и длиной. Для уменьшения градиента температур необходимо уменьшить длину или увеличить внешний диаметр и толщину медного блока. Также надо отметить, что внешний диаметр имеет ограничения со стороны внутреннего диаметра горлышка криостата и не может быть больше 12 мм. Внутренний диаметр термоблока не может быть меньше размеров измерительной ячейки, поэтому на толщину остается 2 мм. С учетом всех этих условий наиболее оптимальны следующие размеры медного термоблока: внешний диаметр медного цилиндра - 12 мм, длина - 50 мм и толщина стенок - 2 мм. Верхняя секция термоблока (фиг. 2) имеет сужение для нагревательного элемента 18 и переход на нержавеющую трубку 19. Нижняя секция состоит из измерительной ячейки, снабженной термодатчиком сопротивления 20. Измерительная ячейка для исследования магнитных свойств ВТСП материалов представляет собой кварцевую трубку 21 с возбуждающей (внешней) 22 и двумя приемным катушками индуктивности 23. Внешняя катушка возбуждается переменным электромагнитным полем на частоте 1 кГц. Приемные катушки одинаковые, намотаны с противоположным направлением витков. Отклик, создаваемый пустыми приемными катушкам нулевой, так как их сигналы компенсируются друг друга. Исследуемый образец помещается в один из приемных катушек, что нарушает компенсацию приемных катушек. Величина магнитной восприимчивости регистрируется в виде разности сигналов этих катушек. Внешняя катушка возбуждается генератором звуковых частот. Отклик детектируется с помощью синхронного усилителя с опорным сигналом с того же генератора. Нержавеющая трубка одним концом соединяется с оконечной частью зонда, которая представляет собой разъем DE-9. Внутри этой трубки проходят 10 проводов (2 провода для нагревателя, 4 провода для датчика температуры, 4 провода для измерения магнитной восприимчивости). Эти провода с одной стороны подключаются к измерительной ячейке, а с другой стороны через многоштырьковый разъем DE-9 выводятся к блоку коммутации каналов для подключения к персональному компьютеру и к измерительным устройствам. В качестве измерительных приборов могут быть использованы вольтметры и синхронные детекторы с точностью измерения напряжения 0.1 мкВ. Все измерительные цепи аналоговых сигналов вне измерительного зонда выполнены с помощью экранирующих кабелей с заземленным экраном. Для исследования флуктуационных процессов необходимо контролировать скорость изменения температуры. Для этой цели на верхней секции медного термоблока размещен нагреватель. Нагревательный элемент из константановой проволоки сечением 0.03 мм2 (с удельным сопротивлением 68 Ом×м), намотан по спирали бифилярной намоткой и пропитан БФ клеем для электрической изоляции. Количество витков и сопротивление выбраны из условия, чтобы при напряжении 30 В нагреватель выдавал мощность, достаточную для изменения температуры термоблока от 1.8 до 350 K за 80-90 мин. Питание нагревательного элемента осуществляется от внешнего источника напряжения. При правильной подаче напряжения можно получить линейную зависимость изменения температуры от времени. На фиг. 3 представлена эта зависимость, полученная при исследовании магнитных свойств ВТСП материалов в диапазоне температур от 2 до 300 K. Линейность можно сохранить при скорости изменения температуры менее 5 K/мин. Порядок работы. Внешний резервуар диаметром 130 мм имеет объем 3 л. В начале эксперимента в этот резервуар заливается жидкий азот через канал 13. Азот с верхней стороны соприкасается со стенками внутреннего резервуара, что позволяет предварительно охладить этот объем до температур кипения жидкого азота. Гелиевый резервуар диаметром 30 мм имеет объем 200 мл. Далее через вакуумную трубку заливается жидкий гелий. Для откачки паров гелия используется форвакуумный насос. После достижения необходимых температур, начинается процесс отогревания системы. В диапазоне 4.2÷1,8 K температура системы определяется при помощи датчика давления 2 и термометра сопротивления (внутри термоблока), регулируется с помощью игольчатого вентиля 15. Выше температуры кипения гелия температура определяется при помощи термометра сопротивления и контролируется с помощью нагревательного элемент. В процессе отогревания при помощи зонда регистрируются магнитные свойства ВТСП материалов. Сущность полезной модели поясняют рисунки, где: на фиг. 1 - принципиальная схема измерительной установки; на фиг. 2 - принципиальная схема термоблока с измерительной ячейкой для исследования магнитных свойств ВТСП материалов; на фиг. 3 - зависимость температуры от времени. На фигурах обозначено: 1 - измерительная вставка, 2 - датчик давления, 3 - вакуумная трубка, 4 - канал для вакуумной трубки, 5 - тепловой экран, 6 - азотный резервуар, 7 - гелиевый резервуар, 8 - вакуумное пространство, 9 - откачка вакуумной «рубашки», 10 - сорбционный насос (активированный уголь), 11 - радиационный медный экран, законтаченный на азотную ванну, 12 - измерительная ячейка в медном термоблоке с термометром, 13 - отверстие для заливки азота, 14 - линия для откачки паров жидкого гелия, 15 - вентиль игольчатый, 16 -вентиль обычный, 17 - форвакуумный насос, 18 - нагревательный элемент, 19 - трубка из нержавеющей стали, 20 -термодатчик сопротивления, 21 - кварцевая трубка, 22 - возбуждающая катушка, 23 - приемные катушки.