Полезная модель относится к области железнодорожного транспорта, а именно к устройствам для перевозки крупнотоннажных контейнеров стандарта ISO в полувагонах по железным дорогам России, стран СНГ, Балтии и Финляндии. Техническим результатом заявленной полезной модели является повышение эксплуатационных характеристик полувагона за счет создания возможности перевозки в нем крупнотоннажных контейнеров в соответствии со стандартами ISO, предусматривающими установку контейнера на стандартные фитинговые упоры при перевозке его железнодорожным транспортом, а также снижение трудозатрат на изготовление устройства и его монтаж/демонтаж в полувагоне с обеспечением надежности крепления крупнотоннажных контейнеров в полувагонах. Заявленный технический результат достигается за счет конструкции устройства для крепления крупнотоннажного контейнера в полувагоне содержит основание, выполненное с возможностью установки и крепления к полу полувагона, содержащее две несущие продольные балки треугольного сечения, фитинговые упоры, установленные на несущих балках посредством оснований фитинговых упоров и выполненные с возможностью крепления крупнотоннажного контейнера в полувагоне, при этом в основании каждого фитингового упора установлена направляющая, один конец которой выполнен с возможностью жесткого крепления к стенке полувагона, а другой - к основанию фитингового упора. 5 з.п. ф-лы, 3 ил.
1. Устройство для перевозки крупнотоннажных контейнеров в полувагоне, характеризующееся тем, что содержит основание, выполненное с возможностью установки и крепления к полу полувагона, содержащее две несущие продольные балки, фитинговые упоры, установленные на несущих балках посредством оснований фитинговых упоров и выполненные с возможностью крепления крупнотоннажного контейнера в полувагоне, при этом в основании каждого фитингового упора установлена направляющая, один конец которой выполнен с возможностью жесткого крепления к стенке полувагона, а другой - к основанию фитингового упора. 2. Устройство для крепления крупнотоннажного контейнера в полувагоне по п.1, характеризующееся тем, что фитинговые упоры, расположенные на концах балок, закреплены неподвижно, а фитинговые упоры, расположенные в центральной части несущих балок – подвижно. 3. Устройство для крепления крупнотоннажного контейнера в полувагоне по п.1, характеризующееся тем, что несущие продольные балки соединены между собой и с торцевыми и боковыми стенками полувагона с помощью соединительных балок. 4. Устройство для крепления крупнотоннажного контейнера в полувагоне по п.3, характеризующееся тем, что соединительные балки имеют треугольное сечение. 5. Устройство для крепления крупнотоннажного контейнера в полувагоне по п.1, характеризующееся тем, что на горизонтальной части верхней обвязки кузова полувагона жестко закреплены Т-образные указатели местонахождения фитинговых упоров. 6. Устройство для крепления крупнотоннажного контейнера в полувагоне по п.1, характеризующееся тем, что внутренняя поверхность верхней обвязки кузова полувагона снабжена предохранительными полосами из износостойкого полимерного материала.
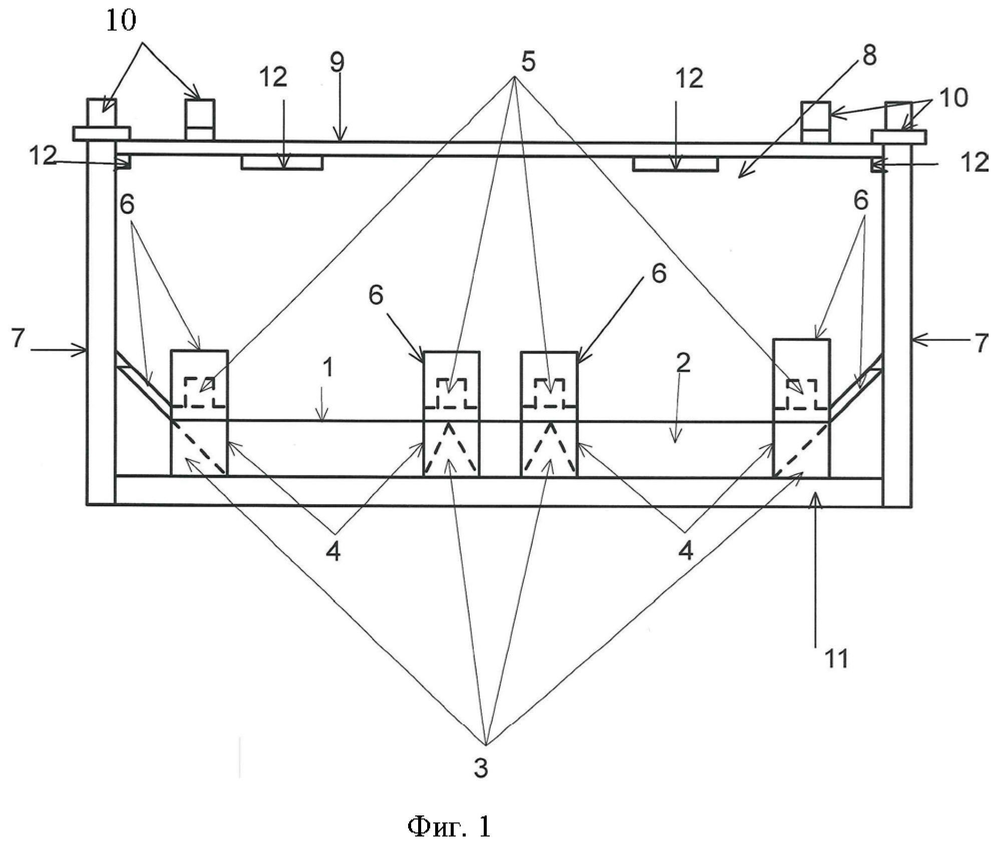
Полезная модель относится к области железнодорожного транспорта, а именно к устройствам для перевозки крупнотоннажных контейнеров стандарта ISO в полувагонах по железным дорогам России, стран СНГ, Балтии и Финляндии. Известны несколько типов железнодорожных платформ, оборудованных фитинговыми упорами для перевозки крупнотоннажных контейнеров стандарта ISO (например, И.Ф.Пастухов и др. «Вагоны». М., «Транспорт», 1988, стр.190-194). Погрузка контейнера на данный железнодорожный подвижной состав производится при помощи козлового крана или мобильного погрузчика. При этом контейнер устанавливается на стандартные фитинговые упоры, жестко закреплённые на раме платформы. Таким образом обеспечивается надежное закрепление контейнера на железнодорожной платформе, в соответствие со стандартами ISO и ГОСТами РФ, и предотвращается его перемещение относительно продольной или поперечной осей платформы при перевозке контейнера по железной дороге. На российских железных дорогах периодически возникает необходимость перевозки контейнеров в полувагонах (полувагон - железнодорожный вагон без крыши, предназначенный для перевозки сыпучих грузов, не требующих защиты от атмосферных осадков, таких как уголь, щебень и т.д.). Перевозки контейнеров в полувагонах в настоящее время требуют значительных временных и материальных затрат, связанных с креплением, при помощи проволоки и деревянных клиньев, установленного в полувагон контейнера перед каждой его перевозкой в полувагоне. Кроме того, такое крепление до конца не обеспечивает жесткое закрепление контейнеров внутри полувагона и может привести к повреждениям контейнера в ходе перевозки. Перед выгрузкой контейнера из полувагона крепления снимаются вручную, что также требует материальных и временных затрат. В настоящее время известны конструкции, которые позволяют осуществить комбинированные перевозки различных грузов (насыпные, крупно кусковые, штучно-пакетированные и иные не насыпные грузы) без порожнего пробега как в прямом, так и обратном направлениях. Так, из описания к патенту на полезную модель РФ №191326 (опубликован 01.08.2019) известно устройство грузового модуля, устанавливаемого на платформе, содержащее выполненные с возможностью закрепления на транспортном средстве продольные направляющие с элементами для размещения средств крепления грузового модуля и поперечные направляющие, при этом продольные и поперечные направляющие жестко соединены между собой с образованием внутренними вертикальными поверхностями замкнутого проема, форма и размеры которого в горизонтальной плоскости соответствуют форме и размерам сечения грузового модуля в горизонтальной плоскости При этом предлагает отличное от установленного стандартами ISO и ГОСТами РФ крепление контейнеров стандарта ISO на железнодорожной платформе. Недостатками известного устройства является то, что оно не предназначено для установки 40-футовых ISO-контейнеров в силу того, что этому будут препятствовать продольные направляющие, находящиеся в средней части платформы. Что касается размещения и крепления 20-футовых контейнеров, то способ их крепления не надёжен и технически сложен. Кроме того, требуются дополнительные расходы, связанные с необходимостью установки средства крепления, соединяющего продольные направляющие и фитинг контейнера. Возникает опасность утери средства крепления при перевозке на платформе иных чем контейнер грузов, не требующих подобного типа крепления. Возникает также опасность несовпадения отверстия в боковой части фитингового упора и отверстия в продольной направляющей устройства, что может привести к невозможности соединения фитинга контейнера и продольной направляющей устройства и как результат - невозможности надежного закрепления контейнера на платформе. В полезной модели РФ № 196252 (опубликован 21.02.2020) предлагаются боковые и угловые направляющие, при этом боковые направляющие являются съемными, а торцевые направляющие шарнирно прикреплены к боковой стенке и фиксируются в нерабочем положении. Недостатком указанной полезной модели является конструкция боковых направляющих, перед каждой погрузкой контейнера в полувагон их необходимо приводить в рабочее состояние внутри полувагона, а перед каждой погрузкой сыпучего груза направляющие необходимо приводить в нерабочее состояние. В результате время подготовки полувагона к погрузке как сыпучих грузов, так и контейнеров резко возрастает, появляются значительные дополнительные расходы на подготовку полувагона под погрузку. Производительность полувагона снижается. При креплении боковых и торцевых направляющих внутри полувагона возникает возможность их повреждения при погрузке сыпучего груза или их утери при выгрузке сыпучего груза из полувагона. При повреждении и изменении геометрии боковой или торцевой направляющих при погрузке или выгрузке в/из полувагона сыпучего груза установка ее в рабочее положение будет затруднена или невозможна. Как следствие, погрузка контейнера в такой полувагон будет также затруднена либо невозможна. Наиболее близким аналогом к патентуемому устройству является рама комбинированного грузового вагона, снабженная упорами для фиксации устанавливаемых внутри кузова контейнеров, упоры установлены по углам и в середине кузова с возможностью откидывания к боковым стенкам кузова, причем установленные в середине кузова упоры размещены попарно, боковые стенки кузова оснащены средствами крепления откинутых упоров. Таким образом, все известные решения направлены на создание новой рамы для полувагона, т.е. на изменение конструкции полувагона. В результате на полу полувагона появляются горизонтальные поверхности, с которых выгрузка сыпучего груза из люкового полувагона будет невозможна без дополнительного механического воздействия на груз. Таким образом, груз из такого полувагона при стандартной технологии выгрузки полностью выгружен быть не может. Это приведёт к увеличению времени выгрузки полувагона и возникновению дополнительных трудозатрат грузовладельца, связанных с проведением дополнительной работы с выгрузкой сыпучего груза из полувагона. В результате производительность полувагона снижается, а стоимость выгрузки из него сыпучего груза возрастёт. Кроме того, в конструкциях устройств по полезным моделям №№ 196252 и 180512 отсутствуют прицельные приспособления, позволяющие машинисту крана или оператору погрузчика определить местонахождение фитинговых упоров внутри кузова полувагона и точно установить контейнер на фитинговые упоры, размещённые внутри полувагона, а также отсутствуют устройства, защищающие контейнер от повреждений при его погрузке или выгрузке в/ из полувагона. Основным общим недостатком известных на сегодняшний день конструкций является то, что все они нацелены на изменение конструкции полувагонов, в то время как предлагаемое решение не является неотъемлемой частью полувагона, а может устанавливаться или извлекаться в/из существующего полувагона по желанию его владельца силами и средствами вагоно-ремонтного депо. Технической проблемой, решаемой патентуемым устройством, является создание простой и надежной конструкции устройства для крепления крупнотоннажного контейнера стандарта ISO при перевозке его в полувагоне, которое позволяет использовать полувагоны не только для перевозки угля и других сыпучих грузов, но и для перевозки в них крупнотоннажных контейнеров, в соответствии со стандартами ISO, без дополнительных расходов на крепление их в полувагоне. При этом устройство для перевозки контейнеров в полувагоне не препятствует выгрузке сыпучего груза из полувагона и обеспечивает надежное и безопасное крепление контейнера в полувагоне, не требует дополнительных временных и материальных затрат для подготовки полувагона к перевозке контейнера и предотвращает повреждение контейнера при перевозке. Не возникает необходимости нахождения работника внутри кузова полувагона перед погрузкой в полувагон контейнера. Техническим результатом заявленной полезной модели является повышение эксплуатационных характеристик полувагона за счет создания возможности перевозки в нем крупнотоннажных контейнеров в соответствии со стандартами ISO, предусматривающими установку контейнера на стандартные фитинговые упоры при перевозке его железнодорожным транспортом, а также снижение трудозатрат на изготовление устройства и его монтаж/демонтаж в полувагоне с обеспечением надежности крепления крупнотоннажных контейнеров в полувагонах. В результате это позволит снизить трудозатраты на изготовление и монтаж/демонтаж, повысить эффективность использования полувагона, сократить расходы грузовладельцев на перевозку контейнера в полувагоне и, как следствие, повысить эффективность работы российских железных дорог за счёт эффективного использования их пропускной и провозной способности. Это достигается за счёт того, что полувагоны могут перевозить уголь на экспорт в морские порты России, а в обратном направлении из портов в глубь страны в полувагонах можно везти контейнеры с импортными грузами. Заявленный технический результат достигается за счет конструкции устройства для перевозки крупнотоннажного контейнера в полувагоне содержит основание, выполненное с возможностью установки и крепления к полу полувагона, содержащее две несущие продольные балки, фитинговые упоры, установленные на несущих балках посредством оснований фитинговых упоров и выполненные с возможностью крепления крупнотоннажного контейнера в полувагоне, при этом в основании каждого фитингового упора установлена направляющая, один конец которой выполнен с возможностью жесткого крепления к стенке полувагона, а другой - к основанию фитингового упора. Для снижения нагрузки на пол полувагона несущие продольные балки могут соединяться между собой и с торцевыми и боковыми стенками полувагона с помощью двух или нескольких соединительных балок, также имеющих треугольное сечение и расположенных вдоль поперечной оси кузова полувагона. Такая необходимость может возникнуть из-за конструктивных и прочностных различий в конструкции пола различных моделей полувагонов, а также технического состояния пола полувагона. Для исключения скопления остатков после выгрузки сыпучих грузов продольные несущие балки могут представлять балки треугольного сечения. Кроме того, на горизонтальной части верхней обвязки кузова полувагона могут быть жестко закреплены Т-образные указатели местонахождения фитинговых упоров, позволяющие оператору крана или погрузчика визуально определить местонахождение фитинговых упоров на устройстве, установленном на полу полувагона. Для предохранения контейнера от повреждений при его погрузке и выгрузке в/из полувагона внутренняя поверхность верхней обвязки кузова полувагона может быть снабжена предохранительными полосами из износостойкого полимерного материала. Таким образом, за счет использования основания в виде двух несущих продольных балок с предварительно установленными на них фитинговыми упорами, монтируемых вдоль продольной оси кузова полувагона и имеющих треугольное сечение, обеспечивается упрощение изготовления устройства, сокращение трудозатрат на монтаж/демонтаж - достаточно всего лишь закрепить две балки на полу кузова полувагона. Крепление фитинговых упоров через основания к несущим балкам позволяет повысить прочность конструкции, основание фитингового упора необходимо для надёжного прикрепления фитингового упора к балке устройств, а также надёжного жесткого закрепления направляющих поверхностей в фиксированном положении относительно фитинговых упоров. Наличие основания фитингового упора обеспечивает необходимую жесткость конструкции устройства и надежность крепления крупнотоннажных контейнеров в полувагонах. Наличие направляющей в основании каждого фитингового упора, один конец которой выполнен с возможностью жесткого крепления к стенке полувагона, а другой - к основанию фитингового упора повышает надежность крепления контейнеров в полувагонах, уменьшает нагрузку на конструкции пола полувагона и облегчает установку крупнотоннажных контейнеров в полувагон, поскольку позволяет обеспечить точное попадание нижних фитингов контейнера на фитинговые упоры устройства, установленного в полувагоне и уменьшает. Все указанные элементы конструкции позволят усовершенствовать стандартный полувагон, сделав его универсальным и, соответственно, повысить эксплуатационные характеристики полувагона за счет создания возможности перевозки в нем крупнотоннажных контейнеров в соответствии со стандартами ISO. Устройство для установки и перевозки крупнотоннажных контейнеров стандарта ISO не является составной частью конструкции полувагона и может быть установлено в любой тип полувагона, эксплуатируемого на железных дорогах России, стран СНГ, Балтии и Финляндии, как новый, так и находящийся в эксплуатации. Никаких дополнительных работ, связанных с подготовкой полувагона к погрузке сыпучих грузов или контейнеров, с устройством производить не требуется. Не возникает препятствий для полной выгрузки сыпучего груза из люкового или глуходонного полувагона по существующим технологиям. В случае поломки устройства оно может быть извлечено из полувагона и либо отремонтировано либо заменено. Установка устройства для перевозки контейнеров в полувагон повышает прочностные характеристики конструкций пола полувагона, что положительно сказывается на его эксплуатационных качествах. Далее полезная модель поясняется примером конкретного выполнения и чертежами, на которых представлено следующее: фиг. 1 - схематичное изображение продольного сечения устройства для перевозки контейнеров в полувагоне; фиг. 2 - схематичное изображение устройства для перевозки контейнеров в полувагоне вид сверху; фиг.3 - схематичное изображение поперечного сечения устройства для перевозки контейнеров в полувагоне. Заявленное устройство для перевозки контейнеров, закрепляемое в полувагоне выполнено в виде основания (1), которое содержит две несущие балки (2) треугольного сечения (цельные или разрезанные), жестко прикреплённые к конструкциям пола полувагона (11), две или несколько соединительных балок (3) треугольного сечения (при необходимости). Несущие и соединительные балки жестко соединены между собой в единую конструкцию любым известным способом (сварка, болтовое соединение и т.д.). К несущим балкам прикреплены основания (4) стандартных фитинговых упоров (5), причём на концах балок они закреплены неподвижно, а в средней части балок стандартные фитинговые упоры могут крепиться как неподвижно, так и подвижно. Это обеспечивает возможность перевозки в полувагоне как 20-футовых, так и 40-футовых контейнеров. Расстояние между стандартными фитинговыми упорами, прикреплёнными к несущим балкам рамы, определяется стандартами ISO и ГОСТами РФ. С целью обеспечения точной установки контейнера на устройство, находящееся в полувагоне в основаниях всех фитинговых упоров направляющие (6), которые одной своей стороной жестко прикреплены к основанию (4) фитингового упора (5), а другой - жестко прикреплены к торцевой (7) или боковой (8) стенкам кузова полувагона. Направляющая поверхность представляет собой стальную пластину прямоугольной формы, одна сторона которой фиксированно прикреплена к стенке полувагона, а противоположная ей сторона фиксированно прикреплена к основанию фитингового упора. К горизонтальной поверхности верхней обвязки кузова (9) полувагона прикреплены Т-образные указатели (10) местонахождения фитинговых упоров, показывающие оператору крана или погрузчика местонахождение фитинговых упоров (5) на устройстве для перевозки контейнеров, установленном на неподвижных конструкциях пола полувагона. Это позволяет машинисту крана или оператору погрузчика точно установить контейнер над кузовом полувагона и опустить его фитинги на фитинговые упоры устройства. Для предотвращения повреждения контейнера при его погрузке или выгрузке в/из полувагона на внутренней поверхности обвязки кузова полувагона устанавливаются предохранительные полосы (12) из износостойкого полимерного материала. Предложенное устройство для перевозки контейнеров в полувагонах имеет простую и надежную конструкцию, которая не препятствует погрузке или выгрузке из полувагона сыпучих грузов по действующим технологиям существующими погрузочными и выгрузочными устройствами; обеспечивает безопасное и надежное крепление контейнера внутри полувагона; значительно повышает эффективность использования полувагона за счёт сокращения его порожнего пробега при перевозке в нем контейнеров. Снижает расходы грузовладельца за счёт устранения расходов на крепление контейнера в полувагоне, сокращает время обработки контейнерного поезда из полувагонов в порту.