патент
№ RU 2630930
МПК E21B43/25

Способ освоения скважины после проведения гидроразрыва пласта

Авторы:
Зиятдинов Радик Зяузятович
Номер заявки
2016132920
Дата подачи заявки
09.08.2016
Опубликовано
14.09.2017
Страна
RU
Как управлять
интеллектуальной собственностью
Чертежи 
2
Реферат

Изобретение относится к нефтегазодобывающей промышленности и может быть использовано для освоения скважин после проведения гидроразрыва пласта. Способ освоения скважины включает спуск колонны насосно-компрессорных труб (НКТ) в скважину, обвязку азотного компрессора нагнетательной линией с верхним концом колонны НКТ на устье скважины, закачку азота по колонне НКТ в скважину, циркуляцию аэрированной жидкости в желобную емкость. При этом на устье скважины колонну НКТ оснащают пакером и спускают ее в скважину. Производят посадку пакера в скважине выше кровли пласта. Производят гидроразрыв пласта с образованием трещины разрыва и крепление ее проппантом. Затем на устье скважины нижний конец колонны гибких труб (ГТ) снабжают промывочным пером и обратным клапаном. Спускают колонну ГТ в скважину на 100 м и запускают насосный агрегат с расходом жидкости 3,0⋅10м/с. Вызывают циркуляцию технологической жидкости по межтрубному пространству между колоннами НКТ и ГТ в желобную емкость. Далее доспускают колонну ГТ до нижнего конца колонны НКТ. Запускают компрессор с расходом азота 0,2⋅10м/с и вызывают циркуляцию аэрированной жидкости по межтрубному пространству между колоннами НКТ и ГТ в желобную емкость. Доспускают колонну ГТ до забоя. Промывают забой скважины в течение 2 ч аэрированной жидкостью до чистой воды, после чего отключают насосный агрегат и компрессор. Приподнимают колонну ГТ в колонну НКТ на 20 м выше нижнего конца НКТ. Запускают азотный компрессор. После выхода азота из межтрубного пространства между колоннами НКТ и ГТ в желобную емкость производят освоение скважины азотом с расходом 16 м/мин в течение 2 ч. Причем в процессе освоения скважины периодически через каждые 20 мин производят приподъемы колонны ГТ вверх-вниз на 20 м со скоростью 5 м/мин. В процессе освоения каждые 30 мин производят отбор проб жидкости на процентное содержание нефть-вода, средний приток, плотность отобранной пробы. По истечении 2 ч останавливают компрессор и производят технологический отстой скважины в течение 2 ч. Затем доспускают колонну ГТ в скважину без циркуляции до забоя со скоростью 2 м/мин с разгрузкой колонны ГТ на забой с усилием 5000 Н. Техническим результатом является повышение эффективности и качества освоения скважины после проведения гидроразрыва пласта, упрощение технологического процесса освоения скважины. 2 ил.

Формула изобретения

Способ освоения скважины после проведения гидроразрыва пласта, включающий спуск колонны насосно-компрессорных труб - НКТ в скважину, обвязку азотного компрессора нагнетательной линией с верхним концом колонны НКТ на устье скважины, закачку азота по колонне НКТ в скважину, циркуляцию аэрированной жидкости в желобную емкость, отличающийся тем, что на устье скважины колонну НКТ оснащают пакером и спускают ее в скважину, производят посадку пакера в скважине выше кровли пласта, производят гидроразрыв пласта с образованием трещины разрыва и крепление ее проппантом, затем на устье скважины нижний конец колонны гибких труб - ГТ снабжают промывочным пером и обратным клапаном, спускают колонну ГТ в скважину на 100 м и запускают насосный агрегат с расходом жидкости 3,0⋅10-3 м3/с, вызывают циркуляцию технологической жидкости по межтрубному пространству между колоннами НКТ и ГТ в желобную емкость, далее доспускают колонну ГТ до нижнего конца колонны НКТ, запускают компрессор с расходом азота 0,2⋅10-3 м3/с и вызывают циркуляцию аэрированной жидкости по межтрубному пространству между колоннами НКТ и ГТ в желобную емкость, доспускают колонну ГТ до забоя, промывают забой скважины в течение 2 ч аэрированной жидкостью до чистой воды, после чего отключают насосный агрегат и компрессор, приподнимают колонну ГТ в колонну НКТ на 20 м выше нижнего конца НКТ, запускают азотный компрессор, после выхода азота из межтрубного пространства между колоннами НКТ и ГТ в желобную емкость производят освоение скважины азотом с расходом 16 м3/мин в течение 2 ч, причем в процессе освоения скважины периодически через каждые 20 мин производят приподъемы колонны ГТ вверх-вниз на 20 м со скоростью 5 м/мин, в процессе освоения каждые 30 мин производят отбор проб жидкости на процентное содержание нефть-вода, средний приток, плотность отобранной пробы, по истечении 2 ч останавливают компрессор и производят технологический отстой скважины в течение 2 ч, затем доспускают колонну ГТ в скважину без циркуляции до забоя со скоростью 2 м/мин с разгрузкой колонны ГТ на забой с усилием 5000 Н.

Описание

[1]

Предложение относится к нефтегазодобывающей промышленности и может быть использовано для освоения скважин после проведения гидроразрыва пласта.

[2]

Известен способ освоения скважин с заменой находящейся там промывочной жидкости газом (Минеев В.П. и др. Практическое руководство по испытанию скважин. -М.: Недра, 1981. - С. 116-118), включающий последовательное осуществление следующих операций: закачку воздуха компрессором в затрубное пространство до максимально возможной величины давления и вытеснение скважинной жидкости на поверхность через насосно-компрессорные трубы (НКТ) в желобную емкость, сброс давления в затрубном пространстве до атмосферного и выравнивание уровней жидкости в затрубном и трубном пространствах, нагнетание компрессором воздуха в НКТ и вытеснение жидкости из НКТ, а затем из затрубного пространства на поверхность (при выходе воздуха через башмак НКТ).

[3]

Недостатки данного способа:

[4]

- во-первых, сложный технологический процесс, связанный со сбросом давления в затрубном пространстве до атмосферного и выравниванием уровней жидкости в затрубном и трубном пространствах;

[5]

- во-вторых, низкое качество освоения скважины ввиду наличия проппанта внутри скважины, осложняющего процесс освоения;

[6]

- в-третьих, длительность процесса освоения скважины;

[7]

- в-четвертых, большой расход энергии, что связано с необходимостью повторного включения компрессора для нагнетания воздуха в НКТ.

[8]

Также известен способ обработки призабойной зоны скважины (патент RU №2383720, МПК Е21В 43/18, опубл. 10.03.2010 г., бюл. №7), включающий закачивание в полость скважины жидкости, формирование депрессионного перепада давления между призабойной зоной и полостью скважины путем создания периодических импульсов давления в призабойной зоне в виде перемещающейся по полости скважины волны, образующейся при периодическом открывании полости скважины на устье для вытекания скважинной жидкости, находящейся под давлением, и ее закрывании с применением вентилей, один из которых - вентиль слива жидкости - соединяет полость скважины с желобной емкостью, второй - вентиль долива жидкости - с источником жидкости, находящейся под давлением. Открывание и закрывание полости скважины на устье для вытекания скважинной жидкости, находящейся под давлением, осуществляют вентилем слива жидкости. Периодически повышают давление в скважине соединением устья скважины с источником жидкости, находящейся под давлением, путем открытия вентиля долива жидкости. При этом предварительно соединяют устье скважины с ресивером, наполненным газом, через вентиль, при закрытом вышеупомянутом вентиле открывают вентиль слива жидкости. Затем через промежуток времени, достаточный для формирования ударной волны депрессии, открывают вентиль, соединяющий устье скважины с ресивером. Открывание вентилей осуществляют с периодичностью, обеспечивающей раскачку ее массы в режиме резонанса.

[9]

Недостатки способа:

[10]

- во-первых, низкая эффективность освоения скважины после проведения гидроразрыва пласта из-за наличия в полости скважины проппанта. Создание депрессионного перепада давления между призабойной зоной пласта и полостью скважины с помощью манипулирования вентилями приводит к реверсивному перемещению проппанта из призабойной зоны пласта в полость скважины;

[11]

- во-вторых, бесконтрольный процесс депрессионного перепада давления между призабойной зоной и полостью скважины, что может нанести вред скважине;

[12]

- в-третьих, сложный технологический процесс реализации, так как для формирования ударной волны депрессии необходим ресивер, наполненный жидкостью и газом.

[13]

Наиболее близким по технической сущности и достигаемому результату является способ освоения скважины (патент RU №2060379, МПК Е21В 43/25, опубл. 20.05.1996 г., бюл. №14), включающий спуск в скважину колонны НКТ, обвязку компрессора нагнетательной линией с верхним концом колонны НКТ на устье скважины, закачку воздуха компрессором и создание избыточного давления в затрубном пространстве скважины, понижение в нем давления до выравнивания уровней жидкости в трубном и затрубном пространствах и понижение уровня жидкости в трубном пространстве до нижнего конца колонны НКТ с созданием в нем дополнительного давления в трубном пространстве путем закачки сжатого воздуха компрессором в НКТ до выравнивания уровней жидкости в трубном и затрубном пространствах при закрытом затрубном пространстве и циркуляцию аэрированной жидкости в желобную емкость.

[14]

Недостатки способа:

[15]

- во-первых, низкая эффективность освоения скважины после проведения гидроразрыва пласта из-за наличия проппанта в скважине;

[16]

- во-вторых, низкое качество освоения скважины по причине неконтролируемого процесса освоения скважины;

[17]

- в-третьих, сложный технологический процесс, связанный со сбросом давления в затрубном пространстве до атмосферного и выравниванием уровней жидкости в затрубном и трубном пространствах;

[18]

- в-четвертых, большая длительность процесса освоения скважины;

[19]

- в-пятых, высокие затраты на технологическую жидкость и газ (азот), что связано с большим объемом скважинного пространства, через которое циркулирует аэрированная жидкость.

[20]

Техническими задачами изобретения являются повышение эффективности и качества освоения скважины после проведения гидроразрыва пласта в скважине, упрощение технологического процесса реализации способа, сокращение длительности процесса освоения и снижение затрат на технологическую жидкость и газ.

[21]

Поставленные технические задачи решаются способом освоения скважины после проведения гидроразрыва пласта, включающим спуск колонны насосно-компрессорных труб - НКТ в скважину, обвязку азотного компрессора нагнетательной линией с верхним концом колонны НКТ на устье скважины, закачку азота по колонне НКТ в скважину, циркуляцию аэрированной жидкости в желобную емкость.

[22]

Новым является то, что на устье скважины колонну НКТ оснащают пакером и спускают ее в скважину, производят посадку пакера в скважине выше кровли пласта, производят гидроразрыв пласта с образованием трещины разрыва и крепление ее проппантом, затем на устье скважины нижний конец колонны гибких труб - ГТ снабжают промывочным пером и обратным клапаном, спускают колонну ГТ в скважину на 100 м и запускают насосный агрегат с расходом жидкости 3,0⋅10-3 м3/с, вызывают циркуляцию технологической жидкости по межтрубному пространству между колоннами НКТ и ГТ в желобную емкость, далее доспускают колонну ГТ до нижнего конца колонны НКТ, запускают компрессор с расходом азота 0,2⋅10-3 м3/с и вызывают циркуляцию аэрированной жидкости по межтрубному пространству между колоннами НКТ и ГТ в желобную емкость, доспускают колонну ГТ до забоя, промывают забой скважины в течение 2 ч аэрированной жидкостью до чистой воды, после чего отключают насосный агрегат и компрессор, приподнимают колонну ГТ в колонну НКТ на 20 м выше нижнего конца НКТ, запускают азотный компрессор, после выхода азота из межтрубного пространства между колоннами НКТ и ГТ в желобную емкость производят освоение скважины азотом с расходом 16 м3 /мин в течение 2 ч, причем в процессе освоения скважины периодически через каждые 20 мин производят приподъемы колонны ГТ вверх-вниз на 20 м со скоростью 5 м/мин, в процессе освоения каждые 30 мин производят отбор проб жидкости на процентное содержание нефть-вода, средний приток, плотность отобранной пробы, по истечении 2 ч останавливают компрессор и производят технологический отстой скважины в течение 2 ч, затем доспускают колонну ГТ в скважину без циркуляции до забоя со скоростью 2 м/мин с разгрузкой колонны ГТ на забой с усилием 5000 Н.

[23]

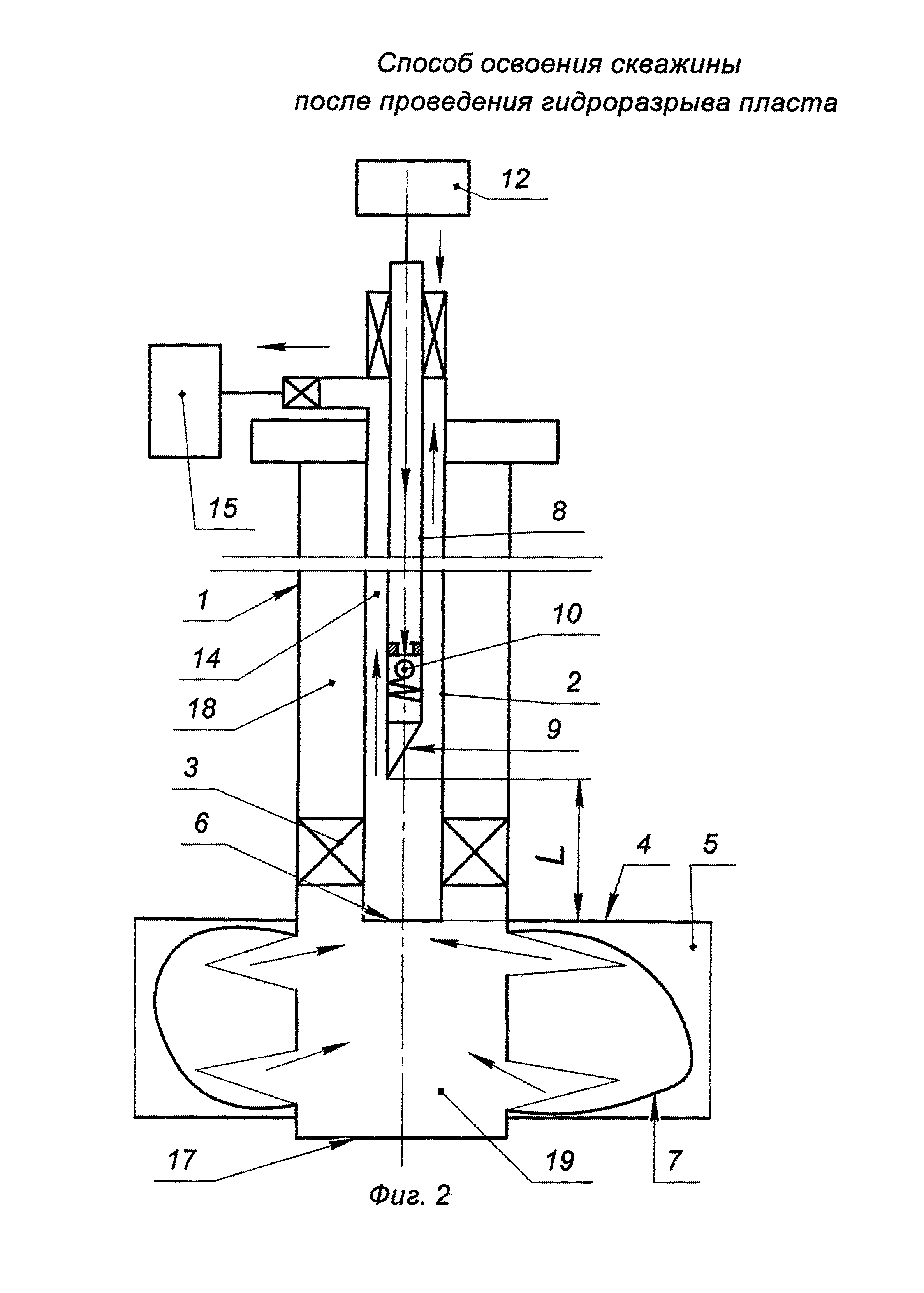
На фиг. 1 и 2 схематично и последовательно изображен предлагаемый процесс освоения скважины после проведения гидроразрыва пласта.

[24]

На устье скважины 1 (см. фиг. 1), например, с диаметром эксплуатационной колонны 168 мм колонну НКТ 2, например, диаметром D=89 мм оснащают пакером 3 любой известной конструкции. Спускают колонну НКТ 2 с пакером 3 в скважину 1. Производят посадку пакера 3 в скважине 1 выше кровли 4 пласта 5, при этом нижний конец 6 колонны НКТ 2 располагают на уровне кровли 4 пласта 5.

[25]

Производят гидроразрыв пласта 5 с образованием трещины разрыва 7 и крепление ее проппантом (на фиг.1 и 2 не показано). Затем на устье скважины 1 нижний конец колонны ГТ 8, например, диаметром d=38,1 мм снабжают промывочным пером 9, а выше - обратным клапаном 10. Спускают колонну ГТ 8 в скважину на 100 м. На устье скважины 1 обвязывают насосный агрегат 11 и компрессор 12 с помощью тройника 13.

[26]

Запускают насосный агрегат 11 с расходом жидкости 3,0⋅10-3 м3/с. Вызывают циркуляцию технологической жидкости, например, плотностью 1050 кг/м3 по межтрубному пространству 14 между колоннами НКТ 2 и ГТ 8 в желобную емкость 15. Далее со скоростью 15 м/мин доспускают колонну ГТ 8 до нижнего конца 7 колонны НКТ 2.

[27]

Запускают компрессор 14 с расходом азота 0,2⋅10-3 м3/с и вызывают циркуляцию аэрированной жидкости по межтрубному пространству 4 между колоннами НКТ 2 и ГТ 8 в желобную емкость 15.

[28]

Доспускают колонну ГТ 8 до верхнего конца столба проппанта 16 (на фиг. 1 показано условно) в скважине 1 (определяют по разгрузке колонны ГТ8 на верхний конец столба проппант 16, например, на 3000 Н). Далее с циркуляцией аэрированной жидкости по межтрубному пространству 14 между колоннами НКТ 2 и ГТ 8 и выносом незакрепленного проппанта из полости скважины 1 в желобную емкость 15 со скоростью 2 м/мин доспускают колонну ГТ 8 до забоя 17.

[29]

Промывают забой 17 (см. фиг.1) скважины 1 в течение 2 ч аэрированной жидкостью до чистой воды, что определяют визуально по выходу воды в желобную емкость 15, при этом вода должна быть прозрачной и не содержать проппанта, шлама, песка и т.д., после чего отключают насосный агрегат 11 и компрессор 12.

[30]

Повышается эффективность освоения скважины, так как перед проведением освоения за одну спускоподъемную операцию колонны ГТ с обратным клапаном производится предварительная промывка скважины до забоя аэрированной жидкостью, что обеспечивает полный вынос проппанта, шлама, песка из полости скважины. Кроме того, применение колонны ГТ исключает создание дополнительного давления в трубном пространстве и выравнивание уровней жидкости в трубном и затрубном пространствах при закрытом затрубном пространстве.

[31]

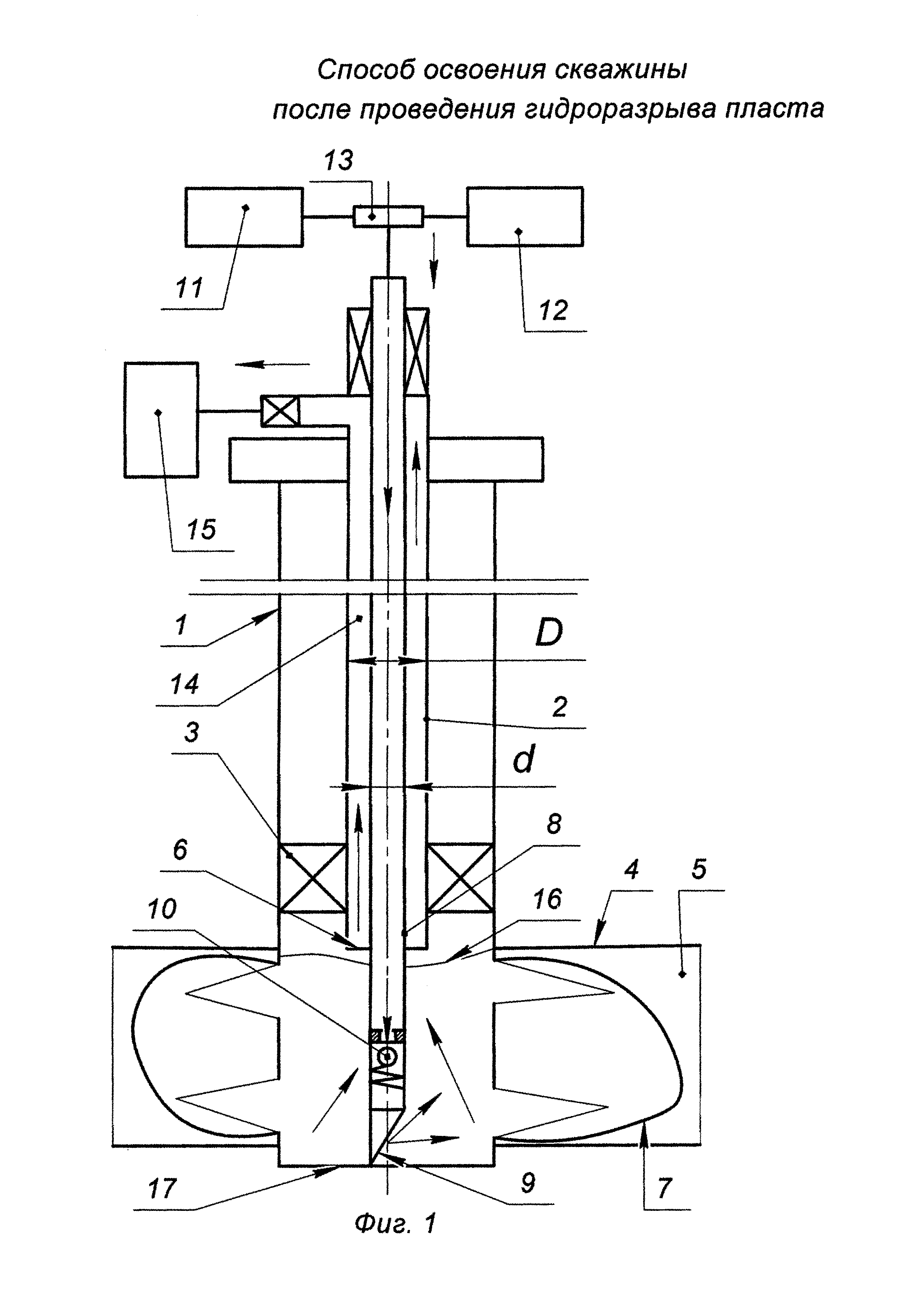
Таким образом, после очистки скважины 1 от проппанта, грязи, шлама, механических примесей и т.д. начинают освоение скважины 1.

[32]

Для этого приподнимают колонну ГТ 8 из колонны НКТ 2 на длину L, равную 20 м, выше нижнего конца 6 колонны НКТ 2. Запускают компрессор 12 (см. фиг. 2), после выхода газа (пузыря азота) из межтрубного пространства 14 между колоннами НКТ 2 и ГТ 8 в желобную емкость 15 производят освоение скважины азотом с расходом 16 м3/мин в течение 2 ч.

[33]

В процессе освоения скважины 1 периодически (через каждые 20 мин) производят приподъемы колонны ГТ 8 вверх-вниз на 20 м со скоростью 5 м/мин.

[34]

В процессе освоения каждые 30 мин производят отбор проб на процентное содержание нефть-вода, определяют средний приток из пласта, а также плотность отобранной пробы. По истечении 2 ч останавливают компрессор 12 и производят технологический отстой скважины в течение 2 ч.

[35]

Во время технологического отстоя (при остановке насосного агрегата 11 и компрессора 12) обратный клапан 10 закрывается за счет возвратной силы действия пружины, поэтому исключается попадание в колонну ГТ 8 проппанта, различных механических примесей, грязи, шлама, песка и т.д.

[36]

Затем доспускают колонну ГТ 8 в скважину 1 без циркуляции (насосный агрегат 11 и компрессор 12 остановлены) до забоя 17 со скоростью 2 м/мин с разгрузкой колонны ГТ 8 на забой 17 с усилием 5000 Н.

[37]

Повышается качество освоения скважины по причине контролируемого процесса освоения скважины, так как в процессе освоения каждые 30 мин производят отбор проб жидкости на процентное содержание нефть-вода, средний приток, плотность отобранной пробы. Таким образом, в динамике прослеживают процесс освоения скважины 1 после проведения гидроразрыва пласта.

[38]

Упрощается технологический процесс, так как исключаются сброс давления в затрубном пространстве до атмосферного и выравнивание уровней жидкости в затрубном и трубном пространствах, а все операции по освоению сводятся к манипуляции с колонной ГТ и закачкой в скважину азота компрессором.

[39]

В 2-4 раза сокращается продолжительность освоения скважины ввиду использования колонны ГТ вместо колонны НКТ, как описано в прототипе.

[40]

Снижаются объемы циркулирующей по скважине аэрированной жидкости за счет уменьшения объема скважинного пространства, так как при использовании пакера, отсекающего заколонное пространство 18, азотируется (аэрируется) не весь объем жидкости в скважине, а только жидкость, находящаяся в пространстве 19 скважины 1 ниже пакера 3 и в межтрубном пространстве 14 между колоннами ГТ 8 и НКТ 2.

[41]

Предлагаемый способ позволяет:

[42]

- повысить эффективность и качество освоения скважины после проведения гидроразрыва пласта;

[43]

- упростить технологический процесс освоения скважины;

[44]

- сократить продолжительность освоения скважины и снизить объемы прокачиваемой жидкости и газа (азота).

Как компенсировать расходы
на инновационную разработку
Похожие патенты