патент
№ RU 2674403
МПК G01C21/00

СИСТЕМА СПУТНИКОВОЙ НАВИГАЦИИ ПЕРЕДВИЖНОГО РАКЕТНОГО КОМПЛЕКСА

Авторы:
Измалкин Олег Сергеевич Буланников Владимир Владимирович Матросов Андрей Викторович
Все (6)
Номер заявки
2017135804
Дата подачи заявки
05.10.2017
Опубликовано
07.12.2018
Страна
RU
Как управлять
интеллектуальной собственностью
Чертежи 
3
Реферат

Изобретение относится к помехозащищенным системам спутниковой навигации, предлагаемым к использованию в составе передвижных ракетных комплексов. Система спутниковой навигации передвижного ракетного комплекса содержит аппаратуру спутниковой навигации и антенную систему, выполненную помехозащищенной в виде независимых блоков: антенны системы спутниковой навигации и блока обработки информации, при этом антенна выполнена в виде отдельных, в количестве не менее четырех, антенных элементов приема спутниковых сигналов, предназначенных для обеспечения работы одного канала спутниковой связи, каждый антенный элемент независимо соединен с блоком обработки информации, причем антенна размещена в верхней части элементов комплекса под радиопрозрачным защитным кожухом. Блок обработки информации размещают под радиопрозрачным защитным кожухом или в отсеке бортовой аппаратуры комплекса. Изобретение позволяет повысить помехозащищенность системы спутниковой навигации. 2 з.п. ф-лы, 3 ил.

Формула изобретения

1. Система спутниковой навигации передвижного ракетного комплекса, содержащая антенную систему и аппаратуру спутниковой навигации, отличающаяся тем, что антенная система выполнена помехозащищенной в виде независимых блоков: антенны системы спутниковой навигации и блока обработки информации, при этом антенна выполнена в виде отдельных, в количестве не менее четырех, антенных элементов приема спутниковых сигналов, предназначенных для обеспечения работы одного канала спутниковой связи, каждый антенный элемент независимо соединен с блоком обработки информации, причем антенна размещена в верхней части элементов комплекса под радиопрозрачным защитным кожухом, блок обработки информации размещен под радиопрозрачным защитным кожухом или в отсеке бортовой аппаратуры комплекса.

2. Система спутниковой навигации передвижного ракетного комплекса по п. 1, отличающаяся тем, что для обеспечения приема спутниковых сигналов по дополнительному каналу спутниковой связи антенна системы спутниковой навигации содержит не менее одного дополнительного антенного элемента приема спутниковых сигналов, соединенного с блоком обработки информации независимым кабелем, причем количество независимых кабелей соответствует количеству дополнительных антенных элементов.

3. Система спутниковой навигации передвижного ракетного комплекса по п. 1, отличающаяся тем, что антенные элементы размещают в углублениях, выполненных в крыше комплекса.

Описание

[1]

Техническое решение относится к области помехозащищенных систем спутниковой навигации, предлагаемых к использованию в составе передвижных ракетных комплексов.

[2]

В настоящее время глобальная навигационная спутниковая система (ГНСС) ГЛОНАСС становится основным средством определения навигационных параметров. Особенно пристальное внимание к ГНСС уделяется при создании и использовании вооружения военной и специальной техники (ВВСТ). Применение ГНСС в значительной степени позволяет повысить эффективность управления, мониторинга и использования военной техники. Однако с применением спутниковых технологий создается зависимость эффективности применения ВВСТ от качества функционирования системы ГЛОНАСС в целом и качества функционирования навигационной аппаратуры пользователей. Приемники ГЛОНАСС обладают крайне низкой устойчивостью к помехам и в реальных боевых условиях будут являться объектом радиоэлектронного подавления со стороны противника.

[3]

Нарушение навигационного поля может осуществляться посредством воздействия помех: преднамеренных и непреднамеренных. Преднамеренные помехи разделяют на маскирующие (подавляющие) и имитирующие (дезинформирующие).

[4]

Подавление аппаратуры ГНСС приведет к существенному снижению их эффективности.

[5]

Известно использование навигационной системы, содержащей первую и вторую антенные системы в самоходных огневых установках обнаружения, сопровождения и подсвета целей наведения и пуска ракет зенитного ракетного комплекса средней дальности (патент РФ №2518389).

[6]

Известна многофункциональная навигационная система для подвижных наземных объектов (патент РФ №2603821), включающая антенну спутниковой навигационной системы, обеспечивающей получение навигационной информации по спутниковому каналу связи (ГЛОНАС, GPS) и ее передачу в систему управления.

[7]

Таким образом, использование систем спутниковой навигации в передвижных комплексах достаточно широко распространено. Однако приведенные аналоги обладают существенным недостатком, заключающимся в невозможности работы используемых систем спутниковой навигации в условиях радиоэлектронных помех.

[8]

В качестве прототипа может быть выбрана навигационная аппаратура, используемая в составе оборудования автомобильной и бронетанковой техники, потребителей КНС ГЛОНАСС/GPS с функцией определения дирекционного угла 14Ц823 - «Грот-У», описанная в рекламном буклете ФГУП НИИ КП [Рекламный буклет ФГУП НИИ КП. НАЛ КНС ГЛОНАСС/GPS с функцией определения дирекционного угла 14Ц823 («Грот-У») - URL: http://www.ooo-pribor.ru/descriptions/33217/], включающая вычислительный блок, комплект кабелей и антенную систему, содержащую антенну, состоящую из четырех элементов, соединенных между собой.

[9]

Недостатком наиболее близкого технического решения является низкая помехозащищенность системы спутниковой навигации, в результате чего для расчета траектории полета ракеты (в случае наличия помехи) будут использоваться неверные координаты старта ракеты.

[10]

Формирование имитирующих помех и связанное с ними искажение навигационного поля вблизи комплекса будет полностью подавлять навигационную аппаратуру ГЛОНАСС. При этом попытки подавить аппаратуру противника будут мало эффективны, так как радиус подавления при той же мощности постановщика помех не будет превышать нескольких километров.

[11]

В сложившихся условиях, в обеспечение инновационного внедрения развития ГНСС, одним из главных направлений должно быть повышение устойчивости аппаратуры ГНСС к воздействию помех.

[12]

Таким образом, задачей предлагаемого решения является создание устойчивой к воздействию радиоэлектронных средств противника системы спутниковой навигации передвижного ракетного комплекса.

[13]

Универсальным способом повышения помехоустойчивости приема спутниковых сигналов ГЛОНАСС является метод пространственного подавления помех, связанный с пространственной обработкой сигнала.

[14]

Применительно к этой области имеется достаточное количество публикаций. Теоретически вопрос изучен. Однако практическая реализация схемных и конструктивных решений и алгоритмов влияет как на конечный результат (уровень помехозащищенности ГНСС), так и возможность применения помехозащищенных систем в образцах техники.

[15]

Наиболее целесообразным способом обеспечить защиту от помех является применение специализированного антенного модуля, который можно рассматривать как «приставку-антенну» к типовому навигационному приемнику. Например, при использовании в качестве «приставки» изделия «Комета» производства ОАО «ВНИИР Прогресс» для подавления приемника ГЛОНАСС с дальности 30 км потребуется мощность передатчика порядка 1-3 квт, что предполагает создание специализированного комплекса радиоэлектронного подавления.

[16]

Известны разработки и зарубежного производства, такие, как GAS-1 (компания Raytheon Systems Limited), GAJT (совместно компании NovAtel и QinetiQ) и другие.

[17]

Особенностью представленных аналогов является их исполнение как единого устройства, где адаптивная антенна и предполагаемый блок обработки сигнала выполнены не только в одном корпусе, но и на одной плате. Подобное исполнение рационально с точки зрения улучшения работоспособности антенной системы, экономичности изготовления и универсальности применения.

[18]

Данный подход уместен для использования в универсальных видах техники, которые отличаются распространенностью, производятся крупными партиями, не требуют особых технических условий при эксплуатации. К таковым можно отнести, например, автомобили, железнодорожный транспорт, стационарные объекты, располагающие достаточным объемом свободного места, и другие.

[19]

Использование перечисленных антенных систем в таких изделиях, как, например, передвижной ракетный комплекс, возможно, но недостаточно эффективно.

[20]

Для улучшения характеристик системы спутниковой навигации, а вместе с этим и для улучшения характеристик передвижного ракетного комплекса (в части точности, преодоления средств радиоэлектронной борьбы, возможностей наведения на цель и др.) предложено техническое решение, заключающееся в следующем.

[21]

В систему спутниковой навигации (ССН) передвижного ракетного комплекса, содержащую антенную систему и аппаратуру спутниковой навигации, вводят антенную систему, выполненную помехозащищенной в виде независимых блоков: антенны системы спутниковой навигации и блока обработки информации, при этом антенна выполнена в виде отдельных, в количестве не менее четырех, антенных элементов приема спутниковых сигналов, предназначенных для обеспечения работы одного канала спутниковой связи, каждый антенный элемент независимо соединен с блоком обработки информации, причем антенна размещена в верхней части элементов комплекса под радиопрозрачным защитным кожухом, при этом блок обработки информации может быть размещен под радиопрозрачным защитным кожухом, так и в отсеке бортовой аппаратуры комплекса.

[22]

Кроме того, в предлагаемом решении (системе спутниковой навигации передвижного ракетного комплекса) для обеспечения приема спутниковых сигналов по дополнительному каналу спутниковой связи антенна системы спутниковой навигации может содержать не менее одного дополнительного антенного элемента приема спутниковых сигналов, соединенного с блоком обработки информации независимым кабелем, причем количество независимых кабелей соответствует количеству дополнительных антенных элементов.

[23]

Антенные элементы могут быть выполнены на одной печатной плате (технически это проще), но их размещение на отдельных платах, установленных в определенных местах верхней части элементов комплекса, может дать выигрыш в результативности - повышении помехозащищенности.

[24]

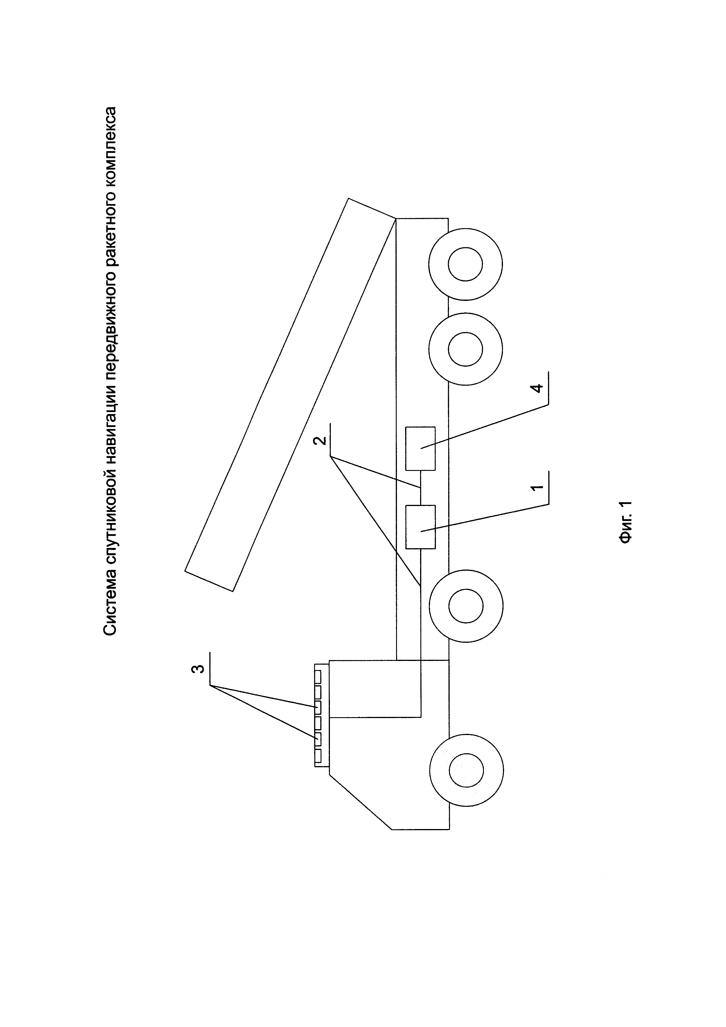
Кроме того, в предлагаемой системе спутниковой навигации передвижного ракетного комплекса для упрощения процесса, связанного с заменой плат, возможно применение антенной системы, совмещенной с комплексом. Для этого в крыше комплекса могут быть предусмотрены углубления («посадочные места») для установки антенных элементов. Таким образом, в случае, когда требуется изменить количество антенных элементов, производится не замена одной платы на другую, а добавляется необходимое количество антенных элементов и соответствующее им количество кабелей для соединения с блоком обработки информации (Фигура 1).

[25]

На представленных иллюстрированных материалах обозначено следующее.

[26]

Фигуры 1, 2 - Передвижной ракетный комплекс с совмещенной антенной системой.

[27]

Фигура 3 - вариант исполнения антенны на печатной плате.

[28]

На представленных фигурах обозначены элементы.

[29]

1 - блок обработки информации;

[30]

2 - независимые кабели;

[31]

3 - антенный элемент;

[32]

4 - аппаратура спутниковой навигации;

[33]

5 - радиопрозрачный защитный кожух;

[34]

6 - антенный блок;

[35]

7 - печатная плата антенны;

[36]

8 - адаптивная антенная решетка;

[37]

9 - антенна из отдельных элементов в составе антенного блока.

[38]

На фигурах 1, 2 схематично представлен вариант реализации решения, в котором антенная система совмещена с комплексом. В крыше кабины передвижного ракетного комплекса под радиопрозрачным защитным кожухом (не показан на чертеже) сформированы посадочные места (углубления в крыше комплекса) для размещения антенных элементов 3. Спутниковые сигналы, воспринимаемые антенными элементами, передаются через независимые кабели 2 в блок обработки информации 1, размещенный в отсеке бортовой аппаратуры комплекса. Полезный спутниковый сигнал, отделенный от помех в блоке обработки информации, поступает в приемник спутниковой навигации и далее в аппаратуру спутниковой навигации 4 (в заявке не рассматриваются).

[39]

На фигуре 3 показаны варианты исполнения антенны. Стрелкой 8 обозначен вариант исполнения антенны в виде адаптивной антенной решетки, где на печатной плате 7 размещены антенные элементы 3. Стрелкой 9 обозначен вариант исполнения антенны из отдельных антенных элементов в составе антенного блока 6. Под радиопрозрачным защитным кожухом 5 размещены антенные элементы 3

[40]

Теоретически, расстояние между антенными элементами может быть намного больше, чем технологический («разумный», возможный к компоновке) размер печатной платы. Так как помехозащищенность антенной системы напрямую зависит от расстояния между антенными элементами, то такое расположение может дать существенный выигрыш в помехоустойчивости.

[41]

Размещение блока обработки информации в отсеке бортовой аппаратуры позволяет обеспечить «комфортный» (приемлемый по техническим требованиям) режим работы, а также защитить его от внешних, в том числе, механических воздействий и исключить повреждения.

[42]

Размещение помехозащищенной антенны под радиопрозрачным защитным кожухом позволяет принимать спутниковые сигналы без потери их свойств. Проведенные эксперименты с использованием существующих материалов, из которых изготовлен кожух, позволяют сделать вывод, что ослаблением сигнала и искажением диаграмм направленности антенны можно пренебречь.

[43]

Соединение каждого антенного элемента независимым кабелем -вызванная техническая необходимость, связанная с особенностями работы помехозащищенной антенной системы. Расчеты и эксперименты показывают, что передача сигнала через грамотно спроектированный кабель, даже с учетом его большой длины (порядка 10 м), не влияет на качество сигнала.

[44]

Количество помех (Nпом), которые возможно исключить (нейтрализовать) будет определяться по зависимости:

[45]

Nпом=Nант – 1, где

[46]

Nант - количество антенных элементов.

[47]

Т.е., чем больше количество антенных элементов, тем большее количество помех возможно нейтрализовать. Тем выше будет помехозащищенность системы спутниковой навигации.

[48]

Из источников литературы, а также из опыта, известно, что реальной является ситуация, когда для подавления аппаратуры потребителей системы спутниковой навигации одновременно используются до трех постановщиков помех. Таким образом, для их нейтрализации необходимо наличие не менее четырех антенных элементов.

[49]

При изменении модели помеховых угроз имеется возможность заблаговременно нарастить количество антенных элементов (например, 5-9 элементов и более на предусмотренные для них посадочные места в крыше комплекса) без переоборудования системы и лишних затрат. В результате можно повысить помехозащищенность системы спутниковой навигации в минимальное время с минимальными затратами.

[50]

Также из литературы известно, что рациональное размещение антенных элементов, т.е. наличие расстояния между ними, определяется длиной волны принимаемого сигнала (в идеале должно быть кратным длине волны). Таким образом, исходя из допустимого пространства, определяется количество антенных элементов и возможности помехоустойчивости ССН.

[51]

Однако, из некоторых требований, предъявляемых к ССН, следует наличие дополнительного канала спутниковой связи, который может быть как защищенным (при этом применяется изложенное выше решение), так и незащищенным. В этом случае достаточно установки одного антенного элемента, соединенного с блоком обработки информации независимым кабелем.

[52]

В случае обнаружения помехи на незащищенном канале связи он может быть выключен, а работа ССН будет переведена на защищенный канал связи.

[53]

Изготовленные образцы помехозащищенных антенных систем подтвердили возможность практической реализации заявляемого решения, что и согласуется с правильностью сделанных расчетов.

[54]

Таким образом, предлагаемое решение позволяет решить главную задачу - повысить помехозащищенность ССН, а вместе с этим и ракетного комплекса.

Как компенсировать расходы
на инновационную разработку
Похожие патенты