патент
№ RU 2569720
МПК A61B19/00

УСТРОЙСТВО ДЛЯ ПАССИВНОЙ НАВИГАЦИИ МЕДИЦИНСКОГО ИНСТРУМЕНТА

Авторы:
Банин Игорь Николаевич Кривоносов Денис Владимирович Жучков Максим Владимирович
Все (7)
Правообладатель:
Все (2)
Номер заявки
2014120071/14
Дата подачи заявки
19.05.2014
Опубликовано
27.11.2015
Страна
RU
Как управлять
интеллектуальной собственностью
Чертежи 
6
Реферат

Изобретение относится к медицине, а именно к приспособлениям для позиционирования медицинского инструментария при оперативном вмешательстве. Устройство включает по меньшей мере один траекторный указатель, закрепленный посредством кольцевого зажима в окне, образованном пересечением направляющих пазов в дугообразных кронштейнах, установленных с возможностью поворота в двух взаимно перпендикулярных вертикальных плоскостях на основании в виде кольца с крепежными элементами. Зажим выполнен в виде трех коаксиальных втулок, соединенных резьбой, из которых внутренняя и промежуточная имеют в нижней части буртик для размещения на них направляющих соответственно нижнего и верхнего кронштейнов, при этом внутренняя втулка снабжена выступающей частью над двумя другими и выполнена с возможностью размещения в ней траекторного указателя, который выполнен в виде съемной трубки с внутренним диаметром, обеспечивающим беспрепятственный проход медицинского инструмента, и имеет опорный фланец для установки на торце внутренней втулки зажима, а крепежные элементы выполнены в виде ремешков с отверстиями для крепления в основании. Использование изобретения позволяет сократить время проведения операции за счет повышения точности позиционирования инструмента. 1 з.п. ф-лы, 7 ил.

Формула изобретения

1. Устройство для пассивной навигации медицинского инструмента, включающее, по меньшей мере, один траекторный указатель, закрепленный посредством кольцевого зажима в окне, образованном пересечением направляющих пазов в дугообразных кронштейнах, установленных с возможностью поворота в двух взаимно перпендикулярных вертикальных плоскостях на основании в виде кольца с крепежными элементами, отличающееся тем, что зажим выполнен в виде трех коаксиальных втулок, соединенных резьбой, из которых внутренняя и промежуточная имеют в нижней части буртик для размещения на них направляющих соответственно нижнего и верхнего кронштейнов, при этом внутренняя втулка снабжена выступающей частью над двумя другими и выполнена с возможностью размещения в ней траекторного указателя, который выполнен в виде съемной трубки с внутренним диаметром, обеспечивающим беспрепятственный проход медицинского инструмента, и имеет опорный фланец для установки на торце внутренней втулки зажима, а крепежные элементы выполнены в виде ремешков с отверстиями для крепления в основании.

2. Устройство по п. 1, отличающееся тем, что выполнено из алюминиевого материала.

Описание

[1]

Изобретение относится к медицине, а именно к приспособлениям для позиционирования медицинского инструментария при оперативном вмешательстве, например штатные костные биопсийные иглы 12G и более, кластерные электроды радиочастотной аблации Cool-Tip, эндоскопы и троакары и т.д.

[2]

Известно устройство для направления медицинского инструмента, включающее траекторный указатель в виде полой трубки, закрепленный посредством кольцевого зажима в окне, образованном пересечением направляющих пазов в дугообразных кронштейнах, закрепленных с возможностью поворота в двух взаимно перпендикулярных вертикальных плоскостях в кольцеобразном основании с лапками для крепления устройства на теле пациента (ЕР 1958588 (А2), МПК A61B 19/00, опубликовано 20.08.2008).

[3]

Известное устройство позволяет выполнять малоинвазивные вмешательства под контролем рентгеновской компьютерной томографии.

[4]

Наиболее значимыми недостатками известного устройства являются:

[5]

- трудности при дополнительном позиционировании уже снаряженного с медицинским инструментом известного устройства. Механизм фиксации траекторного указателя в направляющих кронштейнах в виде кольцевого зажима и одного винта позволяет производить одновременное движение по обеим направляющим дугообразным кронштейнам в двух вертикальных плоскостях. При необходимости перемещения инструмента в одной плоскости не исключается возможность лишнего движения в другой плоскости из-за ослабления винтового фиксатора. Небольшой свободный ход траекторного указателя приводит к угловому отклонению медицинского инструмента и промаху, что требует перепозиционирования. Из-за конструктивных особенностей механизма фиксации перепозиционирование на коже пациента известного устройства, снаряженного инструментом, затруднено из-за нагрузки тканей, тяги мышц, через которые прошел инструмент, что в некоторых случаях приводит к деформации и самопроизвольному разбору устройства, удалению его и поиску другой траектории. Это увеличивает продолжительность операции;

[6]

- ограничения по диаметру применяемого медицинского инструмента одним типоразмером. Фиксированный внутренний диаметр траекторного указателя не позволяет менять инструмент по ходу операции, в тех случаях, когда это необходимо. Например, диагностическая пункция объемного образования в теле человека после получения гистологического исследования сразу может перейти в лечебную процедуру - радиочастотную аблацию с помощью кластерного электрода. Для проведения лечебной процедуры известным устройством последнее нужно удалить и поменять на другое с диаметром трубки траекторного указателя под кластерный электрод;

[7]

- ограничения по месторасположению и фиксации устройства вследствие конструктивных особенностей основания с опорными лапками.

[8]

Наличие последних затрудняет, а в некоторых случаях делает невозможным надежную фиксацию устройства, например паховая, подмышечная область, промежность, области предплечья, голени и т.п. Неустойчивая фиксация сказывается на погрешности и точности наведения медицинского инструмента на цель.

[9]

Задача изобретения - расширение функциональных возможностей устройства для пассивной навигации медицинского инструмента и повышение качества оперативного вмешательства.

[10]

Технический результат - сокращение времени проведения операции за счет повышения точности позиционирования медицинского инструмента и возможности смены последнего в ходе операции без замены устройства для навигации.

[11]

Технический результат достигается тем, что устройство для пассивной навигации медицинского инструмента, включающее, по меньшей

[12]

мере, один траекторный указатель, закрепленный посредством кольцевого зажима в окне, образованном пересечением направляющих пазов в дугообразных кронштейнах, установленных с возможностью поворота в двух взаимно перпендикулярных вертикальных плоскостях на основании в виде кольца с крепежными элементами, отличается тем, что зажим выполнен в виде трех коаксиальных втулок, соединенных резьбой, из которых внутренняя и промежуточная имеют в нижней части буртик для размещения на них направляющих соответственно нижнего и верхнего кронштейнов, при этом внутренняя втулка снабжена выступающей частью над двумя другими и выполнена с возможностью размещения в ней траекторного указателя, который выполнен в виде съемной трубки с внутренним диаметром, обеспечивающим беспрепятственный проход медицинского инструмента, и имеет опорный фланец для установки на торце внутренней втулки зажима, а крепежные элементы выполнены в виде ремешков с отверстиями для крепления в основании.

[13]

Устройство может быть выполнено из алюминиевого материала.

[14]

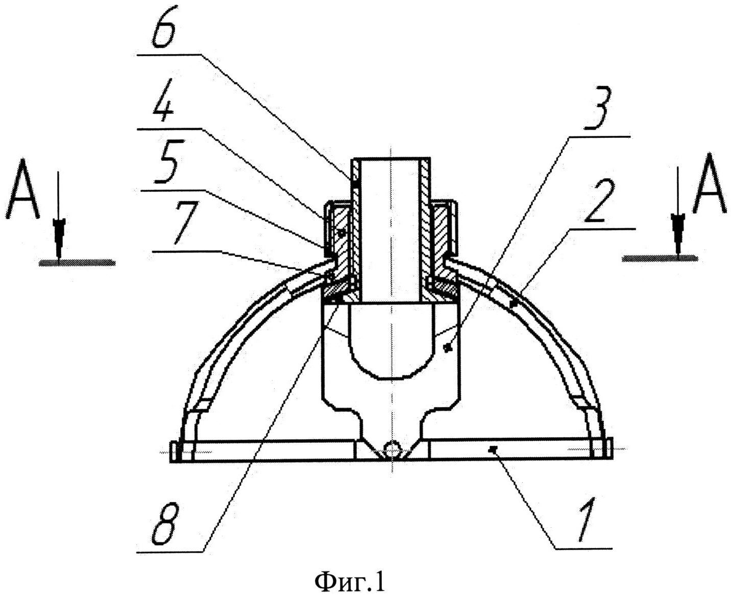
На фиг. 1 изображена конструкция устройства в продольном сечении без траекторного указателя; на фиг. 2 - в аксометрии; на фиг. 3 - вид А-А фиг. 1, на фиг. 4, фиг. 5 изображены траекторные указатели под разные типоразмеры медицинского инструмента в продольном сечении; на фиг. 6, фиг. 7 - продольное сечение конструкции устройства в аксометрии с траекторным указателем по фиг. 4, фиг. 5.

[15]

Устройство для пассивной навигации медицинского инструмента содержит основание 1 в виде кольца, дугообразные кронштейны 2, 3 с направляющими пазами (не показаны). Кронштейны 2, 3 закреплены на основании на осях 9 с возможностью поворота в двух взаимно перпендикулярных вертикальных плоскостях. В окне, образованном пересечением направляющих пазов кронштейнов 2, 3, размещен зажим траекторного указателя в виде трех коаксиальных втулок 4, 5, 6, соединенных резьбой. Причем внутренняя втулка 6 имеет левую резьбу, а внешняя втулка 5 имеют правую резьбу, что обеспечивает удобство их закручивания (по часовой стрелке), раскручивания (против часовой стрелки). Внутренняя втулка 6 и промежуточная втулка 4 в нижней части имеют соответственно буртики 8, 7, поверхности которых сопряжены соответственно с дугообразной поверхностью соответственно направляющих кронштейнов 3, 2. На промежуточной втулке 5 выполнены две лыски, образующие контактные поверхности с направляющими пазами в кронштейнах 2, 3. Внутренняя втулка 6 выполнена более высокой, чем втулки 4, 5, а выступающая часть обеспечивает возможность ее поворота. В кольце основания 1 выполнены четыре симметричных отверстия 10 под ремешки (не показаны) для крепления устройства на теле пациента.

[16]

Траекторный указатель выполнен съемным в виде трубки 11 длиной не более высоты втулки 6 и с опорным фланцем 12, диаметр которого равен внешнему диаметру втулки 6. Внутренний диаметр трубки 11 выбирается из условия беспрепятственного проход медицинского инструмента.

[17]

Устройство снабжается набором траекторных указателей под стандартные размеры медицинских инструментов калибром до 10 мм, при этом внутренний диаметр втулки 6 выбирается из условия возможности установки в ней любого траекторного указателя из этого диапазона, например 10 мм.

[18]

Перед началом работы устройство закрепляется на теле пациенты в месте оперативного вмешательства с помощью ремешков, закрепленных в отверстиях 10 основания 1.

[19]

Во внутренней втулке 6 зажима устанавливают направляющую трубку 11 указателя траектории под требуемый размер медицинского инструмента. При необходимости замены инструмента в процессе оперативного вмешательства в устройстве производят замену траекторного указателя без демонтажа устройства с тела пациента и далее работу с выбранным инструментом.

[20]

В процессе работы устройства при необходимости поворота траекторного указателя в плоскости дуги кронштейна 2 зажим фиксируют на направляющих кронштейна 3 между буртиками 7, 8 соответственно втулок 4, 6 поворотом выступающей части последней относительно промежуточной втулки 4.

[21]

При необходимости поворота траекторного указателя в плоскости дуги кронштейна 3 зажим фиксируют на направляющих кронштейна 2 между буртиком 7 и внешней втулкой 5 поворотом последней относительно втулки 4.

[22]

При необходимости поворота траекторного указателя в двух вертикальных плоскостях (по аналогии с прототипом) зажим фиксируют на направляющие обоих кронштейнов 2, 3 с ослаблением.

[23]

При выбранном положении траекторного указателя с медицинским инструментом положение зажима на направляющих кронштейнов 2, 3 фиксируют, закручивая втулки 6, 5 до упора.

[24]

Выполнение устройства из алюминиевого материала обеспечивает не только устойчивость конструкции в процессе работы с медицинским инструментом, но и возможность многократного использования в силу отсутствия температурных ограничений стерилизации перед повторным использованием.

[25]

Как компенсировать расходы
на инновационную разработку
Похожие патенты