патент
№ RU 2692059
МПК G01S3/78

ТЕПЛОПЕЛЕНГАТОР

Авторы:
Балоев Виллен Арнольдович Иванов Владимир Петрович Сунцов Владимир Вячеславович
Все (5)
Номер заявки
2018130941
Дата подачи заявки
27.08.2018
Опубликовано
20.06.2019
Страна
RU
Как управлять
интеллектуальной собственностью
Чертежи 
1
Реферат

Изобретение относится к оптико-электронному приборостроению, а именно к теплопеленгаторам (ТП), устанавливаемым на подвижном основании, например на летательном аппарате (ЛА), и предназначенным для обнаружения и определения координат теплоизлучающих объектов. Достигаемый технический результат - повышение надежности обнаружения теплоизлучающих объектов за счет использования информации о текущем положении ЛА в пространстве. Указанный результат достигается за счет того, что ТП содержит объектив, устройство фильтрации оптического излучения, матричное фотоприемное устройство (МФПУ) и устройство управления и обработки информации, при этом устройство фильтрации оптического излучения выполнено в виде диска из оптического материала с нанесенными на его поверхность спектральными фильтрами, пропускающими излучение в различных диапазонах спектра, диск снабжен приводом вращения и датчиком положения спектральных фильтров, на корпусе ТП установлены датчики угловой скорости (ДУС), измеряющие угловую скорость поворота корпуса ЛА в трех взаимно перпендикулярных направлениях, причем выходы МФПУ, датчика положения спектральных фильтров и ДУС подключены к устройству управления и обработки информации. 2 ил.

Формула изобретения

Теплопеленгатор, содержащий последовательно установленные объектив, устройство фильтрации оптического излучения, содержащее спектральные фильтры и снабженное приводом вращения и датчиком углового положения спектральных фильтров, матричное фотоприемное устройство, подключенное к устройству управления и обработки информации, при этом теплопеленгатор выполнен с возможностью установки на подвижном основании, отличающийся тем, что снабжен установленными ортогонально и закрепленными на неподвижном корпусе теплопеленгатора датчиками угловой скорости поворота подвижного основания, при этом выходы датчика углового положения спектральных фильтров и датчиков угловой скорости подключены к соответствующим входам устройства управления и обработки информации, соответствующие управляющие выходы которого подключены к управляющим входам матричного фотоприемного устройства и привода вращения устройства фильтрации оптического излучения, при этом спектральные фильтры выполнены в виде покрытий, нанесенных на поверхность диска из оптического материала в виде секторов одинакового размера.

Описание

[1]

Изобретение относится к приборостроению, а именно к оптико-электронным приборам - теплопеленгаторам (ТП), предназначенным для обнаружения и определения координат теплоизлучающих объектов. Такие приборы находят применение в системах индивидуальной защиты летательных аппаратов (ЛА) (см. патент РФ №2601241 МКИ F41G 7/00, опубл. 27.10.2016).

[2]

В настоящее время в системах защиты ЛА отдается предпочтение датчикам мгновенного (несканирующего) обзора, осуществляющим практически одновременный просмотр пространства в секторе более 90° (см. Авиационные станции предупреждения о ракетной атаке // Зарубежное военное обозрение. 2016. №10. С.67-72). Комбинация из четырех или шести подобных датчиков обеспечивает обзор соответственно либо круговой зоны пространства, либо полной сферы. С увеличением зоны обзора возрастает количество целеподобных объектов, из которых должен быть выделен объект с характерными признаками. Одним из таких признаков является отношение сигналов, создаваемых излучением объекта в двух или более узких диапазонах оптического спектра. На использовании этого признака основана спектральная селекция объектов, позволяющая выделять теплоизлучающие объекты на фоне отличающихся по спектру помех. Применение спектральной селекции в ТП способствует повышению вероятности правильного обнаружения объектов.

[3]

Известно пассивное оптико-электронное следящее устройство (см. патент США №8280113 МКИ G06К 9/00, G06F 19/00, опубл. 02.10.2012), содержащее единый входной оптический компонент и спектроделитель, разделяющий излучение на два канала, в каждом из которых установлен фотоприемник. Наличие двух фотоприемников ухудшает возможность правильного обнаружения объекта из-за сложности обеспечения одинакового размера и формата изображений. Кроме того, в схеме с двумя каналами увеличивается количество оптических компонентов, возрастают габариты и стоимость устройства, снижается его надежность.

[4]

Наиболее близким к предполагаемому изобретению является устройство, принятое за прототип и содержащее объектив, устройство фильтрации оптического излучения, матричное фотоприемное устройство (МФПУ) и блок обработки информации (см. патент Франции №2885224 МКИ G01S 3/781, опубл. 03.11.2006). Объектив создает изображение пространства объектов в ИК области спектра, которое фокусируется в плоскости чувствительных элементов МФПУ. Устройство фильтрации оптического излучения содержит три спектральных фильтра, переключаемых с помощью привода, и снабжено датчиком положения фильтров. Спектральные фильтры, каждый из которых пропускает излучение в соответствующем диапазоне спектра, последовательно вводятся в оптический тракт между объективом и МФПУ. В результате воздействия оптического изучения, прошедшего через объектив и спектральные фильтры, в элементах МФПУ вырабатываются электрические сигналы, моменты съема которых синхронизированы с положением спектральных фильтров. Сигналы с МФПУ поступают в блок обработки информации, в котором сначала осуществляется пространственная селекция объектов, находящихся в поле зрения объектива, т.е. происходит выделение объектов, соответствующих по своим пространственным признакам заданным критериям. Затем сигналы от выделенных объектов классифицируются по спектральному признаку, в результате чего при наличии объекта, представляющего угрозу, выдается информация о его угловых координатах.

[5]

При размещении устройства-прототипа на подвижном основании, например на ЛА, совершающем эволюции, происходит смещение изображения пространства объектов на матрице МФПУ из-за временной задержки при переходе от одного спектрального диапазона к другому, т.е. нарушается соответствие пиксельных координат выделенных объектов в последовательных кадрах. Недостатком прототипа является то, что спектральная селекция осуществляется путем сравнения сигналов, полученных в различных спектральных диапазонах с идентичных пикселов МФПУ, и при этом не учитывается смещение изображения, что приводит к погрешностям при выделении полезных сигналов на фоне помех.

[6]

Задачей, на решение которой направлено изобретение, является создание ТП, устанавливаемого на подвижном основании и обладающего повышенной надежностью обнаружения объектов по их тепловому излучению за счет использования информации о текущем положении подвижного основания, например ЛА, в пространстве.

[7]

Указанная задача решается тем, что ТП, содержащий последовательно установленные объектив, устройство фильтрации оптического излучения, содержащее спектральные фильтры и снабженное приводом вращения и датчиком углового положения спектральных фильтров, матричное фотоприемное устройство, подключенное к устройству управления и обработки информации, при этом теплопеленгатор выполнен с возможностью установки на подвижном основании, снабжен установленными ортогонально и закрепленными на неподвижном корпусе теплопеленгатора датчиками угловой скорости, при этом выходы датчика углового положения спектральных фильтров и датчиков угловой скорости подключены к соответствующим входам устройства управления и обработки информации, соответствующие управляющие выходы которого подключены к управляющим входам матричного фотоприемного устройства и привода вращения устройства фильтрации оптического излучения, при этом спектральные фильтры выполнены в виде покрытий, нанесенных на поверхность диска из оптического материала в виде секторов одинакового размера.

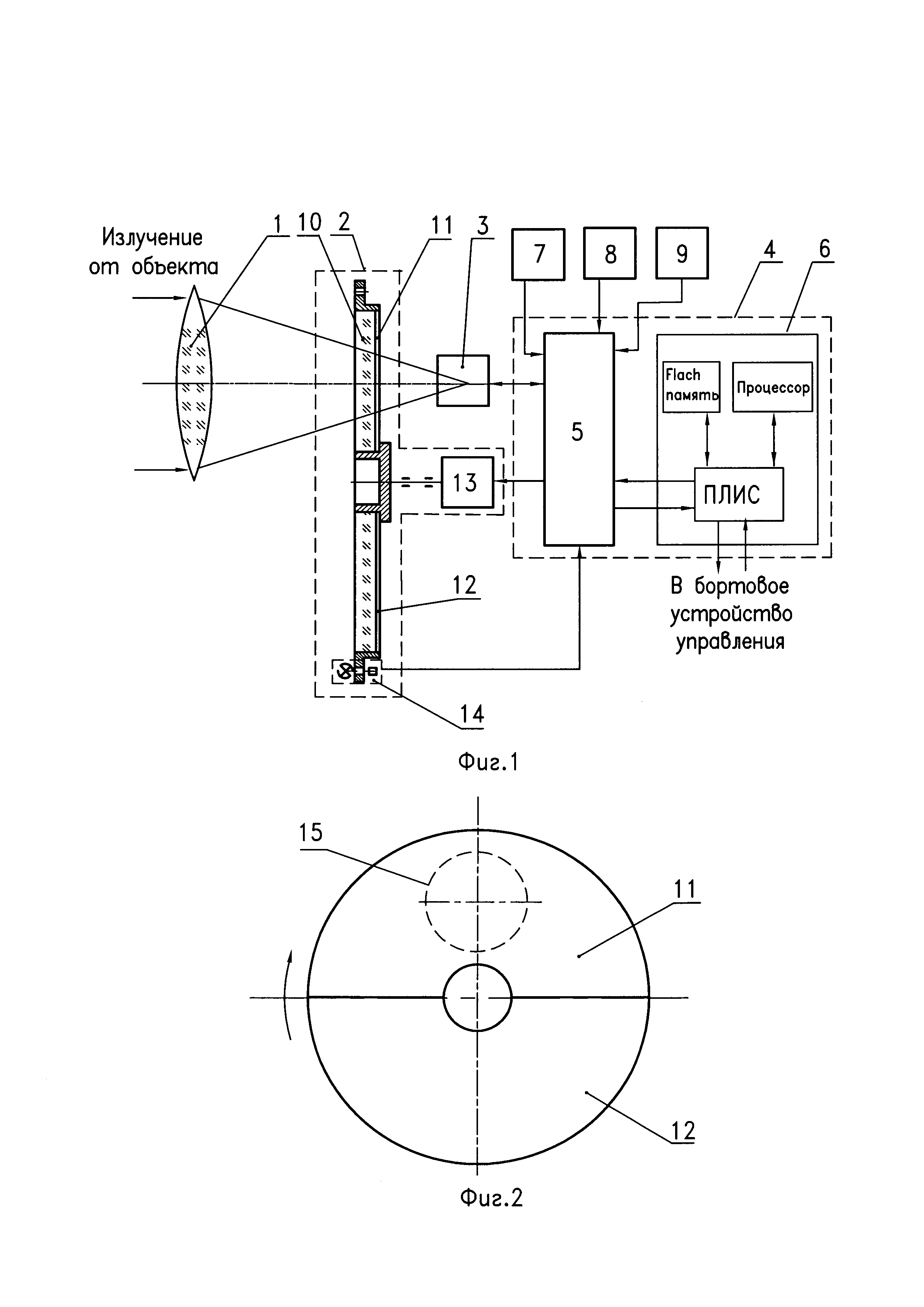
[8]

На фиг. 1 приведена блок-схема ТП.

[9]

На фиг. 2 показаны спектральные фильтры.

[10]

ТП содержит последовательно установленные объектив 1, устройство фильтрации оптического излучения 2, МФПУ 3, устройство управления и обработки информации 4, включающее контроллер управления и связи 5 и вычислитель 6. Датчики угловой скорости (ДУС) 7, 8, 9 установлены 4

[11]

ортогонально и закреплены на неподвижном корпусе (на схеме не показан) ТП, выполненного с возможностью установки на подвижном основании (на схеме не показано). Устройство фильтрации оптического излучения 2 содержит диск 10 из оптического материала с нанесенными на его поверхность спектральными фильтрами 11 и 12 и снабжено приводом 13 вращения диска 10 и датчиком положения спектральных фильтров 14. На фиг. 2 показаны спектральные фильтры 11 и 12, выполненные в виде покрытий, нанесенных на диске 10 в виде секторов одинаковых размеров, а также световой диаметр пучка лучей 15 от объекта. При этом спектральный фильтр 11 пропускает излучение в диапазоне ЛА, а спектральный фильтр 12 - в диапазоне ЛА. Датчик положения спектральных фильтров 14 определяет, какой из спектральных фильтров (11 или 12) находится в оптическом тракте ТП. Количество спектральных фильтров зависит от количества рабочих спектральных диапазонов ТП. ДУС 7, 8, 9 измеряют угловую скорость поворота корпуса подвижного основания, например ЛА, в трех взаимно перпендикулярных направлениях, которая используется для определения положения изображения объекта на матрице МФПУ 3 в текущий момент времени. Выходы МФПУ 3, датчика положения спектральных фильтров 14 и ДУС 7, 8, 9 подключены к соответствующим входам устройства управления и обработки информации 4, которые являются входами контроллера управления и связи 5, осуществляющего предварительную обработку сигналов и дальнейшую их передачу по линии связи в вычислитель 6, выполненный на базе процессора и программируемой логической интегральной схемы (ПЛИС). Кроме того, вычислитель 6 содержит блок «Flach память», в котором записана априори известная информация о соотношении сигналов от объектов и помех в рабочих спектральных диапазонах Δλ1 и Δλ2. Управляющий выход вычислителя 6 по линии связи соединен с контроллером управления и связи 5, управляющие выходы которого являются управляющими выходами устройства управления и обработки информации 4 и подключены к управляющим входам МФПУ 3 и привода 13 вращения диска 10. Информация из вычислителя 6 устройства управления и обработки информации 4 передается в бортовое устройство 5

[12]

управления подвижного основания, например ЛА (на схеме не показано). Контроллер управления и связи 5 представляет собой набор микросхем, обеспечивающих взаимодействие отдельных компонентов ТП и устройства управления и обработки информации 4.

[13]

Работа устройства показана на примере ТП, установленного на ЛА. После поступления команды от бортового устройства управления ЛА, включения электрического питания ТП и выхода устройства управления и обработки информации 4 в рабочий режим через контроллер управления и связи 5 поступает команда на включение привода вращения 13 диска 10 со спектральными фильтрами 11 и 12, в результате чего диск 10 начинает непрерывно вращаться с заданной постоянной скоростью. При этом с датчика положения 14 спектральных фильтров И, 12 с определенной периодичностью, соответствующей угловой скорости вращения диска 10, в устройство управления и обработки информации 4 через контроллер управления и связи 5 поступают сигналы, свидетельствующие о том, какой спектральный фильтр (11 или 12) находится в оптическом тракте устройства в данный момент времени. Как только в поле зрения ТП появляется теплоизлучающий объект, излучение от него проходит через объектив 1, диск 10, затем через спектральный фильтр, находящийся на пути лучей в данный момент времени, и фокусируется в плоскости фоточувствительных элементов МФПУЗ. Под воздействием излучения в емкостях фоточувствительных элементов МФПУ 3 происходит процесс накопления заряда в течение заданного времени (времени накопления сигнала), а затем его считывание (опрос) и передача через контроллер управления и связи 5 устройства управления и обработки информации 4 в вычислитель 6. В следующий момент опроса МФПУ 3 на пути лучей находится другой спектральный фильтр, в результате чего возникает новый сигнал в МФПУ 3, который также передается в вычислитель 6 устройства управления и обработки информации 4. Таким образом, за один оборот диска 10 формируются два кадра с изображением одного и того же объекта (предмета, сцены). Одновременно с передачей сигналов с МФПУ 3, вызванных излучением от объекта, в устройство управления и обработки информации 4 поступает информация от ДУС 7, 8, 9. Из-за наличия временного интервала между моментами опроса МФПУ 3 и движения в пространстве ЛА, на котором установлен ТП, на матрице МФПУ 3 возникает рассогласование положений изображений объекта в различных спектральных диапазонах, поэтому в устройстве управления и обработки информации 4 принадлежность сигналов одному и тому же теплоизлучающему объекту определяется с учетом информации, полученной от ДУС 7, 8, 9. Затем в устройстве управления и обработки информации 4 измеряются амплитуды сигналов в спектральных диапазонах Δλ1 и Δλ2, вычисляется их отношение, которое сравнивается с заранее записанными в блоке «Flach память» отношениями сигналов, присущими определенным классам источников излучения. На основании этого сравнения обнаруженный источник излучения классифицируется как объект интереса или как помеха. Если признаки обнаруженного источника соответствуют объекту, представляющему угрозу ЛА, осуществляется процедура вычисления его угловых координат и передача информации в бортовое устройство управления ЛА.

[14]

В заявляемом устройстве спектральные фильтры выполнены в виде покрытий, нанесенных на одной подложке, в качестве которой служит диск 10. Преимуществом такого решения является то, что при переходе от одного спектрального диапазона к другому не происходит дополнительное смещение изображения объекта, возникающее при нанесении спектральных фильтров на разных подложках.

[15]

Таким образом, предлагаемое изобретение позволяет повысить надежность обнаружения объектов путем более корректного вычисления смещения изображения объекта при переходе от одного спектрального диапазона к другому с учетом использования информации о текущем положении подвижного основания, например ЛА, в пространстве.

Как компенсировать расходы
на инновационную разработку
Похожие патенты