патент
№ RU 2680150
МПК H01J37/06

Катодный блок сварочной электронной пушки

Авторы:
Гончаров Алексей Леонидович Балашов Владимир Николаевич Драгунов Виктор Карпович
Все (4)
Номер заявки
2017146324
Дата подачи заявки
27.12.2017
Опубликовано
18.02.2019
Страна
RU
Как управлять
интеллектуальной собственностью
Чертежи 
1
Реферат

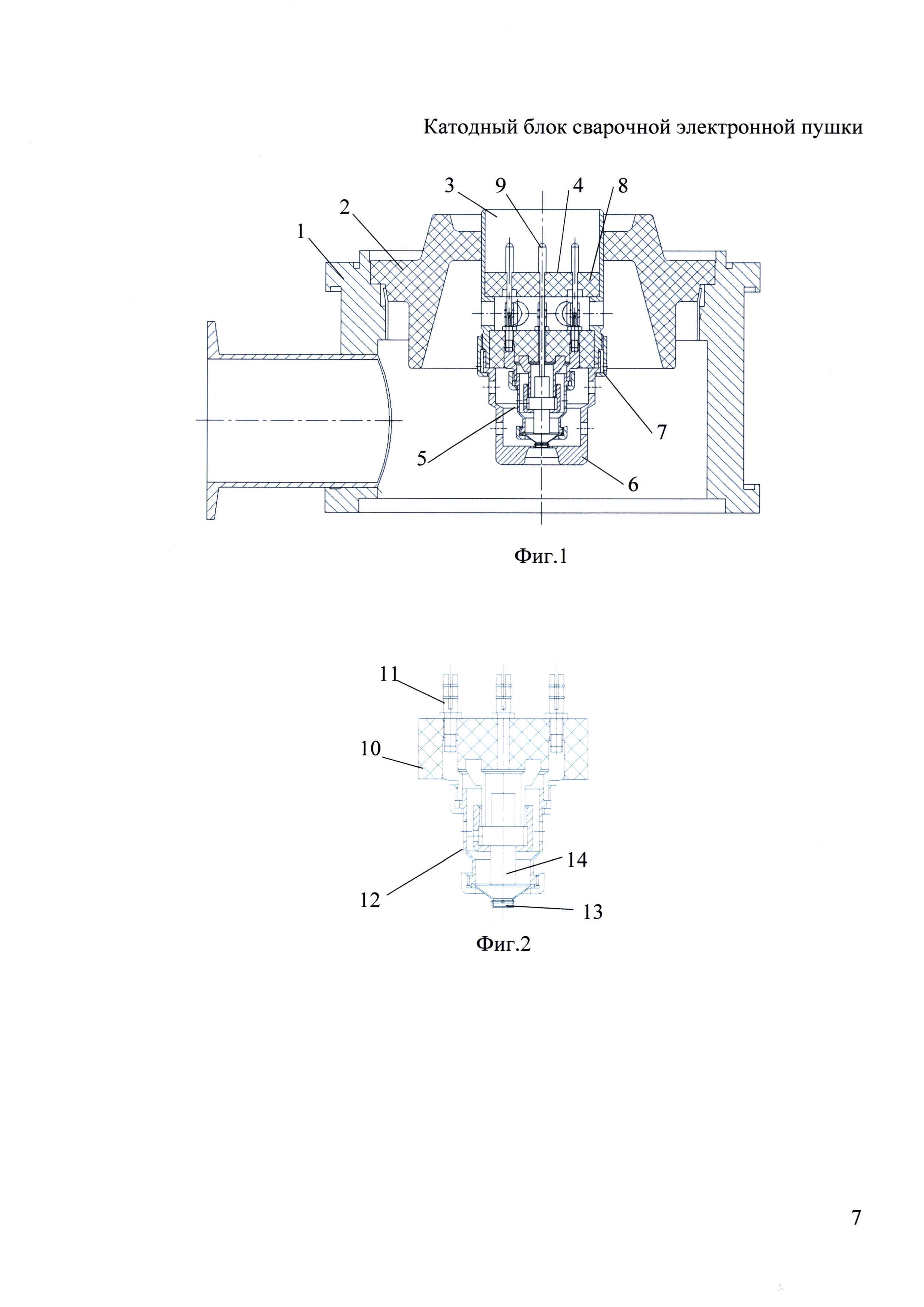
Изобретение относится к области вакуумной электроники, а именно к оборудованию для электронно-лучевой обработки материалов. Технический результат - расширение технологических возможностей, упрощение работы по сборке и замене катодного узла электронной пушки и сокращение времени восстановления работоспособности пушки в случае выхода из строя катода или подогревателя. Катодный блок содержит корпус 1 с установленным в него высоковольтным изолятором 2, в центральном отверстии которого расположена металлическая втулка 3, внутри втулки 3 размещен многоконтактный электрический вакуумный разъем 4, по внутренней цилиндрической поверхности металлической втулки 3 со стороны вакуума установлен съемный картридж 5, управляющий электрод (электрод Венельта) 6 расположен по внешней цилиндрической поверхности втулки 3 со стороны вакуума, накидная гайка 7 обеспечивает фиксацию картриджа 5 и управляющего электрода (электрода Венельта) 6. Разъем 4 содержит вакуумный электрический изолятор 8, в отверстия которого впаяны стержневые контакты 9. Картридж 5 включает в себя электрический разъем 10, ответные электрические контакты 11, держатель катода 12, дисковый катод 13 и подогреватель 14. Многоконтактный вакуумный электрический разъем 4 закреплен внутри металлической втулки 3 вакуумной пайкой. Металлическая втулка 3 закреплена в отверстие высоковольтного изолятора 2 вакуумной пайкой. Внутренняя цилиндрическая поверхность металлической втулки 3 со стороны вакуума является направляющей для легкосъемной ответной части электрического разъема 4 с установленным на нем катодным узлом. После откачки вакуумного объема сварочной электронного блока до высокого вакуума подается ток накала в подогреватель 14 и напряжение бомбардировки между подогревателем 14 и дисковым катодом 13. 2 ил.

Формула изобретения

Катодный блок сварочной электронной пушки, содержащий катод, подогреватель и держатель катода, управляющий электрод, высоковольтный изолятор, в центральное отверстие которого установлена металлическая втулка, отличающийся тем, что снабжен многоконтактным электрическим вакуумным разъемом с вакуумным электрическим изолятором и стержневыми контактами, установленным во внутреннее отверстие металлической втулки, картриджем, установленным со стороны вакуума по средствам ответной части многоконтактного вакуумного разъема, а указанные катод, подогреватель и держатель катода расположены в картридже, при этом торцевая поверхность цилиндрического управляющего электрода фиксирует картридж внутри втулки накидной гайкой.

Описание

[1]

Изобретение относится к вакуумной электронике, а именно к оборудованию для электронно-лучевой обработки материалов, преимущественно для сварки, термической обработки и формирования изделий методом послойной наплавки (синтеза) из металлических материалов в вакууме.

[2]

Известен катодный узел электронно-лучевой пушки из вакуум-плотной керамики, описанный в патенте RU на полезную модель №132255 U1, МПК H01J 37/065, опубл. 17.04.2013 г.) и содержащий наружную металлическую обойму, высоковольтный изолятор, центральный контакт и контакты, выполненные в форме втулок. На контакты у катодного узла последовательно устанавливают подогреватель и катододержатель установленным катодом. Изменение размеров и механическая юстировка их положения является длительной операцией, доступной для выполнения только высококвалифицированному специалисту. Металлическая втулка выполнена из сплава с наиболее близким к керамике коэффициентом линейного расширения, преимущественно из ковара.

[3]

Недостатками такого решения является сложность замены катодного узла и работ по замене расходных материалов электронной пушки - катода и подогревателя.

[4]

Наиболее близкой по технической сущности является сварочная электронная пушка, описанная в книге: Кайдалов А.А., Истомин Е.И. Сварочные электронные пушки. - Киев: Научно-технический комплекс "Институт электросварки им. Е.О. Патона Национальной Академии наук Украины, 2003. - 153 с., содержащая катодный блок, включающий корпус, высоковольтный изолятор, дисковый катод из гексаборида лантана, установленный на катододержателе, и подогреватель, выполненный в виде спирали. Катодный блок установлен на промежуточном корпусе, в котором со стороны катодного блока установлен анод, на боковой поверхности катодного блока выполнен вакуумопровод. Катодный блок выполнен с крышкой, снабженной штуцерами, расположенными на боковой поверхности крышки. Корпус катодного блока соединен с промежуточным корпусом откидной петлей и зажимами. В центральное отверстие высоковольтного изолятора установлена металлическая втулка.

[5]

Недостатком такого решения является сложность работ по замене расходных материалов катодной пушки - катода и подогревателя, а установка дискового катода только одного размера приводит к ограничению пределов регулирования величины тока и диаметра электронного пучка и тем самым уменьшает возможности адаптации параметров электронной пушки.

[6]

Техническая задача изобретения направлена на повышение адаптации параметров сварочного электронного пучка.

[7]

Техническим результатом изобретения является расширение технологических возможностей за счет получения постоянных пространственных и энергетических параметров электронного пучка, упрощение работ по сборке и замене катодного узла электронной пушки и сокращение времени восстановления работоспособности сварочной электронной пушки в случае выхода из строя катода или подогревателя.

[8]

Это достигается тем, что катодный блок сварочной электронной пушки, содержащий высоковольтный изолятор, в центральное отверстие которого установлена металлическая втулка, во внутреннее отверстие металлической втулки установлен многоконтактный электрический вакуумный разъем, к которому со стороны вакуума по средством ответной части многоконтактного вакуумного разъема установлен картридж, содержащий, подогреватель катода, держатель катода и катод, фиксирующийся в отверстии указанной втулки торцевой поверхностью управляющего электрода, который закреплен к втулке накидной гайкой.

[9]

Сущность изобретения поясняется чертежами, где на фиг. 1 изображен катодный блок сварочной электронной пушки, на фиг. 2 представлена конструкция картриджа.

[10]

Катодный блок сварочной электронной пушки содержит корпус 1 с установленным в него высоковольтным изолятором 2, в центральном отверстии которого расположена металлическая втулка 3, внутри втулки 3 размещен многоконтактный электрический вакуумный разъем 4, по внутренней цилиндрической поверхности металлической втулки 3 со стороны вакуума установлен съемный картридж 5, управляющий электрод (электрод Венельта) 6 расположен по внешней цилиндрической поверхности металлической втулки 3 со стороны вакуума, накидная гайка 7 обеспечивает фиксацию картриджа 5 и управляющего электрода (электрода Венельта) 6. Многоконтактный вакуумный электрический разъем 4 содержит вакуумный электрический изолятор 8, в отверстия которого впаяны стержневые контакты 9. Картридж 5 включает в себя электрический разъем 10, ответные электрические контакты 11, держатель катода 12, дисковый катод 13 и подогреватель 14. Многоконтактный вакуумный электрический разъем 4 закреплен внутри металлической втулки 3 вакуумной пайкой. Металлическая втулка 3 закреплена в отверстие высоковольтного изолятора 2 вакуумной пайкой. Высоковольтный изолятор 2 выполнен преимущественно из корундовой или стеатитовой вакуум-плотной керамики. Внутренняя цилиндрическая поверхность металлической втулки 3 со стороны вакуума является направляющей для легкосъемной ответной части электрического разъема 4 с установленным на нем катодным узлом.

[11]

Катодный блок сварочной электронной пушки работает следующим образом.

[12]

После откачки вакуумного объема сварочной электронного блока до высокого вакуума подается ток накала в спираль подогревателя 14 и подается напряжение бомбардировки между спиралью подогревателя 14 и дисковым катодом 13. В результате этого поток электронов, возникающий от спирали подогревателя 14 направляется на верхнюю (не рабочую) поверхность дискового катода 13 и нагревает его до необходимой температуры. После этого подается высокое ускоряющее напряжение и напряжение смещения на управляющий электрод 6 (электрод Венельта), в результате чего происходит формирование сварочного электронного пучка, эмитируемого с нижней рабочей поверхности катода.

[13]

Сварочная электронная пушка создает мощный электронный пучок малого диаметра и направляет его на сварочный стык, в результате чего происходит локальное расплавление металла с образованием сварочного шва, соединяющего детали. Величина тока и диаметр электронного пучка в частности определяется диаметром и температурой катода. Катоды из монокристаллов гексаборида лантана (LaB6) позволяют получить высокую плотность тока в пучке, но быстро отравляются и выходят из строя в загрязненном вакууме, образующимся при сварке некоторых материалов. Прямонакальные катоды из вольфрама или тантала создают пучки с худшими параметрами, однако долго работают в загрязненном вакууме, характерном для процесса электронно-лучевой сварки.

[14]

Конструкция катодного блока позволяет в процессе эксплуатации быстро заменять вышедшие из строя катодные узлы (картриджи) 5. Процесс замены картриджа включает следующие операции:

[15]

- отвернуть гайку 7 и снять управляющий электрод (электрод Венельта) 6;

[16]

- извлечь из отверстия втулки 3 картридж 5 в сборе;

[17]

- установить в отверстие втулки 3 новый картридж 5;

[18]

- установить управляющий электрод (электрод Венельта) 6 и закрепить гайкой 7.

[19]

Картриджи 5 изготовляются, собираются и юстируются преимущественно в заводских условиях и поставляются потребителю в сборе. Поэтому юстировка катодного блока после замены картриджа 5 не требуется.

[20]

Установка картриджа 5 с другой конструкцией деталей, обозначенных позициями 12, 13 и 14, позволяет в широких пределах изменять ток и диаметр электронного пучка в зоне сварки и тем самым адаптировать параметры сварочной электронной пушки к требованиям технологического процесса.

[21]

Допускается ремонт вышедших из строя картриджей 5 на предприятии, эксплуатирующем установку электронно-лучевой сварки, при наличии условий, включая наличие инструмента, приспособлений, сборочных и котировочных стендов и квалифицированного персонала.

[22]

Использование изобретения обеспечивает быструю замену катодного узла, что позволяет сократить время восстановления работоспособности сварочной электронной пушки в случае выхода из строя катода или подогревателя при сохранении постоянных пространственных и энергетических параметров электронного пучка за счет обеспечения стабильных межэлектродных промежутков, а также быстрой адаптации параметров сварочного пучка к изменившимся требованиям технологического процесса.

Как компенсировать расходы
на инновационную разработку
Похожие патенты