патент
№ RU 2594384
МПК H01Q23/00

ШИРОКОПОЛОСНАЯ АКТИВНАЯ ПРИЕМНАЯ АНТЕННА С ФИЛЬТРАЦИЕЙ ВХОДНОГО СИГНАЛА

Авторы:
Ерёмин Вадим Игоревич
Номер заявки
2015137107/28
Дата подачи заявки
31.08.2015
Опубликовано
20.08.2016
Страна
RU
Как управлять
интеллектуальной собственностью
Чертежи 
1
Реферат

Изобретение относится к антенной технике. Особенностью заявленной антенны является то, что электрически короткий антенный элемент представляет собой металлическую пластину, при этом выход антенного элемента подключен к входу усилителя через LC-четырехполюсник, выполняющий роль частотного фильтра, и два резистора, один из которых включен последовательно между антенным элементом и LC-четырехполюсником, а второй также последовательно включен между LC-четырехполюсником и входом активного усилителя, а также схему защиты усилителя и LC-четырехполюсника от удара молнии и перенапряжений, состоящую из разрядника, включенного параллельно на вход антенного элемента, причем работа диодов и разрядника согласуется между собой через величину первого резистора, а между входом и выходом усилителя включен резистор обратной связи. Техническим результатом является создание широкополосной приемной активной антенны с фильтрацией входного сигнала, защищенной от ударов молнии и перенапряжений, при этом обладающей минимальным лобовым аэродинамическим сопротивлением, повышенной помехозащищенностью. 1 з.п. ф-лы, 2 ил.

Формула изобретения

1. Широкополосная приемная активная антенна с фильтрацией входного сигнала, содержащая электрически короткий антенный элемент, несимметричный инвертирующий усилитель, вход которого подключен к антенному элементу, отличающаяся тем, что электрически короткий антенный элемент представляет собой металлическую пластину, при этом выход антенного элемента подключен к входу усилителя через LC-четырехполюсник, выполняющий роль частотного фильтра, и два резистора, один из которых включен последовательно между антенным элементом и LC-четырехполюсником, а второй также последовательно включен между LC-четырехполюсником и входом активного усилителя, а также схему защиты усилителя и LC-четырехполюсника от удара молнии и перенапряжений, состоящую из разрядника, включенного параллельно на вход антенного элемента, причем работа диодов и разрядника согласуется между собой через величину первого резистора, а между входом и выходом усилителя включен резистор обратной связи.

2. Антенна по п. 1, отличающаяся тем, что электрически короткий антенный элемент для защиты от влаги, солнечной радиации, аэродинамического и механического воздействия помещен в радиопрозрачный обтекатель.

Описание

[1]

Изобретение относится к антенной технике и может использоваться в области радиосвязи в качестве широкополосной приемной активной антенны ГКМВ (СВ), ДКМВ (KB) диапазонов частот на стационарных и подвижных объектах, в частности на летательных аппаратах.

[2]

Традиционные пассивные антенны магнитного и электрического типов являются резонансными, что приводит к сильному ухудшению электрических параметров, в частности чувствительности, при смещении рабочей частоты от собственной резонансной частоты антенны. Одним из путей решения данной проблемы является создание активных антенн с электрически коротким антенным элементом, преимуществом которых является сверхширокая рабочая полоса частот и невысокий уровень наводимых помех от близкорасположенных передатчиков [1]. Применение антенны подобного типа на подвижных объектах и, в частности, на летательных аппаратах является перспективным, поскольку небольшие геометрические размеры существенно расширяют возможности по размещению антенн, а сверхширокая рабочая полоса частот позволяет уменьшить число антенн на объекте и тем самым упростить задачу электромагнитной совместимости.

[3]

Основным недостатком, ограничивающим применение активных антенн, является слабая защищенность от воздействия реальной совокупности множества сосредоточенных по спектру помех. Усилитель активной антенны является очень широкополосным (до нескольких сотен МГц). При поступлении мощных, принадлежащих различным диапазонам, помех на вход усилителя, совокупность помех и сигнала может приводить к превышению динамического диапазона усилителя антенны по интермодуляции или блокированию. Следствием превышения динамического диапазона по интермодуляции является нелинейное взаимодействие помех как между собой внутри одного диапазона, так и между различными диапазонами и порождение дополнительных интермодуляционных (нелинейных) помех, спектр которых будет уже попадать в рабочую полосу частот антенны, даже если спектр исходных помех лежал вне этой полосы. Следствием превышения динамического диапазона по блокированию является снижение коэффициента передачи усилителя и соответственно снижение уровня сигнала на выходе. Таким образом, при появлении мощной помехи от близкорасположенного радиопередатчика может происходить ухудшение приема за счет интермодуляции или блокирования усилителя и возникает задача подавления мощных помех на входе усилителя, лежащих вне рабочего диапазона антенны. Для решения данной проблемы используют различные методы подавления помех. Известна широкополосная активная приемная антенна [2], содержащая электрически короткий антенный элемент, выполненный из углепластиковой трубки с металлическим проводником, расположенным внутри ее полости, схему защиты усилителя от перенапряжений, подключенную параллельно входу усилителя, несимметричный инвертирующий усилитель, вход которого подключен к антенному элементу через частотно-зависимый двухполюсник, состоящий из последовательно соединенных L и R элементов. В цепь обратной связи усилителя включен частотно-зависимый двухполюсник в виде RLC последовательного колебательного контура, причем последовательно с реактивным элементом отрицательной обратной связи включена цепочка из параллельно соединенных RC элементов. Углепластик, из которого выполнен корпус антенного элемента, имеет активную проводимость, зависящую от частоты (чем выше частота, тем меньше проводимость), поэтому сигнал в таком антенном элементе с ростом частоты затухает по экспоненциальному закону. Частотно-зависимый двухполюсник имеет в ГКМВ (СВ), ДКМВ (KB) диапазонах частот малое активное сопротивление и максимальное комплексное значение сопротивления на частотах УКВ, ДЦВ, что позволяет достичь требуемое подавление мощных УКВ, ДЦВ помех и увеличить глубину отрицательной обратной связи (ООС) усилителя в диапазоне частот мощных вещательных станций ДВ, ГКМВ (СВ) диапазонов. Все это приводит к ухудшению чувствительности в областях сосредоточенных низкочастотных мощных помех и практически не ухудшает чувствительность приемного тракта в остальной части радиоспектра ДКМВ (KB), УКВ, ДЦВ диапазонов частот.

[4]

Недостатком этой антенны, взятой за прототип, является ограниченное решение помехозащищенности. Предложенный в нем частотно-зависимый двухполюсник, состоящий из последовательно соединенных L и R элементов, совместно с входной емкостью антенного элемента образует RLC последовательный колебательный контур. Аналогичный RLC последовательный колебательный контур включен в цепь обратной связи усилителя. Данные контуры работают как простейшие фильтры [3]. Их недостатками является неравномерность передаточной функции в рабочем диапазоне и невысокая скорость спадания передаточной функции вне рабочего диапазона. Частные решения в виде применения углепластиковой трубки и включения последовательно с реактивным элементом отрицательной обратной связи цепочки из параллельно соединенных RC элементов хотя и улучшают подавление помех соответственно в ВЧ и НЧ областях, но не позволяют управлять скоростью спадания и равномерностью функции передачи антенны. Этот недостаток ограничивает применение антенны в сложной помеховой обстановке, при наличии интенсивной работы передающих радиостанций ДВ, ГКМВ (СВ), ДКМВ (KB), УКВ, ДЦВ диапазонов.

[5]

С другой стороны, хорошо известна и отработана теория электрических фильтров [3-6], предлагающая готовые решения по созданию ВЧ, НЧ, ПФ, ЗФ из L, С и R элементов с требуемой скоростью спадания и равномерностью функции передачи. Однако в прототипе применение таких фильтров осложнено использованием в качестве антенного элемента тонкого электрически короткого штыря. Входной импеданс штыря в ГКМВ (СВ), ДКМВ (KB) диапазоне носит емкостной характер и значение емкости штыря относительно корпуса составляет величину 4-10 пФ при высоте 40-100 см [7]. В этом случае включение фильтра приводит к шунтированию выходного сопротивления паразитными емкостями фильтра и, как следствие, к значительному ухудшению чувствительности антенны. Даже включение в прототип схемы защиты из обратно смещенных диодов (емкость всего 1-2 пФ) заметно ухудшает чувствительность. Замена антенного элемента в виде тонкого штыря на цилиндр такой же высоты приводит к росту емкости, при диаметре 20 см и высоте 30 см входная емкость относительно корпуса будет уже 30 пФ [1]. Однако применение антенного элемента такой формы ставит вопрос об аэродинамическом сопротивлении антенного элемента, существенный для применения антенны на подвижных объектах.

[6]

Другим существенным недостатком прототипа является то, что в нем не предусмотрена защита цепей от удара молнии. Поскольку антенный элемент размещается, как правило, в верхней части объекта и выступает за его габариты, то есть существенная вероятность попадания молнии в антенный элемент. Диодная защита, используемая на прототипе, не способна защитить усилитель и выход антенны от тока молнии, достигающего 200 кА [8] и сопутствующих перенапряжений.

[7]

Еще одним ограничением прототипа является невозможность использовать в схеме усилителя получившие на сегодняшний день широкое распространение и активно развивающиеся операционные усилители с токовой обратной связью, поскольку в описанной схеме усиления отсутствует обратная связь по постоянному току, что делает работу таких усилителей неустойчивой.

[8]

Перечисленные недостатки устраняются в предлагаемом изобретении.

[9]

Техническим результатом изобретения является создание широкополосной приемной активной антенны, защищенной от ударов молнии и перенапряжений, при этом обладающей минимальным лобовым аэродинамическим сопротивлением, повышенной помехозащищенностью по отношению к помехам, лежащим вне задаваемого рабочего диапазона частот, и схемой усиления, позволяющей использовать как операционные усилители с обратной связью по напряжению, так и операционные усилители с токовой обратной связью.

[10]

Указанный технический результат достигается тем, что в широкополосной приемной активной антенне с фильтрацией входного сигнала, содержащей электрически короткий антенный элемент, несимметричный инвертирующий усилитель, вход которого подключен к антенному элементу, электрически короткий антенный элемент представляет собой металлическую пластину, при этом выход антенного элемента подключен к входу усилителя через LC-четырехполюсник, выполняющий роль частотного фильтра, и два резистора, один из которых включен последовательно между антенным элементом и LC-четырехполюсником, а второй также последовательно включен между LC-четырехполюсником и входом активного усилителя, а также схему защиты усилителя и LC-четырехполюсника от удара молнии и перенапряжений, состоящую из разрядника, включенного параллельно на вход антенного элемента, и диодов, подключенных параллельно на вход LC-четырехполюсника со стороны антенного элемента, а между входом и выходом усилителя включен резистор обратной связи.

[11]

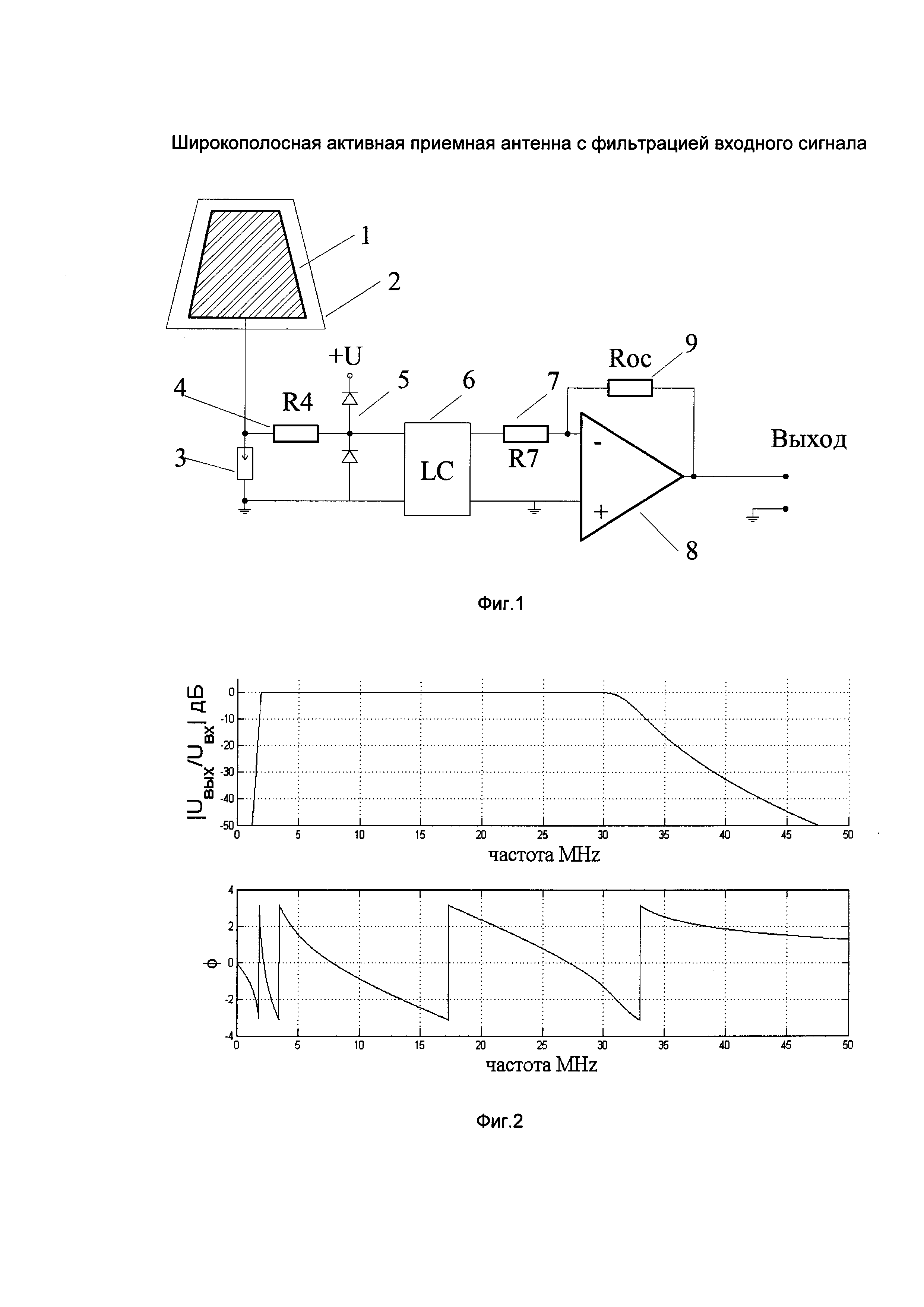
Схема предлагаемой широкополосной активной приемной антенны показана на фиг. 1, где обозначено:

[12]

1 - электрически короткий плоский антенный элемент,

[13]

2 - радиопрозрачный обтекатель,

[14]

3 - разрядник,

[15]

4 - входной резистор,

[16]

5 - защитные диоды,

[17]

6 - LC-четырехполюсник,

[18]

7 - согласующий резистор,

[19]

8 - усилитель,

[20]

9 - резистор обратной связи.

[21]

Предлагаемая широкополосная приемная активная антенна с фильтрацией входного сигнала работает следующим образом.

[22]

За счет того, что электрически короткий антенный элемент 1 представляет собой металлическую пластину, он обладает минимальным лобовым аэродинамическим сопротивлением и одновременно достаточно большой емкостью, позволяющей установить параллельно на его вход разрядник 3. Данный разрядник 3 и защитные диоды 5, включенные параллельно на вход LC-четырехполюсника 6 со стороны антенного элемента 1, формируют защиту от ударов молнии и перенапряжений. Элементы L и С четырехполюсника 6 подбираются таким образом, чтобы вместе с входным импедансом антенны сформировать фильтр с требуемой частотной характеристикой, рассчитанной для нагрузочных сопротивлений, соответствующих резисторам 4 и 7, включенным по концам LC-четырехполюсника 6. Обратная связь усилителя 8 выполняется через резистор обратной связи 9, включенный между входом и выходом усилителя 8, выход усилителя 8 является выходом активной приемной антенны. Для защиты от влаги, солнечной радиации, аэродинамического и механического воздействия электрически короткий антенный элемент закрыт радиопрозрачным обтекателем 2.

[23]

Первой задачей, решаемой в предлагаемом изобретении, является увеличение емкости антенного элемента 1, которая необходима для введения в схему антенны разрядника 3 и LC-четырехполюсника 6 (электрического фильтра). В случае, когда аэродинамическое сопротивление антенны не существенно, возможен вариант выполнения антенны, когда антенный элемент 1 представляет собой полый цилиндр, выполненный из проводника. Но поскольку в изобретении одновременно решается задача создания антенны, обладающей минимальным лобовым аэродинамическим сопротивлением, предлагается использовать активный антенный элемент 1 в виде металлической или металлизированной пластины. При размещении пластины на подвижном объекте параллельно направлению его движения лобовое аэродинамическое сопротивление антенны будет минимальным и будет определяться радиопрозрачным обтекателем 2. Емкость антенного элемента при достаточной длине пластины (т.е. порядка высоты ~30 см) будет составлять величину порядка 80-100 пФ [9]. При такой входной емкости антенного элемента шунтирование емкостью разрядника (~10 пФ) составляет величину порядка 10%. Следует отметить, что поскольку размеры антенного элемента 1 остаются существенно меньше рабочей длины волны (>10 м), то в первом приближении диаграмма направленности такой антенны будет совпадать с диаграммой направленности электрически короткого штыря.

[24]

Следующей задачей, решаемой в изобретении, является защита цепей антенны от удара молнии. Установленный вид и параметры импульса молнии приведены в [8]. Первым элементом защиты антенны является разрядник 3, подключенный параллельно на вход антенного элемента 1. Поскольку срабатывание разрядника 3 происходит с временной задержкой, он не способен защитить цепи антенны от переднего фронта импульса тока молнии, поэтому на входе LC-четырехполюсника 6 установлены обратно смещенные защитные диоды 5. При прохождении переднего фронта импульса тока молнии защитные диоды 5 открываются и пропускают ток через себя, при этом напряжение на входном сопротивлении 4 повышается до значения, достаточного для срабатывания разрядника 3, который пропускает через себя основной ток молнии. Таким образом, работа диодов 5 и разрядника 3 согласуется между собой через величину входного резистора 4. Помимо воздействия молнии защитные диоды 5 защищают вход усилителя 8 от перенапряжений.

[25]

Другой важной задачей, решаемой в изобретении, является частотная фильтрация сигнала, поступающего с выхода антенного элемента 1 на усилитель 8. Эта задача решается включением LC-четырехполюсника 6 между выходом антенного элемента 1 и входом усилителя 8. При небольшой геометрической высоте антенного элемента Н<~30 см входной импеданс антенны является преимущественно емкостным и практически не изменен во всем диапазоне ГКМВ (СВ), ДКМВ (KB) и эту емкость можно считать дополнительным последовательным элементом первого звена LC-фильтра. В этом случае совокупность емкости антенного элемента 1 и LC-четырехполюсника 6 можно рассматривать как фильтр, нагруженный, с одной стороны, на входной резистор 4, а с другой, на согласующее сопротивление 7. Используя метод Дарлингтона [4-6], можно рассчитать ВЧ, НЧ, ПФ или ЗФ требуемого порядка и полосы частот, исходя из конкретного применения антенны. В качестве примера на фиг. 2 приведен модуль и фаза передаточной функции LC полосового фильтра Чебышева 8 порядка, рассчитанного для частотного диапазона 2-30 МГц, с величиной относительного затухания в полосе пропускания 0,004 Дб.

[26]

Схема усилителя 8 строится на базе операционного усилителя. Для того чтобы выходное сопротивление фильтра было равно согласующему резистору 7, второй конец согласующего резистора 7 подключается на инвертирующий вход операционного усилителя, параллельно между этим входом и выходом операционного усилителя включается резистор обратной связи 9, не инвертирующий вход операционного усилителя заземляется по переменному сигналу. Таким образом, формируется стандартная схема усиления с инвертированием. Коэффициент усиления усилителя 8 равен отношению сопротивлений резисторов 9 и 7. Следствием применения такой схемы является возможность использования в схеме операционных усилителей с токовой обратной связью, частотный диапазон устойчивой работы которых определяется величиной активного сопротивления в цепи обратной связи. На текущий момент такие схемы операционных усилителей составляют основную часть операционных усилителей, разрабатываемых для электронных устройств. При этом возможно также использование операционных усилителей с обратной связью по напряжению.

[27]

Предложенная широкополосная активная приемная антенна подходит для применения на летательных аппаратах, при наличии угрозы прямого удара молнии и сложной помеховой обстановки. Решение по повышению помехозащищенности отличается использованием отработанных методов проектирования фильтров, большой гибкостью возможных решений и может быть адаптировано для различных задач и условий, что позволяет использовать предлагаемую антенну на любых подвижных средствах (самолетах, автомобилях, судах), а также в стационарных условиях больших городов, в аэропортах, приемных радиоцентрах, причем как самостоятельно, так и в составе фазированных антенных решеток. Кроме того, принцип работы усилителя антенны позволяет использовать большую часть серийно выпускаемых микросхем усилителей.

[28]

Литература:

[29]

1. Бобков A.M. Реальная избирательность радиоприемных трактов в сложной помеховой обстановке // Санкт-Петербург: Абрис, 2001. - 216 с.

[30]

2. Патент РФ 148922 U1 (прототип).

[31]

3. Босый Н.Д. Электрические фильтры // - 3 изд., перераб. и доп.- Киев: Государственное издательство технической литературы УССР, 1959. - 617 с.

[32]

4. Гарри Лэм Аналоговые и цифровые Фильтры // Пер. с англ. - М.: Мир, 1982, - 592 с.

[33]

5. Зааль Р. Справочник по расчету фильтров // Пер с нем. - М.: Радио и связь, 1983. - 752 с.

[34]

6. Ханзел Г.Е. Справочник по расчету фильтров // Пер. с англ. - М.: Сов. радио, 1974, - 288 с.

[35]

7. Патент РФ 2169973.

[36]

8. МАК АП-25 // редакция 3 с поправками 1-6 - Авиаиздат, 2009.

[37]

9. Иоссель Ю.А. и др. Расчет электрической емкости // - 2 изд., перераб. и доп. - Л.: Энергоиздат Ленингр. отд-ние, 1981. - 288 с.

Как компенсировать расходы
на инновационную разработку
Похожие патенты