Настоящее изобретение относится к оптической физике, а именно к способу формирования поляризационно-чувствительного материала, способного в твердотельном состоянии обратимо образовывать и/или преобразовывать в своем объеме и на поверхности картину пространственно-модулированной, упорядоченной анизотропной молекулярной структуры в виде поляризационно-оптического элемента. Заявленный способ формирования поляризационно-чувствительного материала, способный в твердотельном состоянии обратимо образовывать и/или преобразовывать в своем объеме и на поверхности картину пространственно-модулированной, упорядоченной анизотропной молекулярной структуры в виде поляризационно-оптического элемента путем воздействия поляризованным или неполяризованным, но направленным излучением на поляризационно-чувствительную компоненту указанного поляризационно-чувствительного материала. В качестве поляризационно-чувствительной компоненты, отвечающей за формирование в нем анизотропного оптического элемента, используют фотохимически стабильное, анизотропно одно- или двухфотонно поглощающее, не люминесцирующее или слабо люминесцирующее вещество, входящее в состав поляризационно-чувствительного материала в виде равномерно распределенной на молекулярном уровне компоненты в однородной и изотропной низко- или высокомолекулярной матрице. Образованная указанная пространственно-модулированная, упорядоченная анизотропная молекулярная структура может многократно обратимо образовываться и/или преобразовываться как в случае одно-, так и в случае двухфотонного, через реальный или виртуальный промежуточный уровень, поглощения предлагаемым фотохимически стабильным компонентом поляризационно-чувствительного материала, в состав которого также входят другие низкомолекулярные добавки, колебательные уровни основного состояния которых близки или находятся в резонансе с соответствующими колебательными уровнями молекул фотохимически стабильного вещества, обеспечивая эффективный процесс анизотропной межмолекулярной колебательной кросс-релаксации энергии поглощенного кванта в ближайшее окружение при облучении ПЧМ, кроме того, регулирующие пленкообразующие, вязкостные, анизотропно-оптические, физико-химические и механические свойства формируемого материала в зависимости от его конкретного применения. Технический результат - разработка способа формирования новых поляризационно-чувствительных твердотельных фотоанизотропных материалов на основе не известного ранее эффекта в не люминесцирующих или слабо люминесцирующих, фотохимически стабильных, анизотропно поглощающих (дихроичных) веществах (ФХСВ), способных обратимо формировать и/или трансформировать в своем объеме и на поверхности пространственно-модулированные, упорядоченные молекулярные функциональные нано-, микро- или макрокартинные структуры в соответствии с пространственным распределением поляризационных и энергетических характеристик одно- или двухфотонно поглощаемого активирующего излучения. 5 н. и 23 з.п. ф-лы, 9 ил.
1. Способ формирования поляризационно-чувствительного материала, способного в твердотельном состоянии образовывать в своем объеме и на поверхности поляризационно-оптический элемент в виде картины пространственно-модулированной, упорядоченной анизотропной молекулярной структуры путем облучения поляризованным или неполяризованным, но направленным излучением указанного поляризационно-чувствительного материала, поглощаемым поляризационно-чувствительной компонентой, входящей в состав этого материала, отличающийся тем, что в качестве поляризационно-чувствительной компоненты, отвечающей за формирование в нем анизотропного оптического элемента, используют фотохимически стабильное, анизотропно одно- или двухфотонно поглощающее, не люминесцирующее или слабо люминесцирующее вещество, входящее в состав поляризационно-чувствительного материала в виде равномерно распределенной на молекулярном уровне компоненты в однородной и изотропной низко- или высокомолекулярной матрице, причем образованная указанная пространственно-модулированная, упорядоченная анизотропная молекулярная структура, в которой направление ориентации, ориентационный порядок и анизотропия оптических свойств, а именно величина дихроизма поглощения, двулучепреломления и фазовой задержки, непосредственно коррелируют с пространственным распределением линейного, эллиптического или циркулярного состояния поляризации, энергетических характеристик и направлением распространения активирующего излучения, может многократно обратимо образовываться и/или преобразовываться как в случае одно-, так и в случае двухфотонного, через реальный или виртуальный промежуточный уровень, поглощения предлагаемым фотохимически стабильным компонентом поляризационно-чувствительного материала, в состав которого также входят другие низкомолекулярные добавки, колебательные уровни основного состояния которых близки или находятся в резонансе с соответствующими колебательными уровнями молекул фотохимически стабильного вещества, обеспечивая эффективный процесс анизотропной межмолекулярной колебательной кросс-релаксации энергии поглощенного кванта в ближайшее окружение при облучении ПЧМ и, кроме того, регулирующие пленкообразующие, вязкостные, анизотропно-оптические, физико-химические и механические свойства формируемого материала в зависимости от его конкретного применения. 2. Способ по п. 1, в котором облучение поляризационно-чувствительного материала излучением, поглощаемым его поляризационно-чувствительной компонентой, приводит к образованию поляризационно-оптического элемента в объеме и на поверхности материала, проявляющего анизотропию своих оптических свойств, таких как ориентация оптической оси и величина дихроизма поглощения, двулучепреломления и фазовой задержки, без изменения формы спектров поглощения самого поляризационно-чувствительного компонента, независимо от величины поглощенной энергии, всегда «просветляясь» для поляризационной составляющей, параллельной поляризации активирующего излучения, и «затемняясь» для ортогональной составляющей. 3. Способ по п. 1, в котором фотоиндуцированная анизотропия в поляризационно-чувствительном материале достигает своего максимального фотостационарного значения асимптотически. 4. Способ по пп. 1 и 3, в котором параметр ориентационного порядка фотохимически стабильных молекул в поляризационно-чувствительном материале может достигать значений более 0.8, а фотоиндуцированного двулучепреломления более 0.4. 5. Способ по п. 1, в котором при импульсном воздействии излучением длительностью не более нескольких десятков наносекунд и плотности мощности порядка МВт/см2 аморфные слои фотохимически стабильных веществ без матрицы затрачивают на наведение в них оптической анизотропии в десятки раз меньше, чем при воздействии непрерывным излучением с плотностью мощности порядка десятка мВт/см2. 6. Способ по п. 1, в котором прогрев облученного слоя поляризационно-чувствительного материала до температуры на несколько градусов ниже температуры плавления поляризационно-чувствительной компоненты приводит к увеличению степени молекулярной упорядоченности и наведенной в нем оптической анизотропии. 7. Способ по п. 1, в котором поляризационно-чувствительный материал обеспечивает одно исходное термодинамически устойчивое изотропное состояние с хаотически пространственным ориентационным распределением фотохимически стабильных молекул и два квазитермодинамически устойчивых состояния с ориентацией дипольных моментов перехода молекул в плоскости, перпендикулярной вектору поляризации линейно- или эллиптически поляризованного активирующего излучения или вдоль направления распространения циркулярно-поляризованного или неполяризованного излучения. 8. Способ по п. 1, в котором обратимое образование и/или преобразование указанной пространственно-модулированной, упорядоченной анизотропной молекулярной структуры осуществляется периодическим оптическим облучением путем обратимого пространственного локального или по всей поверхности структуры изменения ориентации вектора поляризации энергии облучающего излучения на ортогональную. 9. Способ по п. 1, в котором обеспечение разнообразных структур со сложной объемной конфигурацией свойств оптической анизотропии (направления оси поляризации, дихроизма поглощения и двулучепреломления) по толщине поляризационно-оптического элемента, сформированного в поляризационно-оптическом материале, осуществляется путем локального изменения направления вектора поляризации и плотности мощности сфокусированного двухфотонно поглощаемого излучения по глубине слоя поляризационно-чувствительного материала. 10. Способ по п. 1, обеспечивающий формирование поляризационно-оптических элементов и устройств, работающих с применением эффекта нефотохимического ориентационного выжигания спектральных провалов в матрицах Шпольского при температурах, близких к температуре жидкого гелия. 11. Поляризационно-чувствительный материал, упомянутый в пп. 1-10 и способный в твердотельном состоянии образовывать в своем объеме и на поверхности поляризационно-оптический элемент в виде картины пространственно-модулированной, упорядоченной анизотропной молекулярной структуры путем облучения поляризованным или неполяризованным, но направленным излучением, одно- или двухфотонно поглощаемым поляризационно-чувствительной компонентой, входящей в состав указанного поляризационо-чувствительного материала, содержащего в общем случае еще: - мономерную, олигомерную или полимерную матрицу для растворения в ней фотохимически стабильного вещества и прозрачную на длине волны активирующего излучения и - специальные низкомолекулярные добавки, регулирующие пленкообразующие, вязкостные и другие физико-химические свойства. 12. Материал по п. 11, в котором наличие или отсутствие в своем составе мономерной, олигомерной или полимерной матрицы определяется его конкретным применением в качестве поляризационно-оптического элемента или устройства. 13. Материал по пп. 11 и 12, в котором фотохимически стабильные, анизотропно поглощающие дихроичные, не люминесцирующие или слабо люминесцирующие вещества выбираются из классов веществ, проявляющих полосы поглощения между 150 нм и 2000 нм в УФ -, видимой и/или ИК-области спектра. 14. Материал по п. 13, в котором классы анизотропных веществ включают, например: - моно-, дис-, трис-, полиазокрасители, металлокомплексные или комплексообразующие азокрасители; - хиноновые красители; - антрахиноновые красители; - азокрасители с полярными гидрофильными «головками» и длинными углеводородными липофильными «хвостами» для пленок Лэнгмюра-Блоджетт; - протравные и кислотные азокрасители; - высокомолекулярные полимерные вещества с азобензольными заместителями в боковой цепи; - азобензолсодержащие жидкокристаллические полимеры. 15. Материал по п. 11, в котором фотохимически стабильные вещества представлены в виде ковалентно связанных би- или многофункциональных молекул, в составе которых кроме дихроичного хромофора дополнительно входят, например, люминесцирующие или фотохромные фрагменты или один или несколько фоточувствительных фрагментов, способствующих фотохимическому образованию пространственной сетки при облучении излучением, поглощаемым этим фрагментом, но не поглощаемым фотохимически стабильным веществом. 16. Материал по п. 11, в котором фотохимически стабильные вещества проявляют термотропные жидкокристаллические свойства в определенном температурном интервале. 17. Материал по п. 11, в котором фотохимически стабильные вещества проявляют лиотропные жидкокристаллические свойства в определенном концентрационном интервале растворителя. 18. Материал по п. 11, в котором фотохимически стабильные вещества введены в основную цепь макромолекулы или ковалентно связаны с ней в боковой группе посредством, например, алкильного спейсера. 19. Материал по п. 11, в котором в качестве полимерной матрицы могут быть использованы хорошо известные производные полиимида, полиэтилена, полистирола, ацетата целлюлозы, поликарбоната, полиэфиров, полиакрилонитрилов, поливинилового спирта, полиметилметакрилата, поливинилэтилаля, поливинилбутираля, полибутилметакрилата, фенолформальдегидные смолы, полиакрилаты и другие полимеры. 20. Материал по п. 11, в котором в качестве полимерной матрицы используют хорошо известные производные светочувствительных полимеров, таких как поливинилциннамат или полиимид. 21. Материал по п. 11, в котором пленкообразующие полимеры выбирают из условий, что их колебательные уровни в основном невозбужденном электронном состоянии находятся в резонансе или близки к соответствующим колебательным уровням фотохимически стабильных веществ. 22. Материал по п. 11, в компонентный состав которого входят низкомолекулярные добавки, колебательные уровни которых в основном невозбужденном электронном состоянии находятся в резонансе или близки к соответствующим колебательным уровням фотохимически стабильных веществ. 23. Материал по п. 11, в котором фотохимически стабильные вещества, или хромофоры, и полимерные матрицы имеют в своем составе по крайней мере два заместителя типа ОН, СООН, NHR (где в качестве R могут быть, например, -С6Н4СН3, -(СН3)2, СОСН3) и другие, способные образовывать по крайней мере две специфические межмолекулярные донорно-акцепторные или водородные связи между дихроичным веществом и макромолекулой полимерной матрицы или между самими дихроичными молекулами с образованием пространственной ориентационно упорядоченной сетки. 24. Материал по п. 11, в котором полимерное связующее отсутствует, а в роли изотропной матрицы при этом выступает сам стеклообразный, изотропный необлученный слой фотохимически стабильного низко- или высокомолекулярного вещества с введенными в него на молекулярном уровне разнообразными технологическими или другими низкомолекулярными добавками, обеспечивающими эффект фотоиндуцированной оптической анизотропии в твердотельном состоянии поляризационно-чувствительного материала. 25. Материал по п. 11, где в качестве специальных низкомолекулярных добавок используются активные добавки, проявляющие высокую селективность и эффективность присходящих в них термо-, фото- или просто химических процессов в зависимости от степени их упорядоченности в высокоориентированной матрице. 26. Применение поляризационно-чувствительного материала на основе фотохимически стабильных веществ по пп. 1-25 в качестве химического и/или конструкционного материала в фототехнологии производства разнообразных картинных двух- и/или трехмерных поляризационно-оптических элементов и устройств нано-, микро- или макрооптоэлектронной техники. 27. Применение поляризационно-чувствительного материала по пп. 1-25 в качестве оптически формируемой картинной высокоориентированной матрицы для специальных низкомолекулярных активных добавок, проявляющих высокую селективность и эффективность происходящих в них термо-, фото- или просто химических процессов в зависимости от степени их упорядоченности в высокоориентированной матрице. 28. Применение поляризационно-чувствительного материала по пп. 1-25 в качестве фотоанизотропного носителя в технических средствах записи, хранения, обработки и отображения информации.
ОБЛАСТЬ ТЕХНИКИ Настоящее изобретение относится к оптической физике, а именно к способу формирования поляризационно-чувствительного материала, способного в твердотельном состоянии обратимо образовывать и/или преобразовывать в своем объеме и на поверхности картину пространственно-модулированной, упорядоченной анизотропной молекулярной структуры в виде поляризационно-оптического элемента. Предмет настоящего изобретения может быть использован и в специфических системах 3-мерных оптических элементов, например, таких как, анизотропные трехмерные оптические элементы типа дифракционных решеток, линз, функциональных фазовых пластин, а также разнообразных структур со сложной объемной конфигурацией анизотропных оптических свойств. В качестве последних могут быть поляризационные прозрачные для измерительного излучения компьютерные модели различных изделий, подвергшихся механическим напряжениям и с которыми можно осуществлять такие же исследования методом фотоупругости, как и с реальными объектами [J.W. Dally, Introduction to Photoelasticity, Exp. Mech. 20, 409 (1980)]. Предлагаемое изобретение относится также к трехмерным системам стереовидения и поляризационной голографии и трехмерным системам оптической памяти WORM (write only read many) или RW (rewritable) - типа. Слои на основе не люминесцирующих или слабо люминесцирующих, фотохимически стабильных, анизотропно поглощающих (дихроичных) веществ с поверхностно упорядоченными молекулярными структурами могут быть использованы как фотоориентирующие слои для термотропных и лиотропных жидких кристаллов (ЖК), а также как оптически формируемые высокоориентированные матрицы для специальных низкомолекулярных активных добавок, проявляющих высокую реакционную селективность и эффективность происходящих в них разнообразных фото- термо- или просто химических процессов, зависящих от степени их картинной ориентационной молекулярной упорядоченности в матрице и т.д. Механизм фотоиндуцированной оптической анизотропии в таких средах ранее не был известен и основан на обратимом формировании в них пространственной картины ориентационной молекулярной упорядоченности, величина и направление которой определяются локальным пространственным распределением состояния поляризации (и направлением распространения) оптического излучения, одно- или двухфотонно поглощаемого ими. УРОВЕНЬ ТЕХНИКИ Первые промышленные применения твердотельных поляризационных оптических элементов (ПОЭ) и устройств были реализованы более 70-ти лет назад, например, в виде модуляторов света с использованием в качестве поляризационно-оптических материалов материалы из естественных электрооптических кристаллов с заданными оптическими и геометрическими параметрами (например, см. Справочник по лазерам, под ред. акад. A.M. Прохорова, в 2-х томах, т. 2, М.: Сов. радио, 1978 г., 400 стр.), а также в виде пленочных поляризаторов Лэнда и фазовых пластин с использованием одноосно растянутых полимерных пленок с наличием в них (или без них) растворенных дихроичных веществ (например, см. У. Шерклиф, Поляризованный свет, получение и использование, перевод с англ., М.: «МИР», 1965 г., 264 стр.) или ориентированных твердотельных слоев красителей, формируемых из проявляющих в определенных растворителях лиотропные жидкокристаллические свойства (например, см. J.F. Dreyer, US 2400877 A, IPC G02B 5/30, опубл. 28.05 1946 г.). Несмотря на значительные технологические усилия, данные работы по ПОЭ (кроме пленочных поляризаторов Лэнда) не получили широкого распространения главным образом из-за их ограниченных функциональных возможностей. Значительный прогресс в разработке ПОЭ наступил с открытием лазеров, голографии и оптической памяти. При этом для расширения их функциональных возможностей усилилась роль технологического воздействия оптического, особенно поляризованного излучения на объемные и поверхностные свойства твердотельных, в частности органических, сред в виде так называемых поляризационно-чувствительных материалов (ПЧМ). Разработка таких анизотропных объемных оптических структур как, например, разнообразных волоконно- или интегрально-оптических элементов ввода-вывода излучения или фотонных кристаллов включает в себя получение пространственно периодических нано-, микро- и субмикроструктур для использования в видимом или ближнем инфра-красном диапозоне длин волн электромагнитного излучения. Стремление разработчиков к созданию технологии дешевого и массового производства легких по весу анизотропных оптических и электрооптических элементов и устройств стимулирует их к необходимости использовать новые поляризационно-чувствительные оптические среды и материалы. В технологии производства ориентированных молекулярных структур, как в объеме, так и на поверхности твердых оптических пленок и тел, возможны оптические методы, которые позволяют формировать обратимые или необратимые ориентационные молекулярные структуры в слоях толщиной примерно от нескольких нанометров до нескольких миллиметров под действием оптически активного облучения, поглощаемого в слое. В общем случае, оптические способы формирования таких анизотропных молекулярных структур могут быть двух типов: «фототермический тип формирования» (ФТТФ) способ, принятый за ближайший аналог заявляемого авторами способа формирования поляризационно-чувствительного материала и «фотонный тип формирования» (ФОТФ) способ, принятый за прототип заявляемого авторами способа формирования поляризационно-чувствительного материала. При использовании не магнитооптических сред, работающей в режиме ФТТФ, локальное мощное импульсное оптическое воздействие излучением с энергией кванта hv приводит к импульсному локальному плавлению (при температуре Т1 на время т1) среды и переходу из аморфного фазового состояния в поликристаллическое при ее охлаждении [смотри, например, US Pat. No, No: 6,090,508; 5,666,344; 5,597,998] (рис. 1b): Процесс обратим и возможен обратный переход при воздействии того же источника излучения с другими параметрами (kТ2, т2) импульса. В случае использования магнитооптических сред, работающих в режиме ФТТФ в присутствие внешнего магнитного поля Н, локальное импульсное оптическое воздействие приводит к импульсному локальному плавлению среды с последующей обратимой ориентационной реорганизаций ее микродоменов при охлаждении [смотри, например, US Pat. No, No: 5,187,703; 5,822,282; 6,061,307] (рис. 1c). Недостатками материалов на основе ФТТФ типа являются его применимость только к средам с очень малой толщиной слоя (порядка 1 мкм) и сложность применения в технологии производства картинно-ориентационных молекулярных нано- или микроструктур больших пространственных размеров (площадей). В настоящее время способ «Photon-type formation» (ФОТФ) формирования поляризационно-чувствительных материалов описан в огромном числе патентов, в которых использовалось множество фоточувствительных композиций, основанных на разнообразных мономолекулярных необратимых или обратимых (фотохромных) фотохимических реакциях деструкции или структурирования под действием поляризованного излучения. Этот метод пассивной фотоселекции основан на эффекте Вейгерта (Weigert effect)), впервые обнаруженном в 1919 году [F. Weigert, Сущность метода пассивной фотоселекции, являющегося следствием угловой селективности (angular hole burning (АНВ)), заключается в том, что резонансное поглощение оптического излучения фотохимически активной молекулой происходит с максимальной вероятностью ε, если направление длинной оси ее дипольного момента перехода μqe на длине волны активирующего излучения совпадает с направлением электрического вектора световой волны Ehv в соответствии с уравнением (2): где θ - угол между Ehv и μge. При перпендикулярном взаимном направлении этих векторов вероятность поглощения света близка к нулю. В связи с этим, в отсутствие достаточно быстрого броуновского теплового вращения в неупорядоченных системах (при исходной беспорядочной ориентации молекул) различные молекулы поглощают свет с различной вероятностью, т.е. свет производит отбор молекул по их ориентации - фотоселекцию. Поглотившие свет молекулы затем вступают в фотохимическую реакцию с определенным квантовым выходом и, таким образом, нарушается исходное неупорядоченное распределение молекул по их пространственной ориентации. Результатом различной вероятности поглощения света различным образом ориентированными центрами является возникновение в ходе реакции преимущественной ориентации как не прореагировавших молекул исходного вещества, так и молекул продукта фотохимического превращения и, как следствие, возникновением фотоиндуцированной оптической анизотропии (дихроизма поглощения и двулучепреломления (ДЛП) Δn=no-ne) в облученном твердом теле. Молекулярный ориентационный порядок зависит от энергии экспонирования, в то время как направление предпочтительной молекулярной ориентации определяется направлением вектора поляризации и/или направлением распространения активирующего излучения. Метод пассивной фотоселекции позволяет использовать для искусственного формирования ориентационно-упорядоченных молекулярных структур (и, соответственно, анизотропии оптических свойств) в твердом теле различные необратимые или обратимые (фотохромные) мономолекулярные фотохимические реакции [В.А. Барачевский, Г.И. Пашков, В.А. Цехомский. Фотохромизм и его применение // М.: «Химия», 280 с. (1977); «Органические фотохромы», под ред. А.В. Ельцова, Л-д (1982); R.C. Bertelson, in: ʺPhotochromismʺ, ed. G.H. Brown; Wiley Interscience (1971), 853; G.H. Dorion, A.F. Weibe, in: ʺPhotochromism - Optical and Photographic Applicationʺ, N.Y., Focal Press, (1970), 120; R.C. Bertelson, in: ʺPhotochromism: Techniques of Chemistryʺ, ed. G.H. Brown, N.Y.: Wiley Interscience, 3 (1971), 45; ʺOrganic Phorochromicsʺ, ed. by A.V. Eltsov, translaited from Russian by Y.E. Sviridov and translation, ed. by J. Whittall, Consultants Bureu, N.Y. 1990]. Оптическая анизотропия, индуцированная светом, является широко распространенным физическим феноменом, о чем свидетельствует фундаментальная экспериментальная работа Кондо (Т. Kondo) [Т. Kondo, Данная статья является наиболее близким по технической сущности и практической реализации к заявляемому в настоящем изобретении способу искусственного формирования картинно-ориентированных упорядоченных нано-, микро- и макромолекулярных структур в твердом теле, принятому за прототип. В последние два десятилетия исследования в области фотоиндуцированной оптической анизотропии в конденсированных средах получили наиболее широкое распространение после обнаружения одним из авторов настоящего изобретения эффекта картинной фотоориентации термотропных и лиотропных жидких кристаллов на поверхности ПЧМ после их облучения поляризованным или даже не поляризованным, но направленным излучением [см. В.М. Козенков и другие, 2-ой Всесоюзный семинар «Оптика жидких кристаллов», Тезисы докладов, Красноярск, 17-21 сентября 1990 г.]. Рефераты практически всех патентов (150), относящиеся к этому направлению применения поляризационно-чувствительных материалов, опубликованных за период с 1990 по 2007 гг., приведены в [V.G. Chigrinov, V.M. Kozenkov, H.S. Kwok, Photoalignment of Liquid Crystalline Materials: Physics and Applications, 232 pp., Wiley, August 2008]. Фотоиндуцированная ориентационная упорядоченность и оптическая анизотропия в таких поляризационно-чувствительных материалах, подобно жидким кристаллам [V.G. Chigrinov, Liquid Crystal Devices. Physics an Applications, Artech House Boston - London, 1999], определяются как: - параметр порядка S: - дихроичное отношение d: - двулучепреломление Δn: где, n11, При этом величина параметра порядка S может изменяться от 0 (полностью неупорядоченная структура) до 1 (полностью упорядоченная структура). Величина фазовой задержки δ определяется выражением: где: Δn и d - величина двулучепреломления и толщина оптически прозрачной пленки, соответственно; λ - длина волны измерительного света. Однако в реальности, максимально достигаемые значения параметра молекулярного порядка S для первоначально изотропного ПЧМ, формируемого на основе пассивной фотохимической селекции (обратимой или необратимой фотохимической реакции в поляризованном свете) достаточно маленькие (обычно меньше, чем 0.3). Это связано с тем, что он очень чувствителен к химической структуре фоточувствительных веществ и времени (энергии) их экспонирования (рис. 2, кр. 1, 2) и требует точного контроля режима облучения. Кроме того, индуцированная оптическая анизотропия уменьшается или полностью исчезает при достаточно высокой энергии экспозиции, т.е. молекулярная порядок зависит от энергетической экспозиции критически (рис. 2, кр. 1, 1ʺ). Более того, как правило, фото-наведенная анизотропия в этих материалах термически не стабильна и быстро исчезает при нагревании. Характерным свойством метода формирования ориентационно-упорядоченных молекулярных нано-, микро- и макроструктур с фотоиндуцированной анизотропией (например, двулучепреломлением) в слоях всех типов этих фотохимических материалов является частичная обратимость процесса формирования оптической анизотропии с возможностью оптического и/или термического ʺстиранияʺ и последующего восстановления оптической анизотропии с тем же направлением оптической оси (см. рис. 2, кр. 1 и 1' 1ʺ; 2 и 2', 2ʺ, соответственно). Обратимость процесса фото-индуцированной анизотропии в поляризационно-чувствительном материале (ПЧМ), например, позволяет осуществлять процесс оптической корректировки неправильно записанной в слое ПЧМ картинной анизотропной нано-, микро- или макроструктуры. Это упрощает сам технологический процесс изготовления таких картинных оптически анизотропных структур. Однако, значительным недостатком использованим таких ПЧМ, фомируемых с использованием фоточувствительных веществ на основе пассивной фотохимической селекции является их крайне ограниченая обратимость. Это видно из рис. 2 (кр. 1ʺ), где показано, что вид кинетик формирования и величина оптической анизотропии (например, ДЛП) значительно изменяется с циклами «оптическое наведение (кр. 1) - оптическое стирание (кр. 1') и оптическое восстановление (кр. 1ʺ)». Таким образом, недостатками ФТР метода формирования картинно молекулярно ориентационно упорядоченных нано-, микро- или макроструктур в фоточувствительных средах на основе пассивной фотоселекции являются: 1. Низкий оптически формируемый ориентационный порядок (S<0.1-0.3), 2. Неоднозначность зависимости количественной величины формируемой ориентационной и оптической анизотропии от величины поглощенной энергии фотохимически активного поляризованного излучения. Это видно из приведенных на рис. 2 типичных зависимостей наведения фотоиндуцированного ДЛП от энергии экспозиции для фотоанизотропных материалов на основе пассивной необратимой (кр. 1) и обратимой (фотохромной) (кр. 2) фотохимической селекции. В ходе фотолиза в таких системах наведенная анизотропия, проходя через максимум, при длительном облучении может стремиться либо к некоторому фотостационарному значению Δn, как для фотохромных сред (кр. 2÷2ʺ), либо к нулю (кр. 1÷1ʺ), как для необратимых фотохимических процессов. В последнем случае при длительном облучении формируется изотропный слой фотопродукта. 3. Ограниченная реверсивность. Она обусловленна конечным количеством фотохимически чувствительных молекул в среде для необратимых процессов или фотодеструкцией фотохромных молекул. 4. Изменчивость формы спектров поглощения и химических свойств в исходном и упорядоченном состояниях. Для примера, на рис. 3 приведен спектр поглощения фоточувствительного вещества из класса феноксинафтаценхинонов в полимерной матрице до (кр. 1) и после (кр. 2 и 3) облучения актиничным излучением [В.М. Козенков и др., Вестник МГОУ, серия Физика и матеатика, 4, 115-122 (2011)]. Кроме того, ФОТФ метод формирования картинно молекулярно ориентационно-упорядоченных нано-, микро- или макроструктур в ПЧМ на основе пассивной фотоселекции имеет и ряд других недостатков, которыми являются: 5. Отсутствие порогового эффекта по плотности мощности активирующего излучения при формировании локально-ориентированных молекулярных нано- и микроструктур непосредственно в объеме фотоанизотропного ПЧМ. По этой причине невозможно использовать однофотонные фотохимические реакции для формирования локальных пространственно модулированных ориентационных молекулярных нано- или микро структур в объеме слоя. 6. Наличие только одного (неупорядоченно изотропного) термодинамически устойчивого состояния. 7. Отсутствие методов фиксации формируемого в слое ориентационного порядка (оптической анизотропии). Это приводит к его деструкции при воздействии посторонних или считывающих излучений, поглощаемых ими. Кроме того, наведенная поляризованным светом анизотропия (ориентационная упорядоченность) может релаксировать в результате вращательной термической диффузии фотоселектированных молекул и их фотопродуктов в темноте или в результате обратного химического превращения для фотохромных веществ. Раскрытие изобретения Задачей настоящего изобретения является разработка способа формирования новых поляризационно-чувствительных твердотельных фотоанизотропных материалов на основе не известного ранее эффекта в не люминесцирующих или слабо люминесцирующих, фотохимически стабильных, анизотропно поглощающих (дихроичных) веществах (ФХСВ), способных обратимо формировать и/или трансформировать в своем объеме и на поверхности пространственно-модулированные, упорядоченные молекулярные функциональные нано-, микро- или макрокартинные структуры в соответствии с пространственным распределением поляризационных и энергетических характеристик одно- или двухфотонно поглощаемого активирующего излучения. Задача решается за счет того, что создан способ формирования пояризационно-чувствительного материала, способного в твердотельном состоянии образовывать в своем объеме и на поверхности поляризационно-оптический элемент в виде картины пространственно-модулированной, упорядоченной анизотропной молекулярной структуры путем облучения поляризованным или неполяризованным, но направленным излучением указанного поляризационно-чувствительного материала, поглощаемым поляризационно-чувствительной компонентой, входящей в состав этого материала, отличающийся тем, что в качестве поляризационно-чувствительной компоненты, отвечающей за формирования в нем анизотропного оптического элемента, вместо анизотропного фотохимически чувствительного вещества предлагается использовать фотохимически стабильное, анизотропно одно- или двухфотонно поглощающее, не люминесцирующее или слабо люминесцирующее вещество, входящее в состав поляризационно-чувствительного материала, например, в виде равномерно распределенной на молекулярном уровне компоненты в однородной и изотропной низко- или высокомолекулярной матрице, причем образованная указанная пространственно-модулированная, упорядоченная анизотропная молекулярная структура, в которой ориентационный порядок и анизотропия оптических свойств (направления оптической оси и величин дихроизма поглощении, двулучепреломления и фазовой задержки) и других угловых зависимостей физико-химических свойств непосредственно коррелирует с пространственным распределением линейного, эллиптического или циркулярного состояния поляризации, энергетических характеристик и направлением распространения активирующего излучения, может быть многократно обратимо образовываться и/или преобразовываться как в случае одно-, так и в случае двухфотонного (через реальный или виртуальный промежуточный уровень) поглощения предлагаемым фотохимически стабильным компонентом поляризационно-чувствительного материала, в состав которого также входят другие низкомолекулярные добавки, колебательные уровни основного состояния которых близки или находятся в резонансе с соответствующими колебательными уровнями молекул ФХСВ, обеспечивая эффективный процесс анизотропии межмолеулярной колебательной кросс-релаксации энергии поглощенного кванта при облучении ПЧМ и, кроме того, регулирующие пленкообразующие, вязкостные, анизотропно-оптические, физико-химические и механические свойства формируемого материала в зависимости от его конкретного применения. Другим предметом изобретения является способ формирования поляризационно-чувствительного материала, способного образовывать в своем объеме и на поверхности поляризационно-оптический элемент, который при облучении линейно, эллиптически или циркулярно поляризованным или неполяризованным излучением, поглощаемым поляризационно-чувствительной фотохимически стабильной компонентой материала, проявляет анизотропию своих оптических свойств (дихроизм поглощения, двулучепреломление и фазовую задержку), оставляя без изменения форму спектров поглощения фотохимически стабильной компоненты, независимо от величины поглощенной энергии, но всегда «просветляясь» для поляризационной составляющей, параллелной поляризации активирующего излучения и «затемняясь» для ортогональной составляющей. При этом некоторые возможные изменения в спектрах поглощения обусловлены проявлением изменения Ван-дер-Ваальсовых сил межмолекулярного взаимодействия при воздействии поляризованного или направленного излучения на поляризационно-чувствительный материал [Дубинин Н.В., Юдин С.Г., Блинов Л.М. Квадратичный эффект Штарка и ориентация молекул в полярных лэнгмюровских мультислоях // Оптика и спектроскопия, 1985, 59(1), 92]. Особенно это проявляется в эффекте так называемого «нефотохимического спектрального провала» в средах с неоднородно уширенными спектрами поглощения при гелиевых температурах [Е.И. Альшиц, Б.М. Харламов, З.И. Персонов, К вопросу о нефотохимическом выжигании спектральных провалов // Журн. Прикл. Сректроск., XLV, 559 (1986)]. Еще одним предметом настоящего изобретения является поляризационно-чувствительный материал, в котором поляризационно-чувствительная компонента выполнена из различных классов фотохимически стабильных, анизотропно поглощающих (дихроичных) веществ с полосами поглощения между 150 нм и 2000 нм в УФ-, видимом и/или ИК областях спектра. При этом, классы таких анизотропных веществ могут включать, например: - моно-, дис-, трис-, полиазокрасители, металлокомплексные или комплексообразующие азокрасители [смотри, например, А.В. Иващенко, Дихроичные азокрасители для жидкокристаллических дисплеев. Хим. пром., Анилинокрасочная пром., НИИТЭХИМ, Черкассы, 1987]; - антрахиноновые красители, моно- и полиокси антрахиноны [смотри, например, А.В. Иващенко, Дихроичные антрахиноны для жидкокристаллических дисплеев. Хим. пром., Анилинокрасочная пром., НИИТЭХИМ, Черкассы, 1989]; - азокрасители с полярными гидрофильными «головками» и длинными углеводородными липофильными «хвостами» для пленок Лэнгмюра-Блоджетт - протравные или кислотные азокрасители [Б.И. Степанов, Введение в химию и технологию органических красителей, изд. «Химия», М. 1971]; а также многие другие фотохимически стабильные вещества из классов анизотропных (дихроичных) веществ, проявляющих свойство фотоиндуцированной оптической анизотропии в твердотельных слоях с участием низкомолекулярных добавок, колебательные уровни основного состояния которых близки или находятся в резонансе с соответствующими колебательными уровнями молекул фотохимически стабильного вещества, обеспечивая эффективный процесс анизотропии межмолегулярной колебательной кросс-релаксации энергии поглощенного кванта. В большинстве случаев такими молекулярными добавками по отнощению к оптически возбужденным молекулам могут являться те же, но не возбужденные анизотропные молекулы, расположенные в ближайшем окружении (nearest neighbors) первых. Поляризационно-чувствительный материал может (но не обязательно) представлять собой, например, исходно изотропный, твердый неупорядоченный полимерный раствор (матрицу) с равномерно распределенными в ней на молекулярном уровне фотохимически стабильными анизотропно поглощающими, не люминесцирующими или слабо люминесцирующими веществами. В некоторых случаях полимерное связующее может и отсутствовать, а в роли изотропной матрицы при этом выступает сам стеклообразный, изотропный необлученный слой фотохимически стабильного низко- или высокомолекулярного вещества с введенными в него (при необходимости) на молекулярном уровне разнообразными технологическими или другими низкомолекулярными добавками, обеспечивающими, кроме того, в частности, эффект фотоиндуцированной оптической анизотропии в твердотельном состоянии ПЧМ. Фотохимически устойчивые анизотропные хромофоры, например, производные азокрасителей, могут быть введены непосредственно в основную цепь макромолекулы полимера или ковалентно связаны с ней в боковой группе. В том числе посредством конформационно подвижного, например, алкильного спейсера, облегчающего процесс фотоиндуцированной ориентационной упорядоченности при воздействии поляризованного или не поляризованного, но направленного излучения. При этом подобные полимерные структуры могут содержать в своем составе фрагменты, придающие им свойства термотропных жидких кристаллов в определенном температурном диапазоне или лиотропных жидких кристаллов в определенном интервале концентраций. Низко - или высокомолекулярные ФХСВ могут и сами проявлять термотропные жидкокристаллические свойства в определенном температурном интервале или лиотропные жидкокристаллические свойства в определенном концентрационном интервале растворителя. Кроме того, ФХСВ могут быть выполнены в виде би- или многофункциональных веществ типа мономеров или олигомеров, в состав которых могут быть дополнительно введены, например, люминесцирующие или фотохромные фрагменты, а также один или несколько фрагментов, способных димеризоваться или образовывать под действием фотохимически активного по отношению к ним излучения (не поглощаемого ФХСВ) пространственную полимерную сетку. Указанные выше вещества могут самостоятельно образовывать твердые слои или могут быть введены в качестве добавки в прозрачные для активирующего по отношению к ним излучения полимерные матрицы, а сами твердые слои ПЧМ на их основе могут получаться методом полива, центрифугирования или окунания полимерного раствора с последующим испарением растворителя. Они могут также быть получены путем фото- или термополимеризации мономерных или олигомерных композиций с добавкой анизотропно поглощающих веществ (ФХСВ), изготовлены без полимерной матрицы в виде пленок Лэнгмюра-Блоджетт или аморфных слоев путем центрифугирования, окунания, полиграфической печати или термического напыления в вакууме. Для придания заданных объемных форм конденсированным средам на основе ФХСВ, растворенных в мономерных или олигомерных матрицах, последние могут отверждаться с помощью тепла или какого-либо другого излучения с длиной волны вне спектральной области оптического излучения, поглощаемого этими дихроичными веществами. В качестве высокомолекулярных (полимерных) матриц могут быть использованы фотохимически устойчивые или фоточувствительные полимеры, прозрачные в спектральной области одно- и/или двухфотонного поглощения ФХСВ. Они служат для сохранения или получения требуемой формы и обеспечения необходимой жесткости ПЧМ. Желательно, чтобы колебательные уровни основного электронного состояния полимерной матрицы находились в резонансе с соответствующими уровнями дихроичных ФХСВ, в качестве которых используются стержнеобразные молекулы с сильно выраженной анизотропией осциллятора поглощения на длине волны одно- или двухфотонного поглощения. Это обеспечивает получение более высокой фотостимулированной степени молекулярной ориентационной упорядоченности как самих ФХСВ, так и полимерных фрагментов и других молекул, содержащихся в ПЧМ и находящихся в ближайшем окражении ФХСВ. Такими полимерами могут быть хорошо известные производные: полиимида, полиэтилена, полистирола, ацетата целлюлозы, поликарбоната, полиэфиров, полиакрилонитрилов, поливинилового спирта, полиметилметакрилата, поливинилэтилаля, поливинилбутираля, полибутилметакрилата, фенолформальдегидные смолы, полиакрилаты, и другие полимеры. В качестве низкомолекулярных добавок желательно использовать фотохимически устойчивые, прозрачные в спектральной области поглощения ФХСВ также анизотропные вещества, колебательные уровни которых в основном невозбужденном электронном состоянии находятся в резонансе или близки к соответствующим электронным уровням ФХСВ. Для улучшения своей ориентационной упорядоченности эти добавки могут быть и химически связаны непосредственно с анизотропно поглощающими веществами ФХСВ в виде би- или многофункциональных мнономерных или олигомерных веществ. Все эти вещества предпочтительно должны иметь в своем составе, по крайней мере, два заместителя типа -ОН, -NH2, СООН, NHR (где в качестве R могут быть, например, - -С6Н4СН3, -(СН3)2, СОСН3) и другие, способные образовывать, по крайней мере, две специфические межмолекулярные донорно-акцепторные или водородные связи между данным веществом и макромолекулой полимерной матрицы или между самими дихроичными молекулами с образованием пространственной упорядоченной сетки. Предлагаемые поляризационно-чувствительные материалы, кроме исходного термодинамически устойчивого изотропного состояния с хаотическим пространственным ориентационным распределением анизотропных фотохимически устойчивых молекул в нем, обеспечивают при поглощении ими актиничного излучения еще два вида квазитермодинамически устойчивых состояния с ориентацией поглощающих молекулярных осцилляторов в плоскости, перпендикулярной вектору поляризации активирующего излучения и вдоль направления распространения циркулярно поляризованного или неполяризованного излучения. Заявляемые ПЧМ проявляют эффект формирования ориентационной молекулярной упорядоченности и в режиме двухфотонного каскадного или кооперативного поглощения, что обеспечивает возможность, например, картинного формирования распределения направления оптической оси или величины ДЛП по глубине объемного ПЧМ. Такие структуры невозможно получить при формировании в режиме однофотонного экспонирования. Еще одним вариантом формирования ориентационной молекулярной упорядоченности в предлагаемых материалов в соответствии с настоящим изобретением является сенсибилизированная ориентационная упорядоченность. Преимуществами поляризационно-чувствительных фотоанизотропных материалов на основе не люминесцирующих или слабо люминесцирующих, фотохимически стабильных, анизотропно поглощающих (дихроичных) веществ являются: 1. высокое значение параметра порядка, наводимого активирующим излучением (S~ 0.8÷0.9), 2. высокое значение фотоиндуцированного ДЛП, наводимого активирующим излучением (~ 0.2÷0.5), 3. однозначность зависимости количественной величины формируемой ориентационной и оптической анизотропии от величины поглощенной энергии активного поляризованного излучения, 4. наличие трех (одно изотропное и два анизотропных) термодинамически устойчивых состояний, 5. возможность темновой самоорганизации, 6. низкая темновая релаксация (как минимум, более 25 лет), 7. два пороговых эффекта по плотности мощности активирующего излучения, 8. практически неограниченная реверсивность и возможность адаптивной переориентации, 9. высокая инвариантность спектров поглощения в исходном и ориентированном состояниях. Предметом настоящего изобретения является также использование заявляемого поляризационно-чувствительного материала: - в качестве химического и/или конструкционного материала в фототехнологии производства разнообразных картинных двух- и/или трехмерных поляризационно-оптических элементов и устройств нано-, микро- и макрооптоэлектронной техники, а также в приборостроении с использованием таких поляризационно-оптических элементов. Указанный поляризационно-чувствительный материал может быть использован при изготовлении оптических анизотропных изделий волоконной и интегральной оптики типа анизотропных фотонных кристаллов, объемных дифракционных решеток, устройств ввода-вывода излучения, линз, поляризационно-селективных делителей световых пучков и т.д, в фототехнологии производства фототермически стабильных адаптивных внутренних тонкопленочных фазовых пластин и поляроидов, а также фотоориентантов жидких кристаллов. - в качестве оптически формируемой картинной высокоориентированной матрицы для специальных низкомолекулярных активных добавок, проявляющих высокую селективность и эффективность происходящих в них термо-, фото- или просто химических процессов в зависимости от степени их упорядоченности в высокоориентированной матрице. - в качестве поляризационно-чувствительных фотоанизотропных носителей информации в технических средствах записи, хранения, обработки и отображения информации, в том числе в системах двух - (2D) и/или трех - (3D) мерной оптической памяти WORM и VR - типа, в поляризационной компьютерной, в том числе коноскопической, голографии, в средствах защиты от подделок и идентификации ценных бумаг и других изделий бытового и технического назначения, при создании новых приборов и устройств измерительной техники для исследования механических напряжений в различных изделиях методом фотоупругости и т.д. КРАТКОЕ ОПИСАНИЕ ЧЕРТЕЖЕЙ На фиг. 1 представлены оптические способы формирования ориентированных молекулярных структур: a) фотоориентация фотохимически стабильных анизотропных молекул, b) фазовые изменения (Prior Art), c) магнитооптика (Prior Art), d) пассивная фотохимическая угловая селекция (Weigert эффект) (Prior Art). На фиг. 2 представлена реверсивность процесса наведения (кр. 1, 2 и 3), оптического ʺстиранияʺ (кр. 1', 2' и 3') и повторного наведения (кр. 1ʺ, 2ʺ и 3ʺ) оптической анизотропии в средах на основе фотохимически чувствительных (кр. 1, 2,) и фотохимически стабильных (кр. 3) веществ. На фиг. 3 представлена типичная форма спектров поглощения поляризационно-чувствительных фотоанизотропных сред на основе пассивной фотохимической селекции (Prior Art) (а) и фотоориентации фотохимически стабильных анизотропных молекул (b) в исходном изотропном (кр. 1) и фотоиндуцированном анизотропном (кр. 2, 3) состояниях при ориентации вектора поляризации Emeas измерительного излучения параллельно ( На фиг. 4 представлена схема молекулярной переориентации в поляризационно-чувствительном материале на основе фотохимически стабильных веществ: - ориентационная «самоорганизация» элементарной ячейки (сольвата) при поглощении одного кванта оптического излучения (а-с); - переориентация при многократном поглощении (d). На фиг. 5 а-с представлено схематическое изображение исходного неупорядоченного (а) и двух высоко ориентированных (b и с), термически устойчивых состояний в аморфных слоях ФХСВ. На фиг. 6а схематическое представление принципов одно- и двух-фотонного формирования заданных пространственных конфигураций анизотропных диэлектрических оптических свойств в объеме предлагаемых поляризационно-чувствительных материалов. На фиг. 7 представлен типичный вид кинетических кривых наведения, стирания и темновой релаксации оптической анизотропии δ в фотоанизотропных средах на основе фотохимически стабильных, анизотропно поглощающих веществ. Стрелками ↑ (вверх) и ↓ (вниз) обозначены моменты включения и отключения фотоактивирующего излучения. Символы А→ В и А← В обозначают моменты переключения состояния поляризации активирующего излучения на ортогональное. Знаки «0», «1» и «-1» обозначают соответственно исходное и фотоиндуцированное квазитермодинамически устойчивые ориентационные состояния. На фиг. 8 показана зависимость фоточувствительности аморфных слоев на основе ФХСВ от плотности мощности активирующего излучения. На фиг. 9 показаны два разных изображения, воспроизведенных в скрещенных поляризаторов с «голограммы», записанной некогерентным, немонохромным излучением на ПЧМ на основе ФХСВ. Сущность предлагаемого изобретения, заключающееся в описании признаков, технических элементов и его преимуществ, поясняется на некоторых конкретных, но не ограничивающих заявляемые технические решения примерах реализации изобретения со ссылками на сопровождающие рисунки, на которых: РЕАЛИЗАЦИЯ ИЗОБРЕТЕНИЯ Перед описанием ряда вариантов и примеров осуществления настоящего изобретения, представляем термины, используемые в данном описании. Под термином ʺанизотропно поглощающее веществоʺ, подразумевается соединение с анизотропной геометрией, например, типа стержня или в форме диска, которое проявляет абсорбционные свойства с различными значениями вдоль различных осей. Например, дихроичные лиотропные и термотропные жидкие кристаллические соединения являются анизотропно поглощающими веществами. Термин ʺфотохимически активное (фотохимически чувствительное) вещество означает анизотропную поглощающую молекулу, которая проявляет фотоиндуцированную оптическую анизотропию в твердом состоянии или в твердотельной матрице, в результате протекания обратимой или необратимой (фотохромной) моно- или бимолекулярной фотохимической реакции с квантовым выходом около 0,1÷1, в результате которой изменяется, как минимум, спектр поглощения. Термин ʺметод пассивной фотохимической селекцииʺ, означает, что ориентационная молекулярная структура с фотоиндуцированной оптической анизотропией в светочувствительной твердотельной оптической среде на основе фотохимически активных (фотохимически чувствительных) веществ имеет место в результате необратимых или обратимымых (фотохромных) фотохимических реакций в поляризованном свете (эффект Вейгерта (Weigert effect)). Термин ʺфотохимически стабильное, анизотропно поглощающее (дихроичное), не-люминесцирующее веществаʺ (ФХСВ) означает, что молекула, которая проявляет фотоиндуцированную оптическую анизотропию в твердом состоянии или в твердотельной матрице без участия в какой-либо обратимой или необратимой (фотохромной) фотохимической реакции без изменений формы спектральных полос поглощения в процессе формирования анизотропии. В настоящем изобретении под ʺФХСВʺ подразумеваются вещества, в которых при поглощении энергии ориентирующего излучения не приводят какие-либо фотохиические реакции, сопровождающиеся спектральными изменениями. Конечно, это определение относительное и зависит от конкретных условий применения и свойств поляризационно-чувствительных фотоанизотропных материалов на основе ФХСВ. В твердой фазе, квантовый выход, связанный с фотохимическими реакциями в таких веществах составляет около 10-1÷10-8 и меньше. При этом за время оптического формирования в таком слое анизотропии фотохимическими изменениями можно пренебречь. Термин ʺфотостабильная молекулаʺ, означает далее, что квантовая эффективность, связанная с фотохимической реакционной способностью молекулы практически равна нулю. Термин "поляризационно-чувствительный материал" (ПЧМ), означает, что, как правило, первоначально изотропная твердотельная среда на основе ʺфотохимически активных (фотохимически чувствительных)ʺ, ʺфотохимически стабильных анизотропно поглощающихʺ или «фотостабильных молекул» проявляет фотоиндуцированную анизотропию (дихроизм поглощения и/или двулучепреломление) в твердом состоянии при поглощении поляризованного или не поляризованного, но направленного излучения. До настоящего времени был хорошо известен только один (фотохимический) ФТФ механизм долгоживущего эффекта фотоиндуцированной оптической анизотропии (дихроизма поглощения и/или двулучепреломления) в твердотельных средах на основе ПЧМ с «замороженной» броуновской вращательной молекулярной подвижностью. Оптическая анизотропия в таких ПЧМ является следствием пассивной фотохимической пространственно угловой селекции, происходящей в результате протекания в таких ПЧМ необратимых или обратимых (фотохромных) фотохимических моно- или бимолекулярных фотохимических реакций (эффект Вейгерта) (фиг. 1d). Механизм фотоиндуцированной оптической анизотропии в предлагаемых в настоящем изобретении ПЧМ на основе фотохимически стабильных, анизотропно поглощающих (дихроичных), не люминесцирующих или слабо люминесцирующих веществ (ФХСВ) ранее был неизвестен. Как считают авторы предлагаемого изобретения он основан на ранее неизвестном фотофизическом механизме активного молекулярного упорядочения и переориентации таких веществ при одно- или двухфотонном поглощении ими линейно, эллиптически или циркулярно поляризованного или не поляризованного, но направленного оптического излучения (фиг. 1а). При этом максимально достигаемый параметр ориентационного порядка S в таких ПЧМ на основе чистых ФХСВ без полимерной матрицы и даже в ряде случаев в слоях ФХСВ в полимерной матрице достигает значения S>0.8-0.9, что значительно превышает величину параметра порядка ПЧМ на основе фотохимической угловой селекции (S<0.3). Авторами предлагаемого изобретения обнаружено, что параметр ориентационного порядка для таких ПЧМ достигает предельно максимального значения асимптотически с увеличением дозы облучения (фиг. 2b, кр. 3,), даже после оптического ʺстиранияʺ (3') и повторного наведения (3ʺ), вплоть до достижения температуры плавления (~150-250°С), зависящей от компонентного состава ПЧМ. Фиг. 4а-d схематически иллюстрирует предлагаемый процесс фотоиндуцированной упорядоченности и переориентации молекул в ПЧМ на основе фотохимически стабильных, анизотропно поглощающих (дихроичных), не люминесцирующих веществ, растворенных в, например, полимерной матрице или без нее. В соответствие с Onsager- Предложенный механизм формирования фотоиндуцированной упорядоченной молекулярной структуры в таких материалах на основе ФХСВ 40 (фиг. 4a-d) имеет место как процесс активной фотопереориентации и фотоупорядочения молекул ФХСВ (42) и их ближайшего окружения (43) в нано-масштабной области 41) во внутреннем локальном электрическом реактивном поле среды Еr во время кросс-колебательной релаксации энергии, поглощенных молекулой фотохимически неактивных фотонов поляризованного Ehν, или неполяризованного, но направленного излучения (фиг. 4b÷4d). В соответствие с уравнением (2) при облучении такой среды 40 с множеством случайно ориентированных молекул 42 линейно поляризованным, например, в направлении оси Y излучением Ehν, его резонансное поглощение анизотропной молекулой 42 происходит с максимальной вероятностью, когда угол θо близок к нулю. При этом, в соответствии с принципом Франка-Кондона ориентационной молекулярной перестройке сольвата 41 в момент перехода молекулы 42 в возбужденное состояние не происходит (фиг. 4а). Лежащий в их основе механизм сочетает в себе три процесса: - «пассивная» ʺPhoton-mode fomingʺ фотоселекция, связанная с поглощением (формула (2)) определенным образом пространственно ориентированных молекул 42 с дипольным моментом перехода μge, ориентированным под углом θо по отношению к активирующему излучению Ehν, и формированием анизотропного ансамбля пространственно-неоднородно ориентированных возбужденных молекул (фиг. 4а); - «активный», обусловленный фотоупорядочением возбужденных фотоселектированных молекул хромофора 42 и их ближайшего окружения (nearest neighbors) 41, 43 под действием поля Онзагера Еro (х, у), первоначально ориентированного под углом ϕ0 относительно молекулы 42, с их взаимной ориентационной перестройкой в положения 44 и 41 с параметрами ϕ, θ ≠ ϕ0, θ0<90° и Er (х, у) ≠ Еrо (х, у) (фиг. 4b); - «статистическая» фотопереориентация и упорядочение фотоселектированных молекул хромофора 42→44→45 и их ближайшего окружения (nearest neighbors) 43→46 и 41→47 в результате однократного (для пикосекундного импульса) или многократного (для непрерывного излучения) поглощения и безызлучательной дезактивации энергии квантов активирующего изучения в среду (рис. 4с) с переходом в фотостационарное состояние 42→44→45→49, 43→46→50, 41→47→48 и ϕn→0°, θn→90° и Ero (x, y)→Ern (х, у) (фиг. 4d). При этом роль поляризации активирующего излучения (или направления его распространения для циркулярного или неполяризованного, но направленного излучения), как и в «пассивном» методе фотохимической селекции, заключается в формировании анизотропного ансамбля возбужденных молекул фотохимически стабильных хромофоров, способных к последующей ориентационной перестройке и повороту на определенный угол Δθ от исходной пространственной ориентации θ0. Для ФХСВ в прозрачной для активирующего излучения полимерной матрицы величина Δθ, как правило, мала и составляет доли градуса при однократном поглощении квантов света маломощного излучения. Направление и величина такого изменения угла θ при каждом акте поглощения являются случайными. «Квантовый выход» такой перестройки возбужденного хромофора и его окружения после дезактивации уже не зависит от поляризации света, а определяется величиной диссипируемой энергии кванта света, предысторией формирования наноструктуры среды и плотностью молекулярной упаковки в среде, механизмом межмолекулярной кросс-колебательной релаксации, постоянными дипольными моментами молекул и поляризуемостью элементов сольватного комплекса, а также наличием специфических межмолекулярных взаимодействий в нем и окружающей температурой. В отличие от фотохимически активных молекул, после поглощения фотона молекулы ФХСВ не претерпевают химических превращений и не люминесцируют. В результате они способны изменять свою ориентацию и, как правило, при длительном непрерывном облучении в ходе многократного повторения такого процесса (в случае непрерывного облучения в течение ли минут) накапливаются в ориентации дипольных моментов перехода μge, неблагоприятной для поглошения света в этой спектральной области, т.е. с θ→90°. Индуцированная таким образом оптическим излучением молекулярное упорядочение и ориентация в общем случае сопровождается приэтом анизотропными изменениями оптических (дихроизм поглощения и ДЛП) и других физических (например, механических, электрических и т.д.) свойств. Кроме того, этот процесс сопровождается ростом размера сольвата 48 (47, 41) за счет вовлечения в его состав частично переориентированных и упорядоченных переферийных молекул. Увеличение объема сольвата 48 (47, 41) и взаимное упорядочение молекул, входящих в его состав приводят к существенному замедлению броуновского теплового разупорядочения фотоиндуцированной анизотропии в среде после отключения активирующего излучения. Это обусловлено увеличением роли как стерических препятствий, так и анизотропии сил межмолекулярных Ван-дер-Ваальсовых взаимодействий в сольвате. Этот эффект не наблюдается или имеет значительно меньшее значение в случае пассивной фотоселекции в средах на основе веществ с высокими квантовыми выходами фотохимических реакций. Результат наведенного в предлагаемых нами ПЧМ на основе ФХСВ долгоживущего ориентационного упорядочения и, соответственно, оптической анизотропии, в значительной мере связан с процессом анизотропии межмолекулярного переноса энергии электронного возбуждения через возбужденные вибронные уровни основного состояния. Этот процесс колебательной кросс-релаксации носит резонансный и ориентационный характер. Влияние кросс-колебательной релаксации наиболее сильно проявляется в случае, когда колебательные уровни основного состояния молекул ФХСВ и молекул сольвата (фрагментов полимерной матрицы и низкомолекулярных добавок) близки или тождественны. Примером могут быть, однородные по составу аморфные, например, напыленные слои некоторых азокрасителей или пленки Лэнгмюра-Блоджетт, когда эффект фотоиндуцированной анизотропии (ориентационный порядок, дихоричное отношение и ДЛП) могут достигать максимальных значений, соизмеримых с ЖК структурами. В этом случае внутрисольватная упорядоченность стремится к малым величинам ϕn→0°, а θn→90°. (фиг. 4d). При этом достигаются предельные величины фотоиндуцированной ориентационной упорядоченности (как в ориентированных слоях жидких кристаллов) S ~ 0,8 и более и, следовательно, высокие значения оптической анизотропии (Δn ~ 0,4 и более) даже при длительном воздействии маломощными (порядка единиц мВт/см2) источниками излучения. С другой стороны, отсутствие резонанса в колебательных спектрах поглощающего свет вещества и молекул сольвата (solvate) и сильные стерические препятствия как, например, для тех же ФХСВ в полимерной матрице, приводят к малым величинам θn и значительному снижению предельно достигаемых значений оптической анизотропии. Предлагаемые в настоящей заявке поляризационно-чувствительные материалы на основе данного эффекта с фотохимически стабильными анизотропно поглощающими веществами имеют ряд особенностей и преимуществ по сравнению с известными материлами на основе фотохимически-чувствительных веществ. Типичная форма кинетика наведения оптической анизотропии в этих средах существенно отличается от аналогичной зависимости для сред на основе пассивной угловой фотоселекции (фиг. 2, кр. 1 и 2). Прежде всего, в случае ПЧМ на основе ФХСВ в процессе их облучения поляризованным излучением оптическая анизотропия (например, фазовая задержка δ) достигает максимального значения ассимптотически, причем на начальном участке наблюдается ее быстрое нарастание с последующим существенным замедлением скорости (фиг. 2, кр. 3). В прикладных применениях таких материалов это снимает вопрос об однозначности зависимости величины фотоиндуцированной оптической анизотропии от энергии поглощенного излучения. В ПЧМ на основе фотохимически активных веществ, где в процессе их экспонирования поляризованным излучением обе компоненты оптической плотности в полосе поглощения активирующего излучения А11 и А В отсутствие полимерной матрицы в таких аморфных, изначально изотропных пленках максимально достигаемые величины фотоиндуцированной ориентационной упорядоченности и оптической анизотропии близки к соответствующим величинам в жидких кристаллах. Так, параметр ориентационного порядка S и двулучепреломления Δn могут достигать значений до 0.8 и 0.4 и более, в зависимости от анизотропных свойств этих хромофоров. Действительно, как видно на рис. 5а, в исходном термодинамически устойчивом состоянии аморфные слои ФХСВ, полученные, например, методом центрифугирования, изотропны и ориентационная молекулярная упорядоченностьв них отсутствует. При длительном воздействии на эти слои поляризованного излучения молекулы ФХСВ ориентируются так, что их дипольные моменты перехода на длине волны активации μge располагаются преимущественно в плоскости (Z-Y на рис. 5b), перпендикулярной вектору электрического поля световой волны (ось X на фиг. 5b), без преимущественного направления ориентации в этой плоскости (плоскости Z-Y на фиг. 5b). Аналогичный характер ориентации имеет место и при воздействии циркулярно поляризованного или направленного, не поляризованного излучения. Однако ось преимущественной фотоиндуцированной ориентации молекул ФХСВ в этом случае совпадает с направлением распространения поглощаемого средой излучения (ось Z на фиг. 5с). Из спектров поглощения на рис. 3b также видно, что в процессе облучения пленок на основе ФХСВ поляризованным светом форма спектров поглощения для обоих компонент практически не изменяется. Небольшие спектральные изменения связаны с формированием упорядоченной ориентационной структуры в слое и изменения анизотропных сил межмолекулярного, например, Ван-дер-Ваальсовых сил взаимодействия. Цикличность «наведения-стирания» фотоиндуцированной ориентационной упорядоченности (оптической анизотропии) (фиг. 2, кр. 3, 3' и 3ʺ) в таких слоях ограничивается только фотодеструкцией ФХСВ, квантовый выход которых, например, для азокрасителя (1) (см. Таблицу) не превышает 10-5. В соответствие с предлагаемым изобретением формирование ориентационной молекулярной упорядоченности в описанных выше ПЧМ на основе ФХСВ может производиться как в режиме однофотонного (hv) поглощения активирующего излучения (рис. 6а), так и в режиме реального двухфотонного каскадного (hv1+hv2) (рис. 6b) или виртуального кооперативного (hv0v+hvv1) (рис. 6с) поглощения. Каскадный режим, в общем случае осуществляется с помощью двух независимых источников излучения (рис. 6b) (с различными длинами волн λ1 и λ2), и, как и однофотонный, основан на реальном последовательном поглощении квантов света hv1 и hv2 сначала с основного Е0, а затем с возбужденного Е1 синглетного или триплетного уровней (фиг. 6b). При кооперативном двухфотонный режиме (фиг. 6с), в общем случае также осуществляемом с помощью двух независимых источников с различными длинами волн λ3 и λ4, энергии квантов света каждого из них hv0v и hvv1 таковы, что не приводят к каким-либо изменениям в среде. Однако, если сумма энергий этих двух квантов находится в резонансе с определенной частотой однофотонного поглощения анизотропного центра с энергией кванта hv=Е1-Е0, последний может перейти в возбужденное состояние Е1 через виртуальный уровень Ev. В результате в процессе безызлучательной деградации энергии двух поглощенных квантов света происходит ориентационная перестройка и упорядочение как самого центра, так и его ближайшего окружения. Направления распространения излучения двух независимых источников при двухфотонном формировании ориентационно-упорядоченных молекулярных структур в средах на основе ФХСВ могут быть как коллинеарны, так и под углом друг к другу. В первом случае векторы их поляризации должны быть параллельны. Во втором случае векторы поляризации должны быть преимущественно перпендикулярны к плоскости, определяемой направлениями их распространения. Наиболее приемлем двухфотонный кооперативный процесс с одним линейно или циркулярно поляризованным пучком в коллинеарном режиме. Эффективность двух-фотонной записи с различными частотами генерации с разнесенными направлениями распространения пучков ухудшается при использовании циркулярно поляризованного или не поляризованного излучений. Еще одним вариантом формирования ориентационной молекулярной упорядоченности в предлагаемых средах в соответствии с настоящим изобретением является сенсибилизированная ориентационная упорядоченность. В этом случае в качестве одно- или двухфотонного поглотителя используются анизотропно поглощающие, фотохимически стабильные и способные люминесцировать вещества. Они осуществляют анизотропный перенос энергии поглощенного ими фотона на фотохимически стабильное не люминесцирующее и не поглощающее это первоначальное излучение анизотропное вещество. Оно, в свою очередь, совместно с сольватной оболочкой претерпевает ориентационную перестройку в результате безызлучательного перехода в основное состояние. На фиг. 7 приведен типичный вид кинетических кривых наведения, стирания и темновой релаксации оптической анизотропии (фазовой задержки) δ в ПЧМ на основе ФХСВ без матрицы. Как видно на фиг. 7, в исходном термодинамически устойчивом состоянии аморфный слой изотропен и ориентационная молекулярная упорядоченность в нем отсутствует, как это показано на фиг. 5а. Такое состояние можно трактовать как состояние, соответствующее логическому нулю «0» с точки зрения применимости такого ПЧМ в системе оптическеой памяти. При малых временах облучения (малых дозах поглощенной энергии (малом числе поглощенных квантов)) (кр. 1) отключение активирующего излучения приводит к быстрому спаду наведенной оптической анизотропии вследствие броуновской вращательной диффузии. Этот процесс темновой релаксации на начальном участке имеет только динамическую составляющую (кр. 1'). При увеличении дозы поглощенной энергии наряду с динамической составляющей появляется и квазистатическая компонента (кр. 2'). Ее доля растет вплоть до полной остановки релаксационного процесса (кр. 3') вблизи экспозиций, соответствующих насыщению ориентационной упорядоченности. Дальнейшее облучение слоя поляризованным излучением приводит к определенному фотостационарному значению фазовой задержки δphst. Последующее отключение активирующего излучения приводит даже к некоторому дальнейшему молекулярному самоупорядочению (кр. 4') с достижением нового, более упорядоченного состояния с величиной δdarkst>δphst. Скорость такой аномальной темновой релаксации »вверх» возрастает с нагревом слоя (кр. 5'). Это фотостимулированное темновое состояние δdarkst можно трактовать как новое квазитермодинамически устойчивое состояние среды, соответствующее логической единице «1». Оно устойчиво вплоть до температур, близких к температуре плавления или термодеструкции ФХСВ. Однако повторное облучение слоя тем же источником с той же поляризацией сопровождается понижением величины δdarkst до предыдущего фотостационарного значения δphst (кр. 6). Но оно снова сопровождается аномальной релаксацией «вверх» при его повторном отключении (кр. 7'). В этих условиях обращение на малое время поляризации активирующего излучения на ортогональное (А→В) приводит к частичному «стиранию» наведенного двулучепреломления (кр. 8), но его отключение сопровождается темновым восстановлением наведенного ранее значения (кр. 9'). Повторное, более длительное облучение пленки излучением с ортогональной поляризацией (А→В) (кр. 10) снова приводит к уменьшению ДЛП. Дальнейшее облучение может привести к формированию такого же высоко ориентированного состояния, но с обратным знаком. По аналогии с предыдущим его, можно представить как еще одно квазитермодинамически устойчивое состояние, соответствующее логической единице «-1». Следует отметить, что эффект темновой релаксации «вверх» наблюдается даже раньше достижения фотостационарного состояния δphst. Он наблюдается сразу после того, как плотность поглощенной слоем энергии активирующего излучения достигнет критического значения, при котором темновая релаксация наводимой анизотропии останавливается, как показано на кр. 3'. Такой эффект темнового самоусиления схематически показан на кр. 11'. Он экспериментально наблюдался мнокократно во многих средах на основе ФХСВ. Таким образом, предлагаемые поляризационно-чувствительные материалы (ПЧМ), кроме исходного термодинамически устойчивого изотропного состояния с хаотическим пространственным ориентационным распределением анизотропных фотохимически устойчивых молекул в них (рис. 5а) обеспечивают еще 2 вида множеств квазитермодинамически устойчивых состояний, схематически представленных на рис. 5: - анизотропные состояния с ориентацией поглощающих молекулярных осцилляторов μge в плоскости, перпендикулярной вектору поляризации активирующего излучения (фиг. 5b) и - анизотропные состояния с ориентацией поглощающих молекулярных осцилляторов μge вдоль направления распространения циркулярно поляризованного или неполяризованного излучения (фиг. 5с). Конкретная угловая ориентация этих оптически формируемых упорядоченных молекулярных структур определяется угловой ориентацией вектора поляризации и направлением распространения активирующего излучения в среде. Вследствие наличия обратной темновой релаксации в ПЧМ на основе ФХСВ (фиг. 7, кр. 1' и 2'), им присущ пороговый эффект по минимальной плотности мощности активирующего излучения порядка десятков μВт/см2 (фиг. 8). Величина пороговой мощности уменьшается с возрастанием окружающей температуры. Действие активирующего излучения с такой и меньшей плотностью не приводит к формированию ориентационно-упорядоченных молекулярных структур даже при длительном облучении. Такое положение имеет место при мощностях, когда время вращательной молекулярной релаксации При импульсном воздействии поляризованного или не поляризованного, но направленного излучения длительностью не более нескольких десятков нсек и плотностях энергии излучения ~ MW/cm2 аморфные слои дихроичных красителей без матрицы проявляют второй пороговый нелинейный эффект. При таких параметрах возбуждающих импульсов предельная фотоиндуцированная анизотропия в таких слоях достигается при однократном поглощении кванта света молекулами за время действия возбуждающего импульса (эффект «большого скачка» - Δθ~90°). При этом чувствительность (т.е. величина, обратная плотности энергии, необходимой для достижения насыщения) возрастает в десятки раз (рис. 8) по сравнению с режимом возбуждения этих же слоев маломощным непреравным излучением или импульсным с длительностью импульсов более сотен нсек и частотой импульсов порядка десятка кГц. Этот эффект наблюдается при плотностях мощности оптического излучения всего лишь несколько меньших, чем необходимо для термооптического плавления этих слоев (фиг. 8). Наличие второго порога в определенном интервале плотности мощностей и длительности импульса возбуждающего излучения обусловлен тем, что в таком режиме в возбужденном состоянии одновременно находится приблизительно 50% всех молекул слоя, ориентированных преимущественно параллельно вектору электрического поля возбуждающего излучения. Последующая межмолекулярная кросс-релаксация и деградация энергии одновременно поглощенных квантов света на короткий период времени (наносекундной длительности) переводит все молекулы слоя в термодинамически неравновесное высокоупорядоченное состояние предплавления под действием высокоориентированного внутреннего реактивного поля ER, создаваемого оставшимися «холодными» невозбужденными молекулами. Быстрое охлаждение слоя сохраняет эту молекулярную структуру. Таким образом, по аналогии с ʺPhotothermal-mode formingʺ методом обратимого фазового перехода (1), в настоящем изобретении мы предлагаем ʺPhoton-mode formingʺ метод обратимого фазового перехода «неупорядоченная аморфная структура - ориентационно упорядоченная структура»: ПЧМ на основе таких ФХСВ веществ, поглощающих в спектральной области от 150 nm до 2000 nm могут быть выбраны из классов, включающих: При этом, классы таких анизотропных веществ могут включать, например: - моно-, дис-, трис-, полиазокрасители, металлокомплексные или комплексообразующие азокрасители [смотри, например, А.В. Иващенко, Дихроичные азокрасители для жидкокристаллических дисплеев. Хим. пром., Анилинокрасочная пром., НИИТЭХИМ, Черкассы, 1987]; - антрахиноновые красители, моно- и полиокси антрахиноны [смотри, например, А.В. Иващенко, Дихроичные антрахиноны для жидкокристаллических дисплеев. Хим. пром., Анилинокрасочная пром., НИИТЭХИМ, Черкассы, 1989]; - азокрасители с полярными гидрофильными «головками» и длинными углеводородными липофильными «хвостами» для пленок Лэнгмюра-Блоджетт - протравные азокрасители [Б.И. Степанов, Введение в химию и технологию органических красителей, изд. «Химия», М. 1971] А также многие другие фотохимически стабильные вещества из других классов анизотропных (дихроичных) веществ, проявляющих свойство фотоиндуцированной оптической анизотропии с участием низкомолекулярных добавок, колебательные уровни основного состояния которых близки или находятся в резонансе с соответствующими колебательными уровнями молекул фотохимическистабильного вещества, обеспечивая эффективный процесс анизотропии межмолеулярной колебательной кросс-релаксации энергии поглощенного кванта. В качестве дихроичных веществ наиболее предпочтительны вещества из класса азобензолов, моно- и бисазокрасителей. В качестве таких веществ могут быть использованы и такие вещества как 2-метилтетрагидрофуран (methyltetrahydrofuran) растворенные в низкомолекулярной матрице, проявляющих ориентационную перестройку при гелиевых температурах и ответственных за нефотохимическое выжигание спектральных провалов в матрицах Шпольского [смотри, например, Е.И. Альшиц, Б.М. Харламов, З.И. Персонов, К вопросу о нефотохимическом выжигании спектральных провалов // Журн. Прикл. Сректроск., XLV, 559 (1986)]. В таблице приведены структурные формулы ряда фотохимически устойчивых азокрасителей и других веществ, проявляющих обратимый эффект ориентационной упорядоченности и используемых в качестве примеров в настоящей заявке. ФХСВ могут иметь две или более группы типа -ОН, -NH2, -СООН, NHR (где в качестве R - могут быть - -С6Н4СН3, -(СН3)2, СОСН3) и другие, способные образовывать специфические межмолекулярные донорно-акцепторные или водородные связи между молекулами ФХСВ или ФХСВ и молекулами твердотельной матрицы. Эти связи обеспечивают долговременную стабильность фотоиндуцированной анизотропии Кроме того, ФХСВ выполняются и в виде би- или многофункциональных веществ типа мономеров или олигомеров, в состав которых дополнительно введены фрагменты, например, люминесцирующие или фотохромные. ФХСВ, например, производные азокрасителей могут вводиться непосредственно в основную цепь макромолекул или связанным через алькильные спейсеры в боковой цепи, которые не мешают эффекту фотоиндуцированной анизотропии. Полимерные структуры могут содержать в своем составе фрагменты, придающие им свойства термотропных и лиотропных ЖК. Для фиксации фотоиндуцированной анизотропии ФХСВ могут иметь два или более полимеризационно способные группы. Примером таких групп могут быть (meth) acryloyl group, а (meth)acryloxy group, a (meth) acrylamide group, a vinyl group, a vinyloxy group, an azide group, a chloromethyl group, an epoxy group, a (meth)acryloyl group, a (meth)acryloyloxy group, a (meth)acrylamide group, a vinyl group. Некоторыми примерами полимерных матриц могут быть хорошо известные производные: полиимида, полиэтилена, полистирола, ацетата целлюлозы, поликарбоната, полиэфиров, полиакрилонитрилов, поливинилового спирта, полиметилметакрилата, поливинилэтилаля, поливинилбутираля, полибутилметакрилата, фенолформальдегидные смолы, полиакрилаты, и другие полимеры. Задачей настоящего изобретения является использование ПЧМ на основе ФХСВ и одно- и двухфотонных методов фототехнологии производства прозрачных или окрашенных в видимой или ближней инфракрасной области спектра молекулярных ориентационно-упорядоченных структур в твердом теле, например, в виде статических или адаптивных картинных 3-мерных, например периодических micro- and/or submicrodielectric structures, such as картинных трехмерных, в частности периодических, микро- или субмикродиэлектрических структур, таких как фотонные кристаллы или волоконно- и интегрально-оптические элементы в твердом теле с заданным в соответствии с компьютерной программой пространственным распределением анизотропных, в частности оптических свойств в различных двухмерных сечениях объемных тел. Их можно использовать и в производстве специфических оптических элементов, например, таких как, анизотропные трехмерные оптические элементы типа дифракционных решеток, линз, фазовых пластин, а также разнообразных структур со сложным объемно конфигурационным профилем анизотропных оптических свойств. В качестве последних могут быть поляризационные компьютерные объемные или коноскопические голограммы или прозрачные для измерительного излучения компьютерные анизотропные модели различных изделий, подвергшихся механическим напряжениям и с которыми можно осуществлять такие же исследования методом фотоупругости, как и с реальными объектами [Frocht М.М., Proc. Intern. Sympos. on Stress Wave Propagation in Materials, 1960; J.W. Dally, Introduction to Photoelasticity, Exp. Mech. 20, 409 (1980)]. Объемные формы таких напряженных твердых моделей, в частности могут быть предварительно получены методоми традиционной стереолитографии с использованием с исходно жидких фотополимеризующихся композиций с введенными в них ФХСВ, анизотропно-напряженная структура в которых может дополнительно формироваться путем пространственного сканирования по объему отвержденной модели сфокусированного лазерного пучка, поляризационные и энергетические характеристики которого задаются компьютерной программой. Возможность многократного формирования разнообразных анизотропно-напряженных структур в таких исходно изотропных моделей из отвержденных фотополимерных композиций делает их особенно экономически привлекательными для данного применения. Такие среды могут быть использованы и в качестве искусственно созданных высоко ориентированных молекулярные матриц, обеспечивающих уникальную селективность и эффективность термо-, фото- или просто химических процессов внедренных и ориентированных в них каких-либо молекулярных активных добавок, подобно аналогичным процессам в «самоупорядоченных» биологических системах. Они могут быть использованы и средств защиты при создании визуально или машиночитаемых признаков подлинности и идентификации различных бытовых и промышленных изделий, таких как банкноты, кредитные карты и т.д. Далее приводятся примеры формирования, облучения и применения предлагаемых ПЧМ на основе ФХСВ. ПРИМЕР 1. В качестве ПЧМ был сформирован образец на основе 4-(4-нитрофенил)-41-(4-N,N-диоктиламинофенилазо)азобензола азокрасителя (1) в качестве ФХСВ: Для этого блок (2,5 × 2,0 cm2 × 2 mm) поли (метилметакрилата) с азокрасителем (1) (0.05 вес. %) как монолитный объемный ПЧМ был приготовлен следующим образом. Стеклянную ампулу продували аргоном в течение четырех минут, после чего в нее помещали 0.0141 г. азобисизобутиронитрила, 0.007 г. азокрасителя (1) и 14.1 г. (14.94 мл) очищенного и свежеперегнанного метил метакрилата. После дополнительной продувки этого раствора аргоном в течение четырех минут производилось запаивание ампулы. Затем она помещалась в водяную баню с последующим постепенным повышением температуры до 80°С и выдержкой при этой температуре в течение 1.5 часов. После этого запаянная ампула переносилась в водяную баню с температурой 25÷30°С и выдерживалась там в течение трех суток с последующим двухчасовым прогревом при 100°С. Ампула с заполимеризованной бульбой разбивалась и из последней вырезался и шлифовался указанный выше образец фотоанизотропного материала толщиной около 2 мм. Образец достаточно интенсивно поглощал в области ~ 540 нм и был прозрачен на длине волны Ti-sapphire лазера (860 нм) и He-Ne лазера (632.8 нм). В соответствии с предлагаемым изобретением образец был использован в упрощенном варианте оптического блока системы объемной памяти при двухфотонной записи и однофотонном считывании информации. Она включает источник записывающего излучения на базе Ti:sapphire лазера с аргоновым лазером в качестве источника накачки, излучение которого с помощью линзы направлялось в заданную микрообласть данной объемной регистрирующей среды. Размер сфокусированного пятна менялся от 1,4 до 3 мкм. Поскольку длина волны генерации лазера (860 нм) находится в области прозрачности используемого ПЧМ, не сфокусированный пучок не оказывает какое-либо воздействие на него. Однако сумма двух фотонов эквивалентна одному кванту с длиной волны 430 нм, что находилось в пределах полосы поглощения красителя (1). В результате двухфотонного поглощения облученные микрообласти предлагаемой в настоящем изобретении регистрирующей среды становятся оптически анизотропными, в частности, двулучепреломляющими в области прозрачности при длине волны 632,8 нм. Это являлось следствием ориентационного упорядочения дихроичных молекул фотохимически стабильного красителя (1) в плоскости, перпендикулярной направлению вектора поляризации записывающего излучения. Кроме того, двухфотонный процесс записи позволял формировать объемные анизотропные оптические элементы, в которых величина ДЛП была картинно промодулирована по глубине ПЧМ. ПРИМЕР 2. В качестве объемного ПЧМ использовалась толстая (~100 μm) пленка the copolymer butyl methacrylate amide of methacrylic acid and acrylonitrile с азокрасителем (1) (1 вес. %), полученная путем полива полимерного раствора на подложку и последующего испарения растворителя. Двухфотонная запись и однофотонное считывание осуществлялось как и в примере 1. ПРИМЕР 3. Использовался фотоанизотропный ПЧМ, описанный в примере 2. Он использовался для исследования напряженных состояний прозрачной деформированной модели. С помощью поляризованного некогерентного излучения ртутной лампы ДРШ-250 (436 нм) на материале записывалось изображение напряженной детали. Полученное изображение являлось «голограммой» деформированного объекта, записанной в немонохроматическом, некогерентном свете. Она считывалась также в некогерентном свете в скрещенных поляризаторах. Фотографии изображений, восстановленных с такой «голограммы» приведены на фиг. 9, полученные при двух положениях скрещенных поляризаторов. ПРИМЕР 4. В качестве объемного ПЧМ применялся однородный полимерный блок, в котором в качестве полимерной матрицы использовалась исходно жидкая, УФ-отверждаемая (фотополимеризующаяся) композиция на основе α,ω-(мет)акрил-(бис-пропиленгликоль)-2,4-толуиденуретана химической формулы СН2=С(СН3)-СОО-(СН2-СН2O)3-ОС-С(СН3)=СН2) и диацетил химической формулы (СН3-СО-СО-СН3) в качестве фотоинициатора. Концентрация анизотропного красителя (1) в фотополимеризующейся композиции составляла около 0.03 вес. %. Для получения однородного твердого полимерного блока фотополимеризующаяся композиция с красителем размещалась в кварцевой кювете толщиной 2.5 мм и экспонировалась не фильтрованным поляризованным излучением ртутной лампы мощностью 250 Вт в течение 5 минут до ее полного отвердения. Момент перехода УФ отвердаемой композиции в твердое состояние контролировался на длине волны 632.8 нм по отсутствию темновой релаксации двулучепреломления, наводимого в отверждаемом блоке при наступлении в нем достаточной вязкости. После этого он потвергался температурному отжигу для перевода его в изотропное состояние. Двухфотонная запись и однофотонное считывание осуществлялось как в примере 1. ПРИМЕР 6. В качестве трехмерного ПЧМ использовался многослойный носитель, состоящий из отдельных тонких фотоанизотропных слоев, разделенных между собой прозрачными полимерными пленками толщиной около 50 мкм. Разделительные слои выполнены из УФ отвержденной фотополимеризующейся композиции без фотоанизотропного красителя, использовавшейся в примере 2 в качестве полимерной матрицы. Каждый из регистрирующих слоев толщиной около 150 нм получался путем термического напыления красителя (1V) в вакууме (температура напыления - около 150 С°) на соответствующий разделительный слой с последующим их склеиванием между собой с помощью водорастворимой фотополимеризующейся композиции, не растворяющей регистрирующий слой. Полученный ПЧМ применялся как в примере 1. ПРИМЕР 7. Аналогичен примеру 5, но каждый из регистрирующих слоев многослойного носителя информации получался путем последовательного нанесения на фотоотвержденный разделительный слой методом центрифугирования тонкого слоя фотохимически стабильного дихроичного красителя формулы (1) из 0,5%-ного (по весу) раствора в дихлорэтане (скорость вращения - 3000 об/мин, время нанесения - 45 сек). Запись информации осуществлялась в однофотонном режиме с помощью сфокусированного излучения аргонового лазера (λ=514 nm, непрерывная мощность ~5 Вт, время записи ~0,2 μс). Вследствие квазинелинейности фотофизического процесса фотоориентации (сильной зависимости времени темновой релаксации от поглощенной энергии при экспозиции рис. 8), нежелательная «фоновая ориентационная молекулярная упорядоченность, наведенная в слоях, находящихся вне плоскости фокусировки (до и после информационного слоя, в котором производилась запись), постепенно исчезала со временем при комнатной температуре с одновременным повышением ориентационного порядка в записанных микрообластях (повышения яркости записанного пятна при наблюдении в скрещенных поляризаторах). Этот процесс ускорялся путем прогрева носителя до температур, близких к температуре плавления дихроичного красителя (~136°С). Пример 8. Аналогичен примеру 6, но в качестве фотохимически стабильного дихроичного вещества использовался жидкокристаллический полимер с азокрасителем в боковой цепи (11), структурная формула которого приведена в таблице. В то время как в предлагаемом изобретении приведены некоторые предпочтительные варианты его осуществления, специалистам в данной области ясно, что различные изменения в форме и деталях могут быть сделаны без отступления от сущности и объема настоящего изобретения. Пример 9. Мономолекулярный слой протравного красителя чисто желтого (ПЧЖ) (111), полученный вытягиванием стеклянной подложки из 1% водного раствора красителя (111), использовался в качестве фотоориентанта термотропного ЖК фирмы Merck по методике, описанной в [V.G. Chigrinov, V.M. Kozenkov, H.S. Kwok, Photoalignment of Liquid Crystalline Materials: Physics and Applications, 232 pp., Wiley, August 2008]. Пример 9. Тонкий (порядка 0.3 мкм) слой красителя (1), полученный термическим испарением в вакууме, использовался в качестве фотоориентанта лиотропных ЖК фирмы НИОПиК (Россия) и фирмы Corning (USA) также по методике, описанной в [V.G. Chigrinov, V.M. Kozenkov, H.S. Kwok, Photoalignment of Liquid Crystalline Materials: Physics and Applications, 232 pp., Wiley, August 2008]. Пример 10. В качестве ПЧМ на основе ФХСВ использовались слои азокрасителя (1V), полученные методом Лэнгмюра-Блоджетт. Твердая пленка ПЧМ использовалась в экспериментах по реверсивной записи изображений. Пример 11. В качестве ПЧМ являлись образцы выпускаемых отечественной промышленностью цветных стекол марки ТОСП (ГОСТ 17622-72) на основе ПММА с введенными в состав полимеризационной смеси фотохимически стабильными красителями (обычно азокрасители) и пластификатором (дибутилфталатом). Толщина стекол была 5 мм. Температура размягчения - не менее 90°С. Они применяются в приборо- и машиностроении для изготовления различных изделий технического назначения. Однако авторами настоящего изобретения в них обнаружен эффект фотоиндуцированной анизотропии (двулучепреломления (ДЛП) и дихроизма (ДХ) поглощения) и его следует учитывать при их эксплуатации, поскольку оптическая анизотропия может наводиться на только поляризованным, но и неполяризованным, направленным излучением естественного происхождения. В таблице приведены структурные формулы азобензолсодержащих жидкокристаллических полимеров с азокрасителями в боковой цепи V-1X, в которых ранее также был обнаружен эффект фотоиндуцированной оптической анизотропии, причем механизм этого явления объяснялся фотохимической угловой селекцией в результате повторяющейся реакции транс-цис-транс фотоизомеризации при многократном поглощении квантов света одними и теми же за время облучения азобензольнми фрагментами, присутствующими в качестве боковых фрагментов в полимерной цепи. Это же относится и к металлопроизводным солям азокрасителей, описанным в патенте Республики Беларусь, [№17225 (2013), авторов В.У. Агабеков и др., «4,4'-Бис[1-(4-гидрокси-3-карбокси-6-метил)фенилазо]дифенил и его металл производные соли как фотоориентирующий тонкопленочный материал»]. Вместе с тем, хорошо известно, что такая транс- цис- фотоизомеризация молекул азокрасителя сопровождается значительными спектральными изменениями в процессе облучения фотохромного слоя, включающего азосоединения [В.А. Барачевский, Г.И. Лашков, В.А. Цехомский. Фотохромизм и его применение // М.: «Химия», 280 с. (1977); «Органические фотохромы», под ред. А.В. Ельцова, Л-д (1982)]. Это показано и на рис. 3а для фотохромного вещества феноксинафтаценхинона. Однако такие спектральные изменения не были замечены ни в одном из указанных образцах V-1Х веществ. Причем при облучении поляризованным излучением в полосе поглощения полимерных азокрасителей, как и для заявляемых авторами настоящего изобретения ФХСВ, наводится дихроизм поглощения. При этом: 1. форма спектра поглощения остается всегда неизменной, независимо от величины поглощенной энергии и 2. всегда наблюдается «просветление» поляризационной составляющей, параллельной поляризации активирующего излучения и «затемнение» для ортогональной составляющей (смотри фиг. 3b). Это указывает на то, что высокомолекулярные вещества V-1Х, также как и металлопроизводные соли азокрасителей, относятся к классу заявляемых в настоящем изобретении ФХСВ, проявляющих обратимую фотоиндуцированную анизотропию и пригодных для получения из них поляризационно-чувствительных материалов и поляризационно-оптических элементов, соответственно. Приведенные примеры подтверждают выполнение поставленной задачи. ПРОМЫШЛЕННАЯ ПРИМЕНИМОСТЬ Предложенный в заявляемом изобретении способ и материал может быть использован в качестве химического и/или конструкционного материала в фототехнологии производства разнообразных картинных двух- и/или трехмерных поляризационно-оптических элементов и устройств нано-, микро- и макрооптоэлектронной техники, в приборостроении с использованием таких поляризационно-оптических элементов. Он может быть использован при изготовлении оптических анизотропных изделий волоконной и интегральной оптики типа анизотропных фотонных кристаллов, объемных дифракционных решеток, устройств ввода-вывода излучения, линз, поляризационно-селективных делителей световых пучков и т.д, в фототехнологии производства фототермически стабильных адаптивных внутренних тонкопленочных фазовых пластин и поляроидов, а также фотоориентантов жидких кристаллов. Он перспективен при изготовлении оптически формируемой картинной высокоориентированной матрицы для специальных низкомолекулярных активных добавок, проявляющих высокую селективность и эффективность происходящих в них термо-фото- или просто химичеких процессов в зависимости от степени их упорядоченности в высокоориентированной матрице. В качестве поляризационно-чувствительного фотоанизотропного носителя информации он может быть применен в технических средствах записи, хранения, обработки и отображения информации, в том числе в системах двух-(2D) и/или трех-(3D) мерной оптической памяти WORM и VR-типа, в поляризационной компьютерной, в том числе коноскопической, голографии, в средствах защиты от подделок и идентификации ценных бумаг и других изделий бытового и техническгого назначения, при создании новых приборов и устройств измерительной техники для исследования механических напряжений в различных изделиях методом фотоупругости и т.д. Перечень используемых сокращений в порядке их упоминаний в тексте заявки: 2D - двухмерная оптическая память, 3D - трехмерная оптическая память, WORM - write only read many optical memory, RV - rewritable optical memory, ПОЭ - поляризационно-оптический элемент, ПЧМ - поляризационно-чувствительный материал ЖК - жидкий кристалл, ФТТФ - фототермический тип формирования, ФОТФ - фотооптический тип формирования, ДЛП - двулучепреломление, ПЧМ - поляризационно-чувствительный материал, ФХСВ - фотохимически стабильное вещество, УФ - ультрафиолетовое излучение, ИК - инфракрасное излучение, ФАМ - фотоанизотропный материал.
einen neuen effekt der strahlung in lichtempfindlichen schichten. Verhandl. Deutsch. PhysiK. Ges., 21, 479-491, 615, 623 (1919)] (рис. 1d).
den photoanisotropen effect (Weigerteffekt) an farbstoffen 1 // Zeitschrift
wissenschaftliche photographie, photophysik und photochemie, Bd. 31, 153 (1932).], обнаружившего дихроичный эффект в более чем 450 (в основном красителях, введенных в коллодий и желатину) из 1700 различных обследованных им органических соединений.


и А11,
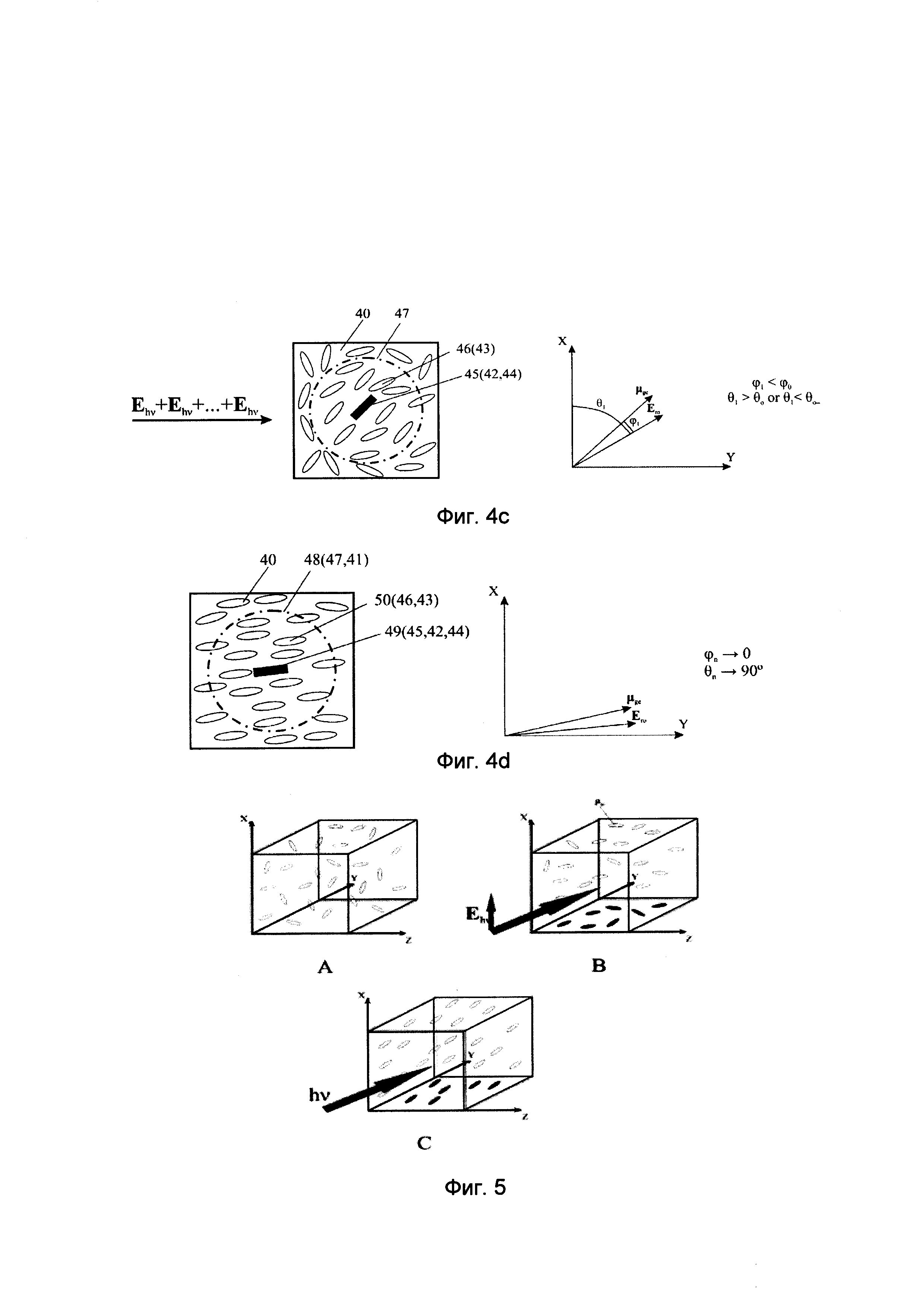
- показатели преломления п и оптические плотности А, измеряемые для компонент, ориентированных параллельно и перпендикулярно вектору поляризации активирующего света, соответственно.
) и перпендикулярно (
) вектору поляризации Еехр активирующего излучения, соответственно.
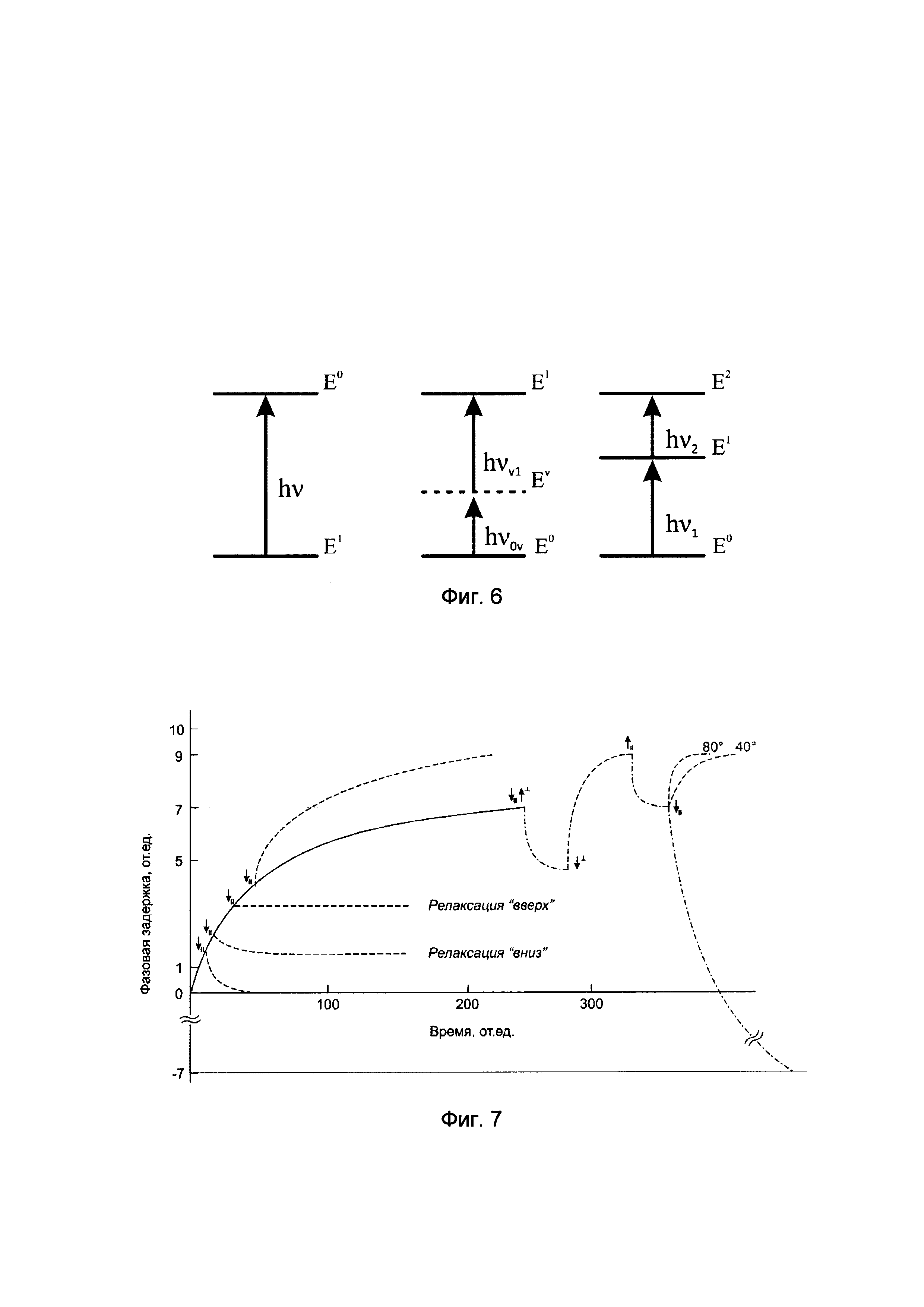
[
С.J.F., Theory of Electric Polarization, Elsever, Amcterdam, 1952; 2nd ed. Revised by Van Belle, О.C. Bordewijk, P. and Rip, A., Vol. 1 and 2, Elsever, Amsterdam, 1973]) в исходном состоянии (фиг. 4а) среда 40 изотропна и ее можно характеризовать множеством случайно ориентированных сольватов 41 диаметром от нескольких десятков до сотен А°, каждый из которых включает невозбужденную фотохимически стабильную дихроично поглощающую молекулу ФХСВ 42, окруженную, в общем случае, не поглощающими активирующее излучение фрагментами макромолекулярной матрицы, другими низкомолекулярными добавками или, например, молекулами того же вещества) 43. Такой сольват 41 можно охарактеризовать дипольным моментом перехода μge дихроичной молекулы 42 (однозначно связанным с ее постоянным или наведенным электрическим дипольным моментом), ориентированным под углом θо по отношению к некоторой оси координат Y. Квазистатическое (медленно, за десятки или сотни минут изменяющееся во времени за счет тепловых движений) поле Onsager (field Onsager) Ero ~107÷108 V/cm создается окружающими ФХСВ молекулами 43 и молекулой 42. Векторы μge и Ero первоначально (до облучения) ориентированны между собой под некоторым углом ϕо, статистическая величина которого во многом определяется предысторией приготовления образца 40.
всегда меньше (как на фиг. 3а, кр. 2, 3) (или больше) исходной оптической плотности Ао (рис. 3а). В предлагаемых ПЧМ на основе ФХСВ, как видно из рис. 3b, в процессе облучения всегда имеет место А
> Ао > А11, что также указывает на ориентационный механизм формирования оптической анизотропии в них.
, определяемое в основном величиной внутренней вязкости среды η и окружающей температуры t° меньше времени
между последовательными актами поглощения квантов света одной и той же дихроичной молекулой при воздействии на среду непрерывным источником излучения.






