Группа изобретений относится к кабельной промышленности и может быть использована для определения температурного коэффициента фазы (ТКФ) и температурного коэффициента затухания (ТКЗ) кабельных сборок. Способ осуществляют при помощи устройства для климатических испытаний, включающего климатическую камеру, векторный анализатор цепей, а также подключенные через цепи управления, коммутации и передачи данных компьютер с установленным ПО и блок управления. В шлюзе климатической камеры установлен блок коммутации с соединителями для подключения нескольких кабельных сборок, одну из которых используют в качестве контрольной. Соединители связаны с анализатором цепей через два коммутатора, а устройство выполнено с возможностью автоматической регистрации установившегося значения фазы контрольной кабельной сборки. При этом по достижении установившегося значения фазы контрольной кабельной сборки определяют момент достижения температурного равновесия в климатической камере, после чего измеряют и сохраняют значения комплексного коэффициента передачикаждой кабельной сборки на нормирующей температуре. Аналогичным образом измеряют и сохраняют значения комплексного коэффициента передачикаждой кабельной сборки на каждой из заданных температурных точек. Переключение температурных режимов климатической камеры осуществляют автоматически, с задержкой от момента регистрации установившегося значения фазы не более чем на пять секунд. На основании всех полученных значений 521 производят формирование графиков (ТКФ) и (ТКЗ), а также протоколов испытаний каждой кабельной сборки. Группа изобретений обеспечивает сокращение трудоемкости и общего времени испытаний. 2 н. и 11 з.п. ф-лы, 2 ил., 2 табл.
1. Способ измерения параметров кабельных сборок в диапазоне температур, осуществляемый при помощи устройства для климатических испытаний, включающего набор функциональных модулей, в который входят климатическая камера и векторный анализатор цепей, при этом для реализации способа к анализатору цепей подключают по меньшей мере одну кабельную сборку, определяют температурный диапазон испытаний, включающий несколько температурных точек, и устанавливают в климатической камере нормирующую температуру, на которой выдерживают кабельную сборку до приобретения ей по всей длине и объему установившейся температуры, измеряют и сохраняют значения комплексного коэффициента передачи по меньшей мере одной кабельной сборки на нормирующей температуре 2. Способ по п. 1, отличающийся тем, что в качестве контрольной кабельной сборки используют единственную подключенную кабельную сборку, или одну из нескольких подключенных кабельных сборок с максимальной теплоемкостью, или одну из нескольких подключенных кабельных сборок с одинаковой теплоемкостью. 3. Способ по п. 1, отличающийся тем, что в качестве параметров каждой испытуемой кабельной сборки вводят значения диэлектрической проницаемости изоляции используемого кабеля, физическую длину кабельной сборки, типы соединителей, а также сведения о марке кабеля и о маркировке кабельной сборки. 4. Способ по п. 1, отличающийся тем, что дополнительно вводят значения частоты измерений (МГц), полосы пропускания анализатора цепей (кГц), а также скорости изменения температуры воздуха в климатической камере. 5. Способ по п. 1, отличающийся тем, что данные о достижении установившегося значения фазы контрольной кабельной сборки выводят в качестве визуального сигнала на монитор компьютера, входящего в состав устройства для климатических испытаний. 6. Способ по п. 1, отличающийся тем, что на основании всех полученных значений 7. Способ по п. 1, отличающийся тем, что измерение и сохранение значений 8. Способ по п. 1, отличающийся тем, что введенные в программное обеспечение параметры каждой кабельной сборки, параметры объема испытаний и сформированные графики зависимости ТКФ и ТКЗ от температуры для каждой кабельной сборки используют для автоматического формирования протокола измерения температурных параметров соответствующей кабельной сборки, который после выполнения назначенного объема испытаний сохраняют в компьютере, с возможностью выведения на печать. 9. Устройство для измерения параметров коаксиальных кабельных сборок в диапазоне температурных испытаний, включающее набор функциональных модулей, в который входят климатическая камера и векторный анализатор цепей, отличающееся тем, что к функциональным модулям устройства через цепи управления, коммутации и передачи данных дополнительно подключены компьютер с установленным ПО и блок управления, причем в шлюзе климатической камеры установлен блок коммутации, коаксиальные соединители которого выполнены с возможностью подключения одной или нескольких кабельных сборок, одна из которых является контрольной кабельной сборкой, кроме того, указанные соединители связаны с анализатором цепей через два коммутатора, а устройство выполнено с возможностью автоматической регистрации установившегося значения фазы контрольной кабельной сборки на каждой температурной точке в диапазоне испытаний, автоматического измерения на каждой температурной точке требуемых электрических параметров одной или нескольких кабельных сборок и сохранения их значений в памяти компьютера, а также автоматического переключения режимов климатической камеры на каждой из температурных точек и выполнения указанного переключения от момента регистрации установившегося значения фазы с задержкой не более чем на пять секунд. 10. Устройство по п. 9, отличающееся тем, что оно выполнено с возможностью использования данных о времени достижения установившегося значения фазы контрольной кабельной сборки на каждой из температурных точек для формирования команд автоматического переключения температурных режимов климатической камеры. 11. Устройство по п. 9, отличающееся тем, что компьютер выполнен с возможностью воспроизведения визуального сигнала о достижении установившегося значения фазы контрольной кабельной сборки на любой температурной точке в диапазоне температурных испытаний. 12. Устройство по п. 9, отличающееся тем, что в шлюзе климатической камеры установлен блок коммутации, коаксиальные соединители которого выполнены с возможностью одновременного подключения четырех кабельных сборок. 13. Устройство по п. 9, отличающееся тем, что компьютер со специализированным программным обеспечением выполнен с возможностью построения, отображения и сохранения графиков зависимости фазы (ТКФ) и затухания (ТКЗ) от температуры, а также автоматического формирования и сохранения протоколов испытаний для каждой из испытуемых кабельных сборок и последующей их распечатки.
после чего, последовательно переключая температурные режимы климатической камеры, производят аналогичные измерения и сохранение значений
на каждой из заданных температурных точек в температурном диапазоне испытаний с соблюдением условий приобретения кабельной сборкой установившейся температуры, соответствующей каждой температурной точке, а на основании всех полученных значений
производят формирование графика зависимости температурного коэффициента фазы (ТКФ) по меньшей мере одной кабельной сборки от температуры, отличающийся тем, что перед установкой в климатической камере нормирующей температуры через интерфейс программного обеспечения компьютера, соединенного цепями управления, коммутации и передачи данных с остальными функциональными модулями установки, вводят параметры температурного диапазона испытаний, а также параметры одной или нескольких подключенных кабельных сборок, одну из которых используют в качестве контрольной кабельной сборки, причем перед измерением и сохранением каждого значения
для соблюдения условия приобретения по всей длине и объему контрольной кабельной сборки установившейся температуры контрольную кабельную сборку выдерживают на нормирующей температуре и на каждой из заданных температурных точек в течение отрезка времени Твыд, обеспечивающего установившееся значение фазы контрольной кабельной сборки, а переключение режимов климатической камеры осуществляют автоматически, с задержкой от момента регистрации установившегося значения фазы не более чем на пять секунд.
дополнительно производят формирование графика зависимости температурного коэффициента затухания (ТКЗ) каждой испытуемой кабельной сборки от температуры.
а также формирование графиков зависимости фазы (ТКФ) и затухания (ТКЗ) от температуры осуществляют в одном цикле, поочередно для каждой подключенной кабельной сборки.
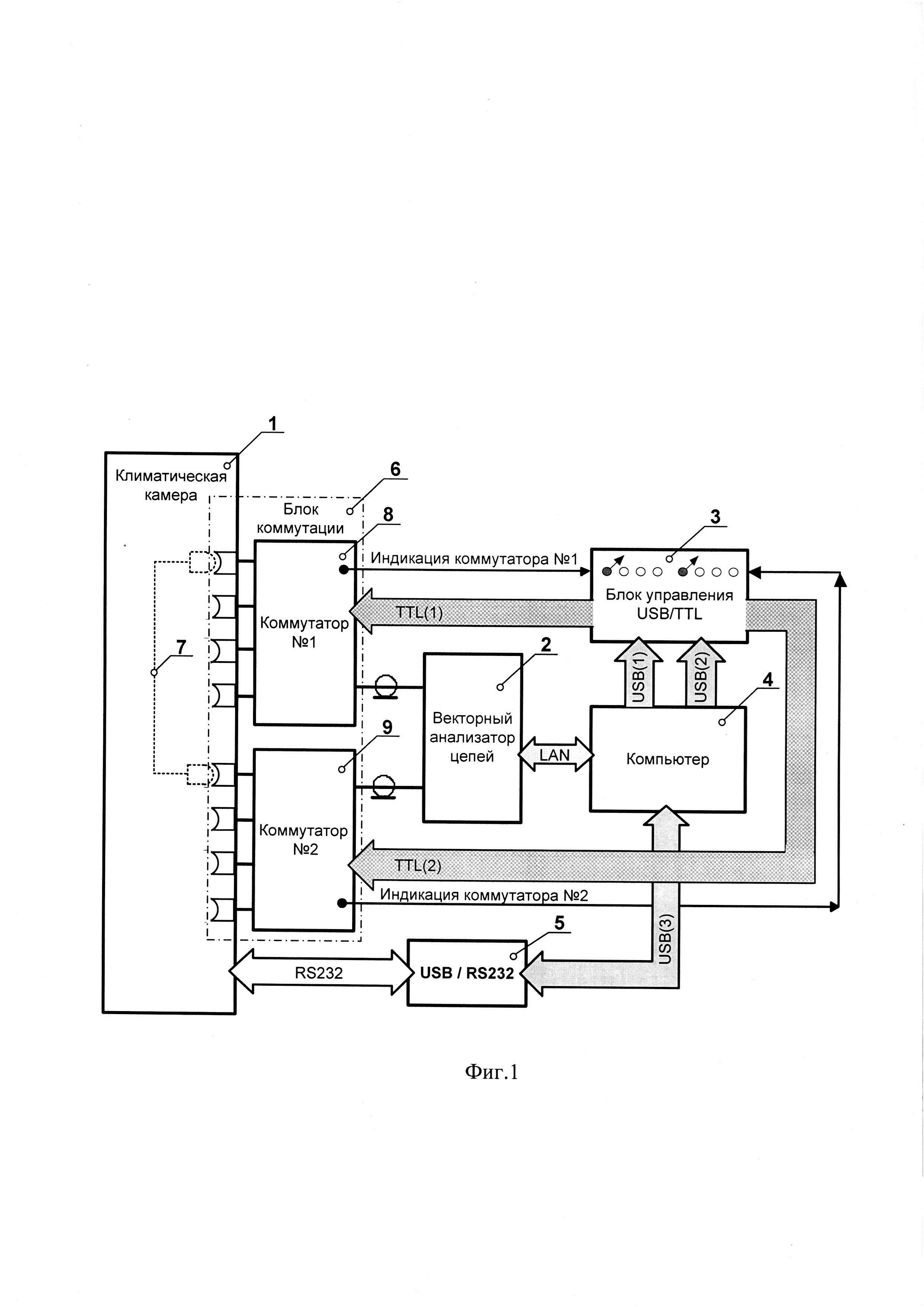
Группа изобретений относится к кабельной промышленности и может быть использована для определения температурного коэффициента фазы (ТКФ) и температурного коэффициент затухания (ТКЗ) кабельных сборок в соответствии с ГОСТ 11326.0-78 «Кабели радиочастотные. Общие технические условия». Коаксиальной кабельной сборкой называется изделие, состоящее как единое целое из отрезка коаксиального кабеля, оконцованного соединителями, с дополнительной защитой и маркировкой либо без них, имеющее конструктивные и электрические параметры, указанные в соответствующей конструкторской и текстовой документации. Из предшествующего уровня техники известен способ измерения ТКФ кабеля в соответствии с международным стандартом IEC 61196-1-111, опубликованным 2014-06, [1] прототип, осуществляемый с использованием климатической камеры и векторного анализатора цепей. Для реализации известного способа в климатической камере размещают кабельную сборку в виде неплотно намотанной бухты с подключением ее соединителей к анализатору цепей за пределами климатической камеры, при этом выбирают температурный диапазон испытаний, включающий несколько температурных точек, и первоначально устанавливают в климатической камере нормирующую температуру 25°С, на которой выдерживают кабель для приобретения по всей длине и объему кабеля равномерной нормирующей температуры, измеряют и сохраняют значение фазы Известно, что время для достижения температурного равновесия в климатической камере при переходе от предыдущей температуры к последующей зависит от ряда факторов: - от скорости изменения температуры воздуха в камере; - от величины интервала между температурными точками - ti+1-ti); - от времени установления точного значения заданной температуры воздуха, которое определяется параметрами системы автоматического регулирования камеры; - от количества, физической длины, конструктивной реализации и теплоемкости испытуемых кабельных сборок. Таким образом, время для наступления температурного равновесия, при котором образцы будут иметь одинаковою установившуюся температуру по длине и объему, в каждом конкретном случае различно. Это различие определяется в основном последними из перечисленных выше факторов, что приводит к необходимости дополнительной выдержки испытуемых образцов в течение времени Твыд после достижения установившейся температуры воздуха в климатической камере. При этом, в прототипе информация по выбору величины Твыд не отличается конкретностью, приводится лишь обобщенная рекомендация по выбору Твыд и в зависимости от наружного диаметра кабеля Dнap - при Dнap ≤ 6 мм Твыд должна быть не менее 30 минут, а для кабелей с Dнар > 6 мм рекомендуется увеличивать Твыд. Использование фиксированного значения Твыд без аппаратного контроля установившегося температурного равновесия по всей длине и объему испытуемого кабеля ведет либо к существенному увеличению времени испытаний, либо к возможным ошибкам при измерениях, если выбранное значение Твыд не достаточно для наступления температурного равновесия. Кроме того, при реализации известного способа сохранение значений осуществляют вручную, что значительно усложняет процедуру испытаний и требует существенных временных затрат. При этом, в известном способе не используют автоматический переход климатической камеры от одного температурного режима к другому, а также отсутствует возможность проведения испытаний в одном цикле нескольких кабельных сборок. Технической проблемой является исключение вышеперечисленных недостатков, выявленных при анализе способа, известного из предшествующего уровня техники. Технический результат, обеспечиваемый заявляемым способом, заключается в сокращении общего времени и трудоемкости испытаний кабельных сборок за счет автоматического определения оптимального времени выдержки Твыд кабельных сборок на каждой из температурных точек в диапазоне испытаний и автоматического перехода от предыдущей температуры ti к последующей ti+1. Дополнительный технический результат заключается в увеличении достоверности и точности полученных результатов измерений за счет автоматизации процесса испытаний и минимизации влияния человеческого фактора. Дополнительный технический результат заключается в обеспечении более оперативной и достоверной количественной оценки температурно-фазовой идентичности кабеля определенной марки за счет возможности проведения испытаний в одном цикле до нескольких кабельных сборок из кабеля одной и той же марки. Достижение заявленных технических результатов обеспечивает способ измерения параметров кабельных сборок в диапазоне температур, осуществляемый при помощи устройства для климатических испытаний, включающего набор функциональных модулей, в который входят климатическая камера и векторный анализатор цепей, при этом для реализации способа к анализатору цепей подключают, по меньшей мере, одну кабельную сборку, определяют температурный диапазон испытаний, включающий несколько температурных точек, и устанавливают в климатической камере нормирующую температуру, на которой выдерживают кабельную сборку до приобретения ей по всей длине и объему установившейся температуры, измеряют и сохраняют значения комплексного коэффициента передачи, по меньшей мере, одной кабельной сборки на нормирующей температуре Согласно заявленному способу в качестве контрольной кабельной сборки используют единственную подключенную кабельную сборку или одну из нескольких подключенных кабельных сборок с максимальной теплоемкостью, или одну из нескольких подключенных кабельных сборок с одинаковой теплоемкостью. Согласно заявленному способу в качестве контрольной кабельной сборки с максимальной теплоемкостью используют кабельную сборку наибольшей длины и объема. Согласно заявленному способу в качестве параметров каждой испытуемой кабельной сборки вводят значения диэлектрической проницаемости изоляции используемого кабеля, физическую длину кабельной сборки, типы соединителей, а также сведения о марке кабеля и о маркировке кабельной сборки. Согласно заявленному способу дополнительно вводят значения частоты измерений (МГц), полосы пропускания анализатора цепей (кГц), а также скорости изменения температуры воздуха в климатической камере. Согласно заявленному способу данные о достижении установившегося значения фазы контрольной кабельной сборки выводят в качестве визуального сигнала на монитор компьютера, входящего в состав устройства для климатических испытаний. Согласно заявленному способу, на основании всех полученных значений Согласно заявленному способу измерение и сохранение значений Согласно заявленному способу введенные в программное обеспечение параметры каждой кабельной сборки, параметры объема испытаний и сформированные графики зависимости ТКФ и ТКЗ от температуры для каждой кабельной сборки используют для автоматического формирования протокола измерения температурных параметров соответствующей кабельной сборки, который после выполнения назначенного объема испытаний сохраняют в компьютере, с возможностью выведения на печать. Из предшествующего уровня техники известно устройство для измерения параметров кабельных сборок в диапазоне температур, включающее климатическую камеру и векторный анализатор цепей (см. [1], прототип). Известное устройство не имеет средств аппаратного определения момента достижения температурного равновесия в климатической камере (или установившейся температуры для кабельной сборки) и, как следствие, момента окончания времени выдержки Твыд кабельной сборки на каждой из температурных точек в диапазоне испытаний. Кроме того, прототип не обеспечивает возможность автоматического переключения температурных режимов климатической камеры после определения установившегося значения температуры по всей длине и объему кабельной сборки на каждой из температурных точек. Также известное устройство не позволяет автоматизировать процесс испытаний, требует исполнения части операций вручную и не может быть использовано для проведения испытаний в одном цикле нескольких кабельных сборок. Указанные недостатки, присущие прототипу, увеличивают трудоемкость и общее время испытаний, а также из-за возможного влияния человеческого фактора могут привести к снижению достоверности и точности и полученных данных. Технической проблемой является устранение вышеперечисленных недостатков, выявленных при анализе устройства, известного из предшествующего уровня техники. Технический результат, обеспечиваемый заявленным устройством, заключается в сокращении общего времени и в снижении трудоемкости испытаний. Дополнительный технический результат заключается в повышении достоверности и точности полученных результатов измерений за счет автоматизации процесса испытаний и минимизации влияния человеческого фактора. Достижение заявленных технических результатов обеспечивает устройство для измерения параметров коаксиальных кабельных сборок в диапазоне температурных испытаний, включающее набор функциональных модулей, в который входят климатическая камера и векторный анализатор цепей, при этом к функциональным модулям устройства через цепи управления, коммутации и передачи данных дополнительно подключены компьютер с установленным ПО и блок управления, причем в шлюзе климатической камеры установлен блок коммутации, коаксиальные соединители которого выполнены с возможностью подключения одной или нескольких кабельных сборок, одна из которых является контрольной кабельной сборкой, кроме того указанные соединители связаны с анализатором цепей через два коммутатора, а устройство выполнено с возможностью автоматической регистрации установившегося значения фазы контрольной кабельной сборки на каждой температурной точке в диапазоне испытаний, автоматического измерения на каждой температурной точке требуемых электрических параметров одной или нескольких кабельных сборок и сохранения их значений в памяти компьютера, а также автоматического переключения режимов климатической камеры на каждой из температурных точек и выполнения указанного переключения от момента регистрации установившегося значения фазы с задержкой не более пяти секунд. Согласно заявленному изобретению, устройство выполнено с возможностью использования данных о времени достижения установившегося значения фазы контрольной кабельной сборки на каждой из температурных точек для формирования команд автоматического переключения температурных режимов климатической камеры. Согласно заявленному изобретению компьютер выполнен с возможностью воспроизведения визуального сигнала о достижении установившегося значения фазы контрольной кабельной сборки, на любой температурной точке в диапазоне температурных испытаний. Согласно заявленному изобретению в шлюзе климатической камеры установлен блок коммутации, коаксиальные соединители которого выполнены с возможностью одновременного подключения четырех кабельных сборок. Согласно заявленному изобретению компьютер со специализированным программным обеспечением выполнен с возможностью построения, отображения и сохранения графиков зависимости фазы (ТКФ) и затухания (ТКЗ) от температуры, а также автоматического формирования и сохранения протоколов испытаний для каждой из испытуемых кабельных сборок и последующей их распечатки. Изобретение поясняется чертежами. На Фиг. 1 представлена структурная схема устройства для измерения параметров коаксиальных кабельных сборок в диапазоне температур. На Фиг. 2 представлен типовой протокол измерения температурных параметров кабельной сборки с графиками зависимости изменений фазы (ТКФ) и затухания (ТКЗ) от температуры, построенный при реализации заявленного способа. Описание чертежей Устройство для измерения параметров кабельных сборок в диапазоне температур предназначено для одновременных измерений ТКФ и ТКЗ от одной до четырех коаксиальных кабельных сборок, размещаемых в климатической камере заявленного устройства. Устройство включает набор функциональных модулей, в который входят: климатическая камера 1, векторный анализатор цепей 2, блок управления 3, компьютер 4 с установленным программным обеспечением (ПО), преобразователь сигналов 5, обеспечивающий взаимодействие компьютера 4 с климатической камерой 1 через интерфейс USB(3), а также установленный в шлюз климатической камеры блок коммутации 6. Четыре пары коаксиальных соединителей блока коммутации 6 расположены внутри климатической камеры, что обеспечивают возможность подключения к соответствующим парам соединителей от одной до четырех кабельных сборок 7, каждая из которых может быть последовательно подключена к двум портам анализатора цепей 2 через два четырехканальных коммутатора 8 и 9. Команды на переключение коммутаторов 8 и 9 поступают из компьютера 4 по интерфейсам USB(1) и USB(2) в блок управления 3, в котором преобразуются в управляющие сигналы TTL(1) и ТТЦ2), обеспечивающие попарное переключение каналов коммутаторов 8 и 9. Индикацию включенных каналов коммутаторов 8 и 9 обеспечивают четыре пары светодиодов на передней панели блока управления 3. На компьютер 4 установлено системное программное обеспечение (например, Windows 7), прикладное ПО, а также специализированное ПО собственной разработки, которое обеспечивает корректное взаимодействие функциональных модулей устройства между собой, а именно: - обеспечивает диагностику СВЧ соединений установки; - задает алгоритм взаимодействия функциональных модулей; - обеспечивает двусторонний обмен информацией между климатической камерой 1 и компьютером 4 по интерфейсу USB(3); - обеспечивает выдачу по интерфейсам USB(1) и USB(2) команд на переключение каналов коммутаторами 8 и 9; - обеспечивает поступление команд по интерфейсу LAN в анализатор цепей 2 на проведение измерений и получение от него результатов измерений параметров одной или нескольких кабельных сборок 7; - обеспечивает математическую обработку полученных результатов измерений; - обеспечивает формирование протоколов измерения температурных параметров для каждой из испытуемых кабельных сборок, с автоматическим построением графиков зависимости фазы (ТКФ) и затухания (ТКЗ) от температуры для каждой кабельной сборки (см. Фиг. 2). В соответствии с поступающими от компьютера 4 по интерфейсу LAN командами, анализатор цепей 2 обеспечивает возможность измерений комплексных значений коммутации 6, для дальнейшей передачи и обработки значений Осуществление изобретения Для реализации заявленного способа используют устройство, включающее набор функциональных модулей, связанных между собой через цепи управления, коммутации и передачи данных. В набор функциональных модулей входят климатическая камера 1, анализатор цепей 2, блок управления 3, а также компьютер 4 с установленным ПО. К соединителям блока коммутации 6, установленного внутри климатической камеры 1 и связанного с анализатором цепей 2 через коммутаторы 8 и 9, подключают от одной до четырех кабельных сборок 7. В случае подключения нескольких кабельных сборок одну из них используют как контрольную для отслеживания установившегося значения фазы, указывающего на температурное равновесие в климатической камере и приобретение самой кабельной сборкой установившейся температуры. При этом, в качестве контрольной выбирают кабельную сборку с максимальной теплоемкостью. В случае подключения одной кабельной сборки в качестве контрольной используют единственную подключенную кабельную сборку. При этом, перед началом испытаний в память компьютера 4 вводят параметры одной или нескольких подключенных кабельных сборок, а также параметры объема испытаний, включающие параметры полосы пропускания (в кГц) и частоты измерения (в МГц) анализатора цепей 2, данные последовательности температурных точек в температурном диапазоне испытаний, а также данные о скорости изменения температуры воздуха в климатической камере (в °С/мин). В качестве параметров каждой кабельной сборки вводят данные диэлектрической проницаемости изоляции кабеля, физической длины кабельной сборки, типов соединителей, а также сведения о марке кабеля и маркировке кабельной сборки. Введенные в память компьютера параметры в дальнейшем используют для математической обработки всех полученных измерений, построения графиков зависимости фазы (ТКФ) и затухания (ТКЗ) от температуры, а также формирования протокола испытаний. Математические методы расчетов и получения на их основе данных для построения графиков ТКФ и ТКЗ, известны, широко используются специалистами в данной области техники и не являются предметом заявленных изобретений. После введения перечисленных параметров по команде ПО «СТАРТ» в климатической камере 1 устанавливают нормирующую температуру (как правило, 25°С) и выдерживают одну или несколько кабельных сборок до момента приобретения ими установившейся температуры, равной нормирующей температуре. При этом, для соблюдения условия приобретения по всей длине и объему одной или несколькими кабельными сборками установившейся температуры контрольную кабельную сборку выдерживают на нормирующей температуре, а также на каждой из заданных температурных точек в течение отрезка времени Твыд, обеспечивающего установившееся значение фазы контрольной кабельной сборки. При реализации заявленного способа непрерывное наблюдение за изменением фазы контрольной кабельной сборки в процессе изменения температуры внутри климатической камеры 1 осуществляют аппаратно, выполняя с помощью компьютера 4 последовательные вычисления Измерения проводят с фиксированной периодичностью (с периодом 2 с). Каждая последующая серия из 10-ти измерений состоит из 9-ти измерений предшествующей серии (со 2-го по 9-е) плюс одно новое измерение, после чего с помощью компьютера производят вычисления С целью визуализации процесса изменения фазы контрольной кабельной сборки, вычисленные по формуле (1) значения |Δϕti| выводятся с периодичностью замены значений 2 с в отдельное окно «ФАЗА» на мониторе компьютера 4. В течение времени установления температурного равновесия в климатической камере 1 величина |Δϕti| уменьшается и в идеальном случае должна приобретать нулевое значение. В реальности за счет конечной точности поддержания заданной температуры в климатической камере 1, изменения крутизны характеристики ТКФ контрольной кабельной сборки 7 в зависимости от температуры и погрешности измерения фазы анализатором цепей 2 под временем установившегося значения фазы следует понимать время достижения минимального, повторяющегося во времени значения величины |Δϕti|мин. При достижении устойчивого значения |Δϕti|мин в компьютере 4 обеспечивается автоматическая регистрация установившегося значения фазы. Пример 1. Рассмотрим результаты, представленные на фиг. 2 в виде копии «Протокола измерения температурных параметров сборки кабельной радиочастотной», полученного с помощью заявленного устройства, для кабельной сборки из кабеля марки SM 14ILL с изолятором из вспененного PTFE (отечественный аналог - фторопласт Ф-4). В таблице 1 приведены сохраненные в компьютере 4 данные выполненных анализатором цепей 2 измерений после соответствующей математической обработки, необходимой для построения графиков ТКФ и ТКЗ. Используя данные табл. 1, получаем, что S - усредненная крутизна характеристики ТКФ(t) в диапазоне температур от минус 65 до 0°С составляет S1=4,3 РРМ/°С, в то время как в, в зоне так называемого «тефлонового колена», составляет S2=138,5 РРМ/°С. В зарубежной технической документации, в том числе в [1], значения ТКФ на температуре ti выражают в относительных безразмерных единицах PPM (part pro million), то есть в миллионных долях пронормированного изменения фазы: При нормирующей температуре электрическая длина кабельной сборки будет равна: где f - частота измерений, ГГц, L - физическая длина кабельной сборки, м, ε - диэлектрическая проницаемость изолятора кабеля, с - скорость света, м/с. Для кабельной сборки, взятой в качестве примера, имеем: При точности поддержания неизменной температуры в используемой климатической камере SE-600-6-6 компании Thermotron δt = ±0,3°С и при испытаниях в диапазоне температур «тефлонового колена», где крутизна характеристики ТКФ S1 особенно велика, амплитуда допустимого дрейфа фазы |Δϕti|мин будет составлять S2×δt=138,5×0,3=41,55 PPM, что в градусной мере соответствует значению 322298×41,55×10-6=13,4 (°). Таким образом, факту установившегося значения фазы в диапазоне температур от 16°С до 22°С соответствует выполнение неравенства: |Δϕti|мин,2 < 13,4(°). Для диапазона температур от минус 65°С до 0°С и от 30°С до 100°С после аналогичных вычислений получаем S1×δt=4,4×0,3=1,29 PPM, чему соответствует 0,42 (°). Для векторного анализатора цепей ZVB 20 компании Rohde & Schwarz, использованного при измерениях, допускаемая абсолютная погрешность измерений фазы составляет В результате установившемуся значению фазы в этом случае будет соответствовать выполнение неравенства: |Δϕti|мин,1 ≤ 1,08(°). Из рассмотренного примера видно, что для повышения точности измерений ТКФ кабелей с диэлектриком PTFE следует увеличивать количество тестируемых температур в диапазоне от минус 20°С до 25°С, что отмечено также в рекомендациях европейского стандарта [1]. Таким образом, сама контрольная кабельная сборка, подключенная к анализатору цепей, является датчиком достижения установившегося значения фазы, позволяя достаточно точно определить аппаратно момент достижения температурного равновесия в климатической камере и, как следствие, момент окончания времени выдержки Твыд с последующей выдачей команды на измерение и сохранение комплексного значения сохранения в памяти компьютера значений Выдержку одной или нескольких кабельных сборок на температурных точках заданной последовательности осуществляют аналогично тому, как это было выполнено на нормирующей температуре, с автоматической регистрацией установившегося значения фазы для контрольной кабельной сборки. Компьютер, используя полученные значения По окончании измерений значений Описанный алгоритм регистрации в автоматическом режиме установившейся фазы контрольной кабельной сборки 7 позволяет наиболее точно определить время приобретения контрольной кабельной сборкой установившейся температуры, при котором необходимо измерить значения комплексного коэффициента передачи В отличие от прототипа время выдержки каждой кабельной сборки на каждой температурной точке находится под автоматическим контролем. За счет аппаратного определения Твыд на каждой температурной точке не требуется выдерживать испытуемые кабельные сборки свыше времени Твыд, по окончании которого производится автоматическое измерение и сохранение значений Таким образом, заявленная группа изобретений существенно сокращает общее время испытаний и снижает трудоемкость их проведения. Кроме того, автоматизация процесса испытаний обеспечивает более высокую точность и достоверность полученных результатов, а также минимизирует влияние человеческого фактора. В качестве иллюстрации изложенного рассмотрим пример, сравнивающий затраты времени на испытания кабельных сборок по способу заявленного изобретения и по способу прототипа [1]. Пример 2. В качестве объекта испытаний выбраны четыре кабельных сборки, изготовленные, как и в первом примере, из экспериментального кабеля марки SM 141LL компании MUHAN DIGITAL Co., Ltd, Южная Корея. На каждую кабельную сборку с обеих сторон установлены соединители SMA(m). Три кабельные сборки имеют физическую длину по 3,0 м, что соответствует рекомендациям [1], а четвертая кабельная сборка с увеличенной длинной 3,1 м использовалась в качестве контрольной. В таблице 2 приведены данные, полученные в процессе испытаний четвертой, контрольной кабельной сборки, при этом внутри климатической камеры были установлены одновременно четыре кабельные сборки. Скорость изменения температуры внутри климатической камеры при переключении температурных режимов установлена программно и составляла V=3°С/мин. В столбце 2 таблицы 2 указано Тлин - продолжительности линейных участков изменения температуры между температурными точками ti при скорости изменения температуры V; в столбце 3 приведены определенные аппаратно времена выдержки Твыд 1 после каждого Тлин, в то время как в столбце 4 указано фиксированное время Твыд 2 после каждого Тлин, рекомендованное в прототипе [1]. Общая продолжительность испытаний от одной до четырех кабельных сборок по способу заявленного изобретения состоит из времени ввода исходных данных в компьютер, равного 20 мин., продолжительности линейных участков изменения температуры Тлин плюс Твыд 1 и составит 20+85,3+194≈300 (мин.) = 5 (ч.). При выполнении испытаний одной кабельной сборки по рекомендациям [1] общая продолжительность испытаний состоит из Тлин плюс Твыд 2, из времени записи результатов каждого из 18 измерений и времени оформления протокола измерений: 85,3+510+(5×18)+60=745,3 (мин.) = 12,4 (ч.). В результате при испытаниях одной кабельной сборки по способу заявленного изобретения выигрыш по времени составит 12,4-5≈7,5 часов, а при испытаниях 4-х кабельных сборок (12,4×4)-5≈44,5 часа. Использованная литература: [1] - INTERNATIONAL STANDARD IEC 61196-1-111, Coaxial communication cables - Part 1-111: Electrical test methods - Stability of phase test methods. Edition 2.0, 2014-06.
на частоте f, затем производят аналогичные измерения и сохранение значений фазы
на каждой из температурных точек ti в выбранном температурном диапазоне испытаний, при условии приобретения кабельной сборкой требуемой температуры на каждой температурной точке, при этом для выполнения условия приобретения по всей длине и объему части кабельной сборки, расположенной внутри климатической камеры требуемой температуры, перед каждым измерением кабельную сборку выдерживают на каждой из температурных точек ti в течение времени Твыд ≥ 30 мин., после чего на основании полученных значений
и
производят построение графика температурного коэффициента фазы (ТКФ) (см. [1]).
, а также построение графиков зависимости фазы (ТКФ) от температуры
после чего, последовательно переключая температурные режимы климатической камеры, производят аналогичные измерения и сохранение значений на каждой из заданных температурных точек
в температурном диапазоне испытаний с соблюдением условий приобретения кабельной сборкой установившейся температуры, соответствующей каждой температурной точке, а на основании всех полученных значений
производят формирование графика зависимости температурного коэффициента фазы (ТКФ), по меньшей мере, одной кабельной сборки от температуры, при этом перед установкой в климатической камере нормирующей температуры через интерфейс программного обеспечения компьютера, соединенного цепями управления, коммутации и передачи данных с остальными функциональными модулями установки, вводят параметры температурного диапазона испытаний, а также параметры одной или нескольких подключенных кабельных сборок, одну из которых используют в качестве контрольной кабельной сборки, причем перед измерением и сохранением каждого значения
, для соблюдения условия приобретения по всей длине и объему контрольной кабельной сборки установившейся температуры, контрольную кабельную сборку выдерживают на нормирующей температуре и на каждой из заданных температурных точек в течение отрезка времени Твыд, обеспечивающего установившееся значение фазы контрольной кабельной сборки, а переключение режимов климатической камеры на каждой из температурных точек осуществляют автоматически, с задержкой от момента регистрации установившегося значения фазы не более чем на пять секунд.
дополнительно производят формирование графика зависимости температурного коэффициента затухания (ТКЗ) каждой испытуемой кабельной сборки от температуры.
, а также формирование графиков зависимости фазы (ТКФ) и затухания (ТКЗ) от температуры осуществляют в одном цикле, поочередно для каждой подключенной кабельной сборки.
- коэффициентов передачи одной или нескольких кабельных сборок, подключаемых к соединителям блока
по тому же интерфейсу в компьютер 4.
- среднего значения фазы серии из 10-ти следующих друг за другом измерений ϕk, осуществляемых векторным анализатором цепей 2.
и модуля разницы средних значений фазы двух соседних серий измерений:




для каждой кабельной сборки. После автоматического измерения и
для каждой кабельной сборки на нормирующей температуре с компьютера 4 поступает команда на переключение режима внутри климатической камеры 1, соответствующего первой температурной точке (например, минус 60°С), заданной в температурном диапазоне испытаний. Указанное переключение выполняется с задержкой от момента регистрации установившегося значения фазы контрольной кабельной сборки не более чем на пять секунд для обеспечения измерений требуемых электрических параметров
каждой кабельной сборки и сохранения этих значений в памяти компьютера.
, с помощью известных математических соотношений обеспечивает вычисление значения фазы ϕti и затухания δti для каждой температурной точки и формирование графиков зависимости ТКФ и ТКЗ от температуры для одной или нескольких испытуемых кабельных сборок. Процесс построения графиков ТКФ и ТКЗ для каждой установленной внутри климатической камеры кабельной сборки отображается на мониторе компьютера 4, а данные о достижении установившихся значений фазы контрольной кабельной сборки выведены в виде визуального сигнала.
во всем диапазоне испытаний на мониторе отображаются полностью построенные графики ТКФ и ТКЗ для каждой установленной внутри климатической камеры кабельной сборки, а также заканчивается процесс формирования протоколов испытаний, которые сохраняются в памяти компьютера и могут быть выведены на печать.
каждой кабельной сборки и переключить климатическую камеру 1 на следующий температурный режим.
, а также автоматическое переключение температурного режима климатической камеры.