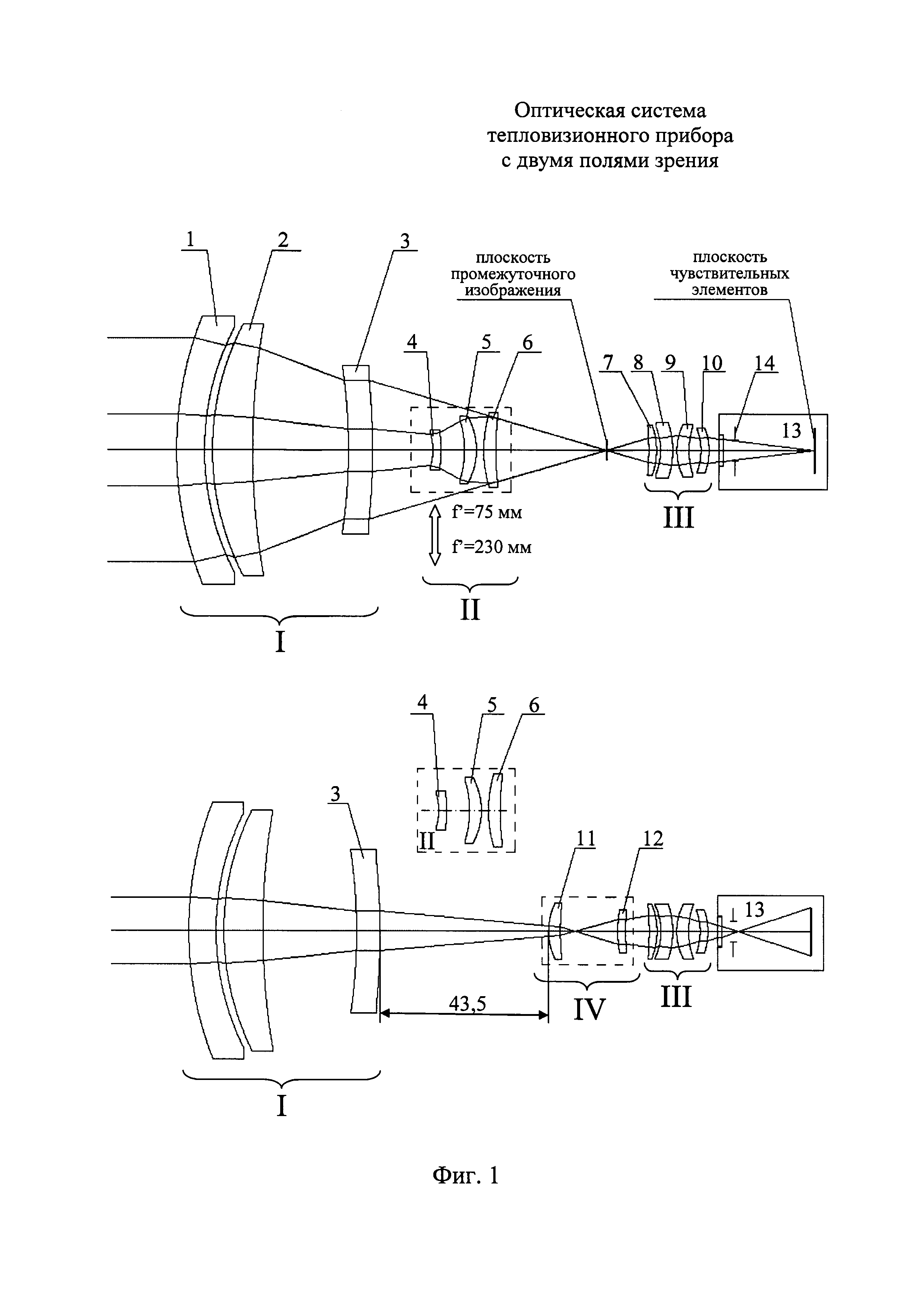
Оптическая система тепловизионного прибора с двумя полями зрения состоит из расположенных вдоль оптической оси первого компонента, содержащего первую отрицательную и вторую положительную выпукло-вогнутые линзы и третью отрицательную вогнуто-выпуклую линзу, установленную с возможностью перемещения вдоль оптической оси, второго компонента, установленного с возможностью ввода-вывода в оптический тракт и содержащего первую отрицательную и вторую положительную вогнуто-выпуклые линзы и третью положительную выпукло-вогнутую линзу, третьего компонента, содержащего первую положительную и вторую отрицательную вогнуто-выпуклые линзы, третью выпукло-вогнутую и четвертую вогнуто-выпуклую положительные линзы, и фотоприемного устройства. Введен четвертый компонент, установленный с возможностью ввода-вывода в оптический тракт в пространстве между первым и третьим компонентами и содержащий две положительные линзы. Технический результат - повышение вероятности обнаружения и распознавания объектов за счет выравнивания неоднородности чувствительных элементов и компенсации температурной расфокусировки изображения в двух полях зрения при сохранении компактности. 3 ил., 4 табл.
Оптическая система тепловизионного прибора с двумя полями зрения, состоящая из расположенных вдоль оптической оси первого компонента, содержащего первую отрицательную и вторую положительную выпукло-вогнутые линзы и третью отрицательную вогнуто-выпуклую линзу, установленную с возможностью перемещения вдоль оптической оси, второго компонента, установленного с возможностью ввода-вывода в оптический тракт и содержащего первую отрицательную и вторую вогнуто-выпуклые линзы и третью положительную линзу, третьего компонента, содержащего первую положительную и вторую отрицательную вогнуто-выпуклые линзы, третью выпукло-вогнутую и четвертую вогнуто-выпуклую положительные линзы, и фотоприемного устройства, отличающаяся тем, что дополнительно введен четвертый компонент, установленный с возможностью ввода-вывода в оптический тракт в пространстве между первым и третьим компонентами и содержащий две положительные линзы, во втором компоненте вторая линза выполнена положительной, а третья линза - выпукло-вогнутой.
Изобретение относится к инфракрасным оптическим системам и может быть использовано при создании тепловизионных приборов различного назначения с охлаждаемыми матричными фотоприемными устройствами. Известна оптическая система (см. патент US 8446472 В2, МПК7 G02B 13/00, опубл. 12.06.2013 г.), содержащая четырехлинзовый входной объектив и трехлинзовый проекционный объектив. Система работает как минимум в трех режимах: двух режимах наблюдения (обнаружения и распознавания) и калибровки (выравнивания неоднородности чувствительных элементов), переключение которых осуществляется перемещением двух оптических элементов входного объектива вдоль оптической оси, при этом максимальное фокусное расстояние f'max составляет 132 мм, минимальное f'min - 27 мм, относительное отверстие 1:3, длина системы от первой поверхности до плоскости изображения L>160 мм, при этом коэффициент телеукорочения TL=L/f'max>l,2. Недостатками указанной системы являются маленькое фокусное расстояние, большой коэффициент телеукорочения и невозможность быстрого переключения режимов. Также известна оптическая система для тепловизионных приборов (см. патент RU 2449 328 С1, МПК7 G02B 13/14, 23/12, публ. 27.04.2012 г.), содержащая двухлинзовый входной объектив, пятилинзовый проекционный объектив и однолинзовый расфокусирующий элемент. Система работает в двух режимах: наблюдения и калибровки. Режим калибровки осуществляется вводом расфокусирующего элемента в оптический тракт в пространстве между входным и проекционным объективами, что позволяет перенести плоскость изображения в плоскость охлаждаемой диафрагмы. Фокусное расстояние системы f' составляет 60 мм, относительное отверстие 1:3, длина L>150 мм, при этом коэффициент телеукорочения TL=L/f'>2,5. Недостатками указанной системы являются наличие только одного режима наблюдения, маленькое фокусное расстояние и большой коэффициент телеукорочения. Наиболее близкой по технической сущности к заявляемой оптической системе, принятой за прототип, является оптическая система тепловизионного прибора с двумя полями зрения (см. патент на изобретение RU 2570062 U1, МПК7 G02B 13/14, опубл. 23.09.2014 г.), состоящая из расположенных вдоль оптической оси первого компонента, содержащего первую отрицательную и вторую положительную выпукло-вогнутые линзы и третью отрицательную вогнуто-выпуклую линзу, второго компонента, содержащего первую и вторую отрицательные вогнуто-выпуклые линзы и третью положительную двояковыпуклую линзу, третьего компонента, содержащего первую положительную и вторую отрицательную вогнуто-выпуклые линзы, третью положительную выпукло-вогнутую линзу и четвертую положительную вогнуто-выпуклую линзу, и фотоприемного устройства. Оптическая система работает в двух режимах наблюдения, переключение которых осуществляется вводом-выводом второго компонента в оптический тракт в пространстве между первым и третьим компонентами, при этом максимальное фокусное расстояние f'max составляет 230 мм, минимальное f'min - 34 мм, относительное отверстие 1:4. Длина система от первой поверхности до плоскости изображения L=159,7 мм, т.е. коэффициент телеукорочения TL=L/f'max>0,67, что позволяет обеспечить компактность тепловизионного прибора в целом. Конструктивное выполнение системы не предусматривает работу в режиме калибровки, т.е. отсутствует возможность выравнивания неоднородности чувствительных элементов, что снижает вероятность обнаружения и распознавания объекта. Компенсация расфокусировки изображения при изменении температуры осуществляется перемещением фокусирующей линзы (третьей линзы первого компонента). В узком поле зрения величина перемещения составляет Δ=0,7 мм, при этом обеспечивается качество изображения в изменившихся температурных условиях. В широком поле зрения для обеспечения качества изображения необходимая величина перемещения фокусирующей линзы составляет Δ=17 мм в направлении второго компонента, а величина воздушного промежутка между фокусирующей линзой и вторым компонентом 13 мм, что не позволяет осуществить это перемещение и обеспечить сохранение качества изображения при изменении температуры. Задачей, на решение которой направлено изобретение, является повышение вероятности обнаружения и распознавания объектов за счет обеспечения выравнивания неоднородности чувствительных элементов и компенсации температурной расфокусировки изображения в двух полях зрения при сохранении компактности тепловизионного прибора. Указанная цель достигается тем, что в оптической системе тепловизионного прибора с двумя полями зрения, состоящей из расположенных вдоль оптической оси первого компонента, содержащего первую отрицательную и вторую положительную выпукло-вогнутые линзы и третью отрицательную вогнуто-выпуклую линзу, установленную с возможностью перемещения вдоль оптической оси, второго компонента, установленного с возможностью ввода-вывода в оптический тракт и содержащего первую отрицательную и вторую вогнуто-выпуклые линзы и третью положительную линзу, третьего компонента, содержащего первую положительную и вторую отрицательную вогнуто-выпуклые линзы, третью выпукло-вогнутую и четвертую вогнуто-выпуклую положительные линзы, и фотоприемного устройства, дополнительно введен четвертый компонент, установленный с возможностью ввода-вывода в оптический тракт в пространстве между первым и третьим компонентами и содержащий две положительные линзы, во втором компоненте вторая линза выполнена положительной, а третья линза - выпукло-вогнутой. На фигуре 1 представлена схема оптической системы тепловизионного прибора с двумя полями зрения. На фигуре 2 представлены графики функции концентрации энергии (ФКЭ) системы в узком поле зрения для температур 20, 60 и минус 50°С. На фигуре 3 представлены графики функции концентрации энергии (ФКЭ) системы в широком поле зрения для температур 20, 60 и минус 50°С. Оптическая система состоит из расположенных вдоль оптической оси первого компонента I, содержащего первую отрицательную 1 и вторую положительную 2 выпукло-вогнутые линзы и третью отрицательную вогнуто-выпуклую линзу 3, второго компонента II, содержащего первую отрицательную 4 и вторую положительную 5 вогнуто-выпуклые линзы и третью положительную выпукло-вогнутую линзу 6, третьего компонента III, содержащего первую положительную 7 и вторую отрицательную 8 вогнуто-выпуклые линзы, третью выпукло-вогнутую 9 и четвертую вогнуто-выпуклую 10 положительные линзы, четвертого компонента IV, содержащего две положительные линзы 11 и 12, и фотоприемного устройства 13 с охлаждаемой диафрагмой 14. Линза 3 первого компонента I установлена с возможностью перемещения вдоль оптической оси. Второй II и четвертый IV компоненты установлены с возможностью ввода-вывода в оптический тракт в пространстве между первым и третьим компонентами. В таблице 1 приведены технические характеристики системы, работающей в среднем инфракрасном диапазоне спектра. В таблице 2.1 приведены конструктивные параметры системы, а в таблице 2.2 - конструктивные параметры четвертого компонента IV. В таблице 3 приведены значения перемещений Δ1 и Δ2 линзы 3 первого компонента I в зависимости от температуры окружающей среды для узкого и широкого полей зрения соответственно. В узком поле зрения, соответствующем максимальному фокусному расстоянию, оптическая система работает следующим образом: излучение от бесконечно удаленного объекта проходит через линзы 1-3 первого компонента I и фокусируется в плоскости промежуточного изображения, затем проходит через линзы 7-10 третьего компонента III и попадает в фотоприемное устройство 13, в плоскости чувствительных элементов которого формируется изображение, при этом охлаждаемая диафрагма 14 фотоприемного устройства 13 выполняет функцию апертурной диафрагмы системы. В широком поле зрения, соответствующем минимальному фокусному расстоянию, излучение проходит через линзы 1-3 первого I и 4-6 второго II компонентов и фокусируется в той же плоскости промежуточного изображения, затем проходит через линзы 7-10 третьего компонента III и попадает в фотоприемное устройство 13, при этом изображение формируется в той же плоскости чувствительных элементов и охлаждаемая диафрагма 14 фотоприемного устройства 13 является апертурной диафрагмой системы. Изменение поля зрения (фокусного расстояния) оптической системы осуществляется вводом-выводом второго компонента II в оптический тракт в пространстве между первым I и третьим III компонентами. В режиме калибровки, который осуществляется в узком поле зрения, в пространстве между первым I и третьим III компонентами вводится четвертый компонент IV. Излучение проходит через линзы 1-3 первого I, 11-12 четвертого IV и 7-10 третьего III компонентов и фокусируется в плоскости охлаждаемой диафрагмы 14. В фотоприемное устройство 13 попадает расфокусированное на всю область чувствительных элементов фотоприемного устройства излучение, образуя тем самым равномерную засветку этой области. В результате обеспечивается выравнивание неоднородности чувствительных элементов фотоприемного устройства. После этого четвертый компонент выводится из оптического тракта и система работает в обычном режиме. Компенсация температурной расфокусировки изображения осуществляется перемещением фокусирующей линзы (линзы 3 первого компонента I) вдоль оптической оси в соответствии с приведенными в таблице 3 значениями. Как видно из таблицы 3, величина перемещения линзы 3 в широком поле зрения составляет 3,4 мм, что в 5 раз меньше, чем в прототипе, что обеспечивается выбранным конструктивным исполнением второго компонента П. Как видно из графиков, приведенных на фигурах 2 и 3, в оптической системе обеспечивается высокое качество изображения в пределах всего поля зрения, как при минимальном, так и при максимальном фокусных расстояниях в диапазоне температур от минус 50 до плюс 60°С. Таким образом, выполнение оптической системы тепловизионного прибора с двумя полями зрения в соответствии с предлагаемым техническим решением позволяет повысить вероятность обнаружения и распознавания объектов за счет обеспечения выравнивания неоднородности чувствительных элементов и компенсации температурной расфокусировки изображения в двух полях зрения при сохранении компактности тепловизионного прибора.


