патент
№ RU 2582384
МПК F02F5/00
Номер заявки
2015108559/06
Дата подачи заявки
11.03.2015
Опубликовано
27.04.2016
Страна
RU
Как управлять
интеллектуальной собственностью
Чертежи 
3
Реферат

Изобретение относится к машиностроению, а конкретно к проектированию, производству и эксплуатации двигателей внутреннего сгорания. Поршневое уплотнение двигателя внутреннего сгорания содержит два компрессионных кольца (3) и (7), между которыми расположено расширительное кольцо (5), установленные в одной поршневой канавке (4), причем расширительное кольцо (5), имеющее коническую рабочую часть и фиксирующую цилиндрическую часть, установлено между компрессионными кольцами (3) и (7) так, что наружная коническая часть расширительного кольца (5) контактирует соответственно с наклонными поверхностями, выполненными на нижнем торце верхнего кольца (3) и верхнем торце нижнего кольца (7), а внутренней цилиндрической частью расширительное кольцо расположено в кольцевой проточке (6), выполненной в дне поршневой канавки (4). Предлагаемая конструкция поршневого устройства практически устраняет газодинамические потери, обеспечивает эффективный теплообмен между перегретой головкой поршня (2) и охлаждаемым цилиндром (1), повышает компрессию, мощность и ресурс двигателя, уменьшает расход топлива и масла, улучшает экономические и экологические показатели. 3 з.п. ф-лы; 3 ил.

Формула изобретения

1. Поршневое уплотнение двигателя внутреннего сгорания, содержащее два компрессионных кольца и расширительное кольцо, установленные в одной поршневой канавке, отличающееся тем, что расширительное кольцо имеет коническую рабочую часть и цилиндрическую часть, расположено между компрессионными кольцами так, что его коническая часть контактирует соответственно с наклонными поверхностями, выполненными на нижнем торце верхнего кольца и верхнем торце нижнего кольца, а цилиндрической частью расширительное кольцо установлено в кольцевой проточке, выполненной в дне поршневой канавки.

2. Поршневое уплотнение двигателя внутреннего сгорания по п. 1, отличающееся тем, что верхнее и нижнее компрессионные кольца имеют прямоугольный профиль, при этом верхний торец верхнего кольца и нижний торец нижнего кольца расположены под прямым углом к оси цилиндра двигателя.

3. Поршневое уплотнение двигателя внутреннего сгорания по п. 1, отличающееся тем, что верхнее и нижнее компрессионные кольца имеют трапециевидный профиль, при этом верхний торец верхнего кольца выполнен под углом к своему нижнему торцу, а нижний торец нижнего кольца выполнен под углом к своему верхнему торцу, причем меньшими сторонами они обращены к оси цилиндра двигателя.

4. Поршневое уплотнение двигателя внутреннего сгорания по п. 1, отличающееся тем, что верхнее компрессионное кольцо имеет трапециевидный профиль, верхний его торец выполнен под углом к своему нижнему торцу, причем меньшей стороной обращено к оси цилиндра двигателя, а нижнее компрессионное кольцо имеет прямоугольный профиль, его нижний торец расположен под прямым углом к оси цилиндра двигателя.

Описание

[1]

Изобретение относится к машиностроению, а конкретно к проектированию, производству и эксплуатации двигателей внутреннего сгорания.

[2]

Известны поршневые уплотнения двигателей внутреннего сгорания, состоящие из отдельных элементов, установленных в одну поршневую канавку (US 1527535 А. 19.10.1920, RU 2381375 С2, 10.02.2010. RU 2213238. С2, 27.09.2003, US 3971298 А. 27.07.1976, GB 284133 А. 26.01.1928, GB 552296 А, 31.03.1943).

[3]

Известно поршневое уплотнение двигателя внутреннего сгорания (патент №2381375, МПК F02F 5/00, опубл. 10.02.2010 г.), ближайшее по технической сущности и принятое за прототип, содержащее верхнее и нижнее компрессионные кольца, размещенные в одной поршневой канавке, причем верхний торец верхнего компрессионного кольца выполнен под углом к своему нижнему торцу, образуя поперечное сечение кольца в виде односторонней трапеции. Известное устройство имеет существенный недостаток, который заключается в том, что подобная схема расположения компрессионных колец и конического расширителя допускает прорыв рабочих газов из камеры сгорания через зазор в замке верхнего компрессионного кольца в придонную полость поршневой канавки и далее через зазор в замке конического расширителя и зазор между поршнем и цилиндром в картер двигателя. При движении поршня в обратном направлении, масло, снятое со стенки цилиндра, попадает в придонную полость поршневой канавки и далее, через зазор в замке верхнего компрессионного кольца вытесняется в зазор между поршнем и цилиндром и выбрасывается в камеру сгорания. Кроме того, рядная с компрессионными кольцами установка расширительного кольца увеличивает длину поршня, увеличивая его массу, которая отрицательно влияет не только на расход металла, особенно в массовом типе производства, но и на динамику кинематической системы двигателя.

[4]

Технический результат, на достижение которого направлено предлагаемое изобретение, заключается в сокращении газодинамических потерь между поршнем и цилиндром, исключении прорыва рабочих газов через зазор в замке верхнего компрессионного кольца в поршневую канавку и далее в картер двигателя, проникновении моторного масла через поршневую канавку и тот же зазор в замке верхнего компрессионного кольца в камеру сгорания, в улучшении условий теплообмена между перегретой головкой поршня и охлаждаемым цилиндром, в повышении мощности, ресурса и надежности двигателя, в уменьшении расхода топлива и масла и улучшении экономических и экологических характеристик двигателя.

[5]

Технический результат достигается тем, что в поршневом уплотнении двигателя внутреннего сгорания, содержащем два компрессионных кольца и расширительное кольцо, установленные в одной поршневой канавке, новым является то, что расширительное кольцо, имеющее коническую рабочую часть и цилиндрическую часть, расположено между компрессионными кольцами, при этом коническая часть расширительного кольца контактирует соответственно с наклонными поверхностями, выполненными на нижнем торце верхнего кольца и верхнем торце нижнего кольца, а цилиндрической частью расширительное кольцо установлено в кольцевой проточке, выполненной в дне поршневой канавки.

[6]

Компрессионные кольца имеют прямоугольный профиль, при этом верхний торец верхнего кольца и нижний торец нижнего кольца расположены под прямым углом к оси цилиндра двигателя.

[7]

Компрессионные кольца имеют трапециевидный профиль, верхний торец верхнего кольца выполнен под углом к своему нижнему торцу, а нижний торец нижнего кольца выполнен под углом к своему верхнему торцу, причем меньшими сторонами они обращены к оси цилиндра двигателя.

[8]

Верхнее компрессионное кольцо имеет трапециевидный профиль, верхний его торец выполнен под углом к своему нижнему торцу, причем меньшей стороной обращено к оси цилиндра двигателя, а нижнее компрессионное кольцо имеет прямоугольный профиль, его нижний торец расположен под прямым углом к оси цилиндра двигателя.

[9]

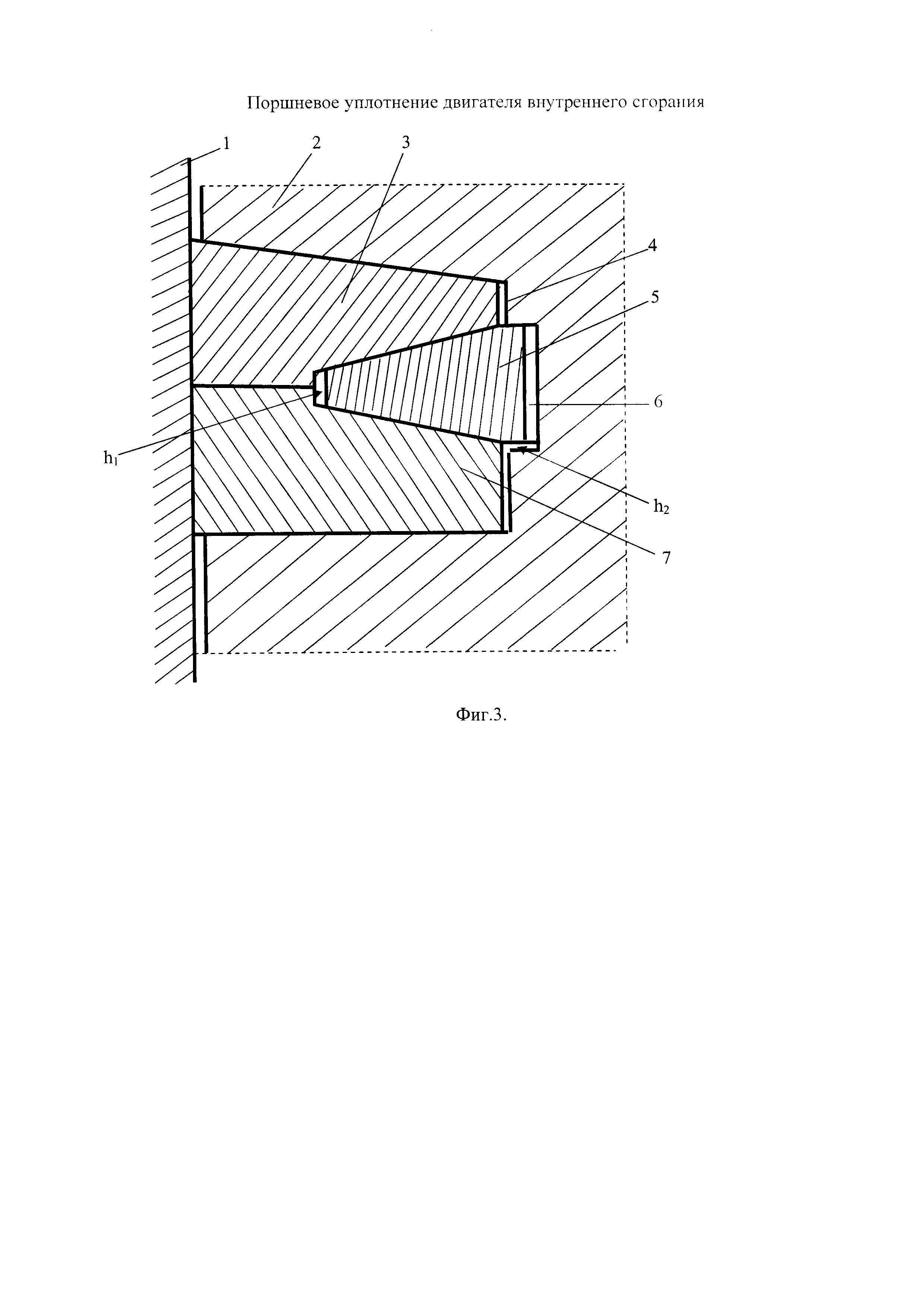
На фиг. 1 представлено частичное сечение двигателя внутреннего сгорания (по п. 2 формулы изобретения).

[10]

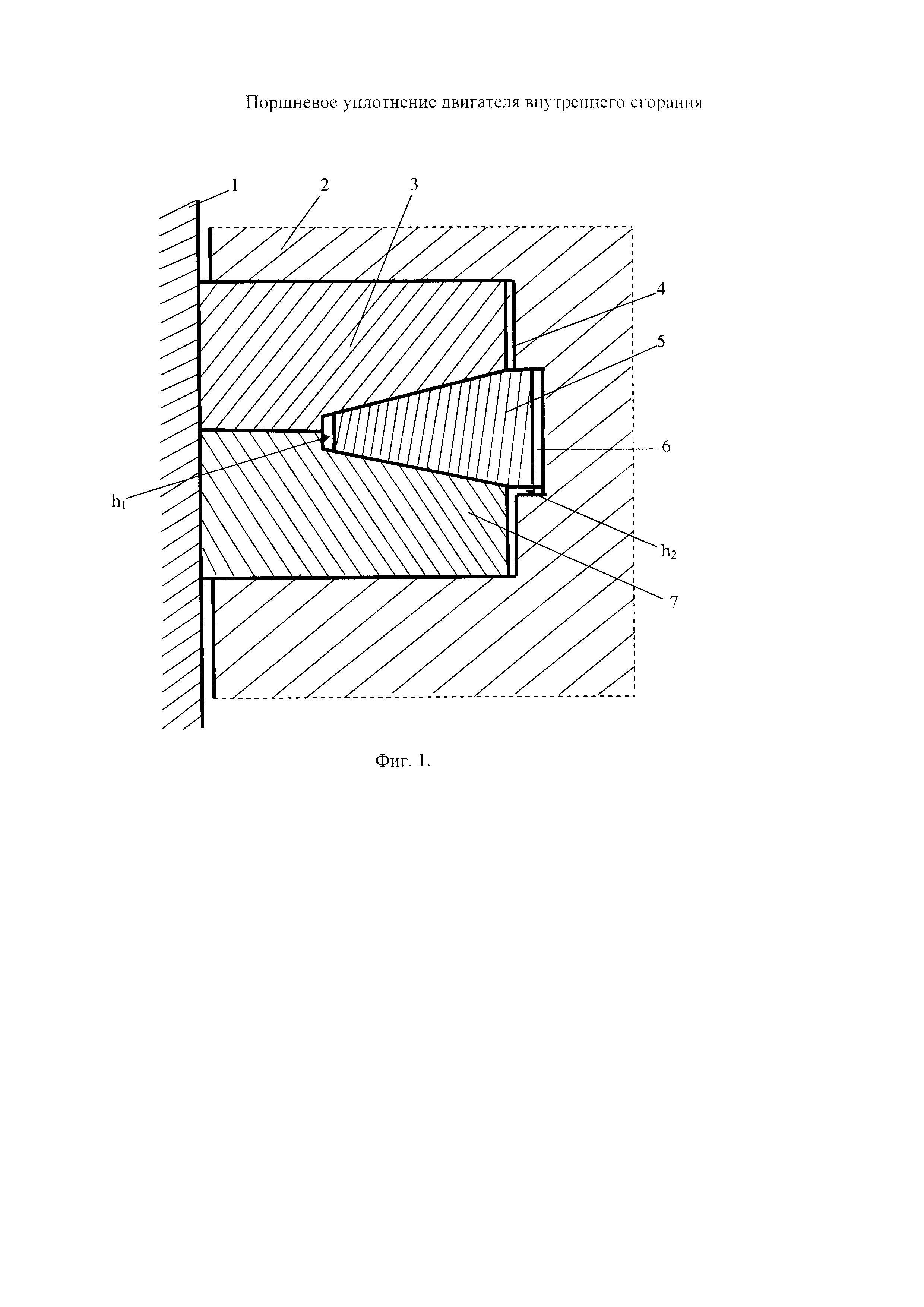
На фиг. 2 представлено частичное сечение двигателя внутреннего сгорания (по п. 3 формулы изобретения).

[11]

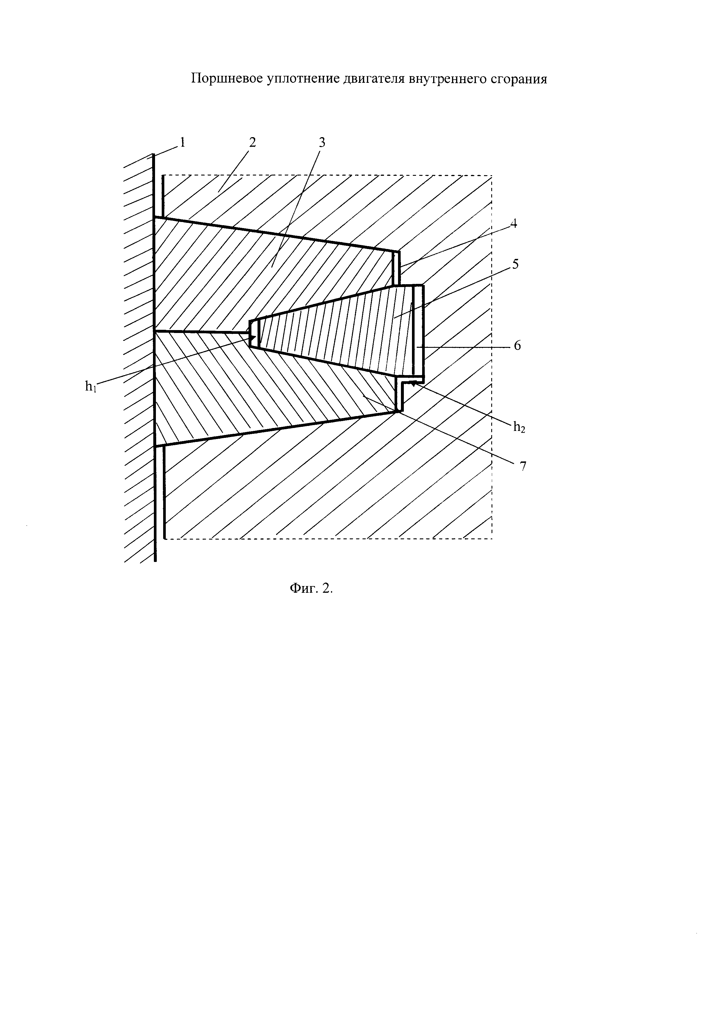
На фиг. 3 представлено частичное сечение двигателя внутреннего сгорания (по п. 4 формулы изобретения).

[12]

Здесь: 1 - цилиндр; 2 - поршень; 3 - верхнее компрессионное кольцо; 4 - поршневая канавка; 5 - расширительное кольцо; 6 - кольцевая проточка; 7 - нижнее компрессионное кольцо.

[13]

Двигатель внутреннего сгорания содержит цилиндр 1, поршень 2, верхнее компрессионное кольцо 3, нижнее компрессионное кольцо 7, между которыми расположено расширительное кольцо 5, установленные в поршневой канавке 4, причем расширительное кольцо 5 своей цилиндрической частью расположено в кольцевой проточке 6, выполненной в дне поршневой канавки 4.

[14]

Компрессионные кольца 3 и 7 (фиг. 1) имеют прямоугольный профиль, при этом верхний торец верхнего кольца 3 и нижний торец нижнего кольца 7 расположены под прямым углом к оси цилиндра 1 двигателя.

[15]

Компрессионные кольца (фиг. 2) имеют трапециевидный профиль, верхний торец верхнего кольца 3 выполнен под углом к своему нижнему торцу, а нижний торец нижнего кольца 7 выполнен под углом к своему верхнему торцу, причем меньшими сторонами они обращены к оси цилиндра 1 двигателя.

[16]

Верхнее компрессионное кольцо 3 имеет трапециевидный профиль (фиг. 3), верхний его торец выполнен под углом к своему нижнему торцу, причем меньшей стороной обращено к оси цилиндра 1 двигателя, а нижнее компрессионное кольцо 7 имеет прямоугольный профиль, его нижний торец расположен под прямым углом к оси цилиндра 1 двигателя.

[17]

Поршневое уплотнение работает следующим образом. В исходном положении, показанном на фиг. 1, 2, 3, отсутствует зазор между нижним торцом верхнего компрессионного кольца 3 и верхним торцом нижнего компрессионного кольца 7. В процессе работы двигателя происходит нагрев цилиндра 1, поршня 2, компрессионных колец 3, 7 и расширительного кольца 5.

[18]

В кинематической схеме «цилиндр 1 - верхняя полка поршневой канавки 4 - верхнее компрессионное кольцо 3 - расширительное кольцо 5 - нижнее компрессионное кольцо 7 - нижняя полка поршневой канавки 4» происходят изменения положений ее элементов. Причем схема оставила компрессионным кольцам 3 и 7 две степени свободы, расширительному кольцу 5 - всего одну степень свободы. Компрессионные кольца 3 и 7 имеют возможность смещаться вверх - вниз, вдоль оси поршня 2, а также влево вправо в направлении стенки цилиндра 1, перпендикулярно оси поршня 2. Расширительное кольцо 5, имея одну степень свободы, смещается влево - вправо в направлении стенки цилиндра 1, перпендикулярно оси поршня 2. Такая кинематическая схема расположения подвижных элементов гарантирует компрессионным кольцам 3 и 7 стабильность скольжения по стенке цилиндра 1, избегая различных «скручиваний» (торсионности), недостатков, присущих большинству применяемых конструкций уплотнений между стенками цилиндра 1 и поршнем 2, ориентированных на «скобление» стенки и освобождение ее от излишков масла, оставшихся после прохождения неэффективных маслосъемных колец. Все эти смещения происходят в пределах величины, постоянно меняющегося зазора между полками поршневой канавки 4 и соответствующими торцами компрессионных колец 3 и 7 и величины изменения диаметра цилиндра 1 за счет тепловых деформаций и износа стенки цилиндра 1 и рабочих поверхностей компрессионных колец 3 и 7 в процессе эксплуатации двигателя.

[19]

Прогрев цилиндра 1 приводит к увеличению его диаметра. Под действием своих упругих сил компрессионные кольца 3 и 7, прижатые к стенке цилиндра 1, изменяя свое положение вместе со стенкой цилиндра 1, способствуют появлению зазора между полками поршневой канавки 4 и торцами компрессионных колец 3 и 7. Разогрев поршня 2 приводит к увеличению ширины поршневой канавки 4, увеличивая все тот же зазор между полками поршневой канавки 4 и торцами компрессионных колец 3 и 7. Одновременно, под действием своих собственных упругих сил расширительное кольцо 5 смещается в сторону стенки цилиндра 1 вместе с компрессионными кольцами 3 и 7, расклинивая их, устраняя появляющийся зазор между полками поршневой канавки 4 и торцами компрессионных колец 3 и 7. За счет смещения верхнего компрессионного кольца 3 к верхней полке поршневой канавки 4, а нижнего компрессионного кольца 7 к нижней полке поршневой канавки 4, между нижним торцом верхнего компрессионного кольца 3 и верхним торцом нижнего компрессионного кольца 7 появляется соответствующий этим перемещениям зазор. Появляющийся зазор перекрывает расширительное кольцо 5, устраняя прорывы рабочего газа и остатков продуктов горения топливовоздушной смеси, снимаемых со стенки цилиндра 1, в придонную полость поршневой канаки 4, исключая нагарообразование.

[20]

Коническое расширительное кольцо 5 выполняет функцию осевого и радиального расширителя, прижимая торцы колец 3 и 7 к полкам поршневой канавки 4 и дополняя силы упругости самих колец 3 и 7, прижимая их к стенке цилиндра 1. Причем величина этих усилий и размеров перемещений зависит от угла наклона конуса расширительного кольца 5 и соответствующих торцов колец 3 и 7.

[21]

Контакт цилиндрической части расширительного кольца 5 с одной из полок поршневой проточки 6, верхней, как показано на фиг. 1, 2, 3 (при ходе поршня 2 в нижнее положение), или нижней (при ходе поршня в верхнее положение), способствует дополнительной теплопередаче от перегретой головки поршня 2, через расширительное кольцо 5 и компрессионные кольца 3 и 7 охлаждаемому цилиндру 1.

[22]

В процессе охлаждения выключенного двигателя термодинамические изменения происходят в обратном порядке. В первую очередь снижается температура охлаждаемого цилиндра 1, уменьшается его внутренний диаметр, стенка цилиндра 1 воздействует на компрессионные кольца 3, 7, смещает их в направлении оси поршня 2. В свою очередь, остывание поршня 2 приводит к уменьшению ширины поршневой канавки 6, которая, сужаясь, сжимает пакет колец, также вытесняя расширительное кольцо 5, а вместе с ним и компрессионные кольца 3 и 5 в исходное положение. Расположение конического расширительного кольца 5 своей цилиндрической частью в поршневой проточке 6 препятствует прорыву рабочих газов из камеры сгорания через зазор в замке верхнего кольца 3 в придонную полость поршневой канавки 4, а также устраняет проникновение моторного масла из придонной полости поршневой канавки 4 в камеру сгорания и далее на выхлоп. Кроме того, зазор h1 между поверхностью внешнего диаметра расширительного кольца 5 и выступами на компрессионных кольцах 3 и 7 учитывает увеличение диаметра цилиндра 1 при тепловом расширении, а также износ рабочих поверхностей компрессионных колец 3, 7 и цилиндра 1 в процессе эксплуатации двигателя. Зазор h2 позволяет свободно устанавливаться коническому расширительному кольцу 5 относительно наклонных торцов компрессионных колец 3 и 7, обеспечивая равномерные усилия прижима к обоим кольцам.

[23]

Поршневое уплотнение (фиг. 1) с компрессионными кольцами 3 и 7, имеющими прямоугольный профиль обеспечивает защиту поршня от перегрева и проще и технологичнее в изготовлении.

[24]

Поршневое уплотнение (фиг. 2) можно классифицировать, как термодинамическое, так как конструкция обеспечивает более благоприятные условия защиты поршня от перегрева. При одной и той же высоте компрессионного кольца увеличена активная площадь контакта с полками поршневой канавки, что очень важно при работе двигателя на газообразном топливе. Кроме того, трапециевидные кольца имеют меньшую массу и, соответственно, вес, влияющие на расход металла, особенно, в массовом типе производства, а также на динамические характеристики кинематической системы двигателя.

[25]

Поршневое уплотнение (фиг. 3) более технологично, позволяет при изготовлении поршня 2 точнее выдерживать при обработке очень важные размеры поршневой канавки 4 и кольцевой проточки 6, используя нижнюю полку поршневой канавки в качестве технологической базы. Такая конструкция положительно повлияет на уменьшение зазора h2 между цилиндрической частью расширительного кольца 5 и полками кольцевой проточки 6 и, соответственно, уменьшение проникновения рабочего газа и моторного масла в придонную полость поршневой канавки 4.

[26]

Поршневое уплотнение (фиг. 1, 2, 3) компактное, практически исключает газодинамические потери, отрицательно влияющие на постоянство расчетных параметров рабочих процессов, повышает полноту сгорания топлива, увеличивает мощность двигателя, снижает удельный расход топлива, улучшает условия теплопередачи от поршня цилиндру, повышает ресурс двигателя, улучшает его экологические показатели.

Как компенсировать расходы
на инновационную разработку
Похожие патенты