патент
№ RU 2678744
МПК E02D27/44

СВАЙНЫЙ ФУНДАМЕНТ ПОД ОБОРУДОВАНИЕ

Авторы:
Марданшин Ильдар Ильгизович
Номер заявки
2018116516
Дата подачи заявки
03.05.2018
Опубликовано
31.01.2019
Страна
RU
Как управлять
интеллектуальной собственностью
Чертежи 
1
Реферат

Изобретение относится к свайным фундаментам и может быть использовано для передачи нагрузки от установленного на фундаменте насосного агрегата грунту. Свайный фундамент под оборудование включает сваи и установленную на них раму из балок и с колодцами под анкерные болты, причем колодцы закрыты крышками и размещены в узлах рам соосно сваям. Внутренний диаметр колодца выбран больше наружного диаметра сваи, при этом верхний конец сваи находится внутри колодца и не доходит до его крышки. Количество анкерных болтов для одного колодца выбрано равным двум и их нижние концы согнуты под острым углом. На верхнем конце колодцев выполнены два сквозных отверстия, расположенные по диаметру колодца, причем в каждое сквозное отверстие колодца входит согнутый конец анкерного болта, причем балки рамы расположены между двумя анкерными болтами колодцев, при этом оба анкерных болта одного колодца проходят вверх через отверстия пластины, установленной сверху на балку рамы, при этом на выступающую с пластины резьбовую часть анкерных болтов завернуты гайки, стягивающие колодец к балке рамы. Верхний торец каждой сваи выполнен в виде стакана, а к наружной стенке сваи над нижним торцом колодца приварено внутренней стенкой кольцо в форме шайбы, наружный диаметр которой меньше внутреннего диаметра колодца. К внутренней стенке колодца под сквозными отверстиями приварен горизонтально расположенный диск. На верхний торец сваи установлен резиновый диск, диаметр которого равен внутреннему диаметру колодца. На кольце сваи лежит стальная шайба, наружный диаметр которой выбран равным внутреннему диаметру колодца, а внутренний диаметр выбран больше наружного диаметра сваи. Между резиновым диском и стальной шайбой в зазор между внутренней стенкой колодца и наружной стенкой сваи установлена резиновая втулка. Технический результат состоит в снижении динамических нагрузок, передаваемых от оборудования на сваи, повышении срока эксплуатации фундамента. 2 ил.

Формула изобретения

Свайный фундамент под оборудование, включающий сваи и установленную на них раму из балок и с колодцами под анкерные болты, причем колодцы закрыты крышками и размещены в узлах рам соосно сваям, отличающийся тем, что внутренний диаметр колодца выбран больше наружного диаметра сваи, при этом верхний конец сваи находится внутри колодца и не доходит до его крышки, причем количество анкерных болтов для одного колодца выбрано равным двум и их нижние концы согнуты под острым углом, причем на верхнем конце колодцев выполнены два сквозных отверстия, расположенные по диаметру колодца, причем в каждое сквозное отверстие колодца входит согнутый конец анкерного болта, причем балки рамы расположены между двумя анкерными болтами колодцев, при этом оба анкерных болта одного колодца проходят вверх через отверстия пластины, установленной сверху на балку рамы, при этом на выступающую с пластины резьбовую часть анкерных болтов завернуты гайки, стягивающие колодец к балке рамы, причем верхний торец каждой сваи выполнен в виде стакана, а к наружной стенке сваи над нижним торцом колодца приварено внутренней стенкой кольцо в форме шайбы, наружный диаметр которой меньше внутреннего диаметра колодца, причем к внутренней стенке колодца под сквозными отверстиями приварен горизонтально расположенный диск, причем на верхний торец сваи установлен резиновый диск, диаметр которого равен внутреннему диаметру колодца, причем на кольце сваи лежит стальная шайба, наружный диаметр которой выбран равным внутреннему диаметру колодца, а внутренний диаметр выбран больше наружного диаметра сваи, причем между резиновым диском и стальной шайбой в зазор между внутренней стенкой колодца и наружной стенкой сваи установлена резиновая втулка.

Описание

[1]

Изобретение относится к свайным фундаментам и может быть использовано для передачи нагрузки от установленного на фундаменте насосного агрегата грунту.

[2]

Известен металлический свайный фундамент для станка-качалки скважинной установки (Патент RU 150462, МПК E02D 27/44, опублик. 20.02.2015 Бюл. №5), включающий сваи, выполненные в виде вертикально расположенных труб, по меньшей мере, две из которых жестко связаны между собой соединяющей балкой. Фундамент представляет собой четыре пары вертикально расположенных на расстоянии друг за другом труб не связанных между собой, но каждая пара жестко связана между собой соединяющей балкой для установки основания станка-качалки. Каждая балка выполнена в виде швеллера для установки ее на сваи, и приваренных к швеллеру с двух концов в верхней его части пластин с отверстиями для соединения их со сваями с помощью болтов. Концы каждой сваи выполнены в виде шнека и с заостренным концом. К верхним частям четырех пар, не связанных между собой, вертикально расположенных труб и к верхним частям второй, третьей и четвертой пар труб жестко связанных между собой соединяющими балками, приварены по два пересекающихся уголковых профиля, которые приварены друг к другу с помощью пластин, для скрепления этих вертикальных труб. К первой и четвертой балкам приварены пластины с отверстиями для центровочных болтов и регулировки положения основания станка-качалки. Балки снабжены дополнительными прижимными балками с пазами, шпильками и гайками для стягивания балок, основания станка-качалки и прижимных балок. Недостатком известного устройства является сложность конструкции и невысокая эффективность виброизоляции свай за счет жесткого соединения основания станка-качалки со сваями.

[3]

Наиболее близким к предлагаемому является свайный фундамент под оборудование (Автор. свидет. СССР 881207, М.Кл. E02D 27/44, опублик. 15.11.81 Бюл. №42), включающий сваи и установленную на них раму из балок и с колодцами под анкерные болты, причем колодцы закрыты крышками и размещены в узлах рам соосно сваям. В прототипе динамические нагрузки от установленного на фундамент насосного агрегата передаются сваям, т.к. балки рамы неподвижно соединены со сваями. Чувствительность свайных фундаментов велика к динамическим нагрузкам оборудования. Из-за этого происходит осадка свай, и тем самым снижается срок эксплуатации фундамента.

[4]

Задачей заявляемого изобретения является снижение динамических нагрузок, передаваемых от оборудования на сваи.

[5]

Поставленная задача решается тем, что в свайном фундаменте под оборудование, включающем сваи и установленный на них раму из балок и с колодцами под анкерные болты, причем колодцы закрыты крышками и размещены в узлах рам соосно сваям, новым является то, что внутренний диаметр колодца выбран больше наружного диаметра сваи, при этом верхний конец сваи находится внутри колодца и не доходит до его крышки, причем количество анкерных болтов для одного колодца выбрано равным двум и их нижние концы согнуты под острым углом, причем на верхнем конце колодцев выполнены два сквозных отверстия, расположенные по диаметру колодца, причем в каждое сквозное отверстие колодца входит согнутый конец анкерного болта, причем балки рамы расположены между двумя анкерными болтами колодцев, при этом оба анкерных болта одного колодца проходят вверх через отверстия пластины, установленной сверху на балку рамы, при этом на выступающую с пластины резьбовую часть анкерных болтов завернуты гайки, стягивающие колодец к балке рамы, причем верхний торец каждой сваи выполнен в виде стакана, а к наружной стенке сваи над нижним торцом колодца приварено внутренней стенкой кольцо в форме шайбы, наружный диаметр которой меньше внутреннего диаметра колодца, причем к внутренней стенке колодца под сквозными отверстиями приварен горизонтально расположенный диск, причем на верхний торец сваи установлен резиновый диск, диаметр которого равен внутреннему диаметру колодца, причем на кольце сваи лежит стальная шайба, наружный диаметр которой выбран равным внутреннему диаметру колодца, а внутренний диаметр выбран больше наружного диаметра сваи, причем между резиновым диском и стальной шайбой в зазор между внутренней стенкой колодца и наружной стенкой сваи установлена резиновая втулка.

[6]

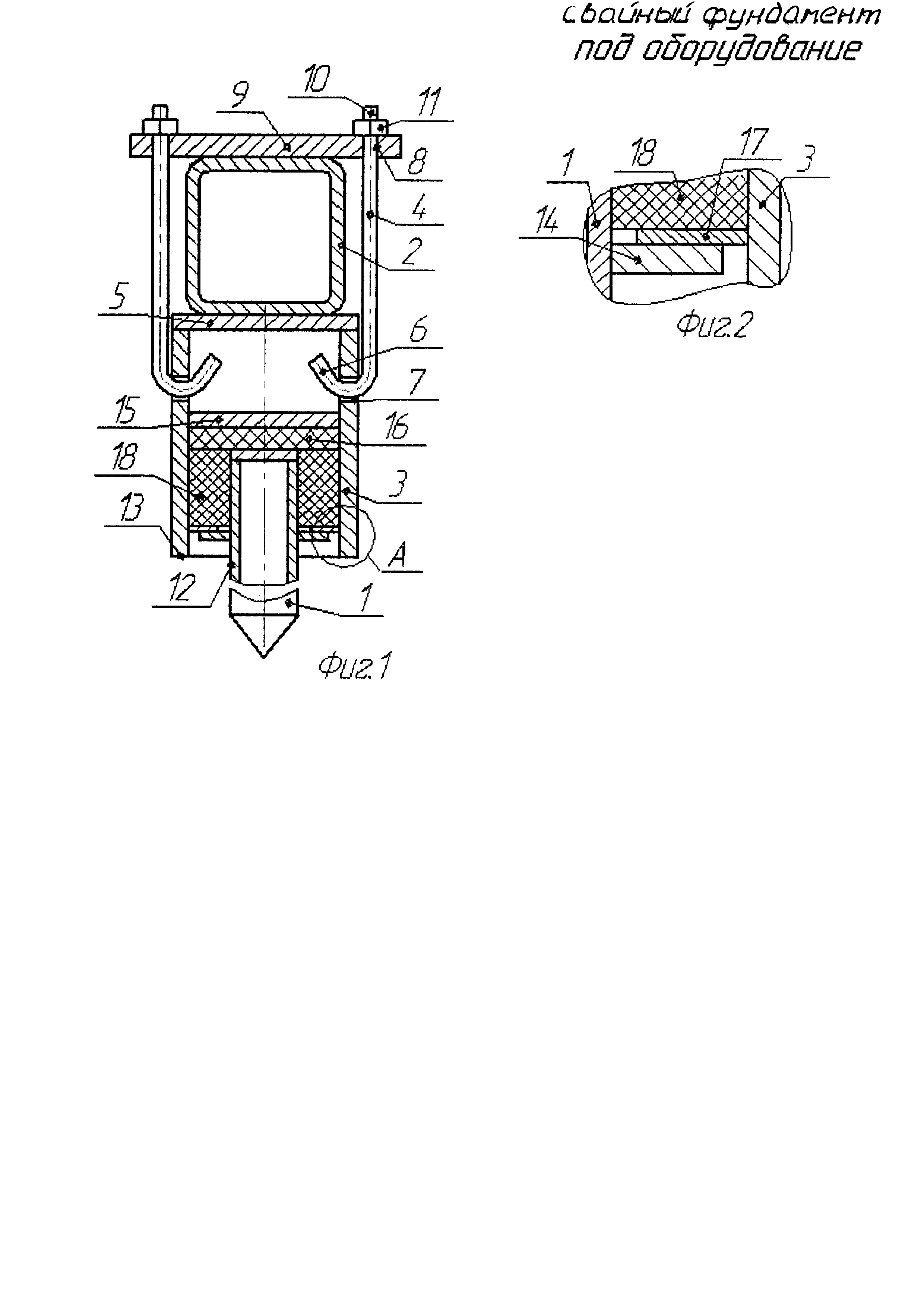
Сущность заявляемого изобретения поясняется фигурами. На фиг. 1 изображен свайной фундамент под оборудование в продольном разрезе; на фиг. 2 вид А фиг. 1. Свайной фундамент под оборудование включает сваи 1 и установленный на них раму из балок 2 и с колодцами 3 под анкерные болты 4. Колодцы 3 закрыты крышками 5 и размещены в узлах рам соосно сваям 1. Внутренний диаметр колодца 3 выбран больше наружного диаметра сваи 1. При этом верхний конец сваи 1 находится внутри колодца 3 и не доходит до его крышки 5. Количество анкерных болтов 4 для одного колодца выбрано равным двум и их нижние концы 6 согнуты под острым углом. На верхнем конце колодцев 3 выполнены две сквозные отверстия 7, расположенные по диаметру колодца. В каждое сквозное отверстие 7 колодца входит согнутый конец 6 анкерного болта. Балки 2 рамы расположены между двумя анкерными болтами 4 колодцев. При этом оба анкерных болта 4 одного колодца 3 проходят вверх через отверстия 8 пластины 9, установленной сверху на балку 2 рамы. На выступающую с пластины 9 резьбовую часть 10 анкерных болтов завернуты гайки 11, стягивающие колодец 3 к балке 2 рамы. Верхний торец каждой сваи 1 выполнен в виде стакана, а к наружной стенке 12 сваи над нижним торцом 13 колодца 3 приварено внутренней стенкой кольцо 14 в форме шайбы. Наружный диаметр шайбы меньше внутреннего диаметра колодца 3, чтобы динамические нагрузки от колодца 3 не передавались свае 1. К внутренней стенке колодца 3 под сквозными отверстиями 7 приварен горизонтально расположенный диск 15. На верхний торец сваи установлен резиновый диск 16, диаметр которого равен внутреннему диаметру колодца. На кольце 14 сваи лежит стальная шайба 17, наружный диаметр которой выбран равным внутреннему диаметру колодца 3, а внутренний диаметр выбран больше наружного диаметра 12 сваи 1, чтобы динамические нагрузки от колодца 3 не передавались свае 1. Между резиновым диском 16 и стальной шайбой 17 в зазор между внутренней стенкой колодца 3 и наружной стенкой 12 сваи 1 установлена резиновая втулка 18.

[7]

В предложенном свайном фундаменте снижаются динамические нагрузки, передаваемые от оборудования на сваи, так как резиновые диск и втулка гасят динамические нагрузки от установленного на раму оборудования - насосного агрегата. В результате этого значительно снижается осадка свай и тем самым повышается срок эксплуатации предложенного фундамента.

[8]

Источники информации

[9]

1. Патент RU 150462, МПК Е02Д 27/44, опубл. 20.02.2015 Бюл. №5.

[10]

2. Автор. свидет. СССР 881207, М.Кл. E02D 27/44, опублик. 15.11.81 Бюл. №42.

Как компенсировать расходы
на инновационную разработку
Похожие патенты