патент
№ RU 2630565
МПК B64D47/00

Устройство соединения разделяемых элементов летательного аппарата

Авторы:
Панкратов Владимир Иванович Митрофанов Игорь Викторович Михайлов Валентин Васильевич
Все (4)
Номер заявки
2015156160
Дата подачи заявки
28.12.2015
Опубликовано
11.09.2017
Страна
RU
Как управлять
интеллектуальной собственностью
Чертежи 
2
Реферат

Изобретение относится к области машиностроения, а именно к устройству соединения разделяемых элементов летательного аппарата. Устройство соединения разделяемых элементов летательного аппарата содержит стыковочный фитинг и отделяемый фитинг. Фитинги расположены по плоскости стыка, в сквозные отверстия которых установлен пироболт с крепежной гайкой и плоской шайбой. Устройство дополнительно снабжено изогнутой пластиной. Один конец пластины жестко закреплен на отделяемом фитинге посредством узла фиксации, а другой контактирует с крепежной гайкой и выполнен с отверстием, через которое пропущена резьбовая часть пироболта. Плоская шайба жестко связана с отделяемым фитингом. Пироболт выполнен в двух диаметрах d>dс уступом, размещенным между плоскостью стыка и плоской шайбой, с возможностью взаимодействия указанного уступа с плоской шайбой в процессе срабатывания. Достигается повышение эксплуатационных характеристик устройства соединения. 1 з.п. ф-лы, 2 ил.

Формула изобретения

1. Устройство соединения разделяемых элементов летательного аппарата, содержащее стыковочный фитинг и отделяемый фитинг, расположенные по плоскости стыка, в сквозные отверстия которых установлен пироболт с крепежной гайкой и плоской шайбой, отличающееся тем, что устройство дополнительно снабжено изогнутой пластиной, один конец которой жестко закреплен на отделяемом фитинге посредством узла фиксации, а другой контактирует с крепежной гайкой и выполнен с отверстием, через которое пропущена резьбовая часть пироболта, а плоская шайба жестко связана с отделяемым фитингом, при этом пироболт выполнен в двух диаметрах d>d1 с уступом, размещенным между плоскостью стыка и плоской шайбой, с возможностью взаимодействия указанного уступа с плоской шайбой в процессе срабатывания.

2. Устройство по п. 1, отличающееся тем, что узел фиксации плоской шайбы и изогнутой пластины выполнен в виде направляющего штыря, закрепленного на отделяемом фитинге параллельно оси пироболта и взаимодействующего с ответным отверстием, выполненным в стыковочном фитинге.

Описание

[1]

Изобретение относится к области машиностроения, а именно к системам разделения элементов летательных аппаратов.

[2]

В машиностроении известны системы разделения ступеней летательных аппаратов, содержащие стыковочный фитинг и отделяемый фитинг частей летательного аппарата, расположенные по плоскости стыка, в сквозные отверстия которых установлен пироболт с электродетонатором с крепежной гайкой и плоской шайбой (см., например, Основы конструирования ракет-носителей космических аппаратов. - М.: Машиностроение. 1991, с. 354. Принято за прототип.)

[3]

Недостатком указанной системы разделения является элемент неопределенности при разделении, способный снизить надежность системы, т.к. при срабатывании пироболта часть его вылетает и может повредить близлежащие элементы конструкции изделия, работоспособность которых еще необходима для функционирования летательного аппарата (кабели, приборы системы управления или телеметрии). Кроме этого при срабатывании пироболта возникает ударная нагрузка, которая может отрицательно влиять на систему управления изделием.

[4]

Задачей данного изобретения является создание устройства соединения разделяемых элементов летательного аппарата с достижением технического результата в виде повышения эксплуатационных характеристик устройства его частей за счет создания конструкции стыковочных элементов, которые должны защитить изделие от разрушения из-за выпадения части разрывного болта и погашения импульса при его срабатывании.

[5]

Эта задача решается таким образом, что в устройство соединения разделяемых элементов летательного аппарата, содержащее стыковочный фитинг и отделяемый фитинг частей летательного аппарата, расположенные по плоскости стыка, в сквозные отверстия которых установлен пироболт с крепежной гайкой и плоской шайбой, в соответствии с изобретением дополнительно снабжено изогнутой пластиной, один конец которой жестко закреплен на отделяемом фитинге посредством узла фиксации, а другой контактирует с крепежной гайкой и выполнен с отверстием, через которое пропущена резьбовая часть пироболта, а плоская шайба жестко связана с отделяемым фитингом, при этом пироболт выполнен в двух диаметрах d>d1 с уступом, размещенным между плоскостью стыка и плоской шайбой, с возможностью взаимодействия указанного уступа с плоской шайбой в процессе срабатывания, а узел фиксации плоской шайбы и изогнутой пластины выполнен в виде направляющего штыря, закрепленного на отделяемом фитинге параллельно оси пироболта и взаимодействующего с ответным отверстием, выполненным в стыковочном фитинге.

[6]

На фиг. 1 показана схема элементов стыка.

[7]

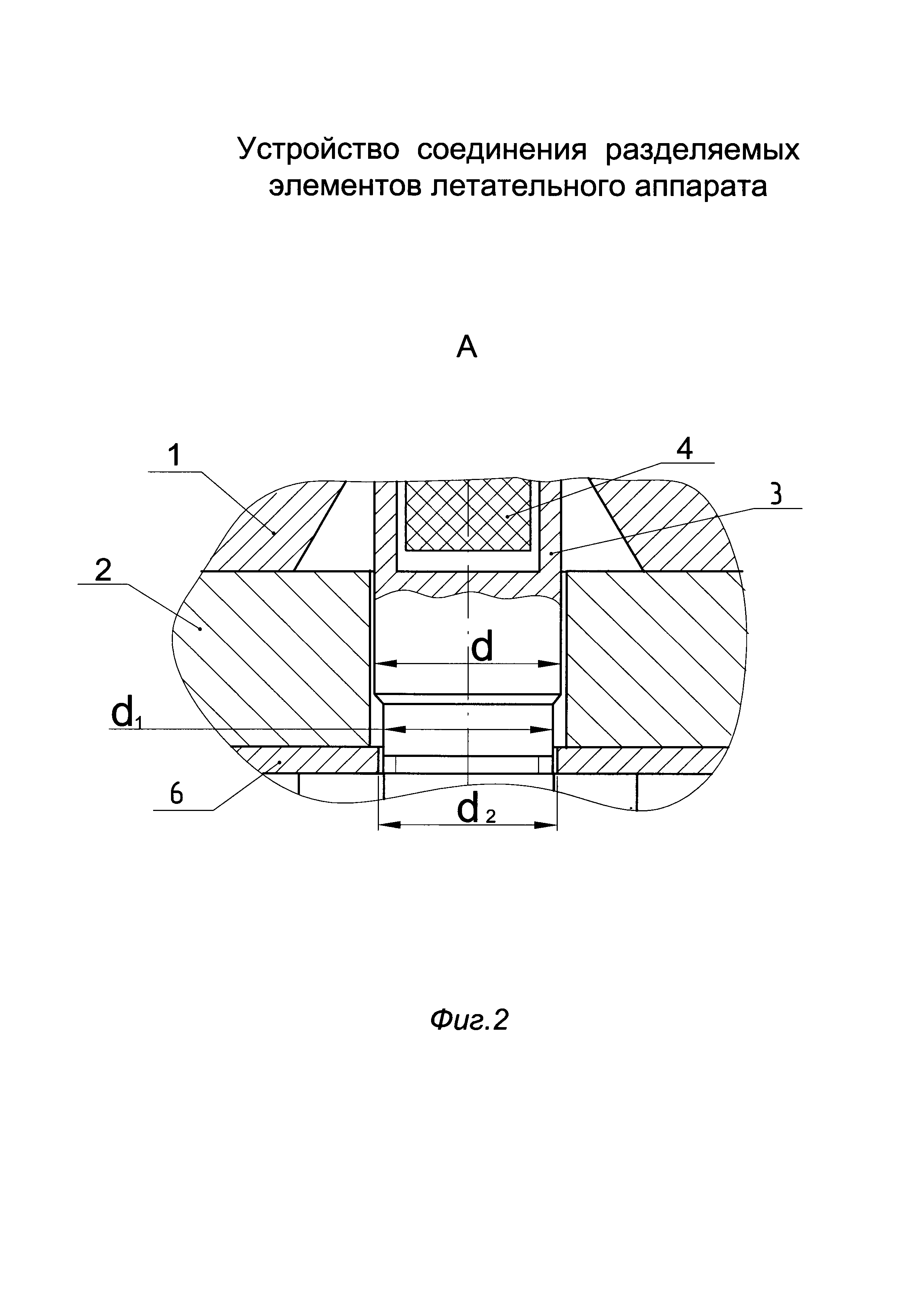
На фиг. 2 показана укрупненная схема отрывающейся части болта.

[8]

Устройство соединения разделяемых элементов летательного аппарата содержит (см. фиг. 1) расположенные по плоскости стыка стыковочный фитинг 1 и отделяемый фитинг 2, пироболт 3, электродетонатор 4, направляющий штырь 5, плоскую шайбу 6 и изогнутую пластину 7, закрепленные на пироболте гайками 8, 9, а на отделяемом фитинге 2 вместе с направляющим штырем 5 гайкой 10.

[9]

В устройстве соединения разделяемых элементов летательного аппарата (см. фиг. 2) отрывающая часть пироболта выполнена в двух диаметрах d>d1 с уступом, размещенным между плоскостью стыка и плоской шайбой 6, а отверстие под пироболт 3 на плоской шайбе выполнено диаметром d2<d болта, что дает возможность взаимодействия указанного уступа с плоской шайбой в процессе срабатывания пироболта.

[10]

Устройство работает следующим образом. При разделении элементов летательного аппарата подается соответствующая команда на электродетонатор. Электродетонатор 4 срабатывает и пироболт 3 разрушается в плоскости разделения. Отрывающаяся часть пироболта 3 начинает перемещаться в отверстии d2, деформируя изогнутую пластину 7, закрепленную на болте гайками 8 и 9, при этом гайка 8 вместе с изогнутой пластиной 7 отходит от плоской шайбы 6, уступ, выполненный на пироболте 3, доходит до плоской шайбы 6, закрепленной на отделяемом фитинге посредством узла фиксации, упирается в плоскую шайбу 6 и начинает ее деформировать. Узел фиксации плоской шайбы и изогнутой пластины выполнен в виде направляющего штыря 5, закрепленного на отделяемом фитинге параллельно оси пироболта. Направляющий штырь 5 обеспечивает крепление шайбы и пластины и одновременно обеспечивает начальное движение отделяемого фитинга 2 параллельно относительно плоскости разделения. Плоская шайба и изогнутая пластина, жестко закрепленные гайкой 10 на штыре 5, последовательно деформируясь, поглощают энергию импульса пироболта, уменьшая возмущения на систему управления изделия и удерживают отрывающуюся часть болта.

[11]

Предлагаемое изобретение как раз и направлено на создание конструкции стыковочных элементов, которые должны защитить изделие от разрушения из-за выпадения части пироболта и погашение импульса при его срабатывании.

[12]

Кроме этого, такая конструкция имеет небольшой вес, проста в изготовлении и имеет небольшую стоимость.

Как компенсировать расходы
на инновационную разработку
Похожие патенты