патент
№ RU 2589531
МПК B60C11/12

ПРОТЕКТОР ПНЕВМАТИЧЕСКОЙ ШИНЫ

Авторы:
Жогин Валентин Андреевич
Номер заявки
2014148108/11
Дата подачи заявки
28.11.2014
Опубликовано
10.07.2016
Страна
RU
Как управлять
интеллектуальной собственностью
Чертежи 
2
Реферат

Изобретение относится к области машиностроения, в частности к протектору пневматической шины. Протектор пневматической шины содержит кольцевые ребра, состоящие из шашечных элементов, в которых выполнены щелевидные прорези. По глубине щелевидной прорези каждая поверхность состоит из двух участков. Первый выполнен волнообразным, а второй выполнен плоским. На плоских участках противолежащих поверхностей щелевидной прорези выполнено по одному ряду боковых выступов и ответных выемок, расположенных с зазором между собой. Достигается улучшение отвода влаги из пятна контакта. 8 з.п. ф-лы, 8 ил.

Формула изобретения

1. Протектор пневматической шины, содержащий кольцевые ребра, состоящие из шашечных элементов, в которых выполнены расположенные под углом к направлению вращения шины щелевидные прорези извилистой формы, образованные расположенными с зазором поверхностями, отличающийся тем, что по глубине щелевидной прорези каждая поверхность состоит из двух участков, первый из которых выполнен волнообразным и соответствует форме щелевидной прорези на поверхности шашечных элементов, а второй выполнен плоским и расположен на глубине менее половины общей глубины щелевидной прорези, при этом на плоских участках противолежащих поверхностей щелевидной прорези выполнено по меньшей мере по одному ряду боковых выступов и ответных выемок, расположенных с зазором между собой.

2. Протектор по п. 1, отличающийся тем, что боковые выступы и ответные выемки, расположенные в одном ряду на плоских противолежащих участках щелевидной прорези, ориентированы в разные стороны.

3. Протектор по п. 2, отличающийся тем, что боковые выступы и ответные выемки, расположенные в одном ряду на плоских противолежащих участках щелевидной прорези, ориентированы в сторону, противоположную вершинам примыкающих волнообразных участков.

4. Протектор по п. 1, отличающийся тем, что в каждом ряду боковые выступы и ответные выемки выполнены одинаковыми по форме и различными по размеру.

5. Протектор по п. 4, отличающийся тем, что боковые выступы и ответные выемки имеют форму усеченной пирамиды.

6. Протектор по п. 5, отличающийся тем, что в основании усеченная пирамида имеет форму четырех- или шестиугольника.

7. Протектор по п. 1, отличающийся тем, что в каждом ряду боковые выступы и ответные выемки расположены группами, отделенными одна от другой перемычками, выполненными в нижней части щелевидной прорези.

8. Протектор по п. 1, отличающийся тем, что щелевидная прорезь извилистой формы имеет синусоидальную форму и выполнена с переменной амплитудой.

9. Протектор по п. 1, отличающийся тем, что ось симметрии щелевидной прорези извилистой формы представляет собой изогнутую под тупым углом линию.

Описание

[1]

Настоящее изобретение относится к конструкции протектора пневматических шин, в частности к конструкции щелевидных прорезей (ламелей), расположенных на шашечных элементах или ребрах протектора. Предлагаемая конструкция щелевидных прорезей улучшает управляемость шин.

[2]

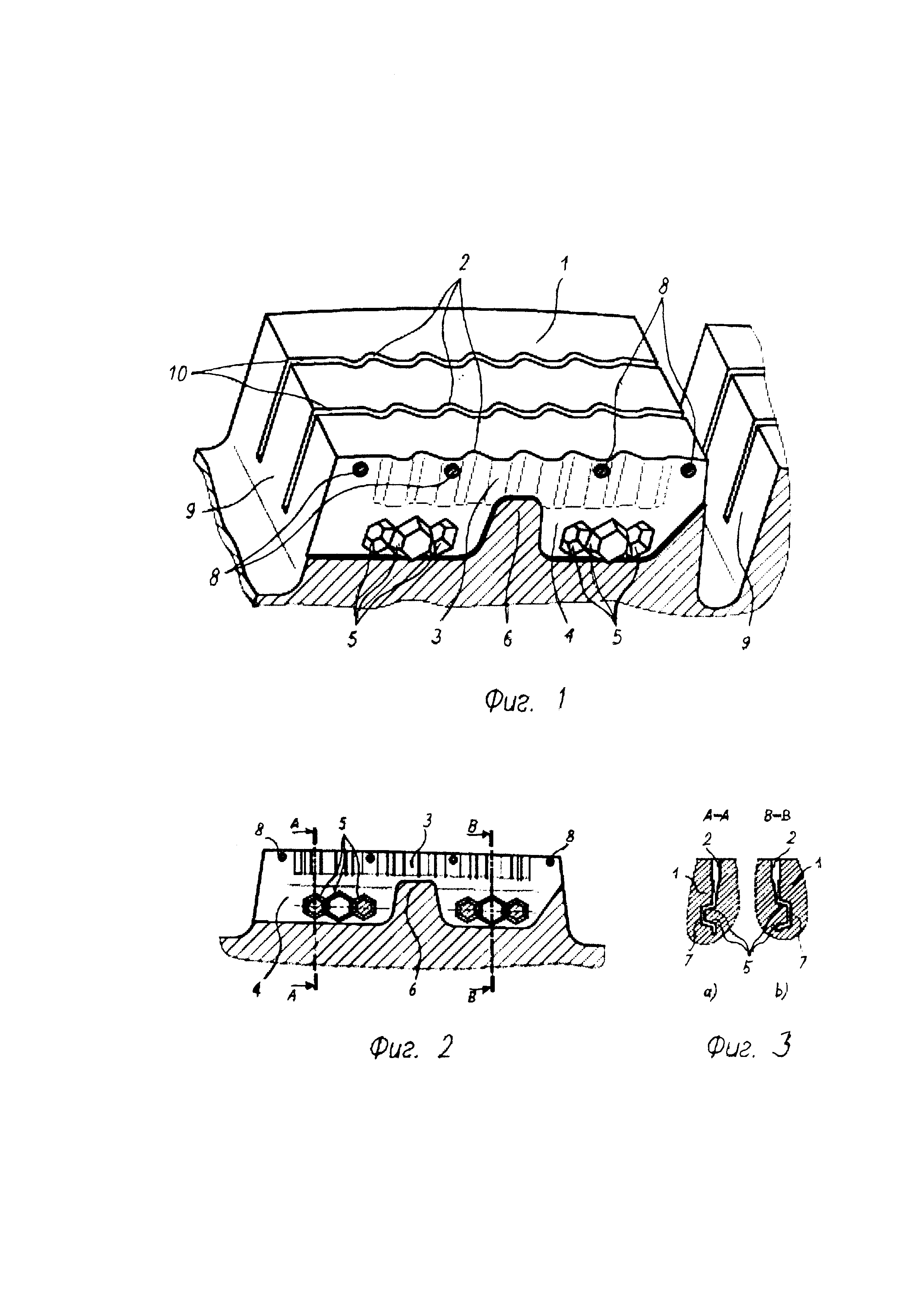
Для обеспечения высоких показателей торможения и управляемости в настоящее время в протекторах пневматических шин широко применяется множество щелевидных прорезей (ламелей) различной конфигурации и разнообразного конструктивного выполнения. Наиболее распространенной формой ламелей является извилистая, или зигзагообразная, форма.

[3]

Пример такой конструкции щелевидных прорезей описан в заявке US 2013/0153106 А1 от 20.06.2013 г. В соответствии с данной заявкой щелевидная прорезь имеет зигзагообразную форму, по глубине повторяющую форму прорези на поверхности протектора.

[4]

Другой пример аналогичной конструкции щелевидных прорезей описан в патенте RU 2381109 от 20.02.2007.

[5]

В соответствии с данным патентом на кольцевых ребрах протектора, состоящих из шашечных элементов, под некоторым углом к направлению движения шины расположены узкие извилистые щелевидные прорези - ламели, сформированные по глубине ламелей двумя параллельными плоскостями, повторяющими форму ламели на поверхности протектора.

[6]

Наличие большого количества ламелей в протекторе улучшает отвод воды и грязи из зоны контакта протектора с дорожным покрытием, повышает тормозные свойства за счет увеличения «кромочного эффекта». Применение извилистой формы увеличивает протяженность ламелей, направлено на усиление «кромочного эффекта» и повышение тормозных свойств.

[7]

Однако наличие большого количества ламелей на шашечных элементах кольцевых ребер протектора приводит к снижению боковой жесткости шашечных элементов, что в свою очередь может приводить к эффекту проскальзывания при приложении к шине боковых усилий, выражающееся в ухудшении тормозных свойств и управляемости, а также увеличивает износ рисунка протектора.

[8]

Для компенсации указанных выше недостатков в последнее время имеется практика применения трехмерных, так называемых 3-D ламелей. Трехмерные ламели представляют собой щелевидные прорези, форма которых по глубине прорези отлична от формы на поверхности протектора.

[9]

Пример конструкции трехмерной ламели описан в патент RU 2388620 от 10.05.2010 г. Согласно данному патенту протектор состоит из блоков, ориентированных в окружном направлении, на которых в радиальном направлении расположены профилированные трехмерные щелевидные прорези (ламели) извилистой формы. Причем профилированная щелевидная прорезь ограничена двумя взаимно согласующимися профилированными поверхностями - сторонами щелевидной прорези, образованными пластинкой при вулканизации. Каждая сторона щелевидной прорези имеет форму дважды ломаной поверхности, которая имеет форму, напоминающую букву Z, и на данной радиальной глубине снабжена, по меньшей мере, одним фасонным элементом, прерывающим указанную ломаную поверхность на определенном интервале. Боковые выступы при приложении продольных и боковых сил обеспечивают блокировку относительно друг друга частей выступа, разделенных щелевидной прорезью, повышая жесткость выступа в боковом направлении и улучшая показатели управляемости шины.

[10]

Недостатком данной конструкции является сложная геометрическая форма поверхностей щелевидных прорезей, которая в некоторых случаях может привести к перекрытию внутреннего объема ламели, тем самым ухудшая отвод влаги из пятна контакта.

[11]

Наиболее близким предлагаемому техническому решению является конструкция ламели согласно патенту RU 2388619 от 10.05.2010 г. В соответствии с данным патентом на шашечных элементах радиальных ребер протектора в радиальном направлении расположены трехмерные щелевидные прорези извилистой формы, имеющие по глубине прорези по меньшей мере по одному боковому фасонному выступу в форме шестиугольника или четырехугольника. Предлагаемая конструкция благодаря фасонной форме боковых выступов позволяет повысить жесткость шашечных элементов, разделенных ламелями. Однако сложная конструкция щелевидных прорезей, в которых сочетается извилистая форма поверхностей с наличием фасонных выступов, приводит к перекрытию (замыканию) поперечного пространства ламели и ухудшает отвод влаги из пятна контакта, тем самым снижая управляемость шины на влажных покрытиях.

[12]

Кроме того, сложная внутренняя конфигурация ламели формирует многочисленные участки - концентраторы повышенного напряжения в материале протектора, предъявляя повышенные требования к резиновой смеси протектора во избежание надрывов, сколов и недопрессовок в шашечных элементах протектора шины в процессе вулканизации при выемке из пресс-формы, а также в процессе дальнейшей эксплуатации шины.

[13]

В основу изобретения положена задача разработать протектор пневматической шины с таким конструктивным выполнением щелевидных прорезей на шашечных элементах ребер, которое обеспечивает надежный отвод влаги из пятна контакта и отличается простотой и технологичностью изготовления, тем самым обеспечивая более качественный результат.

[14]

Поставленная задача решается тем, что в протекторе пневматической шины, содержащем кольцевые ребра, состоящие из шашечных элементов, в которых выполнены расположенные под углом к направлению вращения шины щелевидные прорези извилистой формы, образованные расположенными с зазором поверхностями, согласно изобретению по глубине щелевидной прорези каждая поверхность состоит из двух участков, первый из которых выполнен волнообразным, а второй участок выполнен плоским и расположен на глубине менее половины общей глубины щелевидной прорези, при этом на плоских участках противолежащих поверхностей щелевидной прорези выполнено по меньшей мере по одному ряду боковых выступов и ответных выемок, расположенных с зазором между собой.

[15]

При этом для обеспечения равномерности передачи боковых усилий и предотвращения смыкания щелевидных прорезей в поперечном сечении боковые выступы и ответные выемки, расположенные в одном ряду на плоских противолежащих участках щелевидной прорези, ориентированы в разные стороны, например в сторону, противоположную вершинам примыкающих волнообразных участков.

[16]

Предпочтительно, чтобы боковые выступы и ответные выемки имели форму усеченной пирамиды и были выполнены одинаковыми по форме и различными по размеру в зависимости от рисунка протектора шины. При этом основание пирамиды технологично выполнять в форме четырех- или шестиугольника.

[17]

Целесообразно, чтобы в каждом ряду боковые выступы и ответные выемки были выполнены разного размера и были расположены группами, отделенными одна от другой перемычками, выполненными в нижней части щелевидной прорези. Наличие перемычек дополнительно обеспечивает жесткость при приложении боковых сил к шашечным элементам протектора.

[18]

В начале эксплуатации шины, когда рисунок протектора еще не изношен, основную функцию выполняет волнообразная часть ламели, имеющая большую протяженность в сравнении с плоской частью ламели. По мере износа и, соответственно, уменьшения глубины волнообразной части ламели, вступает в работу плоская нижняя часть с выступами и впадинами.

[19]

Предлагаемая конструкция благодаря наличию плоских поверхностей в нижней части щелевидной прорези позволяет снизить вероятность возникновения разрывов, сколов и недопрессовок в массиве протектора шины при извлечении из него элементов пресс-формы во время вулканизации.

[20]

Боковые выступы и выемки в нижней части щелевидной прорези обеспечивает дополнительные объемы для отвода и поглощения влаги с поверхности контакта шины с дорогой, а различные размеры выступов предотвращают смыкание щелевидной прорези при приложении к протектору шины боковых нагрузок, например, при повороте на высокой скорости.

[21]

Во избежание образования на кромках шашечных элементов участков с низкой жесткостью к изгибу в случае близкого расположения к ним щелевидных прорезей или в местах выхода щелевидных прорезей в кольцевые канавки щелевидные прорези выполнены на концах с прямолинейными участками.

[22]

С целью снижения шумообразования щелевидная прорезь извилистой формы имеет синусоидальную форму и выполнена с переменным шагом или с переменной амплитудой.

[23]

Согласно другому варианту изобретения направление оси симметрии щелевидной прорези представляет собой изогнутую под тупым углом линию, причем изгиб имеет место как на поверхности, так по глубине прорези.

[24]

Технический результат настоящего изобретения заключается в повышении технологичности и качества изготовления шин, снижения их дефектности при вулканизации при одновременном повышении управляемости и сцепления шин с мокрой дорогой в течение всего срока эксплуатации.

[25]

Дополнительные характеристики и преимущества изобретения будут представлены в следующем описании исполнения, приведенного как показательный и не ограничивающий пример, со ссылкой на прилагаемые чертежи, на которых:

[26]

Фиг. 1 - общий вид фрагмента протектора с щелевидными прорезями в аксонометрии в разрезе согласно изобретению;

[27]

Фиг. 2 - то же, что на фиг. 1, вид спереди;

[28]

Фиг. 3 (a, b) - разрез по линии А-А и В-В на фиг. 2;

[29]

Фиг. 4 - вид на щелевидную прорезь сверху;

[30]

Фиг. 5 - вид на щелевидную прорезь снизу;

[31]

Фиг. 6 - то же, что на фиг. 4, с изогнутой осью симметрии извилистой щелевидной прорези;

[32]

Фиг. 7 - то же, что на фиг. 4, с переменным шагом щелевидной прорези;

[33]

Фиг. 8 - то же, что на фиг. 4, с переменной амплитудой щелевидной прорези.

[34]

На фиг. 1 представлен общий вид фрагмента протектора, имеющего кольцевые ребра, состоящие из шашечных элементов 1, в которых выполнены расположенные под углом к направлению вращения шины извилистые щелевидные прорези 2, образованные расположенными с зазором противолежащими поверхностями. По глубине щелевидной прорези 2 каждая из образующих прорезь 2 поверхностей состоит из двух участков 3, 4. Первый участок 3 выполнен волнообразным и соответствует форме щелевидной прорези 2 на поверхности шашечных элементов 1, а второй участок 4 выполнен плоским и расположен на глубине не более половины общей глубины щелевидной прорези 2. При этом на плоских участках 4 противолежащих поверхностей щелевидной прорези 2 выполнено по меньшей мере по одному ряду боковых выступов 5 и ответных выемок, расположенных с зазором между собой. Выемки на чертеже не показаны, т.к. находятся на противоположной поверхности прорези 2.

[35]

В описываемом варианте изобретения плоский участок 4 расположен на глубине, составляющей примерно 2/3 глубины щелевидной прорези 2. Боковые выступы 5 и ответные выемки, расположенные в одном ряду на плоских противолежащих участках 4 щелевидной прорези, ориентированы в разные стороны, что обеспечивает предотвращение смыкания ламелей 2 при изгибе шашечных элементов 2 протектора при приложении к ним боковых и окружных сил. Кроме того, улучшается отвод жидкости из зоны пятна контакта и повышаются показатели сцепления и управляемости на мокрой дороге.

[36]

В частном случае боковые выступы 5 и ответные выемки, расположенные в одном ряду на плоских противолежащих участках 4 щелевидной прорези 2, ориентированы в сторону, противоположную вершинам примыкающих волнообразных участков 3, что иллюстрируется на фиг. 4-8.

[37]

В описываемом варианте, представленном на фиг. 1, 2, выступы 5 имеют форму усеченной пирамиды с основанием в виде шестиугольника; в других вариантах возможно выполнение основания в виде четырехугольника. Выступы 5 имеют разные размеры и сгруппированы в отдельные группы по три выступа 5 в каждой группе.

[38]

Для повышения боковой жесткости шашечных элементов 1 между группами боковых выступов 5 расположена перемычка 6, по высоте составляющая не менее 1/3 общей глубины прорези 2. На фиг. 3 (а, b) представлены разрезы по линии А-А и В-В на фиг. 2, иллюстрирующие заявленное выполнение на плоских участках 4 противолежащих поверхностей щелевидной прорези 2 бокового выступа 5 и ответной выемки 7.

[39]

Для предотвращения смыкания щелевидной прорези 2 в верхней части, обусловленной меньшей жесткостью шашечных элементов 1 на изгиб вблизи поверхности, предпочтительно на расстоянии 0,5-1,0 мм от поверхности выполнены радиальные перемычки 8, соединяющие противоположные поверхности прорези 2. Такое расположение перемычек 8 уменьшает возможность смыкания прорезей 2, а также обеспечивает технологический отвод воздуха из данной зоны при вулканизации, предотвращая визуальный дефект «недопрессовка» на поверхности рисунка протектора.

[40]

В соответствии с еще одним вариантом изобретения в зонах выхода щелевидной прорези 2 в канавки 9 (фиг. 1) протектора или вблизи от края шашечного элемента 1 извилистая щелевидная прорезь 2, выполненная в виде синусоиды, по меньшей мере на одном конце имеет прямолинейный участок 10. Такое решение предотвращает образование зон с низкой жесткостью, провоцирующих неравномерный износ и сколы рисунка протектора в этих местах.

[41]

В соответствии с вариантами осуществления изобретения, представленными на фиг. 6, 7 прорезь (2) имеет форму синусоиды и выполнена с переменным шагом 11, 11а или с переменной амплитудой 12, 12а. Такое техническое решение обеспечивает снижение шумообразования от рисунка протектора шины.

[42]

Согласно еще одному варианту осуществления изобретения, изображенному на фиг. 8 в плане ось 13 симметрии извилистой щелевидной прорези 2 представляет собой изогнутую под тупым углом линию, образованную двумя участками 14, 15 синусоидальной ламели 2. Предлагаемый вариант технического решения позволяет более эффективно расположить щелевидные прорези на отдельных шашках и ребрах рисунка протектора, а также обеспечить эффективную работу щелевидной прорези независимо от направления приложения нагрузки к рисунку протектора.

[43]

Наиболее распространенной в настоящее время технологией получения в рисунке протектора щелевидных прорезей (ламелей) предлагаемой конструкции является формирование их при вулканизации при помощи фигурных металлических пластин, имеющих форму щелевидной прорези и жестко закрепленных в вулканизационной пресс-форме.

[44]

При вулканизации шины в пресс-форме на первом этапе вследствие смыкания пресс-формы и/или увеличения диаметра резиновой заготовки шины под действием внутреннего давления фигурные пластины внедряются в массив сырой резины протектора. В конце процесса при открытии вулканизационной пресс-формы фигурные пластины извлекаются из резины протектора, оставляя в рисунке протектора сформированные щелевидные прорези необходимой формы. Эластичность горячей вулканизованной резины обеспечивает выполнение данного процесса с минимальными дефектами.

Как компенсировать расходы
на инновационную разработку
Похожие патенты