патент
№ RU 2657727
МПК F41C7/02

Стрелковое оружие

Авторы:
Чаузов Константин Николаевич
Номер заявки
2017122222
Дата подачи заявки
23.06.2017
Опубликовано
14.06.2018
Страна
RU
Как управлять
интеллектуальной собственностью
Чертежи 
3
Реферат

Изобретение относится к области вооружения, а именно к стрелковому оружию. Стрелковое оружие содержит ствольную коробку со стволом, механизм перезаряжания, включающий затворную раму с затвором и подвижное цевье, ударно-спусковой механизм, включающий вращающийся на оси курок, подпружиненный блокирующий рычаг. Блокирующий рычаг выполнен трехплечим, верхнее плечо рычага взаимодействует с затворной рамой, центральное плечо рычага выполнено с возможностью взаимодействия с курком, нижнее плечо рычага выступает за пределы ствольной коробки и выполнено с возможностью воздействия на него для поворота рычага. Достигается повышение скорострельности стрелкового оружия с перезарядкой подвижного цевья. 2 з.п. ф-лы, 6 ил.

Формула изобретения


1. Стрелковое оружие, содержащее ствольную коробку со стволом, механизм перезаряжания, включающий затворную раму с затвором и подвижное цевье, ударно-спусковой механизм, включающий вращающийся на оси курок, подпружиненный блокирующий рычаг, отличающееся тем, что блокирующий рычаг выполнен трехплечим, верхнее плечо рычага взаимодействует с затворной рамой, центральное плечо рычага выполнено с возможностью взаимодействия с курком, нижнее плечо рычага выступает за пределы ствольной коробки и выполнено с возможностью воздействия на него для поворота рычага.


2. Стрелковое оружие по п.1, отличающееся тем, что курок и блокирующий рычаг установлены на одной оси.


3. Стрелковое оружие по п.1, отличающееся тем, что на курке выполнен выступ, с которым взаимодействует центральное плечо рычага.

Описание

[1]

Изобретение относится к стрелковому оружию, а именно к охотничьему оружию, перезарядка которого осуществляется подвижным цевьем.

[2]

Известно ружье охотничье многозарядное МР-133 (http://www.baikalinc.ru/res_ru/0_value_7735_192.pdf), содержащее ствольную коробку со стволом, затворную раму с затвором, ударно-спусковой механизм, включающий вращающийся на оси курок, блокирующий рычаг, предохраняющий оружие от выстрела при незапертом затворе.

[3]

Недостатком указанного образца является сложная конструкция механизма блокировки, состоящего из нескольких деталей.

[4]

Известно оружие стрелковое (см. патент РФ № 2103633 от 27.01.1998, F41C 7/02), выбранное в качестве ближайшего аналога, содержащее ствольную коробку со стволом, механизм перезаряжания, включающий затворную раму с затвором и подвижное цевье, ударно-спусковой механизм, включающий вращающийся на оси курок, подпружиненный блокирующий рычаг. Блокирующий рычаг предохраняет оружие от выстрела при незапертом или не полностью запертом затворе либо самопроизвольной перезарядке при падении оружия на приклад. Блокирующий рычаг имеет нижний отгиб, выступающий за пределы ствольной коробки, для выключения блокировки при перезарядке.

[5]

Недостатком указанного образца является низкая скорострельность оружия с перезарядкой подвижным цевьем из-за необходимости после каждого выстрела нажимать блокирующий рычаг, производя деблокирование затвора вручную, на что расходуется дополнительное время. Этот недостаток особенно актуален при стрельбе двумя-тремя выстрелами навскидку по быстролетящим целям или на соревнованиях по практической стрельбе.

[6]

Технической задачей изобретения является повышение скорострельности стрелкового оружия с перезарядкой подвижным цевьем.

[7]

Технический результат заключается в исключении принудительного деблокирования механизма перезарядки после выстрела вручную.

[8]

Поставленная задача достигается тем, что стрелковое оружие содержит ствольную коробку со стволом, механизм перезаряжания, включающий затворную раму с затвором и подвижное цевье, ударно-спусковой механизм, включающий вращающийся на оси курок, подпружиненный блокирующий рычаг. Блокирующий рычаг выполнен трехплечим, верхнее плечо рычага взаимодействует с затворной рамой, центральное плечо рычага выполнено с возможностью взаимодействия с курком, нижнее плечо рычага выступает за пределы ствольной коробки и выполнено с возможностью воздействия на него для поворота рычага. Курок и блокирующий рычаг установлены на одной оси. На курке выполнен выступ, с которым взаимодействует центральное плечо рычага.

[9]

Сущность предлагаемого изобретения поясняется чертежами, где изображено:

[10]

на фиг. 1 - общий вид стрелкового оружия;

[11]

на фиг. 2 - затворная рама с затвором;

[12]

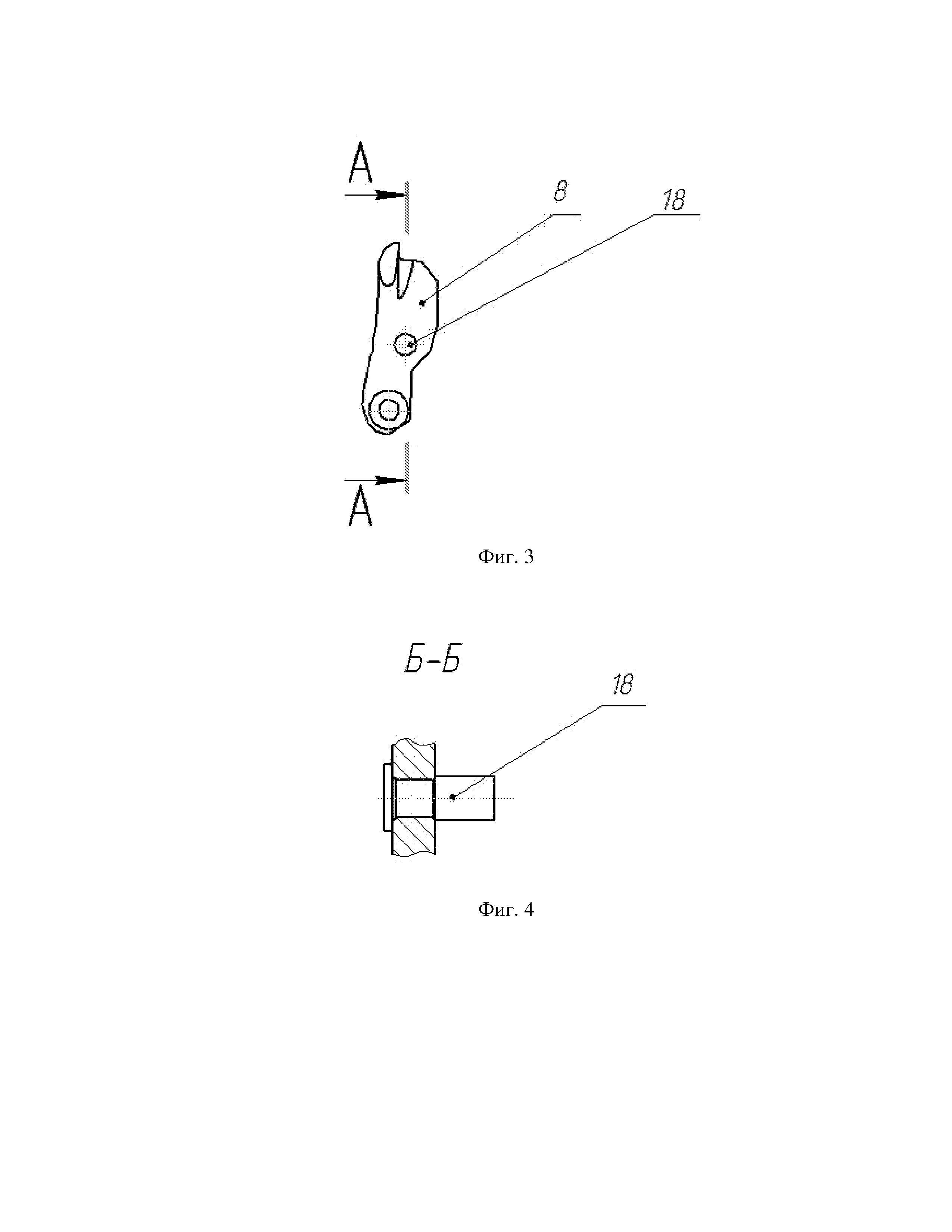
на фиг. 3 - курок с выступом;

[13]

на фиг. 4 - разрез А-А на фиг. 3;

[14]

на фиг. 5 - ударно-спусковой механизм (курок спущен);

[15]

на фиг. 6 - ударно-спусковой механизм (курок взведен).

[16]

Стрелковое оружие содержит ствольную коробку 1 со стволом 2, механизм перезаряжания, включающий затворную раму 3 с затвором 4 и подвижное цевье 5, магазин 6, ударно-спусковой механизм, включающий спусковой крючок 7, курок 8, подпружиненный боевой пружиной 9, и блокирующий рычаг 10, подпружиненный пружиной 11, установленные на оси 12 курка, ударник 13, выбрасыватель14. Блокирующий рычаг 10 выполнен трехплечим, верхнее плечо 15 блокирующего рычага 10 взаимодействует с выступом 16, выполненным снизу затворной рамы 3, центральное плечо 17 блокирующего рычага 10 взаимодействует с выступом 18 на курке 8, нижнее плечо 19 блокирующего рычага 10 выступает за пределы ствольной коробки 1.

[17]

Перед заряжанием стрелкового оружия цевье 5 находится в переднем положении, курок 8 спущен, его выступ 18 воздействует на центральное плечо 17 блокирующего рычага 10, при этом его верхнее плечо 15 опущено вниз и не мешает выступу 16 затворной рамы 3 перемещаться назад.

[18]

При заряжании необходимо присоединить магазин 6, снять оружие с предохранителя и отвести назад до упора цевье 5. Затворная рама 3 взводит курок 8, который становится на боевой взвод спускового крючка 7. При перемещении цевья 5 вперед до упора затвор 4 досылает очередной патрон в патронник и запирает канал ствола 2. Затворная рама 3 своим выступом 16 поворачивает блокирующий рычаг 10 и проходит над ним. После прохода затворной рамы 3 блокирующий рычаг 10 под действием боевой пружины 9 возвращается обратно и перекрывает выступ 16 затворной рамы 3, препятствуя ее движению назад, и таким образом предотвращает выстрел при незапертом затворе 4.

[19]

Для производства выстрела необходимо нажать на спусковой крючок 7, при этом курок 8 освобождается от боевого взвода спускового крючка 7, под действием боевой пружины 9 поворачивается вокруг оси 12 курка и наносит удар по ударнику 13 затвора 4. Происходит выстрел. В конце хода курок 8 своим выступом 18 поворачивает блокирующий рычаг 10, преодолевая сопротивление пружины 11, при этом верхнее плечо 15 блокирующего рычага 10 опускается, давая возможность прохождения над ним выступу 16 затворной рамы 3. Таким образом исключается необходимость поворота блокирующего рычага 10 вручную.

[20]

Для разряжания оружия необходимо отсоединить магазин 6, нажать пальцем руки на нижнее плечо 19 блокирующего рычага 10, при этом блокирующий рычаг 10 повернется и даст возможность прохождения назад затворной раме 3. Цевье 5 отводится назад до упора, при этом выбрасыватель 14 затвора 4 извлекает из патронника стреляную гильзу или досланный в патронник патрон, которые отражаются за пределы ствольной коробки 1. Курок 8 спускается с боевого взвода, оружие ставится на предохранитель.

[21]

Предлагаемая конструкция стрелкового оружия позволяет повысить скорострельность стрелкового оружия с перезарядкой подвижным цевьем за счет исключения принудительного деблокирования механизма перезаряжания после выстрела вручную, таким образом сокращается время стрельбы, что важно при проведении скоростной стрельбы на соревнованиях по практической стрельбе, а также при стрельбе навскидку по быстролетящим целям.

Как компенсировать расходы
на инновационную разработку
Похожие патенты