патент
№ RU 2435988
МПК F04D29/06
Номер заявки
2010125562/06
Дата подачи заявки
23.06.2010
Опубликовано
10.12.2011
Страна
RU
Как управлять
интеллектуальной собственностью
Чертежи 
3
Реферат

Изобретение относится к области насосостроения и предназначено для перекачки жидкостей различной вязкости и содержащих твердые включения, например нефти. Шнекоцентробежный насос состоит из корпуса, ротора с рабочим колесом двустороннего входа с установленными перед входом в рабочее колесо шнеками постоянного или переменного шага лопаток. Насос имеет подшипники скольжения и трубки, подводящие из полости нагнетания жидкость к подшипникам. Трубки забора жидкости к подшипникам соединены с установленным в полости нагнетания цилиндром, плавно переходящим в конус, в котором выполнены отверстия. Цилиндр с конусом установлен так, что обтекается сначала цилиндрическая часть, а затем конус, при этом угол конуса не превышает 15°, а суммарная площадь отверстий превышает поперечное сечение трубки не менее чем в 2 раза. Изобретение направлено на повышение долговечности подшипников за счет более качественной очистки жидкости и упрощения конструкции насоса. 3 ил.

Формула изобретения

Шнекоцентробежный насос, состоящий из корпуса, ротора с рабочим колесом двустороннего входа с установленными перед входом в рабочее колесо шнеками постоянного или переменного шага лопаток, с подшипниками скольжения и трубками, подводящими из полости нагнетания жидкость к подшипникам, отличающийся тем, что трубки забора жидкости к подшипникам соединены с установленным в полости нагнетания цилиндром, плавно переходящим в конус, в котором выполнены отверстия, цилиндр с конусом установлен так, что обтекается сначала цилиндрическая часть, а затем конус, при этом угол конуса не превышает 15°, а суммарная площадь отверстий превышает поперечное сечение трубки не менее чем в 2 раза.

Описание

[1]

Изобретение относится к области насосостроения и предназначено для перекачки жидкостей различной вязкости и содержащих твердые включения, например нефти.

[2]

Известны насосы, например шнекоцентробежный насос по патенту РФ №2331797, МПК F04D 9/04, 10.12.2007, в котором жидкость к гидростатическим подшипникам подводится через гидроциклон, в котором происходит очистка жидкости от твердых включений, а грязная жидкость сбрасывается во всасывающий патрубок насоса. Недостатками этого решения являются сложность конструкции, снижение объемного кпд насоса, так как в гидроциклоне только 10-15% жидкости очищается, остальная сбрасывается с нагнетания на всас насоса, дисковые потери в гидропяте также снижают кпд насоса.

[3]

Известен также шнекоцентробежный насос по патенту РФ №2062360, МПК F04D 1/04, 20.06.1996, сущность которого заключается в том, что в насосе применены гидростатические подшипники скольжения с камерами, которые непосредственно подключены к выходу насоса, и подшипники покрыты материалом на основе карбида вольфрама.

[4]

Это техническое решение, которое по решаемой задаче и техническому результату является наиболее близким к предлагаемому изобретению, имеет ряд недостатков: в подшипники подается неочищенная жидкость.

[5]

Задачей настоящего изобретения является создание насоса с повышенной долговечностью подшипников за счет более качественной очистки жидкости и упрощения конструкции насоса.

[6]

Поставленная задача решается тем, что в шнекоцентробежном насосе, состоящем из корпуса, ротора с рабочим колесом двустороннего входа с установленными перед входом в рабочее колесо шнеками постоянного или переменного шага лопаток, с подшипниками скольжения и трубками, подводящими из полости нагнетания жидкость к подшипникам, согласно изобретению трубки забора жидкости к подшипникам соединены с установленным в полости нагнетания цилиндром, плавно переходящим в конус, в котором выполнены отверстия, цилиндр с конусом установлены так, что обтекается сначала цилиндрическая часть, а затем конус, при этом угол конуса не превышает 15°, а суммарная площадь отверстий превышает поперечное сечение трубки не менее чем в 2 раза. Это позволяет при высокой вязкости перекачиваемой жидкости эффективно препятствовать попаданию посторонних твердых включений и тем самым существенно повысить долговечность подшипников.

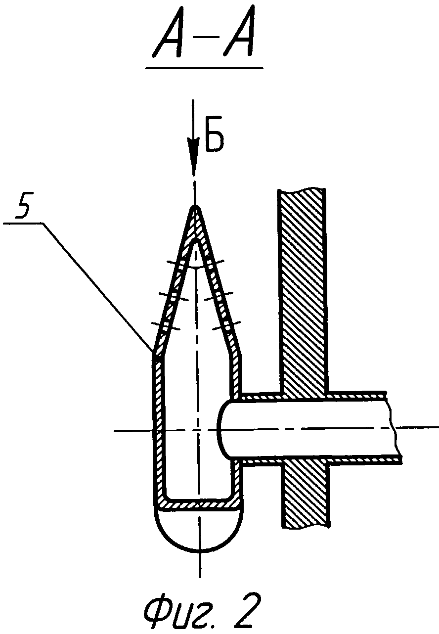
[7]

На фиг.1 показан разрез шнекоцентробежного насоса.

[8]

На фиг.2 показан узел забора жидкости, сечение А-А на фиг.1.

[9]

На фиг.3 показан вид Б на фиг.2.

[10]

Насос состоит из ротора 1 с рабочим колесом двустороннего входа с установленными перед входом в рабочее колесо шнеками постоянного или переменного шага лопаток, корпуса 2, гидростатических подшипников 3 и 4 скольжения, трубок подвода жидкости к полостям гидростатических подшипников 3, 4. Трубки забора жидкости к подшипникам 3, 4 соединены с установленным в полости нагнетания цилиндром, плавно переходящим в конус 5. В конусе 5 выполнены отверстия 6 диаметром 2-3 мм, при этом угол конуса не более 15°, а суммарная площадь отверстий составляет не менее 2-х площадей поперечного сечения подводящей трубки. Конус 5 устанавливается «назад по потоку».

[11]

Насос работает следующим образом. Перед пуском при выпуске воздуха все полости и каналы заполняются рабочей жидкостью. При достижении номинальных оборотов возникает перепад давлений между рабочим колесом и всасыванием, обеспечивающий поток жидкости и подвод ее к опорным и упорным подшипникам 3, 4. За счет того что скорость жидкости при обтекании конуса 5 существенно выше, чем на входе в отверстия 6, твердые частицы вследствие сил вязкости и большего удельного веса «проскакивают» мимо отверстий 6. Таким образом, к подшипникам будет подводиться чистая жидкость, что приводит к увеличению долговечности и ресурса насоса.

[12]

Технический результат достигается следующим образом. Скорость течения в спиральной камере составляет 3-5 м/сек. Скорость в трубках подвода жидкости к подшипникам 3, 4 выбирается меньше. Так как суммарная площадь отверстий 6 в 2 раза больше площади трубки, то скорость в отверстиях 6 конуса 5 примерно в 2 раза ниже, чем при обтекании конуса 5. При выбранных размерах отверстий 6 посторонние частицы имеют скорость вдоль оси конуса 5 в 2 раза больше, чем скорость в отверстиях 6. При таких соотношениях массивные частицы не успевают затягиваться в заборное устройство, и в подшипники 3, 4 поступает очищенная жидкость, что позволяет решить поставленную задачу.

Как компенсировать расходы
на инновационную разработку
Похожие патенты