патент
№ RU 2615847
МПК B64D17/34

ПАРАШЮТ

Авторы:
Муравьев Юрий Викторович
Номер заявки
2016107687
Дата подачи заявки
03.03.2016
Опубликовано
11.04.2017
Страна
RU
Как управлять
интеллектуальной собственностью
Чертежи 
5
Реферат

Изобретение относится к парашютной технике. Парашют включает купол со стропами, коуш строп и пояс рифления, соединенный со стропой управления. Часть пояса рифления и один конец стропы управления пропущены в направляющее кольцо, установленное на куполе парашюта. Второй конец стропы управления связан с исполнительным механизмом разрифления, установленным на спасаемом объекте. Количество строп управления определяется с учетом площади купола парашюта. На спасаемом объекте установлен блок командного устройства, связанный с исполнительным механизмом разрифления. Каждая стропа управления снабжена лентой связи, один конец которой закреплен на стропе управления, а другой связан с коушем строп парашюта. Стропы купола парашюта установлены с возможностью перецепки и соединены с исполнительным механизмом перецепки, который также установлен на спасательном объекте и связан с блоком командного устройства. Степень рифления парашюта может изменяться ступенчатым образом. Изобретение направлено на расширение диапазона скоростей и высот полета в момент ввода в действие парашюта при сохранении уровня перегрузок. 3 з.п. ф-лы, 5 ил.

Формула изобретения

1. Парашют, включающий купол со стропами, коуш строп и пояс рифления, установленный в районе его нижней кромки и соединенный со стропой управления, один конец которой вместе с частью пояса рифления пропущен в направляющее устройство, например кольцо, установленное на куполе парашюта, а второй конец стропы управления связан с исполнительным механизмом разрифления, установленным на спасаемом объекте, отличающийся тем, что на упомянутом выше спасаемом объекте установлен блок командного устройства, связанный с исполнительным механизмом разрифления и обеспечивающий корректировку его работы в соответствии с информацией об условиях полета в момент ввода в действие парашюта, поступающей на вход блока командного устройства и заложенной в нем программой, при этом второй конец каждой стропы управления снабжен дополнительно лентой связи, один конец которой закреплен на стропе управления, а другой связан с коушем строп парашюта, при этом стропы купола парашюта установлены с возможностью перецепки и соединены с исполнительным механизмом перецепки, который также установлен на спасательном объекте и связан с блоком командного устройства, а количество строп управления определяется из неравенства , где n - количество строп управления, а F - площадь купола парашюта, при этом количество строп управления должно быть не менее 2-х.

2. Парашют по п. 1 дополнительно снабжен внутренними стропами, установленными на его внутренней поверхности, или центральной стропой.

3. Парашют по п. 1, отличающийся тем, что петли шнура рифления пропущены в направляющие устройства, например кольца, и закреплены на стропах управления.

4. Парашют по п. 1, отличающийся тем, что стропы управления снабжены дополнительными кольцами, а шнур рифления пропущен в петли, служащие для установки на куполе направляющих устройств, например, колец, а части шнура рифления по обе стороны указанной петли образуют свои петли, каждая из которых продета в дополнительное кольцо, установленное на каждой стропе управления.

Описание

[1]

Изобретение относится к парашютной технике и служит для спасения членов экипажа самолета или любого другого груза. Изобретение направлено на усовершенствование парашюта за счет придания ему свойств, позволяющих управлять процессом его наполнения, влиять на его характеристику аэродинамического сопротивления в зависимости от условий полета спасаемого изделия, а также на повышение надежности парашюта.

[2]

Как известно, наиболее распространенным способом управления процессом наполнения парашюта в настоящее время является рифление его купола. А самое распространенное устройство для рифления парашюта состоит из пояса рифления, представляющего собой замкнутое кольцо из шнура или ленты (Н.А. Лобанов «Основы расчета и конструирования парашютов», 1965 г., стр. 169, фиг 11.19а). Пояс рифления размещается в чехле, закрепленном у нижней кромки купола парашюта, или продет в люверсы или кольца, установленные там же. Пояс рифления ограничивает возможность полного раскрытия парашюта и таким образом задерживает его наполнение на определенной фазе.

[3]

На поясе рифления устанавливаются механизмы разрифления, которые разрезают пояс через определенное время после ввода в действие парашюта. Наиболее распространенными механизмами для разрифления парашюта являются резаки с пиротехническими замедлителями срабатывания.

[4]

Недостатком описанного устройства разрифления является фиксированное номинальное время задержки срабатывания пиротехнического резака и большое рассеивание этого времени. Применяемые в настоящее время механизмы разрифления - резаки - имеют номинальное время срабатывания 2, 4, 7, 12 и 24 секунды. Рассеивание времени срабатывания - до ±20% от номинального времени.

[5]

Таким образом, основным недостатком описанного устройства для рифления парашюта является применение в указанном устройстве механизма разрифления - резака - с ограниченной номенклатурой времен замедления, большим рассеиванием этого времени, которое не может изменяться в процессе эксплуатации парашютной системы в зависимости от конкретных условий ее применения по скорости и высоте ввода в действие.

[6]

Известен парашют (Parachute Recovery Systems Design Manual by Theo W. Knacke, 1992 by Para Publishing), содержащий пояс рифления, состоящий из двух частей. Каждая часть пояса рифления закреплена в точках А на куполе, опоясывает купол по его наружной поверхности и в точке В, например через люверсы, проходит внутрь купола. Общая длина пояса рифления выбирается таким образом, чтобы полностью наполненный купол имел входное отверстие, образованное его нижней кромкой, такого же размера, как и в случае отсутствия рифления, плюс удвоенный диаметр входного отверстия. К центральной части шнура рифления, проходящего внутри купола, в точке С, крепится стропа управления, связанная с устройством для разрифления, установленным на грузе. Подтягивая стропу управления к грузу, мы уменьшаем диаметр входного отверстия купола, затягивая его нижнюю кромку. И наоборот, отпуская стропу управления, даем возможность куполу раскрываться.

[7]

Недостатком такой конструкции являются загромождение внутреннего пространства под куполом, которое может быть использовано для размещения других средств управления, например другой центральной стропы для втягивания полюсной части купола с целью увеличения его тормозных свойств, увеличения скорости его наполнения. Наличие одной стропы управления понижает надежность системы рифления. Данный парашют также не может адаптироваться к условиям полета в момент ввода его в действие.

[8]

Известен также парашют (патент US №3726500 от 10.04.73 г., НКИ 244-152), содержащий купол со стропами и кольцами на его нижней кромке, шнур рифления, пропущенный через кольца купола, и пружинный механизм, регулирующий скорость раскрытия купола при его наполнении. Этот парашют недостаточно надежен в работе из-за сложности механизма регулирования скорости раскрытия купола.

[9]

Известен парашют (патент US №3586269 от 22.06.71 г., НКИ 244-152), содержащий купол со стропами и кольца, шнур рифления, пропущенный через кольца купола, стропы управления и коуш, состоящий из подвижной и неподвижной частей, соединенных между собой тарированными элементами, причем подвижная часть коуша соединена со стропами купола, а неподвижная - со стропами управления.

[10]

Недостатком данного парашюта является то, что он не обеспечивает постоянной величины перегрузки при разрифлении, а это снижает надежность его работы.

[11]

Прототипом предлагаемого изобретения является парашют (Н.А. Лобанов «Основы расчета и конструирования парашютов», 1965 г., стр. 169, фиг 11.19б), у которого рифовый шнур или лента пропускаются в направляющее кольцо, установленное на нижней кромке купола, и продолжается до места установки замка разрифовки на грузе.

[12]

Недостатком этого устройства является то, что парашют не может адаптироваться к условиям полета в момент ввода его в действие при различных комбинациях параметров движения груза, что не позволяет расширить диапазон скоростей и высот полета носителя, при которых он вводится. Большой ход рифового шнура при разрифлении парашюта может явиться источником отказа системы разрифления.

[13]

Предлагаемое изобретение направлено на решение технической задачи по расширению диапазона скоростей и высот полета носителя, например, самолета в момент ввода в действие парашюта при сохранении уровня перегрузок, действующих на спасаемый объект.

[14]

Техническая задача решается при использовании конструкции парашюта, включающего купол со стропами, коуш строп и пояс рифления, установленный в районе его нижней кромки и соединенный со стропой управления, при этом часть пояса рифления и один конец стропы управления пропущены в направляющие устройства, например, кольца, установленные на куполе парашюта, а второй конец стропы управления связан с исполнительным механизмом разрифления, установленным на спасаемом объекте. Отличительной особенностью предлагаемого парашюта является то, что на упомянутом спасательном объекте дополнительно установлен блок командного устройства, получающий информацию об условиях полета в момент ввода в действие парашюта, обеспечивающий корректировку процесса наполнения парашюта в соответствии с условиями полета, и связанный с исполнительным механизмом разрифления, при этом конец стропы управления, связанный с механизмом разрифления, снабжен лентой связи, один конец которой закреплен на стропе управления, а другой связан с коушем строп парашюта, а стропы купола парашюта установлены с возможностью перецепки и связаны с исполнительным механизмом перецепки, установленным на спасательном объекте и связанным также с блоком командного устройства. В блок командного устройства может быть выдана информация о скорости, высоте полета и траекторном угле носителя в момент отделения от него спасаемого объекта и ввода в действие парашюта. С учетом этой информации командное устройство подает сигнал исполнительному механизму разрифления, и в зависимости от условий полета подается сигнал исполнительному механизму перецепки. Количество строп управления определяется из неравенства , где F - площадь купола парашюта, а n - количество строп управления. При наличии нескольких строп управления степень рифления парашюта может изменяться ступенчатым образом.

[15]

За счет управления парашютом на различных этапах его функционирования и адаптации его к различным условиям полета, такое техническое решение позволяет существенно расширить диапазон скоростей и высот полета носителя в момент ввода в действие парашюта.

[16]

Первым вариантом выполнения узла связи шнура рифления со стропой управления является конструкция, когда петля шнура рифления пропущена через направляющее устройство, например, кольцо и закреплена на стропе управления.

[17]

Другим вариантом выполнения этого узла является конструкция, в которой уменьшено количество строп управления. Для этого шнур рифления может быть пропущен через петлю, на которой установлено кольцо (направляющее устройство), а части шнура рифления по обе стороны указанной петли образуют дополнительные петли, каждая из которых продета в кольцо, установленное на стропе управления.

[18]

Наиболее эффективно решаемая задача может осуществляться, когда купол парашюта дополнительно снабжен внутренними стропами, установленными на его внутренней поверхности или центральной стропой. По команде блока командного устройства осуществляется перецепка-удлинение строп купола и строп управления, благодаря чему изменяется конфигурация купола и увеличиваются его тормозные свойства, а время наполнения уменьшается, что повышает эффективность торможения и позволяет расширить диапазон режимов, на которых может применяться парашют.

[19]

Предлагаемая конструкция поясняется чертежами.

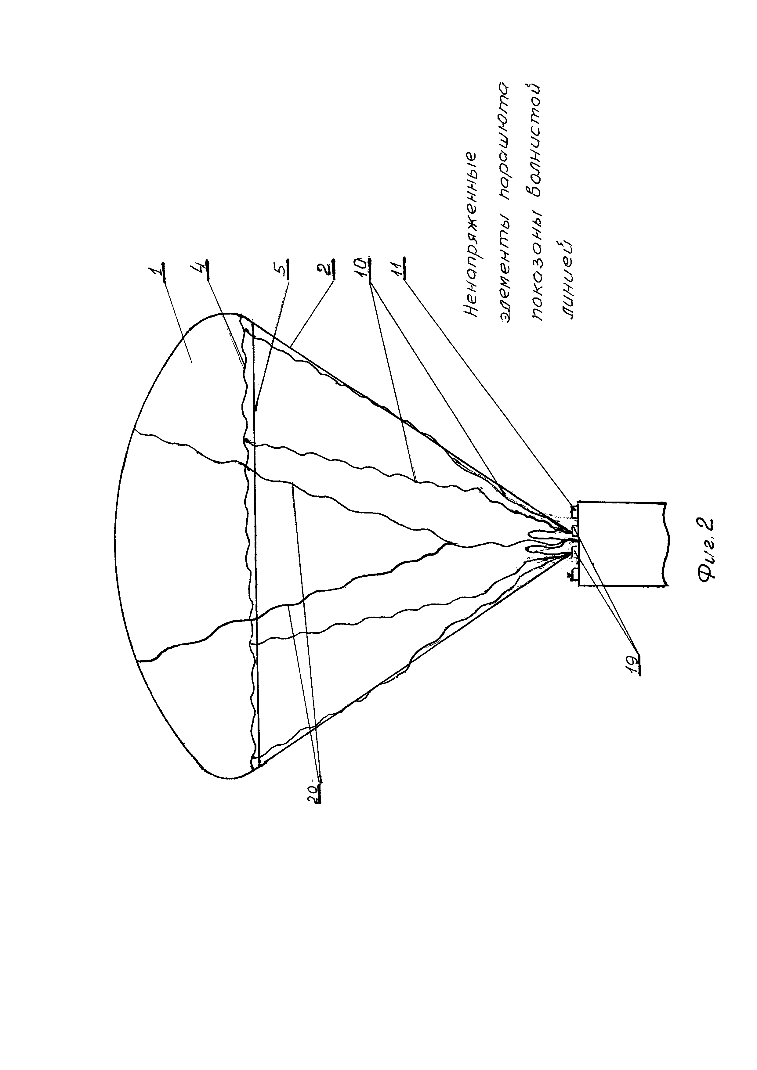
[20]

На фиг. 1 представлена схема парашюта с зарифованным куполом;

[21]

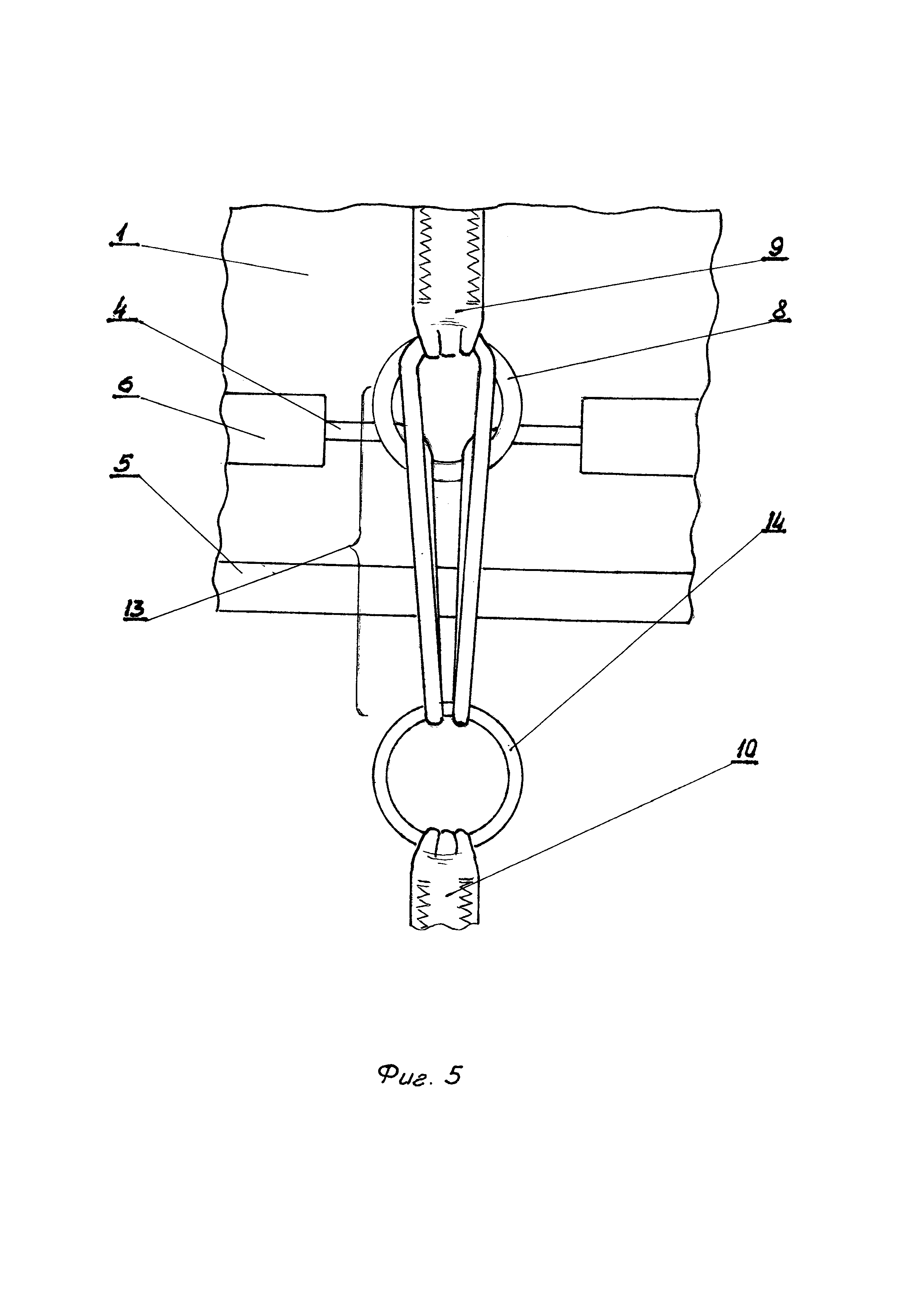
на фиг. 2 представлена схема парашюта после разрифления;

[22]

на фиг. 3 представлена схема парашюта после перецепки строп и строп управления;

[23]

на фиг. 4 показан первый вариант выполнения узла связи петли шнура рифления со стропой управления;

[24]

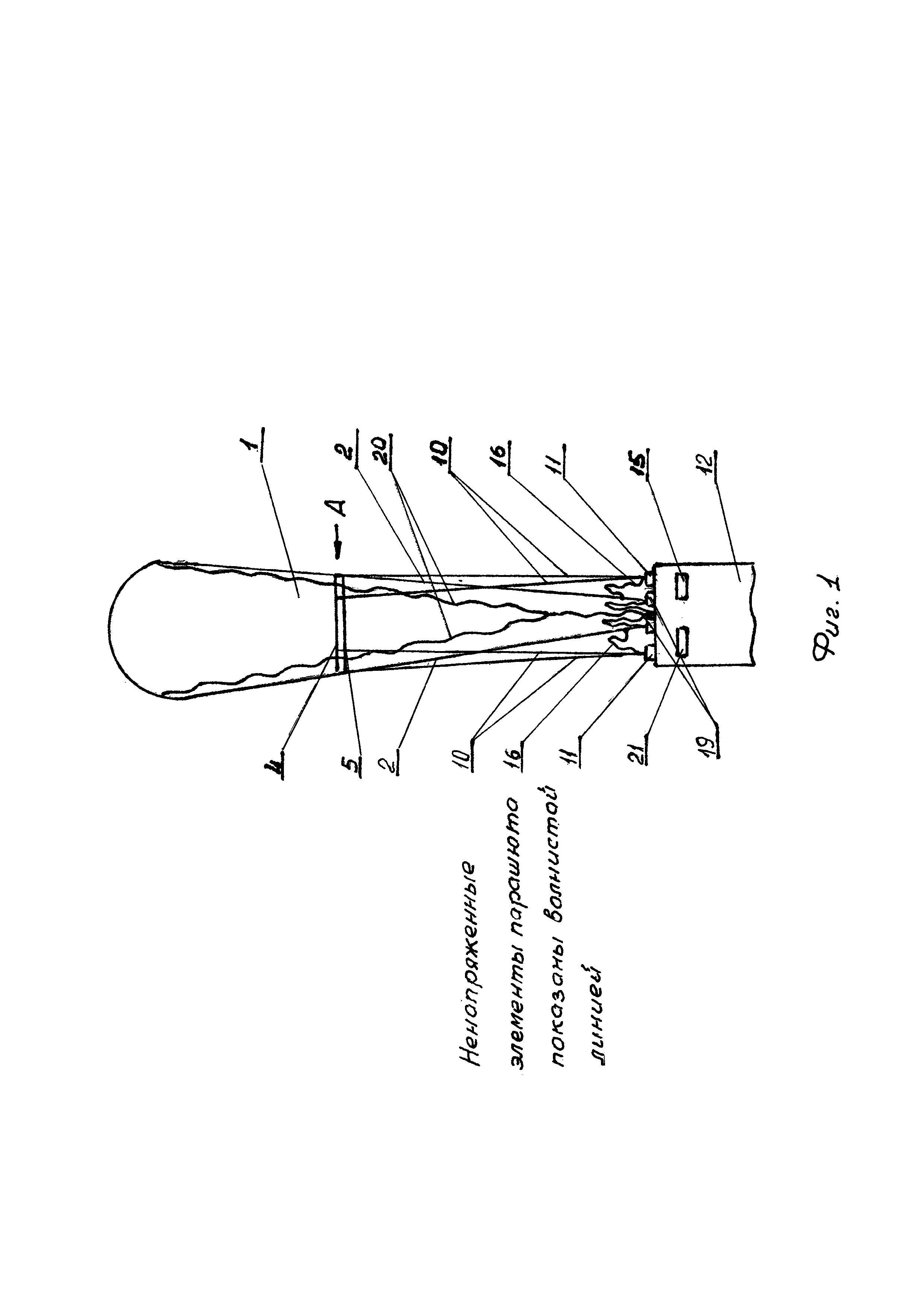
На фиг. 5 показан второй вариант выполнения узла связи петли шнура рифления со стропой управления.

[25]

Предлагаемая конструкция парашюта служит для спасения членов экипажа самолета или любого другого груза.

[26]

Парашют (фиг. 1) содержит купол 1 со стропами 2, коуш 3 строп 2 и пояс рифления 4, выполненный в виде замкнутого кольца и установленный, например, в районе его нижней кромки 5. Пояс рифления 4 имеет длину, равную длине периметра окружности наполненного купола 1, в месте установки - в месте расположения, например, чехла 6 или, например, люверсов (на чертеже не показано), в которые он пропущен. Часть пояса рифления 4, определяющая степень рифления парашюта, опоясывает купол 1 парашюта, а излишек его длины в виде одной или нескольких петель 7 пропускается в соответствующие направляющие устройства 8, например кольца, установленные на куполе 1, например, с помощью петель 9. Пояс рифления 4 через петли 7 связан хотя бы с одной стропой управления 10, при этом стропа управления 10 и часть пояса рифления 4 пропущены в направляющие устройства 8. Другой конец стропы управления 10 связан с исполнительным механизмом разрифления 11, который установлен на спасаемом объекте 12.

[27]

Количество строп управления 10 определяется из неравенства , где n - количество строп управления, a F - площадь купола парашюта, при этом количество строп управления должно быть не менее 2-х.

[28]

По первому варианту выполнения узла связи петли пояса рифления со стропой управления (фиг. 4) является конструкция, в которой петля 7 пояса рифления 4 может быть, например, пропущена в направляющее устройство 8, например, кольцо и закреплена на стропе управления 10.

[29]

Другим вариантом выполнения может быть конструкция (фиг. 5), в которой пояс рифления 4 пропущен, например, в петли 9, служащие для установки на куполе направляющих устройств 8, при этом части шнура пояса рифления 4 по обе стороны указанной петли 9 образуют свои петли 13, каждая из которых продета в дополнительное кольцо 14, установленное на стропе управления 10.

[30]

На спасаемом объекте 12 установлен блок командного устройства 15 и блок питания 21, связанные с исполнительным механизмом разрифления 11, например, электрической связью.

[31]

Блок командного устройства 15 получает информацию об условиях полета в момент ввода в действие парашюта и обеспечивает корректировку процесса наполнения парашюта в соответствии с условиями полета и программой, заложенной в нем.

[32]

Конец стропы управления 10, связанный с исполнительным механизмом разрифления 11, снабжен лентой связи 16, один конец 17 которой установлен на стропе управления 10, а другой конец 18 связан с коушем 3 строп 2 парашюта.

[33]

Стропы 2 купола 1 парашюта установлены с возможностью перецепки, позволяющей увеличить их длину, и связаны с исполнительным механизмом перецепки 19, который установлен на спасаемом объекте 12. Исполнительный механизм перецепки 19 также связан с блоком командного устройства 15, например, электрической связью.

[34]

С целью усиления эффективности торможения купол 1 парашюта может быть снабжен, например, внутренними стропами 20, установленными на его внутренней поверхности или центральной стропой (на чертеже не показано).

[35]

Данная парашютная система работает следующим образом.

[36]

Блок командного устройства 15, получающий информацию об условиях полета в момент ввода в действие парашютной системы с борта носителя и обрабатывающий эту информацию с помощью заложенной в нем программы, выдает команды в исполнительный механизм разрифления, благодаря чему обеспечивается корректировка процесса наполнения в соответствии с начальными условиями полета.

[37]

На режиме высокой нагрузки (большая скорость, высота и отрицательные траекторные углы) при вводе в действие парашют попадает в поток с зарифленным куполом. При наличии нескольких строп управления степень рифления парашюта может изменяться ступенчатым образом на этапе работы в рифленой фазе.

[38]

При вводе в действие парашюта на режиме малых скоростей, высот и отрицательных траекторных углов разрифление парашюта, перецепка строп 2 купола 1 может производиться до попадания парашюта в поток воздуха. Здесь также возможна корректировка момента выполнения этих операций.

[39]

Стропы управления 10 имеют ленты связи 16, через которые после отделения от исполнительного механизма разрифления 11, стропы управления 10 остаются связанными со стропами 2 парашюта.

[40]

Такая система спасения, путем управления парашютом на различных этапах его функционирования и адаптации к условиям полета, позволит существенно расширить диапазон скоростей и высот полета носителя в момент ввода в действие парашюта при сохранении уровня перегрузок, действующих на спасаемый груз.

Как компенсировать расходы
на инновационную разработку
Похожие патенты