патент
№ RU 2587181
МПК C02F3/30

СПОСОБ БИОЛОГИЧЕСКОЙ ОЧИСТКИ СТОЧНЫХ ВОД ОТ СОЕДИНЕНИЙ ФОСФОРА

Авторы:
Киекбаев Рустем Искандарович Пупырев Евгений Иванович Захватаева Наталья Васильевна
Все (7)
Номер заявки
2014151874/05
Дата подачи заявки
22.12.2014
Опубликовано
20.06.2016
Страна
RU
Как управлять
интеллектуальной собственностью
Чертежи 
1
Реферат

[64]

Изобретение относится к области очистки сточных вод, в частности к способам биологической очистки сточных вод от биогенных элементов - соединений фосфора, и может быть использовано для очистки хозяйственно-бытовых сточных вод, производственных сточных вод, загрязненных биоразлагаемыми органическими соединениями, а также их смеси. Сточную воду после механической очистки подвергают обработке в аэротенке в присутствии активного ила с последующим разделением иловой смеси на очищенную воду, возвратный ил и избыточный активный ил. Возвратный ил подают в аэротенк, а избыточный активный ил делят на два потока. Один из потоков избыточного активного ила подвергают автолизу в анаэробных условиях при перемешивании в присутствии реагента с последующим возвратом на обработку в аэротенк, а второй поток направляют на обработку осадков сточных вод. Технический результат: очистка сточных вод от соединений фосфора до предельно допустимой концентрации (ПДК), установленной для водоемов рыбохозяйственного использования, сокращение объемов образующегося избыточного активного ила, направляемого на дальнейшую обработку, при одновременном снижении капитальных и эксплуатационных затрат. 3 з.п. ф-лы, 1 ил.

Формула изобретения

1. Способ биологической очистки сточных вод от соединений фосфора, характеризующийся тем, что сточную воду после механической очистки подвергают обработке в аэротенке в присутствии активного ила с последующим разделением иловой смеси на очищенную воду, возвратный ил, который подают в аэротенк, и избыточный активный ил, который делят на два потока, один из которых подвергают автолизу в анаэробных условиях при перемешивании в присутствии реагента с последующим возвратом на обработку в аэротенк, а второй поток избыточного активного ила направляют на обработку осадков сточных вод.

2. Способ по п. 1, отличающийся тем, что на автолиз направляют до 99% избыточного активного ила.

3. Способ по п. 1 или 2, отличающийся тем, что в качестве реагента используют соли алюминия или железа.

4. Способ по п. 1, отличающийся тем, что время автолиза составляет не менее 3-х часов.

Описание

[1]

Изобретение относится к области очистки сточных вод, в частности к способам биологической очистки сточных вод от биогенных элементов, и может быть использовано для очистки хозяйственно-бытовых сточных вод, производственных сточных вод, загрязненных биоразлагаемыми органическими соединениями, а также их смеси.

[2]

В условиях повышенных требований к качеству очищенных хозяйственно-бытовых и производственных сточных вод, в том числе от соединений азота и фосфора, одновременно предъявляются и требования к сокращению количества образующихся осадков сточных вод, в том числе избыточного активного ила, которые должны быть подвергнуты дальнейшей обработке и/или утилизации, что приводит к значительным капитальным и эксплуатационным затратам.

[3]

Известен способ биологической очистки сточных вод, согласно которому сточные воды подвергают механической очистке в первичном отстойнике, откуда сточные воды подают в биоактиватор (аэротенк) с микрофлорой, в котором поддерживают наличие зон с разнородной по содержанию кислорода средой путем регулируемого ввода кислорода, и далее смесь сточных вод с активным илом поступает во вторичный отстойник для разделения на очищенную сточную воду и активный ил, который постоянно возвращают в начало биоактиватора. Сырой осадок после первичного отстойника рециркулируют на вход первичного отстойника для создания условий осуществления процесса гидролиза и гетероацетогенного процесса непосредственно в первичном отстойнике. Во вторичном отстойнике создают зоны с разнородной по содержанию кислорода средой путем регулирования скорости рециркуляции активного ила из вторичного отстойника на вход биоактиватора /Патент РФ №2296110, C02F 3/30, 2007 г./.

[4]

Недостатками известного способа являются высокие эксплуатационные затраты, поскольку весь объем активного ила постоянно возвращают в начало биоактиватора, а осадок из первичного отстойника рециркулируют, а также недостаточная степень очистки сточных вод от соединений фосфора.

[5]

Известен способ биологической очистки сточных вод от фосфатов, согласно которому биологическую очистку осуществляют с использованием инертного загрузочного материала, обрастающего биопленкой, в непосредственный контакт с которой введен металл, создающий условия для биологической коррозии. В результате электрохимических реакций и биологической коррозии, происходящих в локальной зоне на границе контакта сточной воды с биопленкой и растворенным металлом, осуществляется интенсивное биологическое окисление органических загрязнений и образование нерастворимых солей, выпадающих в осадок. Осадок сорбируется на поверхности биопленки и свободноплавающем активном иле. Часть активного ила и отработанной биопленки выносится вместе с очищенной водой в отстойник, а другая часть, выпавшая в осадок, периодически удаляется непосредственно из зоны аэрации /Патент РФ №2197436, C02F 3/02, 2003 г./.

[6]

Недостатками известного способа являются высокие эксплуатационные затраты из-за большого расхода воздуха на аэрацию, а также то, что используемая технология не позволяет снизить количество образующихся осадков, в том числе избыточного активного ила.

[7]

Наиболее близким по технической сущности и достигаемому результату к предложенному является способ удаления фосфора из сточной жидкости, который включает механическую, биологическую, физико-химическую очистку с возвратом уплотненного активного ила, обедненного фосфором, из илоуплотнителя в аэротенк, с подачей в илоуплотнитель иловой воды, обогащенной летучими жирными кислотами, продуцируемыми в ацидофикаторе, работающем на сыром осадке из первичных отстойников в режиме первой стадии анаэробного сбраживания, причем избыточный активный ил, освобожденный от PO43- в илоуплотнителе, добавляют в ацидофикатор. Благодаря введению в ацидофикатор избыточного активного ила компенсируется недостаток органических веществ при низких значениях БПК исходной сточной жидкости и обеспечивается необходимое количество летучих жирных кислот, подаваемых в илоуплотнитель для осуществления процесса дефосфатизации /Патент РФ №2276108, C02F 3/30, 2006 г./.Недостатками этого способа являются высокие эксплуатационные затраты из-за большого количества реагентов, используемых в процессе очистки сточных вод, а также недостаточное снижение объемов образующегося избыточного активного ила.

[8]

Технический результат, полученный от использования предложенного способа, заключается в очистке сточных вод от соединений фосфора до предельно допустимой концентрации (ПДК), установленной для водоемов рыбохозяйственного использования, а также сокращении объемов образующегося избыточного активного ила, направляемого на дальнейшую обработку, при одновременном снижении капитальных и эксплуатационных затрат.

[9]

Технический результат достигается за счет того, что в способе биологической очистки сточных вод от соединений фосфора сточную воду после механической очистки подвергают обработке в аэротенке в присутствии активного ила с последующим разделением иловой смеси на очищенную воду, возвратный ил, который подают в аэротенк, и избыточный активный ил, который делят на два потока, один из которых подвергают автолизу в анаэробных условиях при перемешивании в присутствии реагента с последующим возвратом на обработку в аэротенк, а второй поток избыточного активного ила направляют на обработку осадков сточных вод, при этом на автолиз направляют до 99% избыточного активного ила, в качестве реагента используют соли алюминия или железа, а время автолиза составляет не менее 3-х часов.

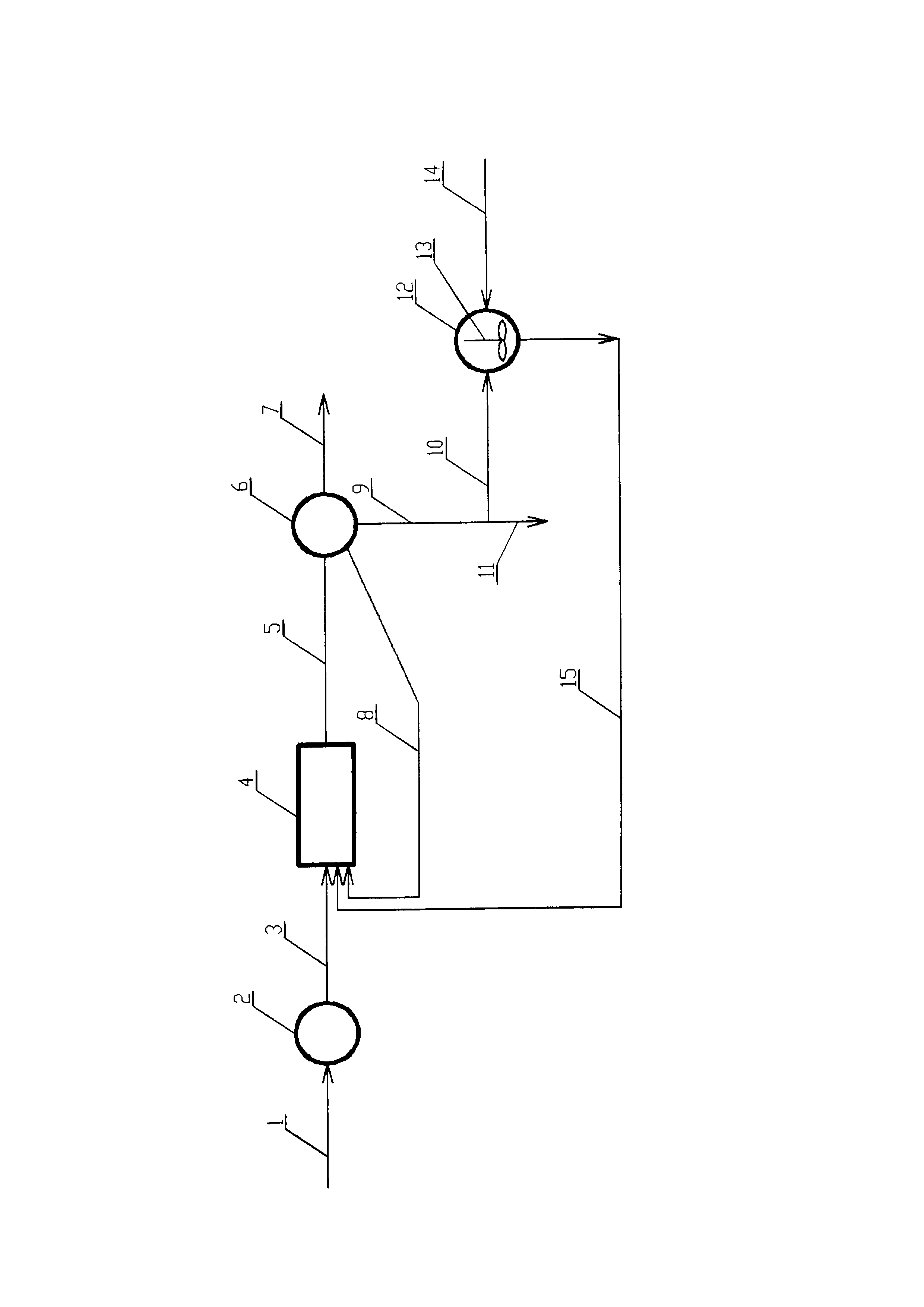
[10]

На чертеже представлена схема биологической очистки сточных вод от соединений фосфора, где 1 - подача исходной сточной воды на очистку, 2 - узел механической очистки, 3 - сточная вода после механической очистки, 4 - аэротенк, 5 - иловая смесь, 6 - вторичный отстойник, 7 - очищенная сточная вода, 8 - возвратный ил, 9 - избыточный активный ил, 10 - избыточный активный ил, подаваемый на автолиз, 11 - избыточный активный ил, направляемый на обработку осадков сточных вод, 12 - анаэробный реактор для автолиза, 13 - перемешивающее устройство, 14 - введение реагента, 15 - фосфоросодержащий автолизат.

[11]

Способ осуществляют следующим образом.

[12]

Исходную сточную воду 1 подвергают обработке в узле механической очистки 2 (песколовки, жироловки, первичный отстойник и т.п.), откуда очищенную сточную воду 3 направляют в аэротенк 4, в котором подвергают обработке совместно с активным илом. Иловую смесь 5 из аэротенка 4 направляют во вторичный отстойник 6, где ее разделяют на очищенную воду 7, возвратный активный ил 8, который направляют в аэротенк 4, и избыточный активный ил 9, который делят на два потока: избыточный активный ил, который подают на автолиз 10, и избыточный активный ил, который направляют на обработку осадков сточных вод 11. Избыточный активный ил 10 подают в анаэробный реактор 12 с перемешивающим устройством 13, в который также подают реагент 14 и где происходит автолиз. Автолизат 15, содержащий соединения фосфора, подают в аэротенк 4.

[13]

В процессе автолиза избыточного активного ила 10 в условиях анаэробного реактора 12 с перемешивающим устройством 13 происходит старение активного ила, повреждение клеток и разрушение структуры молекул с выделением ферментов и фосфатов. В присутствии введенных реагентов, предпочтительно солей алюминия и железа, происходит связывание выделенных из клеток активного ила фосфатов в нерастворимые соединения. Полученную смесь - автолизат 15 направляют в аэротенк 4. Для разрушения клеток и выделения из них фосфатов необходимо время пребывания в аэробном реакторе не менее 3-х часов, при этом на автолиз подают до 99% избыточного активного ила. Избыточный активный ил, который направляют на обработку осадков сточных вод 11, выводит соединения фосфора из технологического процесса.

[14]

В результате прохождения механически очищенной сточной воды 3 через аэротенк 4 в присутствии автолизата 15 и возвратного активного ила 8 происходит окисление автолизата 15 как дополнительного органического субстрата и, соответственно, потребление активным илом дополнительного количества фосфора (Р).

[15]

Пример осуществления способа

[16]

При расходе исходных сточных вод Q=100000 м3/сут., объеме аэротенков при периоде аэрации 12 часов V=50000 м3, дозе активного ила в аэротенке ai=3 г/л (при зольности 30% - в единицах зольности 0,3 - и содержании фосфора 2% в пересчете на Р) и дозе уплотненного ила, выводимого из вторичных отстойников ai упл=7 г/л, количество избыточного активного ила, выводимого из сооружений биологической очистки (вторичного отстойника) составляет Qi=2350 м3/сут.

[17]

Очищенная сточная вода после вторичных отстойников содержит 2 мг/л Р - PO4.

[18]

ПДК пбщо фосфору (Р), установленная для водоемов рыбохозяйственного использования, составляет 0,2 мг/л.

[19]

Таким образом, превышение ПДК по соединениям фосфора в очищенной без автолиза воде составит:

[20]

Ризбочищ-ПДК=2-0,2=1,8 мг Р/л=1,8 г Р/м3,

[21]

где Ризб - избыточное количество фосфора (Р) в очищенной воде;

[22]

Рочищ - количество фосфора (Р) в очищенной воде;

[23]

ПДК - предельно допустимая концентрация по фосфору (Р).

[24]

За сутки необходимо снять следующее количество фосфора:

[25]

Робщизб×Q=1,8×100000=180000 г/сут=180 кг/сут,

[26]

где Робщ - общее количество фосфора, которое необходимо снять за сутки, кг/сут;

[27]

Ризб - избыточное количество фосфора в очищенной воде, кг/м3;

[28]

Q - расход исходных сточных вод, м3/сут.

[29]

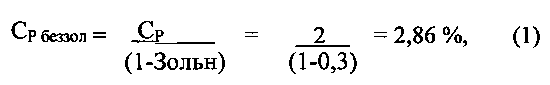
Содержание фосфора (СР) в активном иле с зольностью 30% составляет 2% в пересчете на Р. То есть в 100 г активного ила содержится 2 г фосфора или в 70 г (100-30) беззольного вещества активного ила содержатся те же 2 г Р (СРбеззол).

[30]

Для определения процентного содержания фосфора в расчете на беззольное вещество активного ила используют формулу:

[31]

[32]

где СР беззол - содержание фосфора в расчете на беззольное вещество активного ила, %;

[33]

СР - содержание фосфора в активном иле, %;

[34]

Зольн - зольность активного ила в единицах.

[35]

Количество активного ила как органического субстрата в расчете на беззольное вещество для связывания необходимого количества фосфора составит:

[36]

[37]

где ai без сут - количество активного ила в расчете на беззольное вещество, необходимое для связывания общего количества фосфора, кг/сут;

[38]

Робщ - общее количество фосфора, которое необходимо снять за сутки, кг/сут;

[39]

CP беззол - содержание фосфора в расчете на беззольное вещество активного ила, %.

[40]

Органика для связывания избыточного фосфора в процессе прироста активного ила поступает из сооружения (анаэробного реактора), где происходит автолиз активного ила. В емкость для автолиза поступает часть избыточного ила, уплотненного во вторичных отстойниках в концентрации ai упл=7 г/л.

[41]

В расчете на беззольное вещество активного ила концентрация уплотненного активного ила составит:

[42]

ai упл беззол=aiупл×(1Зольн)=7×0,7=4,9 г/л=4,9 кг/м3,                (2)

[43]

где ai упл беззол - концентрация уплотненного активного ила в пересчете на беззольное вещество, кг/м3;

[44]

ai упл - концентрация уплотненного активного ила, кг/м3;

[45]

Зольн - зольность активного ила в единицах.

[46]

Необходимое количество автолизованной смеси составит:

[47]

[48]

где Qaвт - количество автолизата, м3/сут;

[49]

ai без сут - количество активного ила в расчете на беззольное вещество активного ила для связывания общего количества фосфора в сутки, кг/сут;

[50]

ai упл беззол - количество избыточного активного ила в расчете на беззольное вещество активного ила, кг/м3.

[51]

Таким образом, часть избыточного активного ила из сооружений биологической очистки, в данном примере из вторичных отстойников, в количестве 1284 м3/сут подают на автолиз в анаэробный реактор емкостью 5000 м3. В анаэробном реакторе избыточный активный ил выдерживают при перемешивании с коагулянтом четверо суток, после чего образовавшуюся автолизованную смесь - автолизат - возвращают непосредственно в аэротенки. Оставшуюся часть избыточного активного ила направляют на сооружения обработки осадков сточных вод в количестве:

[52]

Qост=Qi-Qавт=2350-1284=1066 м3/сут,

[53]

где Qост - количество избыточного активного ила на обработку осадков сточных вод, м3/сут;

[54]

Qi - количество избыточного активного ила, м3/сут;

[55]

Qавт - количество автолизата, м3/сут.

[56]

Общая формула для расчета необходимого количества автолизата для связывания избыточного фосфора:

[57]

[58]

где Qавт - количество автолизата, м3/сут;

[59]

Ризб - избыточное количество соединений фосфора, кг/м3;

[60]

Q - расход исходных сточных вод, м3/сут;

[61]

СР беззол - процентное содержание фосфора в расчете на беззольную часть активного ила, рассчитывается по формуле (1), %;

[62]

ai упл беззол - концентрация уплотненного активного ила в расчете на беззольное вещество, рассчитывается по формуле (2), кг/м3.

[63]

Таким образом, предложенный способ биологической очистки сточных вод позволяет снизить содержание соединений фосфора в очищенной воде до ПДК, установленной для водоемов рыбохозяйственного использования, и сократить объемы образующегося избыточного активного ила, направляемого на дальнейшую обработку, при одновременном сокращении капитальных и эксплуатационных затрат.

Как компенсировать расходы
на инновационную разработку
Похожие патенты