Изобретение относится к области теплоэнергетики и может быть использовано при разработке парогенераторов с пылевым сжиганием углей. Топка парогенератора содержит горизонтальную камеру сгорания, ограниченную двумя вертикальными экранированными боковыми стенками, вертикальной экранированной фронтальной стенкой, горизонтальной экранированной крышей, горелки, холодную воронку, образованную группой наклонных экранированных стенок, согласно изобретению, горизонтальная камера сгорания выполнена квадратного сечения, горелки выбраны прямоточного типа, топка снабжена дополнительной холодной воронкой, образованной группой наклонных экранированных стенок, как и основная воронка, холодные воронки выполнены продольной формы и соединены горизонтальной экранированной стенкой, снабженной N≥1 рядами горелок, каждая боковая стенка снабжена M≥1 рядами горелок, плоскости, образованные пересечением продольных осей горелок, формируют ярусы горелок, продольные оси в каждом ярусе горелок направлены по касательной к условной окружности с относительным диаметром 0.15<d<0.20,,где d - диаметр условной окружности, D - диаметр окружности, условно вписанной в квадратное сечение камеры сгорания. Технический результат заключается в уменьшении шлакования поверхностей нагрева топки парогенератора в котлах с горизонтальной компоновкой. 2 ил.
Топка парогенератора, содержащая горизонтальную камеру сгорания, ограниченную двумя вертикальными экранированными боковыми стенками, вертикальной экранированной фронтальной стенкой, горизонтальной экранированной крышей, горелки, холодную воронку, образованную группой наклонных экранированных стенок, отличающаяся тем, что горизонтальная камера сгорания выполнена квадратного сечения, горелки выбраны прямоточного типа, топка снабжена дополнительной холодной воронкой, образованной группой наклонных экранированных стенок, как и основная воронка, холодные воронки выполнены продольной формы и соединены горизонтальной экранированной стенкой, снабженной N≥1 рядами горелок, каждая боковая стенка снабжена М≥1 рядами горелок, плоскости, образованные пересечением продольных осей горелок, формируют ярусы горелок, продольные оси в каждом ярусе горелок направлены по касательной к условной окружности с относительным диаметром 0.15<dу<0.20, где d - диаметр условной окружности, D - диаметр окружности, условно вписанной в квадратное сечение камеры сгорания.
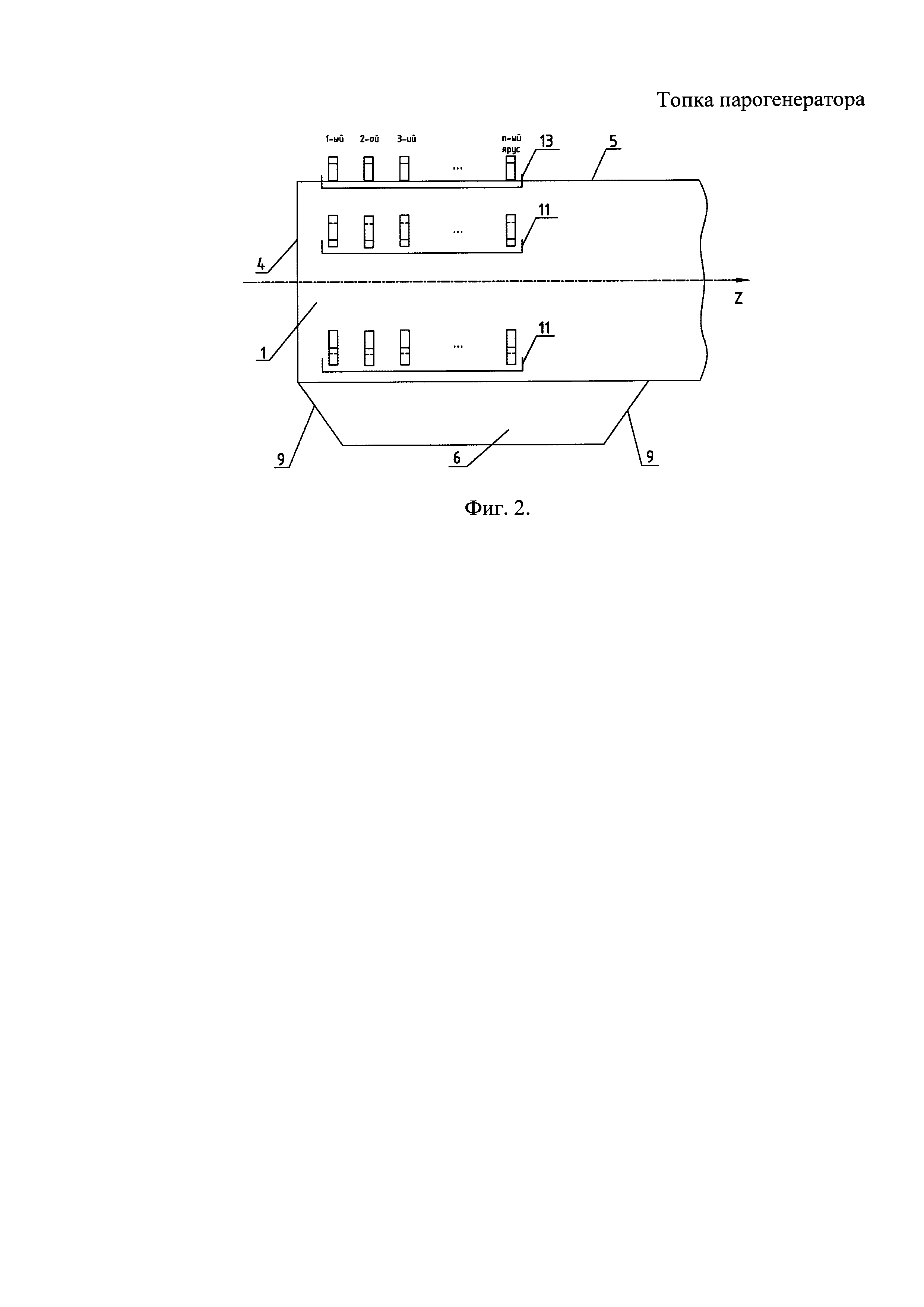
Изобретение относится к области теплоэнергетики и может быть использовано при разработке парогенераторов с пылевым сжиганием углей. Известна топка парогенератора с вертикальной квадратного сечения камерой сгорания, ограниченной четырьмя вертикальными экранированными боковыми стенками, снабженными прямоточными горелками, расположенными тангенциально, горизонтальной экранированной крышей, холодной воронкой, образованной группой наклонных экранированных стенок [Резников М.И., Липов Ю.М. Паровые котлы тепловых электростанций: Учебник для вузов. - М.: Энергоиздат, 1981, с. 59]. Основной недостаток рассматриваемого аналога заключается в вертикальном расположении камеры сгорания, обуславливающим значительную протяженность паропроводов острого пара и промперегрева, изготавливаемых из дорогостоящих жаропрочных сплавов. Известна топка парогенератора с горизонтальной прямоугольной камерой сгорания, ограниченной двумя вертикальными экранированными боковыми стенками, вертикальной экранированной фронтальной стенкой, горизонтальной экранированной крышей, холодной воронкой, образованной группой наклонных экранированных стенок. Равномерно по всей площади фронтовой стенки в несколько ярусов распределены вихревые горелки [Кяер С. Опыт проектирования и эксплуатации энергоблоков на сверхкритические параметры пара в Дании // «Электрические станции». М.: Издательство Энергопрогресс. - 2002. - №3, с. 68]. Данное техническое решение принимается за прототип. Основной недостаток рассматриваемого прототипа заключается в интенсивном зашлаковывании экранных поверхностей нагрева вследствие близкого расположения вихревых горелок со значительным углом раскрытия струй к экранированным поверхностям камеры сгорания топки парогенератора. Кроме того, в связи с отсутствием устойчивого факела, располагающегося в геометрическом центре топки парогенератора, тепловая нагрузка распределяется неравномерно между экранными поверхностями. Техническая задача, решаемая предлагаемым изобретением, заключается в уменьшении шлакования поверхностей нагрева топки парогенератора в котлах с горизонтальной компоновкой. Технический эффект, возникающий при решении поставленной технической задачи, заключается в выравнивании тепловых нагрузок между экранными поверхностями топки парогенератора в котлах с горизонтальной компоновкой и достигается тем, что в известной топке парогенератора, содержащей горизонтальную камеру сгорания, ограниченную двумя вертикальными экранированными боковыми стенками, вертикальной экранированной фронтальной стенкой, горизонтальной экранированной крышей, горелки, холодную воронку, образованную группой наклонных экранированных стенок, согласно изобретению, горизонтальная камера сгорания выполнена квадратного сечения, горелки выбраны прямоточного типа, топка снабжена дополнительной холодной воронкой, образованной группой наклонных экранированных стенок, как и основная воронка, холодные воронки выполнены продольной формы и соединены горизонтальной экранированной стенкой, снабженной N≥1 рядами горелок, каждая боковая стенка снабжена M≥1 рядами горелок, плоскости, образованные пересечением продольных осей горелок, формируют ярусы горелок, продольные оси в каждом ярусе горелок направлены по касательной к условной окружности с относительным диаметром 0.15<dy<0.20, где d - диаметр условной окружности, D - диаметр окружности, условно вписанной в квадратное сечение камеры сгорания. На фиг. 1 изображен вид спереди предлагаемой конструкции топки парогенератора; на фиг. 2 - вид справа. Топка парогенератора содержит горизонтальную квадратную камеру сгорания 1, ограниченную двумя вертикально расположенными экранированными боковыми стенками 2, 3, вертикально расположенной экранированной фронтальной стенкой 4, горизонтально расположенной экранированной крышей 5, двумя продольными холодными воронками 6, 7, образованными группами наклонных экранированных стенок 8, 9 и соединенными между собой горизонтальной экранированной стенкой 10. Боковая стенка 2 снабжена прямоточными горелками 11. Боковой стенка 3 снабжена прямоточными горелками 12. Крыша 5 снабжена прямоточными горелками 13. Горизонтальная стенка 10 снабжена прямоточными горелками 14. Число ярусов горелок n≥2, образованных пересечением продольных осей горелок, зависит от требуемой мощности топки парогенератора. Продольные оси прямоточных горелок 11-14 в каждом ярусе направлены по касательной к условной окружности, центр которой совпадает с геометрическим центром камеры сгорания 1, относительный диаметр которой находится в диапазоне 0.15<dy<0.20, где d - диаметр условной окружности, D - диаметр окружности, условно вписанной в квадратное сечение камеры сгорания. Топка парогенератора работает следующим образом. Пылевоздушная смесь и вторичный воздух подаются в прямоточные горелки 11-14. В результате воздействия высокой температуры горючая смесь загорается в камере сгорания 1 и в плоскости сечения каждого яруса прямоточных горелок 11-14 образуется устойчивый вихревой факел кольцевого вида, распространяющийся вдоль оси z, совпадающей с геометрическим центром камеры сгорания 1. Горючие топочные газы, образующиеся при сгорании топлива, проходят по спирали вдоль топочного пространства, передавая ее тепло экранированным боковым стенкам 2, 3, вертикально расположенной экранированной фронтальной стенке 4, горизонтально расположенной экранированной крыше 5, двум горизонтально расположенным продольным холодным воронкам 6, 7, горизонтальной экранированной стенке 10. Расположение прямоточных горелок 11-14 позволяет создать устойчивый вихревой факел кольцевого вида, распространяющийся вдоль оси z, совпадающей с геометрическим центром топки парогенератора. Тем самым обеспечивается более равномерное распределение тепловой нагрузки между экранированными поверхностями топки парогенератора и уменьшается их зашлаковывание. Установка двух холодных воронок 6, 7 вместо одной позволяет создать пространство между ними для размещения горизонтальной экранированной стенки 10, на которой устанавливаются прямоточные горелки 14. Степень вихревого движения факела в топке парогенератора зависит от величины относительного диаметра условной окружности dy в центре камеры сгорания 1, по касательной к которой направлены продольные оси прямоточных горелок 11-14. При dy<0.15 уменьшается объем высокотемпературного факела, снижается интенсивность смешения горючей смеси, приводя к снижению полноты сгорания топлива, увеличивается неравномерность распределения тепловой нагрузки между экранированными поверхностями вертикальных боковых стенок 2, 3, горизонтальной крыши 5 и горизонтальной стенки 10. При dy>0.20 вихревой факел с горизонтальной осью вращения и максимальной температурой сильно приближается к вертикальным экранированным боковым стенкам 2, 3, горизонтальной экранированной крыше 5 и горизонтальной экранированной стенке 10, что вызывает их шлакование и высокотемпературную коррозию металла труб. Таким образом, за счет изменения расположения горелок, приводящего к рассредоточению высокотемпературного факела по ширине, высоте и глубине топки парогенератора, достигается выравнивание тепловой нагрузки поверхностей нагрева, что позволяет снизить шлакование поверхностей нагрева.
,
,