патент
№ RU 2652692
МПК C02F1/52

Установка для очистки природных вод

Авторы:
Степанов Михаил Александрович
Номер заявки
2017112690
Дата подачи заявки
13.04.2017
Опубликовано
28.04.2018
Страна
RU
Как управлять
интеллектуальной собственностью
Чертежи 
3
Реферат

Установка для очистки природных вод относится к области водоподготовки и может быть использована для предварительной очистки природных вод, в частности поверхностных для хозяйственно-питьевого, промышленного и сельскохозяйственного водоснабжения. Установка для очистки природных вод содержит прямоугольный в плане корпус 1 с расположенными в нем вертикальной контактной камерой 2 и примыкающими к ней с обеих сторон отстойниками 3. Контактная камера 2 разделена горизонтальными решеткой 4 и сеткой 5 на надфильтровую зону 6, зону фильтрации 7 и зону осветления 8 соответственно. Надфильтровая зона 6 снабжена трубопроводом 9 подачи воды на промывку, по меньшей мере одной камерой смешения 11, выполненной в форме усеченного конуса, обращенного меньшим основанием к зоне фильтрации 7, и снабженной тангенциально подведенным трубопроводом подачи исходной воды с реагентом 12 - оксихлоридом алюминия, в нижней части и горизонтальными распределительными полутрубами 13 в верхней. Зона фильтрации 7 снабжена двумя слоями плавающей фильтрующей загрузки: верхним – крупногранульным 14, и нижним – мелкогранульным 15. Зона осветления снабжена дренажной системой для отвода промывной воды 16 и по меньшей мере двумя трубопроводами 17 перепуска фильтрата в каждый из отстойников 3 с выходными коническими соплами 18. Каждый из отстойников 3 снабжен дренажной системой отвода осадка 19, по меньшей мере двумя камерами рециркуляции 20, образованными цилиндрическим кожухом 21, внутри которого коаксиально расположен рециркулятор 22, состоящий из соединенных цилиндрической частью один с другим конфузора и диффузора, блоком доочистки 23, состоящим из плавающей загрузки 24, расположенной между верхней удерживающей решеткой 25 и нижней удерживающей сеткой 26, и расположенным ниже верхней кромки диффузора рециркулятора 22, и перфорированными трубопроводами отвода осветленной воды 27, расположенными выше диффузора рециркулятора 22. Рециркуляторы расположены соосно коническим соплам 18 трубопроводов 17 перепуска фильтрата в отстойники 3. Изобретение позволяет повысить степень предварительной очистки природных вод от взвешенных, коллоидных и растворенных веществ и существенно снизить нагрузку на следующие ступени очистки. 4 з.п. ф-лы, 3 ил.

Формула изобретения

1. Установка для очистки природных вод, характеризующаяся тем, что содержит прямоугольный в плане корпус с расположенными в нем вертикальной контактной камерой и примыкающими к ней с обеих сторон отстойниками, контактная камера разделена горизонтальными решеткой и сеткой на надфильтровую зону, зону фильтрации и зону осветления соответственно, надфильтровая зона снабжена трубопроводом подачи воды на промывку, по меньшей мере одной камерой смешения, выполненной в форме усеченного конуса, обращенного меньшим основанием к зоне фильтрации, и снабженной тангенциально подведенным трубопроводом подачи исходной воды с реагентом - оксихлоридом алюминия, в нижней части и горизонтальными распределительными полутрубами - в верхней, зона фильтрации снабжена двумя слоями плавающей фильтрующей загрузки: верхним – крупногранульным, и нижним - мелкогранульным, а зона осветления снабжена дренажной системой для отвода промывной воды и по меньшей мере двумя трубопроводами перепуска фильтрата в каждый из отстойников с выходными коническими соплами, каждый из отстойников снабжен дренажной системой отвода осадка, по меньшей мере двумя камерами рециркуляции, образованными цилиндрическим кожухом, внутри которого коаксиально расположен рециркулятор, состоящий из соединенных цилиндрической частью один с другим конфузора и диффузора, блоком доочистки, состоящим из плавающей загрузки, расположенной между верхней удерживающей решеткой и нижней удерживающей сеткой, и расположенным ниже верхней кромки диффузора рециркулятора, и перфорированными трубопроводами отвода осветленной воды, расположенными выше диффузора рециркулятора, при этом рециркуляторы расположены соосно коническим соплам трубопроводов перепуска фильтрата в отстойники.

2. Установка для очистки природных вод по п. 1, отличающаяся тем, что горизонтальные распределительные полутрубы выполнены зубчатыми.

3. Установка для очистки природных вод по п. 1 или 2, отличающаяся тем, что горизонтальные распределительные полутрубы расположены параллельно между собой.

4. Установка для очистки природных вод по п. 1, отличающаяся тем, что плавающая фильтрующая загрузка выполнена из полистирола.

5. Установка для очистки природных вод по п. 1 или 4, отличающаяся тем, что размер частиц крупногранульного слоя плавающей фильтрующей загрузки составляет 6-8 мм, а мелкогранульного - 1-3 мм.

Описание

[1]

Изобретение относится к охране окружающей среды, а именно к области водоподготовки, и может быть использовано для предварительной очистки природных вод, в частности, поверхностных, для целей хозяйственно-питьевого, промышленного и сельскохозяйственного водоснабжения.

[2]

Для водоснабжения населенных мест используют преимущественно природные водоисточники - подземные и поверхностные воды. Подземные воды, как правило, требуют умягчения или обезжелезивания, а очистка поверхностных вод заключается в извлечении из воды всех находящихся в ней загрязнений, которые делают воду непригодной для использования в тех или иных целях. Поверхностные воды содержат самые разнообразные загрязнения, что приводит к необходимости разработки различных эффективных способов, устройств и установок для их очистки. Простейшими устройствами для очистки поверхностных вод от частиц грубодисперсных загрязнений являются отстойники, в которых в процессе отстаивания более крупные частицы загрязнений под действием силы тяжести оседают на дно, при этом, для повышения эффективности осаждения мельчайших частиц загрязнений используют коагулянты, которые улучшают процесс хлопьеобразования, а при последующем отстаивании существенно увеличивают эффективность и скорость удаления механических примесей. Более эффективным и быстрым способом очистки считается механическая фильтрация воды через слои фильтрующей загрузки. При прохождении воды через слой или слои фильтрующей загрузки, в частности, плавающей, крупные частицы нерастворимых загрязнений задерживаются между ее зернами, вследствие чего и происходит очистка поверхностных вод от механических примесей. Сочетание реагентной обработки с фильтрацией и отстаиванием, приводящее к повышению качества очистки, лежит в основе создания различных устройств и установок для очистки природных вод.

[3]

Известно устройство для реагентной очистки природных вод, содержащее цилиндрический с коническим днищем корпус, загруженный контактной взвешиваемой массой, трубопроводы подачи обработанной реагентами воды на очистку и промывной воды, трубопровод тангенциальной подачи пульпы в верхнюю часть корпуса, сборный желоб с отводящими трубопроводами осветленной и промывной вод, конический тонкослойный модуль, полупогружной цилиндр, воздушный эжектор тангенциального ввода пульпы в полупогружной цилиндр, воздухоотделитель, в средней части к которому присоединен трубопровод подачи воды на очистку, а в нижней части - опускная распределительная труба /Патент РФ №2307075, C02F 1/52, 2007 г./.

[4]

Недостатками этого устройства являются сложность поддержания определенного расхода воды для слоя контактной массы с переменной скоростью (учитывая степень загрязнения массы), обеспечивающей ее взвешивание, расход электроэнергии на промывку загрузки через эжектор, а также большой объем промывной воды для полной гидроперегрузки и отмывки контактной массы.

[5]

Известно устройство для очистки природной воды в слое взвешенного осадка, содержащее корпус, снабженный в верхней части тонкослойными отстойными блоками, воздухоотделитель, снабженный горизонтальными лотками с зубчатыми водосливами, поддоном, ограниченным зубчатым водосливом и конусом-растекателем, шламоотделитель, систему тангенциального ввода исходной воды и трубопроводы подачи реагентов в нижнюю часть корпуса, системы отвода очищенной воды и осадка, систему циркуляции шлама, включающую в себя две горизонтальные щелевые трубы с щелью переменного сечения и два эжектирующих устройства с соплами, совмещенные с трубами ввода исходной воды в нижнюю часть корпуса, ввод смеси воды и шлама в шламоотделитель осуществляется через прямоугольные окна, снабженные с внутренней стороны направляющими щитками, шламоотделитель снабжен тонкослойными отстойными блоками и дырчатой камерой, соединенной с системой отвода очищенной воды /Патент РФ №2236383, B01D 21/00, 2004 г./.

[6]

Недостатками этого устройства являются сложность конструкции в изготовлении и обслуживании. В случае аварийной ситуации узкие смотровые отверстия не позволяют проводить ремонтные работы внутри установки. Добавление кроме коагулянта суспензии известкового молока требует дополнительных насосов дозаторов, растворных и расходных баков реагентов, что приводит к повышенным эксплуатационным расходам.

[7]

Наиболее близкой по технической сущности к заявленному изобретению является установка для очистки воды (варианты), включающая контактную камеру с плавающей загрузкой, вертикальный отстойник с тонкослойными трубчатыми элементами, фильтр с зернистой плавающей загрузкой в виде пенополистирола и сборно-распределительной системой, резервуар для промывной воды, трубопроводы для подачи исходной воды и отвода промывной воды, чистой воды и осадка, под отстойником расположен цилиндроконический осадкоуплотнитель, к которому присоединен трубопровод для отвода осадка, фильтр и контактная камера выполнены кольцевыми, размещены друг над другом коаксиально снаружи соответственно отстойника и осадкоуплотнителя и разделены кольцевой непроницаемой перегородкой, при этом в стенке осадкоуплотнителя выполнены отверстия для прохода очищаемой воды /патент РФ №2102339, C02F 1/52, 1998 г./.

[8]

Недостатками этой установки являются сложность промывки загрузок, сложность эксплуатации из-за невозможности обслуживания тонкослойных элементов, слипания волокнистых нитей в слое загрузки, а также невозможностью качественно промыть слой из сорбционного или ионообменного материала в верхней части установки.

[9]

Техническая проблема, решение которой обеспечивает предложенное изобретение, заключается в создании компактной и простой в эксплуатации и обслуживании установки для очистки природных вод, обеспечивающей интенсификацию процессов хлопьеобразования и отстаивания.

[10]

Технический результат от использования изобретения заключается в повышении степени предварительной очистки природной воды от взвешенных, коллоидных и растворенных загрязнений за счет увеличения времени контакта в контактной камере с последующим осаждением взвеси и уплотнением осадка в отстойниках при одновременном снижении эксплуатационных расходов.

[11]

Техническая проблема решается, а технический результат достигается за счет того, что установка для очистки природных вод, содержит прямоугольный в плане корпус с расположенными в нем вертикальной контактной камерой и примыкающими к ней с обеих сторон отстойниками, контактная камера разделена горизонтальными решеткой и сеткой на надфильтровую зону, зону фильтрации и зону осветления соответственно, надфильтровая зона снабжена трубопроводом подачи воды на промывку, по меньшей мере одной камерой смешения, выполненной в форме усеченного конуса, обращенного меньшим основанием к зоне фильтрации, и снабженной тангенциально подведенным трубопроводом подачи исходной воды с реагентом - оксихлоридом алюминия, в нижней части и горизонтальными распределительными полутрубами в верхней, зона фильтрации снабжена двумя слоями плавающей фильтрующей загрузки: верхним – крупногранульным, и нижним - мелкогранульным, а зона осветления снабжена дренажной системой отвода промывной воды и по меньшей мере двумя трубопроводами перепуска фильтрата в каждый из отстойников с выходными коническими соплами, каждый из отстойников снабжен, дренажной системой отвода осадка, по меньшей мере двумя камерами рециркуляции, образованными цилиндрическим кожухом, внутри которого коаксиально расположен рециркулятор, состоящий из соединенных цилиндрической частью один с другим конфузора и диффузора, блоком доочистки, состоящим из плавающей загрузки, расположенной между верхней удерживающей решеткой и нижней удерживающей сеткой, и расположенным ниже верхней кромки диффузора рециркулятора, и перфорированными трубопроводами отвода осветленной воды, расположенными выше диффузора рециркулятора, при этом, рециркуляторы расположены соосно-коническим соплам трубопроводов перепуска фильтрата в отстойники.

[12]

В частном случае исполнения установки горизонтальные распределительные полутрубы выполнены зубчатыми.

[13]

Предпочтительно, что горизонтальные распределительные полутрубы расположены параллельно между собой, плавающая фильтрующая загрузка выполнена из полистирола, размер частиц крупногранульного слоя фильтрующей загрузки составляет 6-8 мм, а мелкогранульного - 1-3 мм.

[14]

Изобретение поясняется чертежами.

[15]

Для большей наглядности соотношения между отдельными элементами установки изменены.

[16]

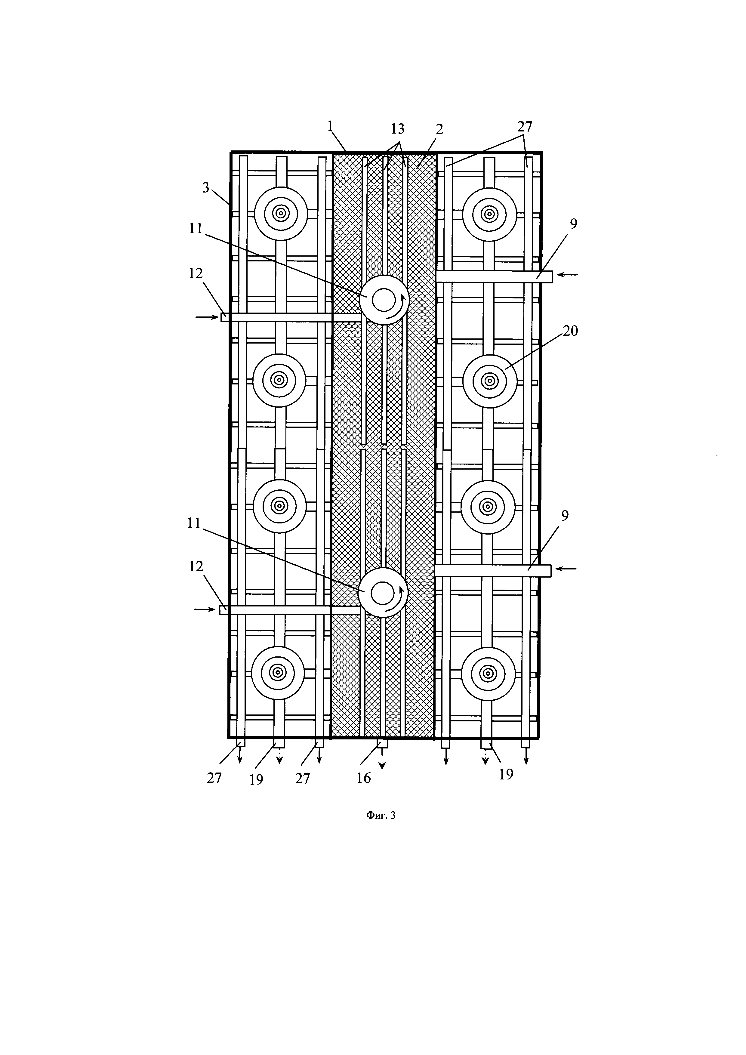
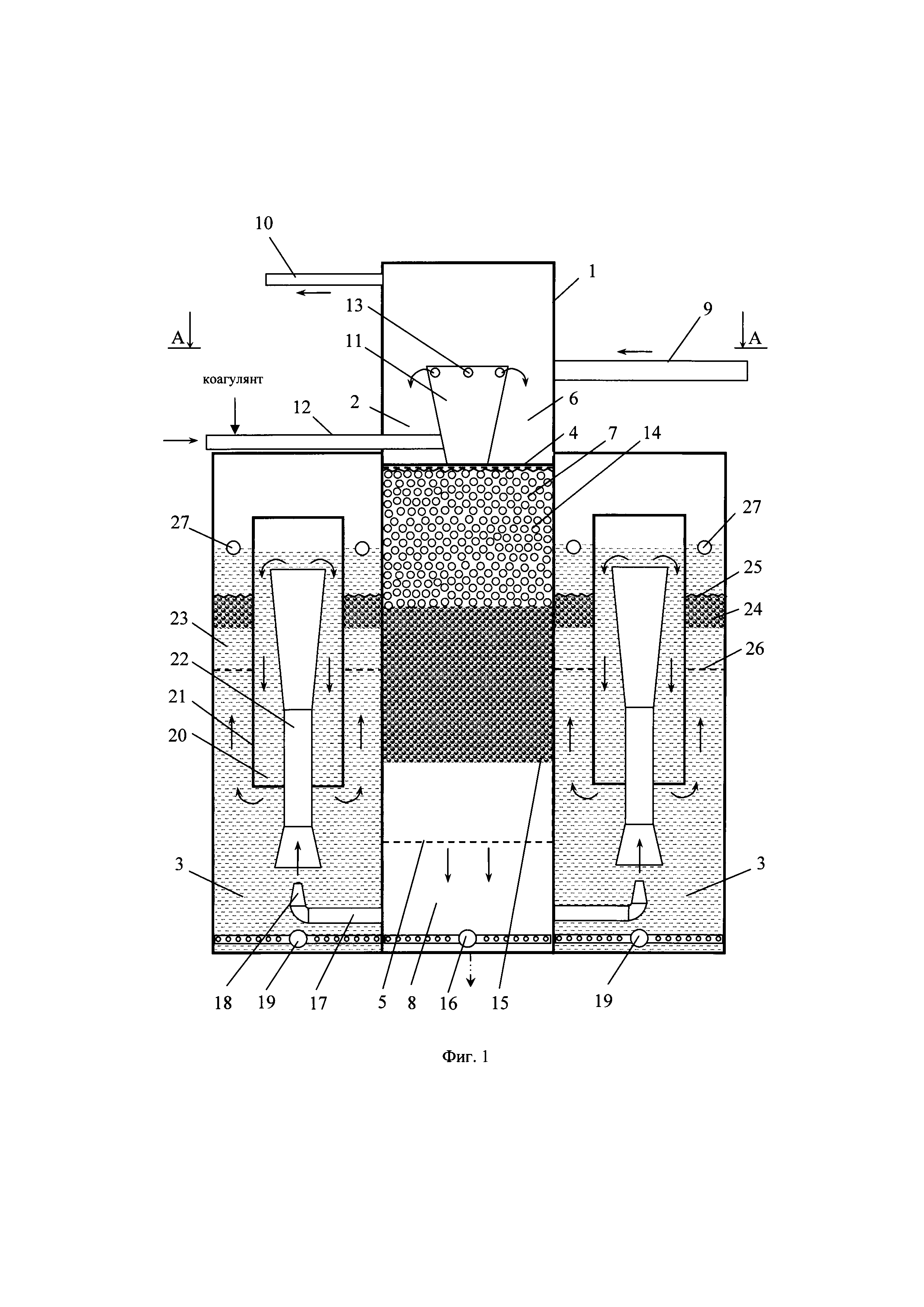
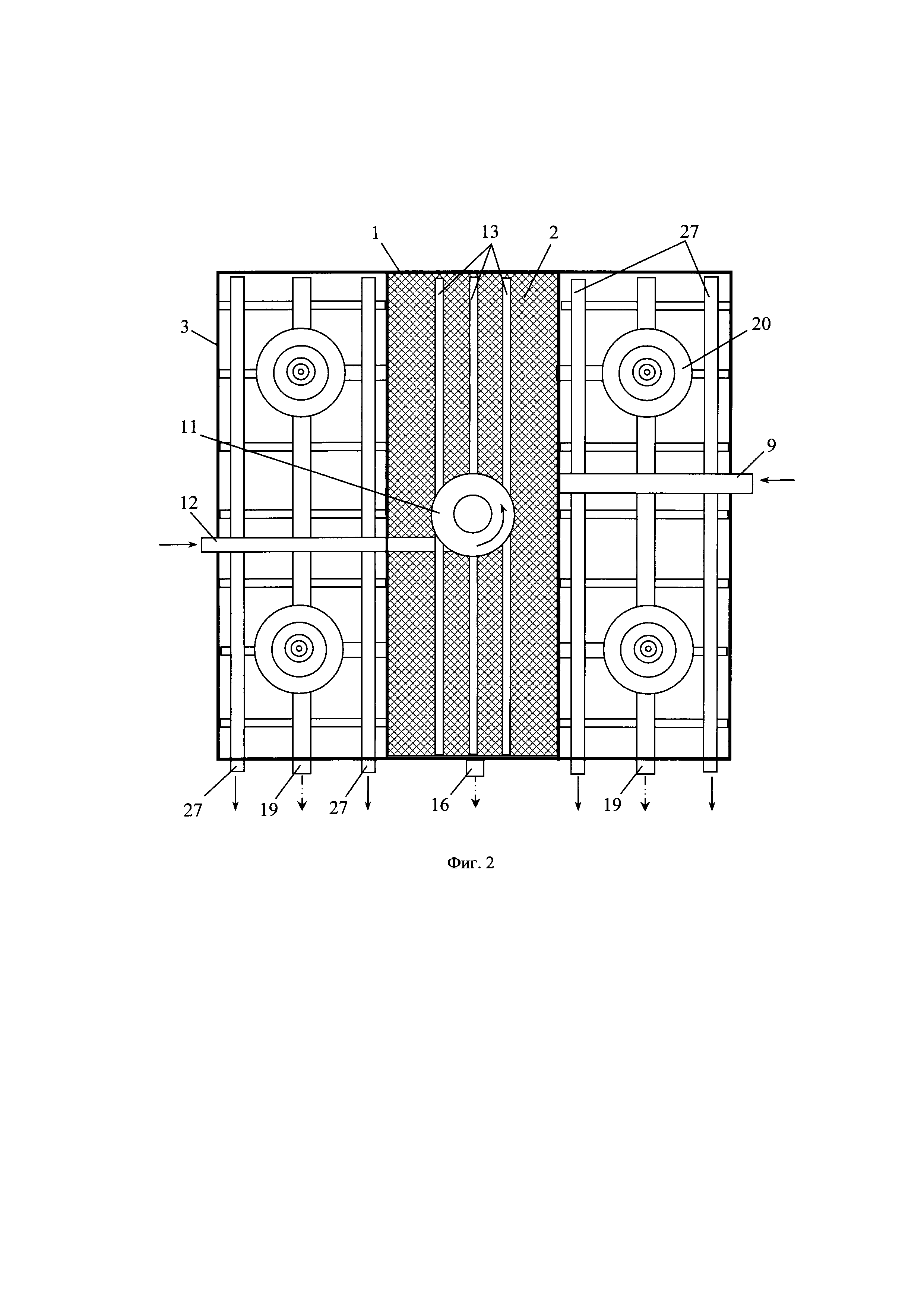
На Фиг. 1 схематически приведен вертикальный разрез установки для очистки природных вод; на Фиг. 2 - разрез по А-А на Фиг. 1; на Фиг. 3 - разрез по А-А на Фиг. 1 для установки большой производительности, содержащей 2 камеры смешения и восемь рециркуляторов.

[17]

Установка для очистки природных вод (Фиг. 1, Фиг. 2) содержит прямоугольный в плане корпус 1, в котором расположены вертикальная контактная камера 2 и примыкающие к ней с обеих сторон отстойники 3. Контактная камера 2 разделена горизонтальными решеткой 4 и сеткой 5 на надфильтровую зону 6, зону фильтрации 7 и зону осветления 8, к надфильтровой зоне 6 подведены трубопровод подачи воды на промывку 9 и переливной трубопровод 10. В надфильтровой зоне 6 расположена камера смешения 11, выполненная в форме усеченного конуса, обращенного меньшим основанием к зоне фильтрации 7, и снабженная тангенциально подведенным трубопроводом подачи исходной воды с реагентом - оксихлоридом алюминия 12, в нижней части и горизонтальными распределительными полутрубами 13 в верхней. В зоне фильтрации 7 расположены два слоя плавающей фильтрующей загрузки: верхний - крупногранульный 14 с предпочтительным размером частиц от 6 до 8 мм и нижний - мелкогранульный 15 с предпочтительным размером частиц 1-3 мм. Зона осветления 8 контактной камеры 2 соединена трубопроводами перепуска фильтрата 17, имеющими выходные конические сопла 18, с отстойниками 3, а в нижней ее части расположена дренажная система с трубопроводом отвода промывной воды 16. В нижней части каждого из отстойников 3 расположена дренажная система отвода осадка 19. В каждом из отстойников 3 расположены по две камеры рециркуляции 20, образованные цилиндрическим кожухом 21, внутри которого коаксиально расположен рециркулятор 22, состоящий из соединенных цилиндрической частью один с другим конфузора и диффузора. Рециркуляторы 22 расположены соосно коническим соплам 18 трубопроводов перепуска фильтрата 17 в отстойники 3. В отстойниках 3 ниже верхней кромки диффузора рециркуляторов 22 расположены блоки доочистки 23, состоящие из плавающей загрузки 24, расположенной между верхней удерживающей решеткой 25 и нижней удерживающей сеткой 26. В отстойниках 3 выше диффузора рециркуляторов 22 расположены перфорированные трубопроводы отвода осветленной воды 27.

[18]

Установка работает следующим образом.

[19]

Перед запуском в работу установку для очистки природных вод заполняют водой до уровня перфорированных трубопроводов отвода осветленной воды 27. При этом происходит всплытие плавающей фильтрующей загрузки внутри зоны фильтрации 7 контактной камеры 2. Мелкогранульный слой 15 фильтрующей загрузки оказывается полностью затопленным, а крупногранульный слой 14 - частично затопленным. Горизонтальная решетка 4, отделяющая надфильтровую зону 6 контактной камеры 2 от зоны фильтрации 7, удерживает крупногранульный слой 14 от попадания в надфильтровую зону 6. Всплывает также и оказывается полностью затопленной плавающая загрузка 24 блоков доочистки 23 в отстойниках 3, расположенная между удерживающими решеткой 25 и сеткой 26.

[20]

Исходную природную воду по трубопроводу подачи исходной воды с реагентом - оксихлоридом алюминия 12 подают в камеру смешения 11 надфильтровой зоны 6, откуда горизонтальными распределительными полутрубами 13 ее равномерно распределяют по поверхности крупногранульного слоя 14 плавающей фильтрующей загрузки зоны фильтрации 7 контактной камеры 2. Тангенциальный подвод трубопровода подачи исходной воды с реагентом - оксихлоридом алюминия 12 в нижнюю часть камеры смешения 11, выполненной в виде усеченного конуса, позволяет потоку очищаемой воды приобрести направленное вращательное вихревое движение с последующим замедлением в верхней части камеры смешения 11 и более равномерно смешать ее с реагентом - оксихлоридом алюминия. Для повышения степени распределения очищаемой воды горизонтальные распределительные полутрубы 13 могут быть выполнены зубчатыми (на чертежах не показано) и расположены параллельно между собой. Распределенная очищаемая вода нисходящим потоком поступает в незатопленную часть крупногранульного слоя 14 плавающей фильтрующей загрузки зоны фильтрации 7, где на неоднородной поверхности гранул начинаются процессы хлопьеобразования, а затем через затопленную часть крупногранульного слоя 14 и затопленный мелкогранульный слой 15 плавающей фильтрующей загрузки зоны фильтрации 7 попадает в зону осветления 8. В затопленных частях плавающей фильтрующей загрузки зоны фильтрации 7 происходит частичная очистка исходной воды от взвешенных веществ и других примесей. Горизонтальная сетка 5, разделяющая зоны фильтрации 7 и осветления 8 контактной камеры 2, удерживает зерна мелкогранульного слоя 15 плавающей фильтрующей загрузки от попадания в зону осветления 8. Фильтрат, попавший в зону осветления 8 и содержащий не осевшие на зернах плавающей фильтрующей загрузки загрязнения, по трубопроводам перепуска фильтрата 17 через выходные конические сопла 18 распыляется в нижней части отстойников 3 и попадает в камеры рециркуляции 20, образованные цилиндрическим кожухом 21, внутри которого коаксиально расположен рециркулятор 22, состоящий из соединенных цилиндрической частью один с другим конфузора и диффузора. Рециркуляторы 22 расположены соосно коническим соплам 18 трубопроводов перепуска фильтрата 17 в отстойники 3, поэтому большая часть фильтрата из конического сопла 18 попадает непосредственно в конфузор рециркулятора 22 и через цилиндрическую часть и диффузор рециркулятора 22 в камеру рециркуляции 20, откуда нисходящим потоком попадает в нижнюю часть отстойника 3, а затем восходящим потоком движется к перфорированным трубопроводам отвода осветленной воды 27 и выводится из установки. Для предотвращения возможного выноса хлопьев загрязнений в трубопроводы отвода осветленной воды 27 используют блоки доочистки 23, на зернах плавающей загрузки 24 которых, расположенной между верхней удерживающей решеткой 25 и нижней удерживающей сеткой 26, оставшиеся загрязнения задерживаются. Конструкция камеры рециркуляции 20 с рециркулятором 22 позволяет неоднократно изменять скорости и направление потока очищаемого фильтрата, что способствует дополнительной рециркуляции очищаемой воды и приводит к интенсификации хлопьеобразования и осаждению хлопьев осадка на дно отстойника 3. Кроме того, распыление фильтрата через конические сопла 18 создает эффект эжекции с вовлечением в процесс хлопьеобразования некоторой части осадка, оседаемого на дно отстойника 3, что также способствует повышению степени очистки. Осевший на дно отстойников 3 осадок через дренажную систему отвода осадка 19 выводят из установки.

[21]

По мере загрязнения плавающей фильтрующей загрузки в зоне фильтрации 7 контактной камеры 2 производят ее промывку исходной водой сверху вниз. Для чего исходную природную воду по трубопроводу подачи промывной воды 9 подают в надфильтровую зону 6 контактной камеры 2 с большей интенсивностью, чем при фильтровании. Горизонтальная сетка 5, разделяющая зоны фильтрации 7 и осветления 8 контактной камеры 2, удерживает зерна мелкогранульного слоя 15 плавающей фильтрующей загрузки от попадания в зону осветления 8. Промывная вода равномерно собирается дренажной системой с трубопроводом отвода промывной воды 16 в зоне осветления 8 контактной камеры 2 и выводится из установки. В случае аварийной ситуации при заполнении водой надфильтровой зоны 6 в ней предусмотрен переливной трубопровод 10.

[22]

В зависимости от требуемой производительности установки ее размеры могут быть увеличены, что соответственно приводит к увеличению количества камер смешения 11 с трубопроводом подачи исходной воды с реагентом - оксихлоридом алюминия 12 и количества камер рециркуляции 20 с рециркуляторами 22 (Фиг. 3).

[23]

При сильном зарастании плавающей фильтрующей загрузки и для предотвращения развития в установке патогенной микрофлоры предусматривается промывка контактной камеры с подачей в трубопровод подачи промывной воды 9 раствора гипохлорита натрия.

[24]

По мере накопления осадка в отстойнике 3 и загрязнения плавающей фильтрующей загрузки 24 производят вынос осадка и промывку загрузки водой, находящейся в отстойнике, в направлении сверху вниз. Для чего производят сброс воды из отстойника. Горизонтальная сетка 26, удерживает зерна плавающей фильтрующей загрузки 24 от выноса. Промывная вода с осадком равномерно собирается дренажной системой с трубопроводом отвода промывной воды 16 и выводится из установки.

[25]

Использование компактной и простой в эксплуатации и обслуживании установки, содержащей в одном корпусе контактную камеру и отстойники с рециркуляторами, позволяет интенсифицировать процессы хлопьеобразования, совместить в одном устройстве несколько физико-химических процессов (коагуляцию, фильтрацию и осаждение), отказаться от применения насосов или эжекторов и сократить объем промывных вод, а тем самым снизить эксплуатационные расходы.

[26]

Таким образом, предложенная установка позволяет повысить степень предварительной очистки природных вод от взвешенных, коллоидных и растворенных веществ, что позволяет существенно снизить нагрузку на следующие ступени очистки.

Как компенсировать расходы
на инновационную разработку
Похожие патенты