патент
№ RU 2654307
МПК G01C21/18

УСТРОЙСТВО КАРДАНОВА ПОДВЕСА ДЛЯ УВЕЛИЧЕНИЯ ДИАПАЗОНА УГЛОВ ПОВОРОТА ИЗДЕЛИЯ

Авторы:
Румянцев Геннадий Николаевич Макарченко Федор Иванович Сапожников Александр Илариевич
Все (4)
Номер заявки
2017128303
Дата подачи заявки
08.08.2017
Опубликовано
17.05.2018
Страна
RU
Как управлять
интеллектуальной собственностью
Чертежи 
2
Реферат

Изобретение относится к области приборостроения и может быть использовано в системах управления подвижных объектов (летательных аппаратов) с использованием гиростабилизированной платформы, установленной на изделии в кардановом подвесе. Устройство карданова подвеса для увеличения диапазона углов поворота изделия содержит трехосный гиростабилизатор (ТГС) с вычислительным устройством, при этом ТГС через закрепленные на нем две дополнительные полуоси с подшипниками установлен на переходной раме, которая жестко закреплена на корпусе изделия и на которой установлен двигатель механизма разворота (ДМР) с редуктором, выходная шестерня которого закреплена на одной из полуосей ТГС, при этом вход ДМР соединен с выходом вычислительного устройства, на другой полуоси установлен датчик угла, по которому определяют угол поворота карданова подвеса ТГС вокруг вертикальной оси изделия, выход которого соединен с входом вычислительного устройства. Технический результат - расширение функциональных возможностей изделия при сохранении точностных характеристик прибора. 2 ил.

Формула изобретения

Устройство карданова подвеса для увеличения диапазона углов поворота изделия, включающее трехосный гиростабилизатор (ТГС) с вычислительным устройством, отличающееся тем, что ТГС через закрепленные на нем две дополнительные полуоси с подшипниками установлен на переходной раме, которая жестко закреплена на корпусе изделия и на которой установлен двигатель механизма разворота (ДМР) с редуктором, выходная шестерня которого закреплена на одной из полуосей ТГС, при этом вход ДМР соединен с выходом вычислительного устройства, на другой полуоси установлен датчик угла, по которому определяют угол поворота карданова подвеса ТГС вокруг вертикальной оси изделия, выход которого соединен с входом вычислительного устройства.

Описание

[1]

Устройство карданова подвеса для увеличения диапазона углов поворота изделия относительно гиростабилизированной платформы (ГСП) относится к области приборостроения и может быть использовано в системах управления подвижных объектов (летательных аппаратов) с использованием гиростабилизированной платформы, установленной на изделии в кардановом подвесе.

[2]

Известен способ увеличения диапазона углов поворота изделия относительно ГСП, установленной на изделии в кардановом подвесе (RU 2552857 от 25.11.2013 г.). Увеличение углов поворота вокруг продольной, поперечной и вертикальной осей изделия относительно ГСП, установленной на изделии в кардановом подвесе, обеспечивают за счет автоматического перевода трехосного карданова подвеса по сигналам от вычислительного устройства из режима работы с «ракетными» углами в режим работы с «самолетными» углами и обратно на заданное (требуемое) число раз с помощью двигателя механизма разворота (ДМР), установленного на дополнительной наружной раме карданова подвеса ГСП, при этом ось вращения дополнительной рамы относительно летательного аппарата устанавливают коллинеарно вертикальной оси летательного аппарата.

[3]

Рассматриваемая схема четырехосного карданова подвеса позволяет обеспечить:

[4]

- совмещение в одном приборе функции двух приборов: определение «ракетных» и «самолетных» углов ориентации изделия, используя предлагаемый механизм разворота рам четырехосного карданова подвеса;

[5]

- улучшение технических характеристик изделия: повышение маневренности изделия, экономии энергетики;

[6]

- сохранение таких же точностных характеристик комплекса командных приборов (ККП), как в схеме с трехосным кардановым подвесом;

[7]

- стабилизация ГСП не изменяется и работает в режиме трехосного гироскопического стабилизатора (ТГС);

[8]

- масса и моменты инерции ГСП не увеличиваются;

[9]

- жесткость конструкции между гироблоками и двигателями стабилизации сохраняется, как и в трехосном ТГС;

[10]

- переключение прибора из режима работы с «ракетными» углами в режим работы с «самолетными» углами и обратно осуществляется разворотом трехосного карданова подвеса относительно корпуса изделия на углы от нуля до ±90 градусов и обратно по сигналам от вычислительного устройства;

[11]

- внешние возмущения на ГСП при работающем и неработающем ДМР передаются через трение в подшипниках, установленных на осях карданова подвеса;

[12]

- при всех режимах работы с «ракетными» и «самолетными» углами, а также при переходе от «ракетных» углов к «самолетным» углам и обратно необходимо следить, чтобы угол Θ2 по промежуточной оси трехосного карданова подвеса не превышал пределов ±70 градусов.

[13]

В патенте RU 2552857 отмечено, что дополнительная рама может иметь различное конструктивное исполнение, обеспечивающее минимальный вес и габариты прибора.

[14]

Анализ показывает, что во всех режимах работы используется один и тот же ТГС, а дополнительная рама служит только для перевода работы ТГС из одного режима в другой.

[15]

Требования к ТГС и к наружной раме различны.

[16]

Основные требования к ТГС:

[17]

- обеспечить заданную максимально возможную точность определения угловой ориентации и движения центра масс изделия относительно инерциального пространства;

[18]

- изготовление ТГС в целом и его комплектующих (акселерометров, гироблоков, датчиков углов, двигателей стабилизации, элементов системы прицеливания) должно быть высокоточным, прецизионным;

[19]

- должны строго выдерживаться режимы температуры, давления, влажности;

[20]

- должна быть обеспечена точная балансировка вокруг осей карданова подвеса ТГС;

[21]

- должна быть обеспечена требуемая жесткость и равножесткость конструкции гироблоков и карданова подвеса;

[22]

- трение в подшипниках гироблоков и карданова подвеса должно быть минимальным;

[23]

- влияние внешних воздействий на прибор (вибраций, магнитно-электрических полей и др.) должно быть сведено к минимуму;

[24]

- габаритно-массовые характеристики должны быть минимальными и удовлетворять требованиям заказчика.

[25]

Следует подчеркнуть, что в рассматриваемой конструкции ТГС для функционирования прибора во всех режимах работы необходимо, чтобы угол поворота вокруг промежуточной оси подвеса ГСП не превышал пределов ±70 градусов.

[26]

Основные требования к дополнительной наружной раме:

[27]

- дополнительная наружная рама должна обеспечивать поворот карданова подвеса ТГС вокруг вертикальной оси изделия на угол от нуля до ±90 градусов и обратно заданное (требуемое) число раз;

[28]

- угол поворота рамы определяют по показаниям датчика угла, который устанавливают на эту ось. Точность этого датчика может быть на порядок ниже точности датчиков углов, которые устанавливают на оси карданова ТГС;

[29]

- двигатель механизма разворота ТГС должен поворачивать карданов подвес относительно изделия со скоростью более 60 градусов в секунду;

[30]

- ось вращения наружной рамы должна быть коллинеарна вертикальной оси изделия и ортогональна наружной оси подвеса ТГС.

[31]

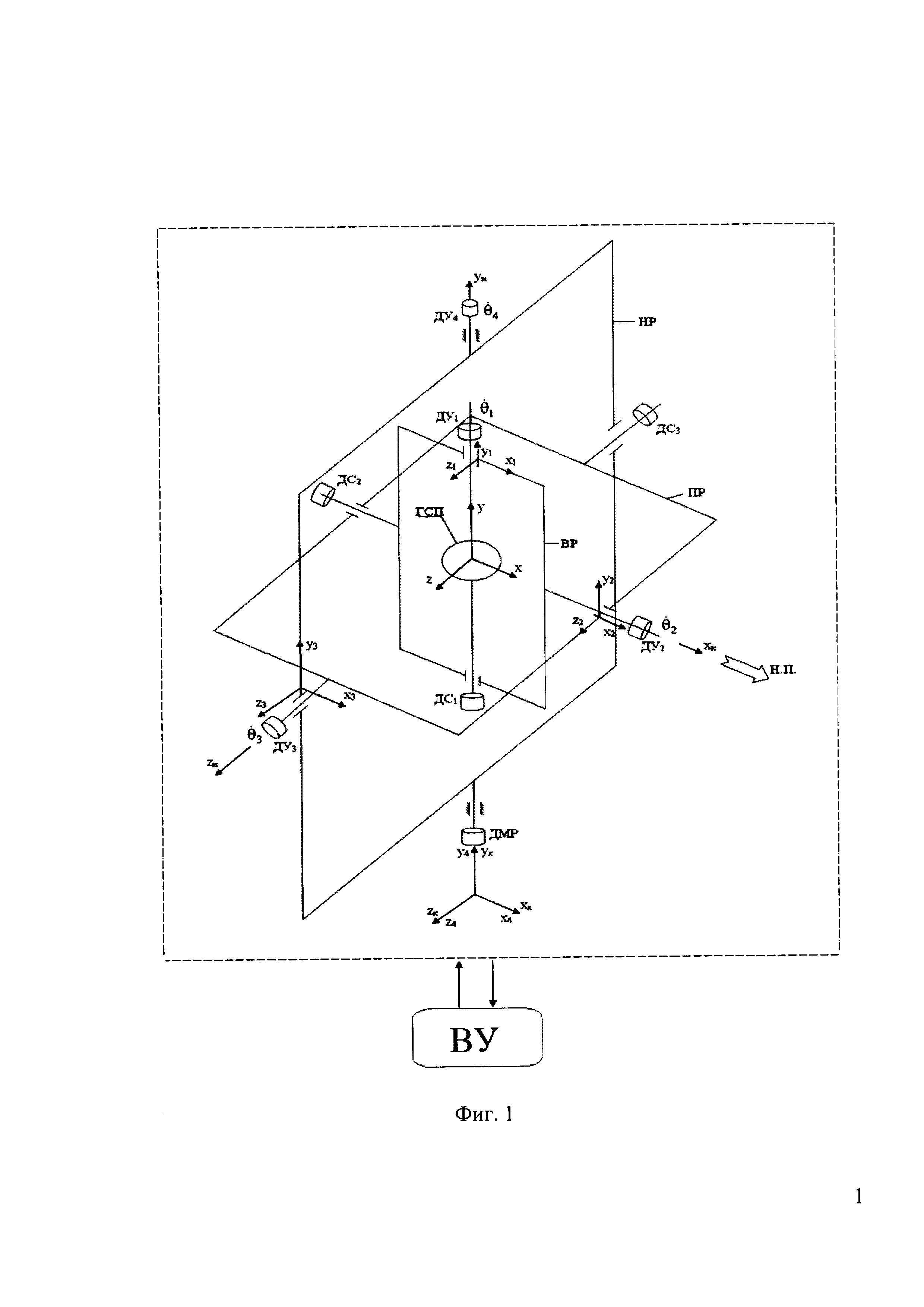
Кинематическая схема крепления дополнительной рамы внутри корпуса изделия приведена на фиг. 1.

[32]

XYZ - система координат, связанная с ГСП;

[33]

X1Y1Z1, X2Y2Z2, X3Y3Z3, X4Y4Z4 - системы координат, связанные с внутренней, промежуточной, наружной и дополнительной наружной рамами;

[34]

XКYКZК - система координат, связанная с корпусом;

[35]

XИYИZИ - система координат, связанная с изделием;

[36]

ДС1, ДС2, ДС3 - двигатели силовой стабилизации;

[37]

ДУ1, ДУ2, ДУ3, ДУ4 - датчики углов (ДУ);

[38]

ДМР - двигатель механизма разворота;

[39]

ВУ - вычислительное устройство;

[40]

Θ1, Θ2, Θ3, Θ4 - углы поворота.

[41]

Дополнительную наружную раму можно установить как внутри корпуса ТГС, так и снаружи.

[42]

Задачей настоящего изобретения является разработка устройства карданова подвеса для увеличения диапазона углов поворота изделия без изменения конструкции ТГС.

[43]

Поставленная задача решается тем, что предложено устройство карданова подвеса для увеличения диапазона углов поворота изделия, включающее ТГС с ВУ, при этом ТГС через закрепленные на нем две дополнительные полуоси с подшипниками установлен на переходной раме, которая жестко закреплена на корпусе изделия и на которой установлен ДМР с редуктором, выходная шестерня которого закреплена на одной из полуосей ТГС, на другой полуоси установлен ДУ, по которому определяют угол поворота карданова подвеса ТГС вокруг вертикальной оси изделия. Вход ДМР соединен с выходом ВУ, выход ДУ соединен с входом ВУ.

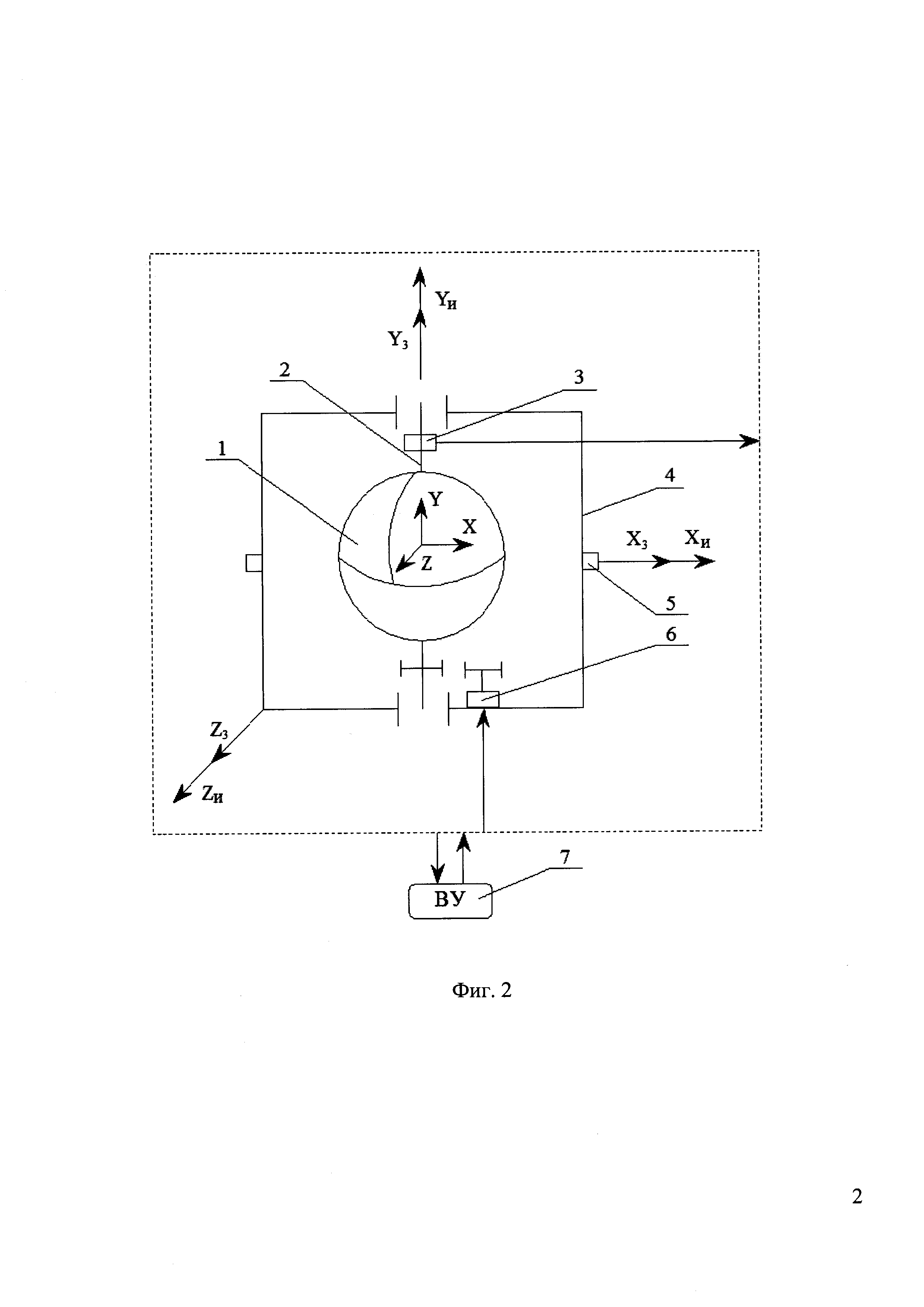
[44]

Предлагаемая кинематическая схема устройства карданова подвеса для увеличения диапазона углов поворота изделия относительно ГСП с креплением дополнительной рамы снаружи корпуса ТГС приведена на фиг. 2, где

[45]

XYZ - система координат, связанная с ГСП;

[46]

X3Y3Z3 - система координат, связанная с переходной рамой;

[47]

XИYИZИ - система координат, связанная с изделием;

[48]

1 - корпус ТГС;

[49]

2 - полуось;

[50]

3 - ДУ;

[51]

4 - переходная рама;

[52]

5 - изделие;

[53]

6 - ДМР с редуктором;

[54]

7 - ВУ.

[55]

Корпус ТГС через закрепленные на нем две полуоси с подшипниками установлен на переходной раме, на которой также установлен ДМР с редуктором, выходная шестерня которого соединена с шестерней, закрепленной на одной из полуосей ТГС. Вход ДМР соединен с выходом вычислительного устройства для автоматического переключения ТГС из режима работы с «ракетными» углами в режим работы с «самолетными» углами и обратно требуемое число раз. Переходная рама жестко закреплена на корпусе изделия.

[56]

На другой полуоси установлен ДУ, по которому определяют угол поворота карданова подвеса ТГС вокруг вертикальной оси изделия.

[57]

В изделиях с «самолетными» углами наружную ось ТГС крепят коллинеарно продольной оси изделия. В изделиях, требующих увеличенных углов поворота вокруг продольной, поперечной и вертикальной осей изделия и работающих в режимах «ракета» - «самолет» и обратно, наружную ось ТГС в исходном положении предпочтительно устанавливать коллинеарно поперечной оси ракеты, как показано на фиг. 2. В этом случае дополнительной наружной рамой предлагаемого устройства является корпус ТГС.

[58]

По информации чувствительных элементов ТГС в ВУ определяют угловую ориентацию и линейное перемещение центра масс изделия относительно инерциального пространства.

[59]

Крепление дополнительной рамы снаружи корпуса ТГС экономически более выгодно, так как можно использовать унифицированный ТГС. Унифицированный ТГС можно использовать в изделиях с ракетными углами, где наружную ось ТГС устанавливают коллинеарно поперечной оси изделия.

[60]

Таким образом, предложено устройство карданова подвеса для увеличения диапазона углов поворота изделия, включающее ТГС с вычислительным устройством. ТГС через закрепленные на нем две дополнительные полуоси с подшипниками установлен на переходной раме, которая жестко закреплена на корпусе изделия. На переходной раме установлен ДМР с редуктором, выходная шестерня которого закреплена на одной из полуосей ТГС. На другой полуоси установлен ДУ, по которому определяют угол поворота ТГС относительно изделия вокруг вертикальной оси. Выход ДУ соединен с входом ВУ, а вход ДМР соединен с выходом ВУ.

[61]

Техническим результатом предлагаемого устройства являются:

[62]

- расширение функциональных возможностей изделия;

[63]

- сохранение точностных характеристик ККП, как и в схемах с ТГС;

[64]

- уменьшение стоимости ККП за счет использования унифицированных ТГС;

[65]

- упрощение изготовления и эксплуатации ККП.

Как компенсировать расходы
на инновационную разработку
Похожие патенты