патент
№ RU 2693596
МПК B60T13/26

ТОРМОЗНАЯ СИСТЕМА СКОРОСТНОГО ЖЕЛЕЗНОДОРОЖНОГО ВАГОНА (ВАРИАНТЫ)

Авторы:
Хохулин Алексей Михайлович Зубков Вениамин Фёдорович Крылова Светлана Борисовна
Все (5)
Номер заявки
2018132140
Дата подачи заявки
10.09.2018
Опубликовано
03.07.2019
Страна
RU
Как управлять
интеллектуальной собственностью
Чертежи 
2
Реферат

Изобретение относится к области железнодорожного транспорта, в частности к скоростным грузовым и пассажирским вагонам. Тормозная система содержит независимо работающие электропневматический воздухораспределитель и пневматический воздухораспределитель грузового типа, соединенный воздуховодами через разобщительный кран с тормозной магистралью, с запасным резервуаром и переключательным клапаном, соединенным с тормозными цилиндрами через авторежим. Электропневматический воздухораспределитель через подводящий воздуховод, выполненный в отдельном кронштейне, соединен через клапан максимального давления с запасным резервуаром по первому варианту и через отводящий воздуховод, выполненный в отдельном кронштейне, подключен к противоположному подводящему отростку переключательного клапана. Во втором варианте тормозной системы дополнительно устанавливается отдельный запасный резервуар, соединенный с тормозной магистралью через обратный клапан и разобщительный кран для увеличения резерва сжатого воздуха и повышения неистощимости тормозов. Достигается повышение эффективности и надежности работы тормозной системы за счет упрощения ее конструкции и обеспечение безъюзового электропневматического торможения. 2 н.п. ф-лы, 2 ил.

Формула изобретения

1. Тормозная система скоростного железнодорожного вагона, включающая тормозную магистраль, электропневматический воздухораспределитель, установленный на отдельном кронштейне, пневматический воздухораспределитель грузового типа, соединенный воздуховодами через разобщительный кран с тормозной магистралью, с запасным резервуаром и с подводящим отростком переключательного клапана, отводящий отросток которого соединен воздуховодом с тормозными цилиндрами через, как минимум, один авторежим, отличающаяся тем, что электропневматический воздухораспределитель соединен подводящим воздуховодом, выполненным в отдельном кронштейне, с клапаном максимального давления, подключенным через разобщительный кран к воздуховоду от запасного резервуара, а противоположный подводящий отросток переключательного клапана соединен с электропневматическим воздухораспределителем посредством воздуховода, выполненного в отдельном кронштейне.

2. Тормозная система скоростного железнодорожного вагона, включающая тормозную магистраль, электропневматический воздухораспределитель, установленный на отдельном кронштейне, пневматический воздухораспределитель грузового типа, соединенный воздуховодами через разобщительный кран с тормозной магистралью, с запасным резервуаром и с подводящим отростком переключательного клапана, отводящий отросток которого соединен воздуховодом с тормозными цилиндрами через, как минимум, один авторежим, отличающаяся тем, что электропневматический воздухораспределитель соединен подводящим воздуховодом, выполненным в отдельном кронштейне, с клапаном максимального давления, подключенным одновременно через разобщительный кран к воздуховоду от запасного резервуара и к воздуховоду от отдельного запасного резервуара, соединенного с тормозной магистралью через обратный клапан и разобщительный кран, а противоположный подводящий отросток переключательного клапана соединен с электропневматическим воздухораспределителем посредством воздуховода, выполненного в отдельном кронштейне.

Описание

[1]

Изобретение относится к скоростному железнодорожному подвижному составу, в частности к скоростным грузовым и пассажирским вагонам, в том числе с низким коэффициентом тары, и касается устройства тормозных систем указанных транспортных средств с электропневматическим торможением.

[2]

Известна тормозная система железнодорожного вагона, содержащая тормозную магистраль, тормозные цилиндры первой и второй тележек, соединенные воздуховодами с тормозной магистралью, воздухораспределитель и электровоздухораспределитель, последовательно соединенные воздуховодами с электровоздухораспределителем отпускной клапан, запасный резервуар, ложный резервуар, выполненный в виде емкости с воздуховодом, и два питательных резервуара, каждый из которых соединен со своим реле давления, соединенных с двумя сбрасывающими клапанами и соответствующими тормозными цилиндрами /1/.

[3]

Недостатками известной тормозной системы является ее сложность, заключающаяся в наличии нескольких различных по объему резервуаров, реле давления, сбрасываюшх клапанов и зависимость величин выходных давлений сжатого воздуха воздухораспределителя или электровоздухораспределителя от объема ложного резервуара, приводящая к тому, что при торможении наполнение сжатым воздухом тормозного цилиндра возможно только с применением реле давления, которое обеспечивает величину давления в тормозном цилиндре, не зависящую от изменения его внутреннего обьема при перемещении поршня, что существенно усложняет тормозную систему.

[4]

Также недостатком тормозной системы является высокая чувствительность к утечкам воздуха в воздуховодах, соединенных с ложным резервуаром, что может привести к неконтролируемому отпуску тормоза.

[5]

Известна тормозная система пассажирского и грузового подвижного состава, содержащая воздухораспределитель для пассажирских вагонов, подключенный магистральным отростком через разобщительный кран к тормозной магистрали, питательным отростком к запасному резервуару и выходным отростком через один из входов переключательного клапана к тормозному цилиндру, второй вход переключательного клапана соединен с электровоздухораспределителем, подключенным к запасному резервуару, дополнительно оснащенная клапаном ограничения давления зарядки запасного резервуара /2/.

[6]

Недостатком известной тормозной системы является снижение безопасности эксплуатации подвижного состава, поскольку установка дополнительного клапана ограничения давления запасного резервуара приведет к быстрой истощимости тормоза - уменьшению реализуемой тормозной силы подвижного состава при длительных, или при частых, следующих одно за другим, торможении и отпуске вследствие недостаточности восполнения запаса сжатого воздуха в запасном резервуаре.

[7]

Известна тормозная система грузового вагона, содержащая пневматический воздухораспределитель, подключенный к тормозной магистрали через разобщительный кран, запасному резервуару, тормозные цилиндры, соединенные с авторежимами, электропневматический воздухораспределитель, соединенный с запасным резервуаром, пневматическим воздухораспределителем и с переключательным клапаном, реле давления, питательные резервуары, подключенные к тормозной магистрали через дроссели и обратные клапаны, ложный тормозной цилиндр, соединенный с переключательным клапаном /3/.

[8]

Недостатком известной тормозной системы является ее сложность, заключающаяся в необходимости наполнения сжатым воздухом тормозных цилиндров с помощью реле давления и необходимости установки питательных резервуаров, подключенных к тормозной магистрали через дроссели и обратные клапаны, а также наличие ложного тормозного цилиндра, что снижает общий уровень надежности тормозной системы.

[9]

Известна тормозная система специального железнодорожного подвижного состава, принятая за прототип, включающая тормозную магистраль, пневматический воздухораспределитель грузового типа, соединенный воздухопроводами через разобщительный кран с упомянутой тормозной магистралью, с запасным резервуаром и с двумя тормозными цилиндрами через, как минимум, один авторежим, электропневматический воздухораспределитель, установленный на отдельном кронштейне, соединенный посредством обратного клапана и редуктора с запасным резервуаром, при этом пневматический воздухораспределитель грузового типа соединен с двумя тормозными цилиндрами через, как минимум, один авторежим посредством переключательного клапана, противоположный отросток которого соединен с воздухопроводом тормозных цилиндров электропневматического воздухораспределителя /4/.

[10]

Недостатком известной тормозной системы является то, что для обеспечения безъюзового (без заклинивания колесных пар тележек) электропневматического торможения специального железнодорожного подвижного состава с потребным максимальным тормозным нажатием величина давления сжатого воздуха в тормозном цилиндре ограничивается с помощью двух тормозных приборов - редуктора, отрегулированного на допустимое давление в тормозном цилиндре, и обратного клапана, установленных в воздухопроводе от запасного резервуара перед электропневматическим воздухораспределителем, что приводит к сложности и удорожанию тормозной системы.

[11]

Техническим результатом заявленного изобретения является повышение эффективности и надежности работы тормозной системы скоростного железнодорожного вагона в результате упрощения ее конструкции, обеспечение безъюзового электропневматического торможения с использованием клапана максимального давления, повышение неистощимости тормозов за счет применения пневматического воздухораспределителя грузового типа в первом и во втором вариантах тормозной системы, и применения отдельного запасного резервуара во втором варианте тормозной системы.

[12]

И в первом и во втором вариантах тормозной системы не требуется применение ряда дополнительных компонентов, используемых в известных тормозных системах, необходимых для обеспечения установленных нормативами параметров при торможении и отпуске скоростного железнодорожного вагона (например, таких, как реле давления, редуктор, питательный и ложный резервуары).

[13]

Указанный технический результат достигается тем, что в первом варианте тормозной системы скоростного железнодорожного вагона, включающей тормозную магистраль, электропневматический воздухораспределитель, установленный на отдельном кронштейне, пневматический воздухораспределитель грузового типа, соединенный воздуховодами через разобщительный кран с тормозной магистралью, с запасным резервуаром и с подводящим отростком переключательного клапана, отводящий отросток которого соединен воздуховодом с тормозными цилиндрами через, как минимум один авторежим, электропневматический воздухораспределитель соединен подводящим воздуховодом, выполненным в отдельном кронштейне, с клапаном максимального давления, подключенным через разобщительный кран к воздуховоду от запасного резервуара, а противоположный подводящий отросток переключательного клапана соединен с электропневматическим воздухораспределителем посредством воздуховода, выполненного в отдельном кронштейне.

[14]

Также технический результат достигается тем, что во втором варианте тормозной системы скоростного железнодорожного вагона, включающей тормозную магистраль, электропневматический воздухораспределитель, установленный на отдельном кронштейне, пневматический воздухораспределитель грузового типа, соединенный воздуховодами через разобщительный кран с тормозной магистралью, с запасным резервуаром и с подводящим отростком переключательного клапана, отводящий отросток которого соединен воздуховодом с тормозными цилиндрами через, как минимум один авторежим, электропневматический воздухораспределитель соединен подводящим воздуховодом, выполненным в отдельном кронштейне, с клапаном максимального давления, подключенным одновременно через разобщительный кран к воздуховоду от запасного резервуара и к воздуховоду от отдельного запасного резервуара, соединенного с тормозной магистралью через обратный клапан и разобщительный кран, а противоположный подводящий отросток переключательного клапана соединен с электропневматическим воздухораспределителем посредством воздуховода, выполненного в отдельном кронштейне.

[15]

Сущность предлагаемого изобретения поясняется чертежами:

[16]

- на фиг. 1 схематически изображена тормозная система скоростного железнодорожного вагона по первому варианту;

[17]

- на фиг. 2 схематически изображена тормозная система скоростного железнодорожного вагона по второму варианту.

[18]

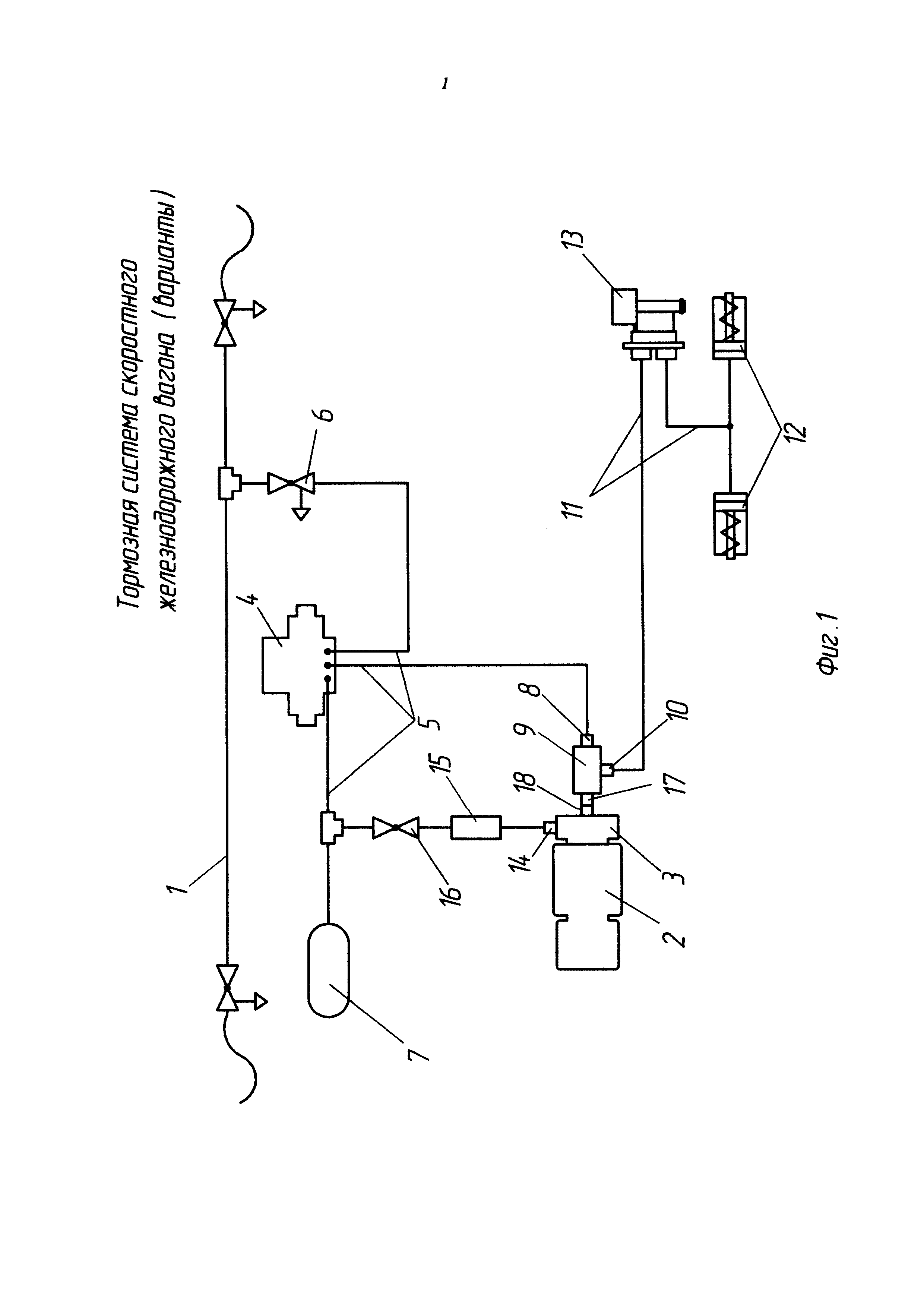
Тормозная система скоростного железнодорожного вагона по первому варианту (фиг. 1) содержит тормозную магистраль 1, электропневматический воздухораспределитель 2, установленный на отдельном кронштейне 3, пневматический воздухораспределитель 4 грузового типа, соединенный воздуховодами 5 через разобщительный кран 6 с тормозной магистралью 1, с запасным резервуаром 7 и с подводящим отростком 8 переключательного клапана 9, отводящий отросток 10 которого соединен воздуховодом 11 с тормозными цилиндрами 12 через, как минимум, один авторежим 13. Электропневматический воздухораспределитель 2 через подводящий воздуховод 14, выполненный в отдельном кронштейне 3, соединен с клапаном 15 максимального давления, подключенным через разобщительный кран 16 к воздуховоду 5 от запасного резервуара 7 к воздухораспределителю 4 грузового типа, противоположный подводящий отросток 17 переключательного клапана 9 соединен с электропневматическим воздухораспределителем 2 посредством воздуховода 18, выполненного в отдельном кронштейне 3.

[19]

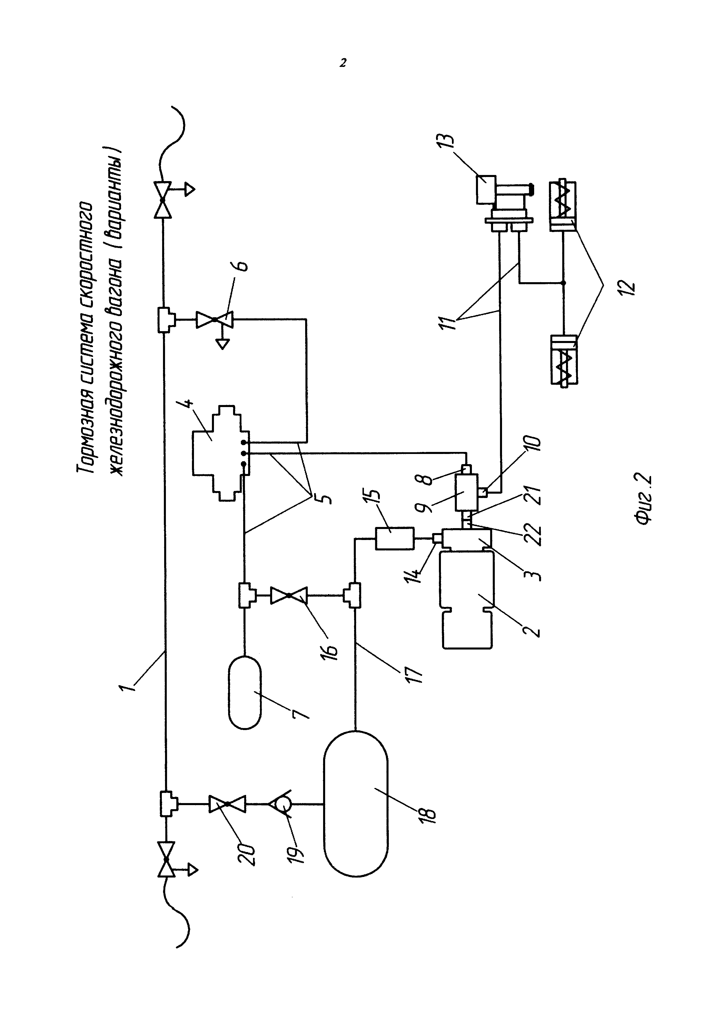
Тормозная система скоростного железнодорожного вагона по второму варианту (фиг. 2), содержит тормозную магистраль 1, электропневматический воздухораспределитель 2, установленный на отдельном кронштейне 3, пневматический воздухораспределитель 4 грузового типа, соединенный воздуховодами 5 через разобщительный кран 6 с тормозной магистралью 1, с запасным резервуаром 7 и с подводящим отростком 8 переключательного клапана 9, отводящий отросток 10 которого соединен воздуховодом 11 с тормозными цилиндрами 12 через, как минимум, один авторежим 13. Электропневматический воздухораспределитель 2 через подводящий воздуховод 14, выполненный в отдельном кронштейне 3, соединен с клапаном 15 максимального давления, который одновременно подключен через разобщительный кран 16 к воздуховоду 5, соединяющему запасный резервуар 7 с воздухораспределителем 4 грузового типа, и через воздуховод 17 к отдельному запасному резервуару 18, соединенному через обратный клапан 19 и разобщительный кран 20 с тормозной магистралью 1. Противоположный подводящий отросток 21 переключательного клапана 9, соединен с электропневматическим воздухораспределителем 2 посредством воздуховода 22, выполненного в отдельном кронштейне 3.

[20]

Тормозная система скоростного железнодорожного вагона по первому варианту (фиг. 1) работает следующим образом.

[21]

При установлении зарядного давления в тормозной магистрали 1 по воздуховоду 5 через открытый разобщительный кран 6, пневматический воздухораспределитель 4 грузового типа происходит наполнение сжатым воздухом запасного резервуара 7.

[22]

При торможении автоматическим пневматическим тормозом сжатый воздух из запасного резервуара 7 поступает через воздухораспределитель 4 грузового типа по воздуховоду 5 к подводящему отростку 8 переключательного клапана 9, от которого через отводящий отросток 10 по воздуховоду 11 через, как минимум, один авторежим 13 к тормозным цилиндрам 12, воздействующим на тормозные рычажные передачи соответствующих тележек (на чертеже не показаны).

[23]

При электропневматическом торможении сжатый воздух из запасного резервуара 7 поступает через открытый разобщительный кран 16, клапан 15 максимального давления, по подводящему воздуховоду 14, выполненному в отдельном кронштейне 3, к электропневматическому воздухораспределителю 2, а от него через воздуховод 18, выполненный в отдельном кронштейне 3, к противоположному подводящему отростку 17 переключательного клапана 9, от которого через отводящий отросток 10 по воздухопроводу 11 через, как минимум, один авторежим 13 к тормозным цилиндрам 12, воздействующим на тормозные рычажные передачи соответствующих тележек.

[24]

Тормозная система скоростного железнодорожного вагона по второму варианту (фиг. 2) работает следующим образом.

[25]

При установлении зарядного давления в тормозной магистрали 1 по воздухопроводу 5 через открытый разобщительный кран 6, пневматический воздухораспределитель 4 грузового типа сжатый воздух поступает в запасный резервуара 7 и через открытый разобщительный кран 16 по воздуховоду 17 в отдельный запасный резервуар 18. Одновременно сжатый воздух из тормозной магистрали 1 поступает в отдельный запасный резервуар 18 через открытый разобщительный кран 20 и обратный клапан 19.

[26]

При торможении автоматическим пневматическим тормозом сжатый воздух из запасного резервуара 7 и через открытый разобщительный кран 16 из отдельного запасного резервуара 18 поступает через пневматический воздухораспределитель 4 грузового типа по воздуховоду 5 к подводящему отростку 8 переключательного клапана 9, от которого через отводящий отросток 10 по воздуховоду 11 через, как минимум, один авторежим 13 к тормозным цилиндрам 12, воздействующим на тормозные рычажные передачи соответствующих тележек (на чертеже не показаны).

[27]

При электропневматическом торможении сжатый воздух из запасного резервуара 7 через открытый разобщительный кран 16 и из отдельного запасного резервуара 18 поступает через клапан 15 максимального давления, подводящий воздуховод 14, выполненный в отдельном кронштейне 3, к электропневматическому воздухораспределителю 2, а от него через воздуховод 22, выполненный в отдельном кронштейне 3, к противоположному подводящему отростку 21 переключательного клапана 9, от которого через отводящий отросток 10 по воздуховоду 11 через, как минимум один авторежим 13 к тормозным цилиндрам 12, воздействующим на тормозные рычажные передачи соответствующих тележек.

[28]

Клапан 15 максимального давления и в первом, и во втором вариантах обеспечивает ограничение величины максимального давления сжатого воздуха в тормозных цилиндрах 12, при которой выполняется условие безъюзового торможения скоростного железнодорожного вагона при максимальном тормозном нажатии, требуемом нормативами для обеспечения допустимых скоростей движения поездов.

[29]

Таким образом, в тормозной системе скоростного железнодорожного вагона используются два независимо работающих воздухораспределителя: пневматический грузового типа и электропневматический, которые в первом варианте тормозной системы подключены к единому запасному резервуару 7, наполняемому воздухораспределителем 4 из тормозной магистрали 1, а во втором варианте тормозной системы имеется дополнительный резерв сжатого воздуха, находящегося в отдельном запасном резервуаре 18, непрерывно наполняемом сжатым воздухом из тормозной магистрали 1 через разобщительный кран 20 и обратный клапан 19, что повышает неистощимость тормоза и безопасную эксплуатацию скоростного железнодорожного вагона.

[30]

При работе заявленной тормозной системы не требуется применение ряда дополнительных компонентов, используемых в существующих тормозных системах скоростных железнодорожных вагонов с электропневматическим торможением, например, таких как реле давления, редуктор, питательный и ложный резервуары, а следовательно, упрощается конструкция тормозной системы и повышается надежность эксплуатации скоростного железнодорожного вагона.

[31]

Тормозная система скоростного железнодорожного вагона благодаря наличию клапана максимального давления и, как минимум, одного авторежима позволяет применять ее как на грузовых, так и на пассажирских вагонах, имеющих весьма низкий коэффициент тары с обеспечением безъюзового электропневматического или пневматического торможения.

[32]

Скоростные железнодорожные вагоны, оборудованные предложенной тормозной системой можно использовать при пересылках как скоростными пассажирскими локомотивами и в составе скоростных поездов, где особенно требуется электропневматическое торможение, так и при необходимости в составе обычного грузового поезда с грузовыми локомотивами, что весьма востребовано и рентабельно на железнодорожной инфраструктуре.

[33]

В результате применения предложенной тормозной системы скоростного железнодорожного вагона на опытных скоростных вагонах-платформах модели 13-6954 с низким коэффициентом тары удалось обеспечить безъюзовое торможение при максимальных потребных силах тормозного нажатия во всем диапазоне скоростей начала торможения, включая конструкционную, при всех допускаемых осевых нагрузках.

[34]

Источники информации:

[35]

1. RU, патент на полезную модель №128586 U1 «Тормозная система железнодорожного вагона», МПК В61Н 11/02, опубл. 27.05.2013

[36]

2. UA, патент на изобретение №93923 С2 «Тормозная система подвижного состава (варианты) и клапан ограничения давления зарядки запасного резервуара», МПК В60Т 17/04, опубл. 25.03.2011

[37]

3. RU, патент на полезную модель №122960 U1 «Тормозная система грузового вагона», МПК В60Т 13/26, опубл. 20.12.2012

[38]

4. RU, патент на изобретение №2653224 С2 «Тормозная система специального железнодорожного подвижного состава», МПК В61Т 13/26, опубл. 07.05.2018.

Как компенсировать расходы
на инновационную разработку
Похожие патенты