патент
№ RU 2576078
МПК F16L59/14

ТЕПЛОИЗОЛИРОВАННАЯ ТРУБА И УЧАСТОК ТРУБОПРОВОДА С ГИДРОЗАЩИТОЙ ПО НАРУЖНОЙ ПОВЕРХНОСТИ И ПО ТОРЦАМ

Авторы:
Павлюк Евгений Сергеевич (BY)
Номер заявки
2014134562/06
Дата подачи заявки
28.02.2014
Опубликовано
27.02.2016
Страна
RU
Как управлять
интеллектуальной собственностью
Чертежи 
4
Реферат

Группа изобретений относится к области производства предварительно изолированных труб. Теплоизолированная труба содержит внутреннюю рабочую трубу, размещенную во внешней гидрозащитной трубе-оболочке. Межтрубное пространство заполнено слоем теплоизоляции и закрыто торцевыми заглушками с осевыми отверстиями под рабочую трубу, неразъемно и герметично соединенными с внешней гидрозащитной трубой-оболочкой. В каждой заглушке выполнены отверстия для заливки вспенивающейся теплоизоляционной композиции. Для выхода газов при вспенивании и отверждении композиции в заглушках выполнено по меньшей мере одно перекрытое перфорированным участком отверстие. Также в заглушках выполнены отверстия для вывода элементов системы мониторинга состояния слоя теплоизоляции. Все отверстия в торцевых заглушках выполнены с возможностью закрытия пробками. Технический результат: ограничение растекания рабочей жидкости при аварии за счет герметизации слоя теплоизоляции по торцам каждой трубы. 2 н. и 8 з.п. ф-лы, 8 ил.

Формула изобретения

1. Теплоизолированная труба, содержащая внутреннюю рабочую трубу, размещенную во внешней гидрозащитной трубе-оболочке с образованием конструкции «труба в трубе», слой теплоизоляции, заполняющий межтрубную полость между упомянутыми трубами, а также торцевые заглушки, каждая из которых выполнена с осевым отверстием под рабочую трубу и установлена на рабочей трубе, при этом в каждой торцевой заглушке выполнены отверстия, используемые при изготовлении теплоизолированной трубы, по меньшей мере, одно из которых предназначено для заливки вспенивающейся теплоизоляционной композиции, и, по меньшей мере, еще одно отверстие - для сообщения межтрубной полости со слоем теплоизоляции с внешней средой, отличающаяся тем, что торцевые заглушки неразъемно и герметично соединены с внешней гидрозащитной трубой-оболочкой конструкции «труба в трубе», при этом в каждой торцевой заглушке образовано, как минимум, одно отверстие, предназначенное для вывода элементов системы мониторинга состояния слоя теплоизоляции, кроме того, не менее одного отверстия для сообщения с внешней средой межтрубной полости, заполненной слоем теплоизоляции, перекрыто перфорированным участком, причем все отверстия в торцевых заглушках выполнены с возможностью закрытия пробками.

2. Теплоизолированная труба по п.1, отличающаяся тем, что торцевые заглушки выполнены в форме стакана с конической стенкой и плоским кольцом по периметру стенки, при этом коническая стенка установлена во внутреннюю полость гидрозащитной трубы-оболочки, в дне стакана выполнено осевое отверстие с посадочной цилиндрической поверхностью под рабочую трубу, причем плоское кольцо, соответствующее по размеру в радиальном направлении толщине стенки гидрозащитной трубы-оболочки, неразъемно и герметично соединено с торцом гидрозащитной трубы-оболочки.

3. Теплоизолированная труба по п.1, отличающаяся тем, что каждое отверстие, имеющееся в заглушке, окружено полым цилиндрическим выступом с внутренней резьбой, в который установлена резьбовая пробка, при этом отверстие для сообщения межтрубной полости с внешней средой, перекрытое перфорированным участком, выполнено с диаметром отверстий перфорации перфорированного участка 0,1÷3,0 мм, причем перфорированный участок выполнен на конце цилиндрического выступа, а с наружной стороны заглушки в цилиндрический выступ с перфорированным участком ввинчена резьбовая пробка.

4. Теплоизолированная труба по п.1, отличающаяся тем, что для увеличения жесткости конструкции заглушки отверстие для заливки вспенивающейся теплоизоляционной композиции выполнено с отбортовкой и внутренней резьбой, в которую ввинчена резьбовая пробка.

5. Теплоизолированная труба по п.1, отличающаяся тем, что торцевая заглушка выполнена монолитной или составной из нескольких сборных частей.

6. Теплоизолированная труба по п.4, отличающаяся тем, что резьбовая пробка выполнена с пазом под отвертку и унифицирована для всех отверстий, включая отверстие с перфорированным участком.

7. Теплоизолированная труба по п.1, отличающаяся тем, что неразъемное соединение торцевой заглушки с гидрозащитной трубой-оболочкой выполнено сваркой или клеевым соединением.

8. Теплоизолированная труба по п.1, отличающаяся тем, что гидрозащитная труба-оболочка, и/или рабочая труба, и/или торцевые заглушки, и/или резьбовые пробки выполнены из полимерных материалов.

9. Теплоизолированная труба по п.1, отличающаяся тем, что торцевые заглушки и герметизирующие пробки выполнены из материалов, позволяющих производить их вторичную переработку.

10. Участок трубопровода с гидрозащитой по наружной поверхности и по торцам, отличающийся тем, что он образован теплоизолированной трубой по любому из пп. 1-9.

Описание

[1]

Изобретение относится к области производства предварительно изолированных труб и фасонных изделий, применяемых в трубопроводах в теплоэнергетике, при строительстве тепловых сетей, сетей холодного и горячего водоснабжения и т.п.

[2]

Энергоэффективные теплоизолированные трубы получили широкое распространение в различных отраслях деятельности человека.

[3]

Предварительно изолированная труба представляет собой единую конструкцию, в виде «труба в трубе», состоящую из внутренней рабочей (металлической или полимерной) трубы с центрирующими опорами, нанесенного на рабочую трубу слоя теплоизоляции, системы оперативно дистанционного контроля (СОДК) или системы обнаружения утечек (СОУ) и внешней гидрозащитной трубы-оболочки.

[4]

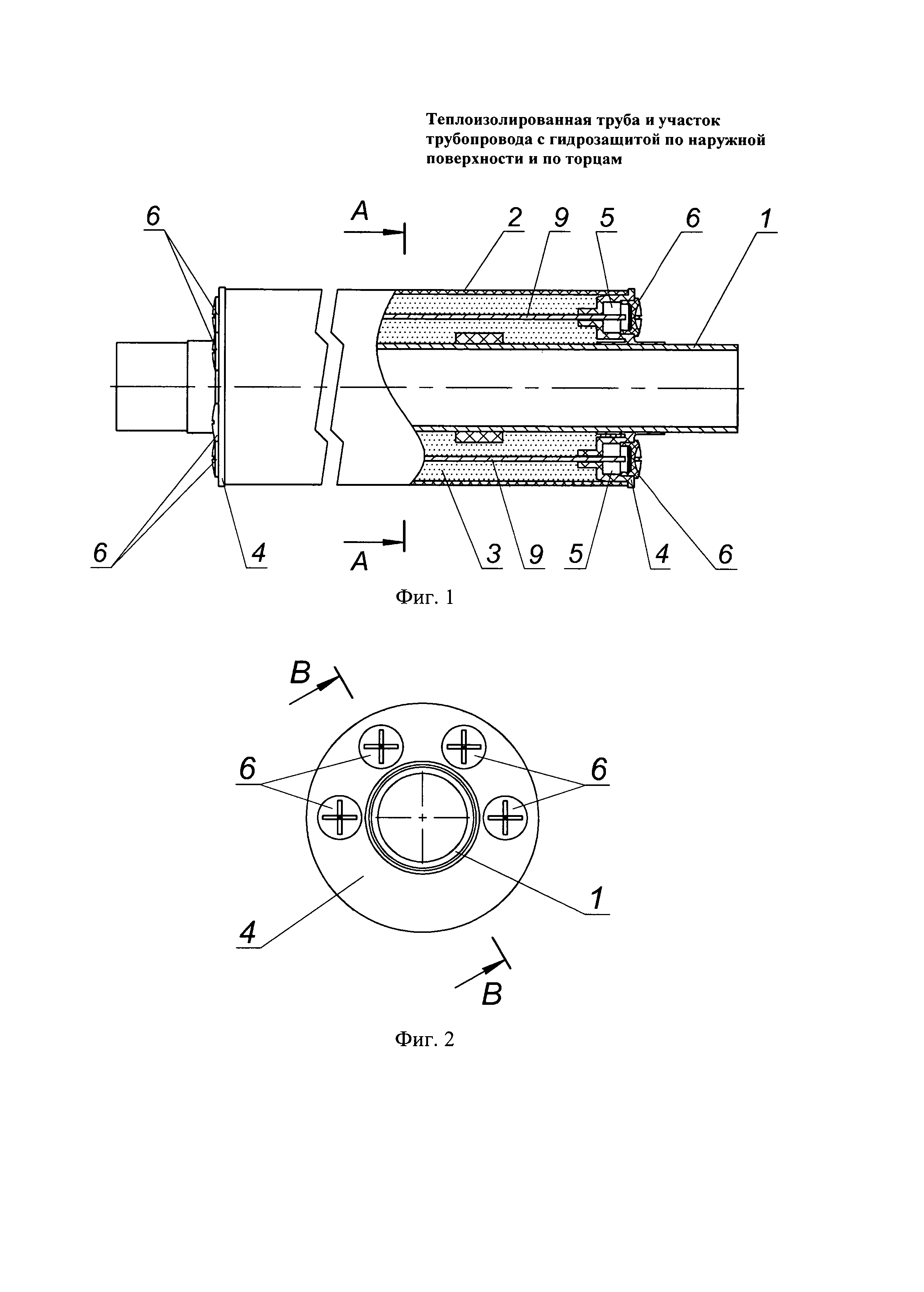
Предварительно изолированные фасонные изделия для трубопроводов (далее - фасонные изделия) обладают аналогичной конструкцией и предназначены для обеспечения изменения направления, слияния или деления, расширения или сужения потока теплоносителя. В качестве фасонных изделий используются отводы, переходы, тройники и другие элементы, необходимые для полноценной работы трубопровода или трубопроводной системы.

[5]

Основными недостатками общепринятых конструкций теплоизолированных труб и фасонных изделий являются: увлажнение слоя изоляции при разгерметизации; незащищенность открытых участков изоляции от воздействия негативных атмосферных факторов, в частности ультрафиолетовое излучение, окислительные процессы, намокание при хранении и т.д.; наличие по торцам теплоизолированной трубы открытых участков, что приводит к механическому повреждению слоя теплоизоляции, например, при транспортировке, монтаже.

[6]

В отдельных случаях для снижения воздействий вышеуказанных негативных факторов и сохранения качественных параметров, слой изоляции по торцам труб и фасонных изделий защищают термоусаживаемыми манжетами или обрабатывают соответствующими мастиками, что приводит к увеличению трудоемкости, повышению материалоемкости и себестоимости готовой продукции.

[7]

Известна теплоизолированная труба, изготовленная способом по заявке на выдачу патента США на изобретение US 2007074778, 05.04.2007. Данная теплоизолированная труба содержит коаксиальные установленные трубы, скользящие относительно друг друга с регулируемым трением. При этом в процессе изготовления теплоизолированной трубы наносят пленку без клея и смазочных материалов на внутреннюю поверхность внешней трубы и/или на внешнюю поверхность внутренней рабочей трубы, закрепляют на внутренней рабочей трубе серию распорок (центраторов), изготовленных из теплоизоляционного материала, соединяют внешнюю трубу с внутренней несущей трубой и центрируют внешнюю трубу на внутренней трубе, производят монтаж уплотнительных заглушек на концах указанных труб, соединяют заглушки с трубами, подают через заглушку или заглушки жидкий вспенивающийся материал, который в результате последующего вспенивания полностью заполняет полость между трубами, вспененному теплоизоляционному материалу дают достаточно затвердеть, после чего снимают заглушки, в результате получают готовые трубы.

[8]

Известна теплоизолированная труба (патент Российской Федерации на изобретение RU 2273787, 20.09.2004), содержащая рабочую трубу, оболочку и слой теплоизоляции в кольцевом зазоре между ними. При использовании в качестве теплоизоляции вспенивающегося материала, например пенополиуретана, кольцевые зазоры на торцах закрывают заглушками, которые плотно герметизируют фланцами, зафиксированными стопорными болтами на рабочей трубе. Затем через отверстие заполняют кольцевой зазор вспенивающимся теплоизолирующим материалом.

[9]

В описанных выше аналогах для предотвращения выхода вспенивающихся компонентов изоляции используют съемные заглушки, фланцы и прижимные элементы для обеспечения герметичности между внутренней рабочей (металлической или полимерной) трубой и внешней гидрозащитной трубой-оболочкой. К сожалению, такие заглушки обладают низкой технологичностью и содержат ряд отрицательных признаков, таких как трудоемкость технологических операций по установке и/или демонтажу, материалоемкость, повышенная масса и др., а в процессе производства изолированных труб и фасонных изделий это приводит к выходу из межтрубного пространства вспенивающейся теплоизоляции на стадии образования и полимеризации, перерасходу основного вида сырья, появлению дополнительных отходов, увеличению себестоимости продукции; воздействию негативных, атмосферных факторов на открытые участки изоляции и т.д.

[10]

Известна теплоизолированная труба (патент Российской Федерации на изобретение RU 2221184, 10.01.2004), которая включает рабочую трубу, оболочку, центраторы, установленные в кольцевом зазоре между оболочкой и трубой, заполненном теплоизолирующим материалом - воздухом, и кольцевые заглушки, установленные на торцах. Кольцевые заглушки выполнены в виде усеченного конуса с наружной и внутренней конусностью, большими основаниями направленными противоположно, при этом система оболочка-заглушки-труба в сборе образует герметичную кольцевую камеру, заполненную воздухом, а для сброса избыточного давления, образуемого от нагрева воздуха при работе, оболочка снабжена компенсационным клапаном. При изготовлении теплоизолированной трубы к рабочей трубе прикрепляют центраторы, затем рабочую трубу с центраторами коаксиально устанавливают внутри оболочки с вмонтированным компенсационным клапаном. Затем герметизируют торцы заглушками, имеющими форму усеченного конуса, заглушки по торцам устанавливают так, что они большими основаниями направлены в противоположные стороны. В связи с тем, что в данной конструкции теплоизолирующим материалом служит воздух, по конусным поверхностям заглушек наносят герметизирующий состав, а у оболочки швы в скреплениях также герметизируют герметизирующим составом.

[11]

Данный аналог не позволяет получить теплоизолированную трубу, в которой: в качестве компонентов образования слоя теплоизоляции выступают жидкие материалы, образующие пенополимеры различных типов: без использования герметизирующих материалов и компенсационного клапана, а также в которой торцевые заглушки выполняют несколько функций, первая из которых технологическая, связанная с изготовлением трубы, вторая функция той же заглушки - конструктивная, в соответствии с которой заглушка используется как элемент готовой трубы, обеспечивающий, с одной стороны, герметизацию теплоизолирующего слоя, с другой стороны - возможность доступа к слою теплоизоляции и т.д.

[12]

Известна теплоизолированная труба, изготовленная способом в соответствии с международной заявкой WO 2012004135, 12.01.2012 (ближайший аналог). Данная теплоизолированная труба содержит внутреннюю (рабочую) трубу из металла или закрытопористого полимера, теплоизоляционный материал и наружную трубу из материала на полимерной основе. Теплоизолированная труба изготавливается в разъемной форме путем формования теплоизоляционного материала на внутренней трубе. Перед помещением в разъемную форму внутреннюю (рабочую) трубу заключают в трубчатый гибкий чехол, открытый по концам и охватывающий внутреннюю трубу. Трубчатый гибкий чехол предварительно вакуумируют, чтобы он плотно охватывал внутреннюю (рабочую) трубу. На концах внутренней трубы предварительно устанавливают торцевые заглушки, закрепленные на внутренней трубе, а гибкий трубчатый чехол выводят наружу с охватом внешней периферийной поверхности торцевых заглушек или оставляют концы чехла внутри. Контактные поверхности между внутренней трубой, торцевыми заглушками и гибким трубчатым чехлом герметизируют, предпочтительно, до начала процесса формования. После закрытия формы вокруг внутренней трубы, полость между внутренней трубой и мешком может быть заполнена сжатым воздухом или газом, например инертным газом. Для того, чтобы жидкий теплоизоляционный материал вспенивался должным образом, торцевые заглушки выполнены с вентиляционными отверстиями. В торцевых заглушках может содержаться, по меньшей мере, одно отверстие для впрыска и, по крайней мере, одно вентиляционное отверстие. После этого внутреннюю трубу помещают в разъемную форму, далее впрыскивают в пространство между внутренней трубой и гибким трубчатым чехлом компоненты теплоизоляционного материала в жидком состоянии, в результате в этом пространстве происходит вспенивание теплоизоляционного материала и его последующее затвердевание с образованием твердого слоя теплоизоляции. В альтернативном варианте гибкий трубчатый чехол размещен вокруг всей внутренней трубы таким образом, что края чехла помещают между внутренней трубой и торцевыми заглушками. Теплоизоляционный материал в жидком состоянии вводят с помощью трубки или аналогичного приспособления, присоединенного одним концом к гибкому трубчатому чехлу. В результате весь теплоизоляционный материал в процессе формования будет заключен внутрь чехла. В ходе вспенивания под воздействием увеличивающегося в объеме вспенивающегося теплоизоляционного материала гибкий трубчатый чехол прижимается к внутренней стенке разъемной формы. Верхняя часть формы, как и заглушка, имеет вентиляционные отверстия для стравливания избыточного давления, возникающего при вспенивании теплоизоляционного материала. Поверхности торцевых заглушек, обращенные к полости, заполненной теплоизоляционным материалом, могут иметь различную геометрию в зависимости от типа изготавливаемой изолированной трубы, например, они могут быть вертикальными, или наклонными, или иметь параболическую форму с вершиной, расположенной на оси внутренней (рабочей) трубы. Изготовленная изолированная внутренняя труба готова к соединению ее с внешней трубой для защиты изоляционного материала. Следующая операция - внутреннюю трубу с изоляционным слоем и внешнюю трубу соединяют между собой через гибкий трубчатый чехол, охватывающий теплоизоляцию с заключенной в нее внутренней трубой. Гибкий трубчатый чехол может быть покрыт адгезионным составом и/или обработан коронным разрядом для получения лучшей адгезии между ним, изолирующим слоем и внешней трубой.

[13]

Данный аналог позволяет получить теплоизолированную трубу со слоем теплоизоляции, герметично заключенным между наружной трубой, внутренней (рабочей) трубой и торцевыми заглушками, однако, данный процесс производства занимает две отдельные технологические стадии: первая из которых - герметизация и нанесение слоя изоляции на рабочую трубу; вторая - нанесение слоя гидроизоляции посредством экструзии. При этом такая конструкция, во-первых, сложна в изготовлении, так как для ее изготовления требуются специальные формы на каждый типоразмер труб; необходимо проведение дополнительных операций, связанных с установкой гибкого трубчатого элемента, вакуумирования; предполагается использование дополнительных материалов в виде гибкого трубчатого чехла, при этом данная конструкция не предусматривает возможности визуального контроля теплоизоляции без снятия торцевой заглушки.

[14]

Задачей, решаемой изобретением, является создание конструкции теплоизолированной трубы, представляющей собой отдельный герметичный участок трубопровода с гидрозащитой по наружной поверхности и по торцам, простой в изготовлении с улучшенными технологическими свойствами, обеспечивающими сокращение числа технологических операций и уменьшение производственных отходов, а также с улучшенными эксплуатационными параметрами, обеспечивающими увеличение долговечности трубопроводных систем, в которых используются теплоизолированные трубы заявленной конструкции.

[15]

Поставленная задача решается за счет того, что с торцевых сторон теплоизолированной трубы и/или фасонного изделия установлены одноразовые торцевые заглушки заявленной конструкции выполняющие необходимые функции, связанные с технологическим процессом производства, в процессе которого теплоизолированная труба получена без использования (нанесения) герметизирующих составов, без применения дополнительных операций и материалов, а также, с защитой слоя теплоизоляции от воздействия негативных факторов, возникающих при хранении, транспортировке, монтаже и эксплуатации теплоизолированной трубы.

[16]

Как и ближайший аналог, заявленное техническое решение - теплоизолированная труба представляет собой конструкцию «труба в трубе» и содержит внутреннюю рабочую трубу, внешнюю гидрозащитную трубу-оболочку, размещенный в кольцевой полости между ними слой теплоизоляции, а также торцевые заглушки, каждая из которых выполнена с осевым отверстием под рабочую трубу и установлена на рабочей трубе со стороны ее торцов, при этом в торцевой заглушке выполнены отверстия, по меньшей мере, одно из которых предназначено для заливки вспенивающейся теплоизоляционной композиции при изготовлении теплоизолированной трубы, а другое (одно, два или более) - для сообщения полости размещения слоя теплоизоляции с внешней средой (атмосферой) в процессе вспенивания и отверждения теплоизоляционной композиции при изготовлении теплоизолированной трубы.

[17]

Отличительными признаками заявленной теплоизолированной трубы, которые обеспечивают решение поставленной задачи, является то, что из нее может быть образован отдельный участок трубопровода с гидрозащитой по наружной поверхности и по торцам, при этом неразъемное соединение торцевых заглушек с гидрозащитной трубой-оболочкой (сваркой, склеиванием и т.п.), что создает замкнутую полость между элементами конструкции (рабочая труба - внешняя гидрозащитная труба - оболочка - заглушки), при этом в заглушке отверстие (или отверстия) для сообщения с внешней средой полости, где размещен слой теплоизоляции (между внешней трубой-оболочкой и рабочей трубой), перекрыто перфорированным участком (например, плоским элементом с перфорацией любой формы или сеткой с ячейками определенного размера), заглушка выполнена с одним, двумя или более дополнительными отверстиями, предназначенными для вывода элементов (проводников, шины данных и т.п.) системы мониторинга состояния слоя теплоизоляции (СОДК, СОУ), все отверстия в заглушке, включая дополнительные, выполнены как правило, одинакового размера с возможностью герметичного закрытия пробками одинакового размера, а готовое изделие представляет трубу как отдельный, герметичный элемент (участок) трубопровода с гидрозащитой не только по наружной поверхности, но и по торцам. Каждое отверстие в заглушке с внутренней ее стороны окружено полым, преимущественно цилиндрическим, выступом с внутренней резьбой, в который установлена резьбовая пробка, при этом в отверстии для сообщения межтрубной полости с внешней средой, перфорированный участок выполнен на конце цилиндрического выступа, а с наружной стороны заглушки в цилиндрический выступ с перфорированным участком ввинчена резьбовая пробка. Цилиндрические выступы вокруг отверстий в заглушке могут выполняться без резьбы, в этом случае пробка устанавливается любым другим известным способом

[18]

С внутренней стороны заглушки в зоне расположения дополнительных отверстий вокруг упомянутых отверстий выполнены полости, образованные цилиндрическими выступами (возможна небольшая конусность наружной поверхности выступа) в виде полого стакана с небольшим отверстием в дне для прохождения элементов системы мониторинга состояния слоя теплоизоляции, а стенки стакана выполнены с резьбой под резьбовую пробку. После завинчивания резьбовой пробки, элементы системы мониторинга состояния слоя теплоизоляции изолируются от внешней среды, тем самым сохраняется их работоспособность.

[19]

Для остальных отверстий, в т.ч. для отверстий с перфорированным участком, с внутренней стороны заглушки вокруг упомянутых отверстий выполнены выступы-отбортовки со сквозным отверстием, имеющие внешнюю цилиндрическую или коническую форму, и внутреннюю цилиндрическую или коническую поверхность, преимущественно, также с резьбой под резьбовые пробки.

[20]

Кроме того, в случае использования резьбовых пробок предпочтительно, чтобы каждая резьбовая пробка была выполнена с пазом, например под отвертку или монету для удобства работы.

[21]

Одна или несколько пробок могут быть не резьбовыми (отбортовки тогда выполняются также без резьбы). В этом случае герметичное соединение пробок с торцевой заглушкой может быть произведено любым другим известным способом, обеспечивающим, например, неразъемное соединение пробки с заглушкой - сваркой или клеевым соединением, и т.п., или обеспечивающим разъемное соединение, например установкой с натягом, при этом пробку можно выполнить с кольцом для извлечения пробки из отверстия заглушки, или в виде байонетного соединения.

[22]

Предпочтительно, чтобы размер (диаметр) отверстий перфорации перфорированного участка составлял 0,1÷3,0 мм, что позволяет обеспечить выход наружу газов от реакции взаимодействия вспенивающихся компонентов при образовании слоя теплоизоляции в процессе изготовления теплоизолированной трубы. Это отверстие при эксплуатации теплоизолированной трубы не используется и по окончании технологического процесса изготовления трубы закрыто несъемной пробкой (заклеено, заварено).

[23]

Торцевые заглушки могут быть выполнены как монолитными, так и составными, образованными из нескольких частей. Во втором случае, перед установкой требуется объединение частей заглушки в единую конструкцию. Использование наборных заглушек, состоящих из нескольких частей, наиболее рационально при изготовлении труб больших диаметров.

[24]

В качестве материалов для изготовления гидрозащитной трубы-оболочки, и/или рабочей трубы, и/или заглушек, и/или резьбовых пробок могут использоваться полимерные материалы, например полиэтилен, в том числе полиэтилены низкого, среднего и высокого давления. Возможно также использование других материалов, позволяющих производить их вторичную переработку (черные или цветные металлы, композиционные материалы и т.д.), или их сочетания. Например, рабочая труба 1 может быть металлической, а труба-оболочка 2 и торцевые заглушки 4 - из полимеров, например полиэтилена низкого давления трубных марок.

[25]

Технический результат от использования изобретения заключается в упрощении конструкции теплоизолированной трубы, упрощении технологии ее изготовления с одновременным снижением риска негативных воздействий на слой теплоизоляции готовой теплоизолированной трубы для сохранения его качественных характеристик, а также с одновременным увеличением срока службы теплоизолированной трубы за счет надежной герметизации слоя теплоизоляции не только по длине, но и по торцам, кроме того, одновременно этой же совокупностью признаков достигается увеличение срока службы трубопроводной системы, в которой использованы теплоизолированные трубы заявленной конструкции, каждая из которых образует отдельный герметичный элемент трубопровода с гидрозащитой по наружной поверхности и по торцам, вследствие чего в случае аварийной ситуации исключается растекание рабочей жидкости (например, теплоносителя) за пределы аварийного участка, ограниченного одной теплоизолированной трубой или фасонным изделием, на соседние участки трубопровода.

[26]

Достижение каждого из указанных результатов обусловлено использованием совокупности существенных признаков устройства, а именно: использованием в конструкции теплоизолированной трубы одинаковых многофункциональных торцевых заглушек, установленных по торцам, с отверстиями разного функционального назначения, одно из которых используется на стадии изготовления для заливки вспенивающегося теплоизоляционного материала, а затем в готовом изделии - для контроля за состоянием слоя теплоизоляции, в другом отверстии выполнен перфорированный участок, необходимый при изготовлении слоя теплоизоляции. Дополнительные отверстия, выполненные в заглушке, используются как на стадии изготовления трубы (для прокладки элементов СОДК и/или СОУ), так и в готовом изделии, и необходимы при транспортировке и хранении трубы, так как в герметичной полости (в стакане), закрытой пробкой хранятся элементы системы мониторинга состояния слоя теплоизоляции (исключается их повреждение, окисление). Все отверстия в заглушке, предпочтительно, выполняются одинакового диаметра и могут быть герметично закрыты унифицированными пробками, как правило, резьбовыми, что обеспечивает доступ в любое время к слою теплоизоляции для его контроля. Таким образом, снятие - установка резьбовых пробок с отверстий заглушек позволяет использовать заглушки для разных целей. Пробки или часть пробок могут быть установлены с помощью других разъемных соединений, а некоторые из пробок, например, на отверстие с перфорированным участком могут устанавливаться несъемно.

[27]

На стадии изготовления теплоизолированной трубы торцевые заглушки выполняют, во-первых, функцию конструктивного элемента, через дополнительные отверстия которой протягивают элементы системы мониторинга состояния слоя теплоизоляции, для чего открывают (снимают пробки) на обеих заглушках, расположенных на противоположных торцах, выводят концы проводников СОДК и/или СОУ, скручивают эти концы, укладывают их в стакан и завинчивают пробку. Во-вторых, на стадии изготовления трубы или фасонного изделия заглушки играют роль элемента готовой трубы и технологического приспособления, герметизирующего полость между рабочей трубой и гидрозащитной трубой-оболочкой, при этом в одной из заглушек открывают отверстие для установки средства подачи вспенивающегося состава (снимают резьбовую пробку), а открытое отверстие с перфорированным участком служит для сброса, возникающего в процессе вспенивания избыточного давления газов из полости между рабочей трубой и трубой-оболочкой. Герметизация объема, занимаемого теплоизоляцией, достигнута посредством заглушек, неразъемно и герметично соединенных с гидрозащитной трубой-оболочкой и герметично посаженных на рабочую трубу с образованием отдельного герметичного участка трубопровода, герметизированного как по наружной поверхности (труба-оболочка), так и по торцам (заглушки). Такое выполнение предотвращает выход жидкой текучей реактивной композиции изоляции, например пенополиуретана, из межтрубной полости через технологические зазоры. Таким образом, необходимое и расчетное количество компонентов используется только для образования слоя теплоизоляции без потерь через зазоры.

[28]

С технологической точки зрения, наличие по торцам теплоизолированной трубы заглушек идентичной конструкции, герметично соединенных с рабочей трубой (например, посадкой с натягом) и неразъемно связанных с трубой-оболочкой (сваркой, клеевым соединением и т.п.), позволяет упростить технологию изготовления трубы, так как использование такой конструкции заглушки исключает лишние технологические операции при изготовлении теплоизолированной трубы как отдельного герметичного участка трубопровода.

[29]

С конструктивной точки зрения, готовое изделие, полученное по технологии с использованием заглушек заявленной конструкции, имеет гидрозащиту не только по длине изделия (для этого служит гидрозащитная труба-оболочка), но и по торцам, так как заглушки неразъемно и герметично соединены с гидрозащитной трубой-оболочкой и герметично соединены с рабочей трубой, а отверстия закрыты пробками.

[30]

При использовании теплоизолированной трубы или фасонного изделия заявленной конструкции в трубопроводной системе, участок, на котором установлена теплоизолированная труба, представляет собой отдельный гидроизолированный элемент (отдельный гидроизолированный участок трубопровода), надежно защищенный со всех сторон от воздействия окружающей среды. Наличие отверстий, закрытых пробками, позволяет, при необходимости (ремонт, профилактика), без снятия всей заглушки в любой момент получить доступ к слою теплоизоляции, например, для осмотра или контроля качества теплоизоляционного материала. После завершения осмотра отверстие закрывается резьбовой пробкой, герметичность внутренней полости восстанавливается.

[31]

Использование заявленных теплоизолированных труб с заглушками описанной выше конструкции позволяет получить следующие технические эффекты и свойства: упростить технологию изготовления (сократить количество операций технологического процесса), обеспечить стабильное качество теплоизолированных труб за счет получения слоя теплоизоляции с расчетным коэффициентом теплопроводности вследствие оптимальных условий образования слоя теплоизоляции, снизив при этом потери жидкой реактивной композиции пенополиуретана из межтрубной полости через технологические зазоры.

[32]

Изобретение поясняется чертежами, на которых изображено:

[33]

На фиг. 1 - теплоизолированная труба в сборе, вид сверху.

[34]

На фиг. 2 - теплоизолированная труба в сборе, вид слева.

[35]

На фиг. 3 - аксонометрическая проекция теплоизолированной трубы по сечению А-А с фиг. 1, вид с разнесенными резьбовыми пробками.

[36]

На фиг. 4 - теплоизолированная труба в сборе, сечение В-В по фиг. 2.

[37]

На фиг. 5 - заглушка вид сзади (увеличено).

[38]

На фиг. 6, 7, 8 - резьбовая пробка (увеличено).

[39]

Теплоизолированная труба состоит из рабочей трубы 1, гидрозащитной трубы-оболочки 2 и размещенного между ними слоя теплоизоляции 3 из вспененного и отвержденного материала. Торцы теплоизолированной трубы закрыты торцевыми заглушками 4, причем рабочая труба 1 выходит за пределы заглушек 4.

[40]

Рабочая труба 1, труба-оболочка 2 и торцевые заглушки 4 могут быть выполнены из полимерных материалов, например полиэтилена. Возможно также использование других материалов (черные или цветные металлы, композиционные материалы и т.д.) или их сочетаний. Например, рабочая труба 1 может быть металлической, а труба-оболочка 2 и торцевые заглушки 4 - из полимеров, например полиэтилена низкого давления.

[41]

Торцевые заглушки 4, установленные по торцам гидрозащитной трубы-оболочки 2, имеют осевое отверстие с посадочной цилиндрической поверхностью, охватывающей рабочую трубу 1, причем обе торцевые заглушки 4 имеют идентичную конструкцию. Торцевые заглушки 4 могут быть изготовлены монолитными или быть составными (сборными), образованными из двух или более частей. Торцевые заглушки, состоящие из нескольких частей (составные, сборные), целесообразно применять для теплоизолированных труб большого диаметра.

[42]

Торцевые заглушки 4 в предпочтительном варианте исполнения могут иметь форму стакана (см. фиг. 3 и 5) со стенкой 11 конической формы и с плоским кольцом 10 по периметру стенки, а именно по наружному периметру дна стакана (имеет вид фланца), причем плоское кольцо выполнено за одно целое с дном и стенкой стакана. Размер плоского кольца 10 в радиальном направлении соответствует (равен) толщине стенки трубы-оболочки 2 для того, чтобы обеспечить надежное соединение заглушки с гидрозащитной трубой-оболочкой. В заглушке, а именно в дне стакана, выполнено осевое отверстие с посадочной цилиндрической поверхностью - шейкой для прохода и обхвата наружной поверхности рабочей трубы и соединения, например, посадкой с натягом. Заглушка 4 своей конической стенкой 11 устанавливается во внутреннюю полость трубы-оболочки 2, при этом плоское кольцо 10 (фланцевая часть торцевой заглушки) плотно прилегает к торцу трубы-оболочки 2 по толщине стенки трубы-оболочки (их размеры равны) и контактирует со всей торцевой поверхностью трубы-оболочки 2.

[43]

Торцевые заглушки 4 с обеспечением герметичности установлены на рабочей трубе 1 (например посадка с натягом) и приварены или приклеены к наружной гидрозащитной трубе-оболочке 2. Следует учитывать, что неразъемное соединение заглушки с гидрозащитной трубой-оболочкой 2 может быть любым, обеспечивающим неразъемность и герметичность соединения.

[44]

Торцевые заглушки 4 выполнены с отверстиями 5 одинакового диаметра, выполняющими различную функцию. Все отверстия закрыты пробками 6, как правило, резьбовыми. Для установки резьбовых пробок 6 все отверстия в торцевой заглушке 4, включая отверстие с перфорированным участком 7 и отверстие 8, предназначенное для подачи реакционных компонентов теплоизоляции, выполняют с отбортовками (выступами, приливами), с внутренней резьбой под резьбовую пробку 6, причем предпочтительно, чтобы отбортовки были обращены внутрь межтрубной полости (фиг. 5). Все резьбовые пробки 6 (фиг. 6-8) должны быть выполнены с пазом под отвертку (или монету) и одинаковы для всех отверстий торцевой заглушки.

[45]

Каждая торцевая заглушка 4, как правило, имеет не менее двух отверстий 5, которые предназначены для вывода элементов 9 (проводников, шины передачи данных и т.п.) системы мониторинга состояния слоя теплоизоляции, например, СОДК или СОУ. Отверстия 5 выполнены с отбортовками (выступами) в виде стакана с внутренней резьбой под резьбовую пробку 6 и небольшим отверстием в дне для прохода элемента 9 - проводника и/или шины данных СОДК или СОУ. Полость стакана, заключенная между его дном и резьбовой пробкой, должна быть достаточной, чтобы в ней поместился элемент (элементы) 9 СОДК или СОУ. В полость стакана можно уложить элемент 9 - проводник (или шину данных) системы мониторинга СОДК или СОУ слоя теплоизоляции и завинтить резьбовую пробку 6, изолировав таким образом проводник от воздействия внешней среды (от окисления, механического повреждения), тем самым обеспечивается гарантированная сохранность их работоспособного состояния.

[46]

В межтрубной полости между рабочей трубой 1 и гидрозащитной трубой-оболочкой 2 находится слой теплоизоляции 3, полученный отверждением вспенивающегося материала, поданного в межтрубную полость. Торцевые заглушки 4 к этому моменту должны быть герметично соединены с рабочей трубой 1 и неразъемно и герметично соединены с гидрозащитной трубой-оболочкой 2. Герметичное неразъемное соединение торцевой заглушки с гидрозащитной трубой-оболочкой 2 и рабочей трубой 1 может быть выполнено любым известным способом.

[47]

Чтобы обеспечить возможность попадания вспенивающегося материала в кольцевую полость между трубой 1 и трубой-оболочкой 2, в каждой заглушке 4 выполнено отверстие 8, закрываемое резьбовой пробкой 6. При осуществлении операции подачи вспенивающегося материала сначала из отверстия 8 отвинчивают соответствующую резьбовую пробку 6 в одной торцевой заглушке 4, через это отверстие, во внутреннюю кольцевую полость, образованную рабочей трубой 1 и трубой-оболочкой 2, подают необходимое количество жидких компонентов вспенивающегося материала и закручивают резьбовую пробку 6. Вследствие реакции взаимодействия между компонентами, происходит процесс вспенивания с образованием слоя теплоизоляции 3 и его дальнейшая полимеризация до полного отверждения. Для увеличения жесткости конструкции заглушки отверстие 8 для заливки вспенивающейся теплоизоляционной композиции выполнено с отбортовкой и внутренней резьбой, в которую ввинчена резьбовая пробка 6.

[48]

Для выхода газов реакции, образующихся при вспенивании, и для стравливания воздуха, вытесняемого вспенивающимся материалом, в каждой торцевой заглушке 4 выполнено отверстие, перекрытое перфорированным участком 7 с отверстиями перфорации, диаметром преимущественно, 0,1÷3,0 мм. Отверстия указанного диаметра позволяют газам свободно выходить наружу, при этом вязкий вспенивающийся материал не может пройти через эти отверстия, оставаясь внутри кольцевой межтрубной полости. За счет этого обеспечивается исключение потерь теплоизоляционного материала в процессе изготовления теплоизолированной трубы. После отверждения вспенивающегося материала, отверстия с перфорированным участком 7 герметизируют пробкой 6, причем пробка может быть резьбовой, или соединяемой с заглушкой поворотом пробки (байонетное соединение), или установлена с натягом, или же пробка может быть установлена несъемно, в частности на клее или приварена.

[49]

Внутренняя межтрубная полость, за счет установки по торцам заглушек 4, получается ограниченной и замкнутой, и после завинчивания резьбовых пробок вследствие описанной выше конструкции заглушки - герметичной, так как вспенивающаяся теплоизоляционная композиция в процессе реакции заполняет ее полностью, а наличие отверстия 7 с перфорированным участком создает условия для получения качественного однородного слоя теплоизоляции 3 с заданным коэффициентом теплопроводности.

[50]

Таким образом, установленные с торцевых сторон теплоизолированной трубы одноразовые торцевые заглушки заявленной конструкции выполняют функции, во-первых, защиты слоя теплоизоляции от воздействия негативных факторов, возникающих при хранении, транспортировке, монтаже; во-вторых, выполняющие необходимые технологические функции, связанные с технологическим процессом производства; в третьих, при эксплуатации теплоизолированной трубы исключают растекание рабочей жидкости за пределы теплоизолированной трубы, в которой произошла разгерметизация.

[51]

Сборка теплоизолированной трубы осуществляется следующим образом.

[52]

Рабочая, например, металлическая труба 1 подвергается предварительной подготовке: снятию ржавчины, очистке, обезжириванию поверхности и подается в цех. После проведения предварительной подготовки на наружную или внутреннюю поверхность рабочей трубы может быть нанесено антикоррозионное покрытие.

[53]

Гидрозащитная труба-оболочка 2 подается в цех и размещается на сборочном столе. В случае, если гидрозащитная труба-оболочка 2 выполнена из полимера и требует активации (например для увеличения адгезии), требуемые поверхности обрабатываются коронным разрядом.

[54]

На наружную поверхность рабочей трубы 1 устанавливают центрирующие опоры, проводят монтаж элементов 9 системы СОДК или СОУ. После этого рабочая труба 1 подается во внутреннюю полость гидрозащитной трубы-оболочки 2, образуя конструкцию «труба в трубе».

[55]

С торцов рабочей трубы 1, концентрично рабочей трубе и гидрозащитной трубе-оболочке 2, устанавливаются торцевые заглушки 4. Соединение заглушки с собранной в таком виде трубой-оболочкой 2 и рабочей трубой 1 выполняют известными способами, например для трубы-оболочки 2 сваркой, клейкой, для рабочей трубы - посадкой с натягом или любыми другими известными методами.

[56]

Отвинчивают на заглушках резьбовые пробки 6 на отверстиях 5, предназначенных для вывода элементов СОДК или СОУ, и через соответствующее приспособление, выводят элементы 9 - проводники системы СОДК или СОУ наружу через небольшое отверстие в дне стакана, окружающего отверстие 5. Диаметр небольшого отверстия в дне стакана выполняется минимальным, исходя из возможности проводки через него элемента 9. Далее элементы 9 СОДК или СОУ укладывают в стакан, и завинчивают резьбовую пробку 6 (эту операцию можно делать и по окончании процесса изготовления трубы).

[57]

Далее формируют слой теплоизоляции 3. Отвинчивают резьбовую пробку 6 на одной из заглушек 4, и через отверстие 8 подают жидкие вспенивающиеся компоненты реакционного образования слоя теплоизоляции, после чего закрывают отверстие 8 резьбовой пробкой 6.

[58]

Реакция взаимодействия между компонентами обеспечивает образование слоя теплоизоляции. Для выхода газов реакции заглушка имеет технологическое приспособление - отверстие с перфорациями - перфорированным участком 7, которое обеспечивает свободный выход газов, но не пропускает вязкую композицию слоя теплоизоляции. По окончании вспенивания слой теплоизоляции отверждается, после чего отверстие 8 закрывают пробкой 6.

[59]

Внутренняя межтрубная полость между рабочей трубой 1 и трубой-оболочкой 2 вследствие установки по торцам одноразовых заглушек 4 за счет неразъемного соединения имеет ограниченный герметичный объем, не позволяющий жидким вспенивающимся компонентам вытекать наружу, поэтому вспенивающийся теплоизоляционный материал в процессе реакции заполняет всю межтрубную полость полностью.

[60]

Производство фасонных изделий проводят аналогичным образом, т.е. первоначально проводят сборку полуфабриката в виде конструкции «труба в трубе». С торцевых сторон концентрично рабочей трубе и гидрозащитной трубе-оболочке устанавливают и неразъемно закрепляют торцевые заглушки, выводят элементы (проводники) СОДК или СОУ, а после, через технологическое отверстие в торцевой заглушке, производят подачу компонентов вспенивающегося теплоизоляционного материала для образования изоляции и все технологические отверстия закрывают пробками.

Как компенсировать расходы
на инновационную разработку
Похожие патенты