патент
№ RU 2683128
МПК F16H1/32

Редуктор трехступенчатый

Авторы:
Урсу Владимир Валентинович
Номер заявки
2018109554
Дата подачи заявки
19.03.2018
Опубликовано
26.03.2019
Страна
RU
Как управлять
интеллектуальной собственностью
Чертежи 
4
Реферат

Изобретение относится к машиностроению. Трехступенчатый редуктор состоит из корпуса, в котором размещены волновые передачи первой, второй и третьей ступеней. Каждая из ступеней состоит из входного вала, имеющего две эксцентрично расположенные цилиндрические поверхности с противоположно направленными эксцентриситетами и с подшипниками качения, расположенными на цилиндрических поверхностях, и один опорный подшипник качения, сепаратора первой ступени, втулки, охватывающей сепаратор первой ступени, имеющей внутренние эпициклические поверхности, количество которых равно количеству рядов тел качения, расположенных в сепараторе первой ступени, количество рядов тел качения определяется количеством эксцентрично расположенных цилиндрических поверхностей с игольчатыми подшипниками качения, между выходным валом и корпусом имеется радиально-упорный подшипник качения с перекрещивающимися роликами. Сепаратор первой ступени неподвижно закреплен на сепараторе второй ступени, сепаратор второй ступени неподвижно закреплен на сепараторе третьей ступени, а сепаратор третьей ступени неподвижно закреплен на правой части корпуса редуктора. Передаточное отношение трехступенчатой волновой передачи находится в интервале 216-18000 при частоте вращения входного вала, находящейся в интервале 1500-40000 об/мин. Обеспечивается снижение инерционности вращающихся деталей, присоединенных к входному валу, и повышение технологичности изготовления редуктора. 3 з.п. ф-лы, 7 ил.

Формула изобретения

1. Редуктор трехступенчатый, состоящий из корпуса с левой и правой, соединенных между собой винтами, торцевыми частями, в котором концентрично относительно центральной оси размещены: волновая передача первой ступени с входным валом, имеющим, по меньшей мере, две эксцентрично расположенные цилиндрические поверхности с противоположно направленными эксцентриситетами и с подшипниками качения, расположенными на цилиндрических поверхностях и, по меньшей мере, с одним опорным подшипником качения; сепаратор волновой передачи первой ступени, неподвижный относительно корпуса, с размещенными в сепараторе, по меньшей мере, двумя рядами промежуточных тел качения, взаимодействующих с эксцентрично расположенными цилиндрическими поверхностями; втулка, являющаяся входным валом второй ступени, охватывающая сепаратор первой ступени, имеющая внутренние эпициклические поверхности, количество которых равно количеству рядов промежуточных тел качения, расположенных в сепараторе первой ступени; а также эксцентрично расположенные цилиндрические поверхности на втулке, эксцентриситеты которых являются противоположно направленными, и с расположенными на них подшипниками качения, и радиальные подшипники качения на левом конце втулки; сепаратор волновой передачи второй ступени с размещенными в нем рядами промежуточных тел качения при количестве рядов, равном количеству эксцентрично расположенных на втулке цилиндрических поверхностей с подшипниками качения; выходной вал, установленный в подшипниках в корпусе редуктора, отличающийся тем, что редуктор имеет волновую передачу третьей ступени, образованную охватывающей сепаратор второй ступени втулкой, являющейся входным валом волновой передачи третьей ступени, имеющей внутренние эпициклические поверхности, количество которых равно количеству рядов тел качения в сепараторе волновой передачи второй ступени, а также эксцентрично расположенные на втулке цилиндрические поверхности с игольчатыми подшипниками качения волновой передачи третьей ступени; радиальный подшипник качения на левом конце втулки; сепаратор волновой передачи третьей ступени с размещенными в нем рядами промежуточных тел качения, при количестве рядов, равном количеству эксцентрично расположенных цилиндрических поверхностей с игольчатыми подшипниками качения на втулке волновой передачи второй ступени, при этом выходным валом редуктора является втулка, охватывающая сепаратор волновой передачи третьей ступени и имеющая внутренние эпициклические поверхности, количество которых равно количеству промежуточных тел качения в сепараторе волновой передачи третьей ступени, между выходным валом и корпусом имеется радиально-упорный подшипник качения с перекрещивающимися роликами.

2. Редуктор трехступенчатый по п. 1, отличающийся тем, что сепаратор первой ступени неподвижно закреплен на сепараторе волновой передачи второй ступени, сепаратор второй ступени неподвижно закреплен на сепараторе волновой передачи третьей ступени, а сепаратор третьей ступени неподвижно закреплен на правой торцевой части корпуса редуктора.

3. Редуктор трехступенчатый по п. 1, отличающийся тем, что выходной вал имеет на втулке V-образную канавку, а на левой торцевой части и вставке корпуса напротив V-образной канавки выходного вала имеется Λ-образная канавка, расположенная так, что Λ-образная и V-образная канавки образуют кольцо, квадратное в радиальном сечении, в котором установлены ролики и элементы, образующие сепаратор радиально-упорного подшипника, при этом смежные ролики установлены под прямым углом друг к другу.

4. Редуктор трехступенчатый по п. 1, отличающийся тем, что передаточное отношение трехступенчатой волновой передачи находится в интервале 216-18000 при частоте вращения входного вала, находящейся в интервале 1500-40000 об/мин.

Описание

[1]

Изобретение относится к машиностроению, а именно к волновым редукторам с промежуточными телами качения.

[2]

Известен трехступенчатый планетарный редуктор (патент RU №2464464 от 13.04.2011), включающий корпус, быстроходный вал, связанный с электродвигателем, промежуточный и тихоходный планетарные ряды, каждый из которых включает соответствующие солнечную шестерню, сателлиты, водило и корону, причем быстроходное водило выполнено как единое целое с промежуточной солнечной шестерней, тихоходный (выходной) вал, выполненный как единое целое с тихоходным водилом и установленный с опорой на двух радиальных шарикоподшипниках; быстроходное водило, выполненное с опорой со стороны электродвигателя, при этом промежуточное водило выполнено со стороны тихоходного вала как единое целое с осью, конец которой установлен на блок-подшипнике.

[3]

Недостаток данного редуктора - в большой его ширине, обусловленной последовательным расположением ступеней планетарного редуктора, сложности конструкции и высокой инерционности вращающихся деталей.

[4]

Известна передача (патент RU №2126918 от 03.10.1996 г.), включающая основной корпус, выходной элемент, установленный с возможностью вращения относительно основного корпуса и образования вместе с ним по меньшей мере одного кольцеобразного гнезда, ограниченного рабочими поверхностями для аналогичных цилиндру элементов качения, при этом несколько элементов качения расположены параллельно оси основного корпуса, в то время как остальные элементы качения ориентированы перпендикулярно к оси, а расстояние между противолежащими рабочими поверхностями соответствует диаметру элементов качения.

[5]

Недостаток данной передачи - массивные крестообразные диски, преобразующие вращательное движение входного вала в их колебательное движение и во вращательное движение выходного вала, имеющие высокую инерционность деталей, присоединенных к входному валу.

[6]

Известна планетарная эпициклическая передача (заявка WO №2016/193286 от 04.06.2015), содержащая приводной элемент, приводящий в движение множество планетарных зубчатых колес, причем каждая планетарная передача прикреплена к планетарному держателю, вращается вокруг планетарной оси и имеет, по меньшей мере, один зубчатый участок, зацепляясь, по меньшей мере, с одной кольцевой шестерней; кольцевые шестерни или планетарный держатель, таким образом, совершают вращение вокруг центральной оси планетарной зубчатой передачи, а другая из кольцевых шестерен и планетарный держатель прикреплены к неподвижной части зубчатой передачи, причем каждая планетарная шестерня прикреплена к планетарному держателю, по меньшей мере, одним планетарным соединителем, который вращается вокруг оси, которая смещена и параллельна планетарной оси так, что поворот упомянутого, по меньшей мере, одного планетарного соединителя изменяет расстояние между центральной осью и планетарной осью с помощью эксцентрикового соединения.

[7]

Недостаток данной передачи - в высокой инерционности вращающихся деталей, присоединенных к входному валу, и низкой технологичности ее изготовления.

[8]

Известен волновой двухступенчатый редуктор с промежуточными телами качения (патенты RU №108238 от 09.06.2010 г. и RU №108239 от 09.06.2010 г., прототипы), входящий в электромеханический привод, состоящий из корпуса с левой и правой, соединенными между собой торцевыми частями, в котором концентрично относительно центральной оси размещены: волновая передача первой ступени с входным валом, имеющим, по меньшей мере, две эксцентрично расположенные цилиндрические поверхности с противоположно направленными эксцентриситетами и с подшипниками качения на эксцентрично расположенных цилиндрических поверхностях и, по меньшей мере, с одним опорным подшипником качения; сепаратор первой ступени с размещенными в нем, по меньшей мере, двумя рядами тел качения, взаимодействующими с эксцентрично расположенными цилиндрическими поверхностями неподвижный относительно корпуса; втулка, являющаяся входным валом второй ступени, охватывающая сепаратор первой ступени, с внутренними эпициклическими поверхностями втулки, количество которых равно количеству рядов промежуточных тел качения, расположенных в сепараторе первой ступени и взаимодействующих с телами качения, с эксцентрично расположенными цилиндрическими поверхностями на втулке, эксцентриситеты которых являются противоположно направленными, и с подшипниками качения на эксцентрично расположенных цилиндрических поверхностях и с опорными подшипниками качения; сепаратор второй ступени с размещенными в нем рядами тел качения при количестве рядов, равном количеству эксцентрично расположенных на втулке цилиндрических поверхностей с подшипниками качения; выходной вал, расположенный в корпусе на двух радиально-упорных подшипниках.

[9]

Недостаток каждого из данных редукторов - в высокой инерционности вращающихся деталей, присоединенных к входному валу, и низкой технологичности их изготовления.

[10]

Техническая задача изобретения - снижение инерционности вращающихся деталей, присоединенных к входному валу и повышение технологичности изготовления редуктора.

[11]

Техническая задача решена в конструкции редуктора, состоящего из корпуса с левой и правой, соединенных между собой винтами, торцевыми частями, в котором концентрично относительно центральной оси размещены: волновая передача первой ступени с входным валом, имеющим, по меньшей мере, две эксцентрично расположенные цилиндрические поверхности с противоположно направленными эксцентриситетами и с подшипниками качения, расположенными на цилиндрических поверхностях и, по меньшей мере, с одним опорным подшипником качения; сепаратор волновой передачи первой ступени, неподвижный относительно корпуса, с размещенными в сепараторе, по меньшей мере, двумя рядами промежуточных тел качения, взаимодействующих с эксцентрично расположенными цилиндрическими поверхностями; втулка, являющаяся входным валом второй ступени, охватывающая сепаратор первой ступени, имеющая внутренние эпициклические поверхности, количество которых равно количеству рядов промежуточных тел качения, расположенных в сепараторе первой ступени; а также эксцентрично расположенные цилиндрические поверхности на втулке, эксцентриситеты которых являются противоположно направленными, и с расположенными на них подшипниками качения, и радиальные подшипники качения на левом конце втулки; сепаратор волновой передачи второй ступени с размещенными в нем рядами промежуточных тел качения при количестве рядов, равном количеству эксцентрично расположенных на втулке цилиндрических поверхностей с подшипниками качения; выходной вал, установленный в подшипниках в корпусе редуктора, при этом редуктор имеет волновую передачу третьей ступени, образованную охватывающей сепаратор второй ступени втулкой, являющейся входным валом волновой передачи третьей ступени, имеющей внутренние эпициклические поверхности, количество которых равно количеству рядов тел качения в сепараторе волновой передачи второй ступени, а также эксцентрично расположенные на втулке цилиндрические поверхности с игольчатыми подшипниками качения волновой передачи третьей ступени; радиальный подшипник качения на левом конце втулки; и сепаратором волновой передачи третьей ступени с размещенными в нем рядами промежуточных тел качения, при количестве рядов, равном количеству эксцентрично расположенных цилиндрических поверхностей с игольчатыми подшипниками качения на втулке волновой передачи второй ступени, при этом выходным валом редуктора является втулка, охватывающая сепаратор волновой передачи третьей ступени и имеющая внутренние эпициклические поверхности, количество которых равно количеству промежуточных тел качения в сепараторе волновой передачи третьей ступени, между выходным валом и корпусом имеется радиально-упорный подшипник качения с перекрещивающимися роликами.

[12]

Для снижения трудоемкости сборки редуктора сепаратор волновой передачи первой ступени неподвижно закреплен на сепараторе волновой передачи второй ступени, который неподвижно закреплен на сепараторе волновой передачи третьей ступени, а сепаратор волновой передачи третьей ступени неподвижно закреплен на правой торцевой части корпуса редуктора.

[13]

Для уменьшения массы и габаритов редуктора выходной вал имеет на втулке V-образную канавку, а на левой торцевой части и вставке корпуса напротив V-образной канавки выходного вала имеется Λ-образная канавка, расположенная так, что Λ-образная и V-образная канавки образуют кольцо, квадратное в радиальном сечении, в котором установлены ролики и элементы, образующие сепаратор радиально-упорного подшипника, при этом смежные ролики установлены под прямым углом друг к другу.

[14]

Для снижения массы передаточное отношение трехступенчатого редуктора находится в интервале 216-18000 при частоте вращения входного вала, находящейся в интервале 1500-40000 об/мин.

[15]

Решение технической задачи, - снижение инерционности вращающихся деталей, присоединенных к входному валу и повышение технологичности изготовления редуктора, - достигается за счет следующей новой совокупности отличительных признаков редуктора: редуктор имеет волновую передачу третьей ступени, образованную охватывающей сепаратор второй ступени втулкой, являющейся входным валом волновой передачи третьей ступени, имеющей внутренние эпициклические поверхности, количество которых равно количеству рядов тел качения в сепараторе волновой передачи второй ступени, а также эксцентрично расположенные на втулке цилиндрические поверхности с игольчатыми подшипниками качения волновой передачи третьей ступени; радиальный подшипник качения на левом конце втулки; и сепаратор волновой передачи третьей ступени с размещенными в нем рядамипромежуточных тел качения, при количестве рядов, равном количеству эксцентрично расположенных цилиндрических поверхностей с игольчатыми подшипниками качения на втулке волновой передачи второй ступени, при этом выходным валом редуктора является втулка, охватывающая сепаратор волновой передачи третьей ступени и имеющая внутренние эпициклические поверхности, количество которых равно количеству промежуточных тел качения в сепараторе волновой передачи третьей ступени, между выходным валом и корпусом имеется радиально-упорный подшипник качения с перекрещивающимися роликами.

[16]

Для снижения трудоемкости сборки редуктора сепаратор волновой передачи первой ступени неподвижно закреплен на сепараторе волновой передачи второй ступени, который неподвижно закреплен на сепараторе волновой передачи третьей ступени, а сепаратор волновой передачи третьей ступени неподвижно закреплен на правой торцевой части корпуса редуктора.

[17]

Для уменьшения массы и габаритов редуктора выходной вал имеет на втулке V-образную канавку, а на левой торцевой части и вставке корпуса напротив V-образной канавки выходного вала имеется Λ-образная канавка, расположенная так, что Λ-образная и V-образная канавки образуют кольцо, квадратное в радиальном сечении, в котором установлены ролики и элементы, образующие сепаратор радиально-упорного подшипника, при этом смежные ролики установлены под прямым углом друг к другу.

[18]

Для снижения массы передаточное отношение трехступенчатого редуктора находится в интервале 216-18000 при частоте вращения входного вала, находящейся в интервале 1500-40000 об/мин.

[19]

Данная совокупность отличительных признаков не обнаружена в ходе проведенного патентно-информационного исследования, следовательно, изобретение соответствует критерию "новизна". Оно также не следует явно из уровня техники, следовательно, оно соответствует критерию "изобретательский уровень".

[20]

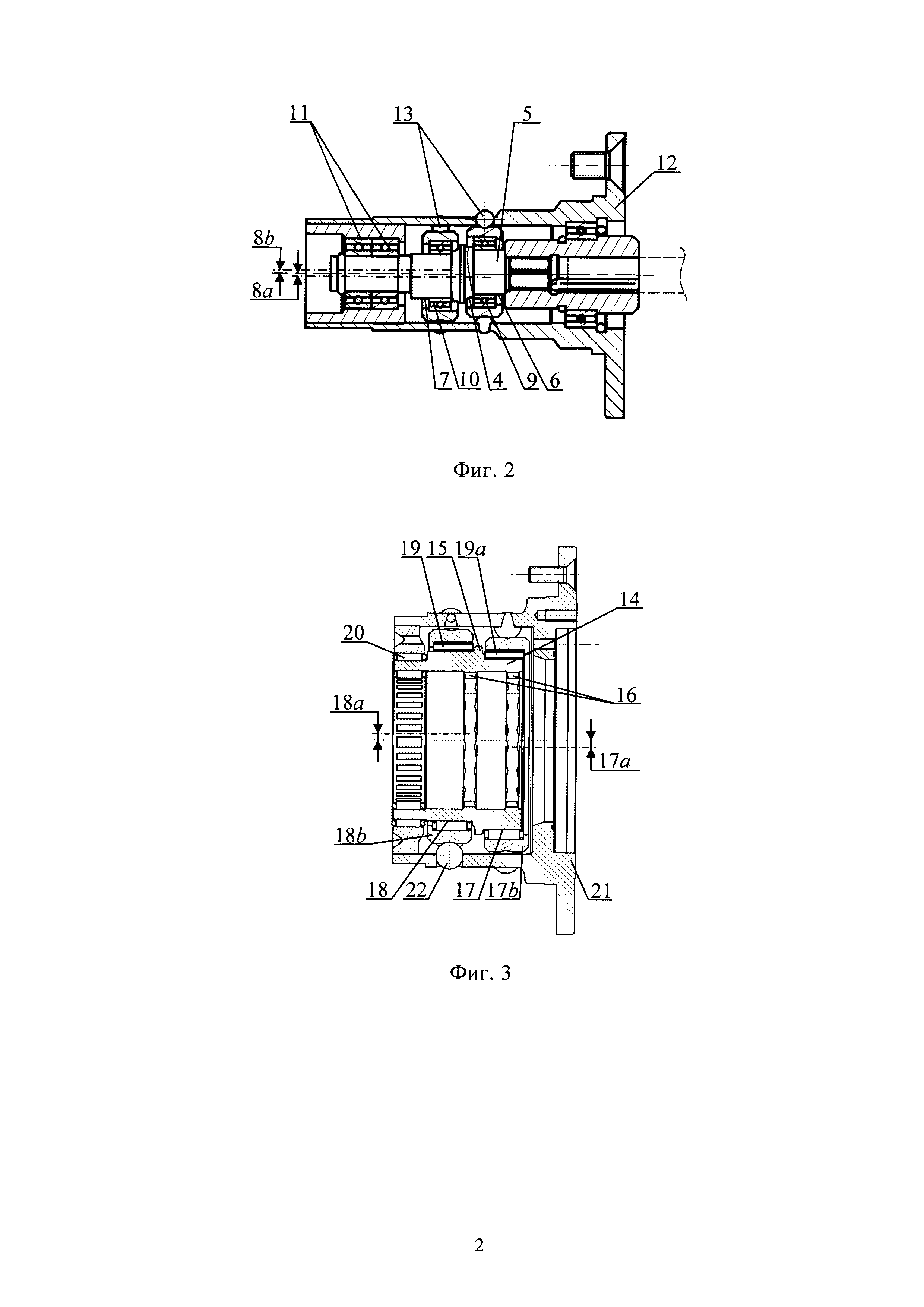
На фиг. 1 показан редуктор трехступенчатый в сборе.

[21]

На фиг. 2 - волновая передача первой ступени редуктора со входным валом.

[22]

На фиг. 3 - волновая передача второй ступени редуктора.

[23]

На фиг. 4 - волновая передача первой и второй ступеней редуктора.

[24]

На фиг. 5 - волновая передача третьей ступени редуктора.

[25]

На фиг. 6 - корпус редуктора с выходным валом.

[26]

На фиг. 7 - конструкция подшипника качения с перекрещивающимися роликами, показанная на фиг. 6.

[27]

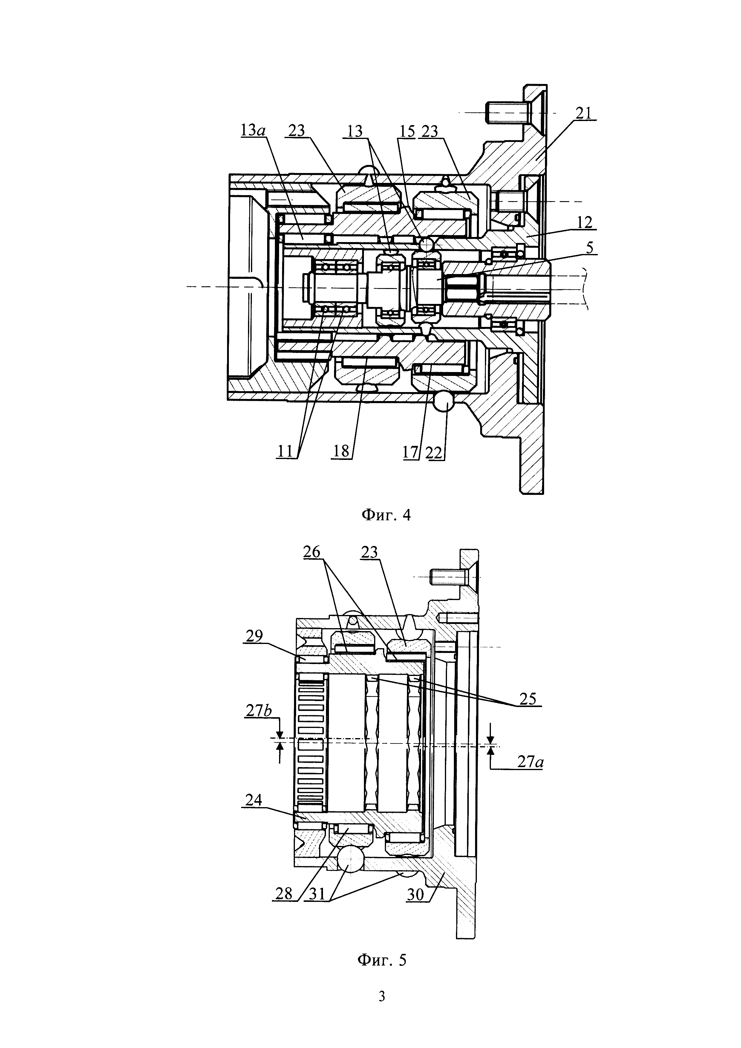
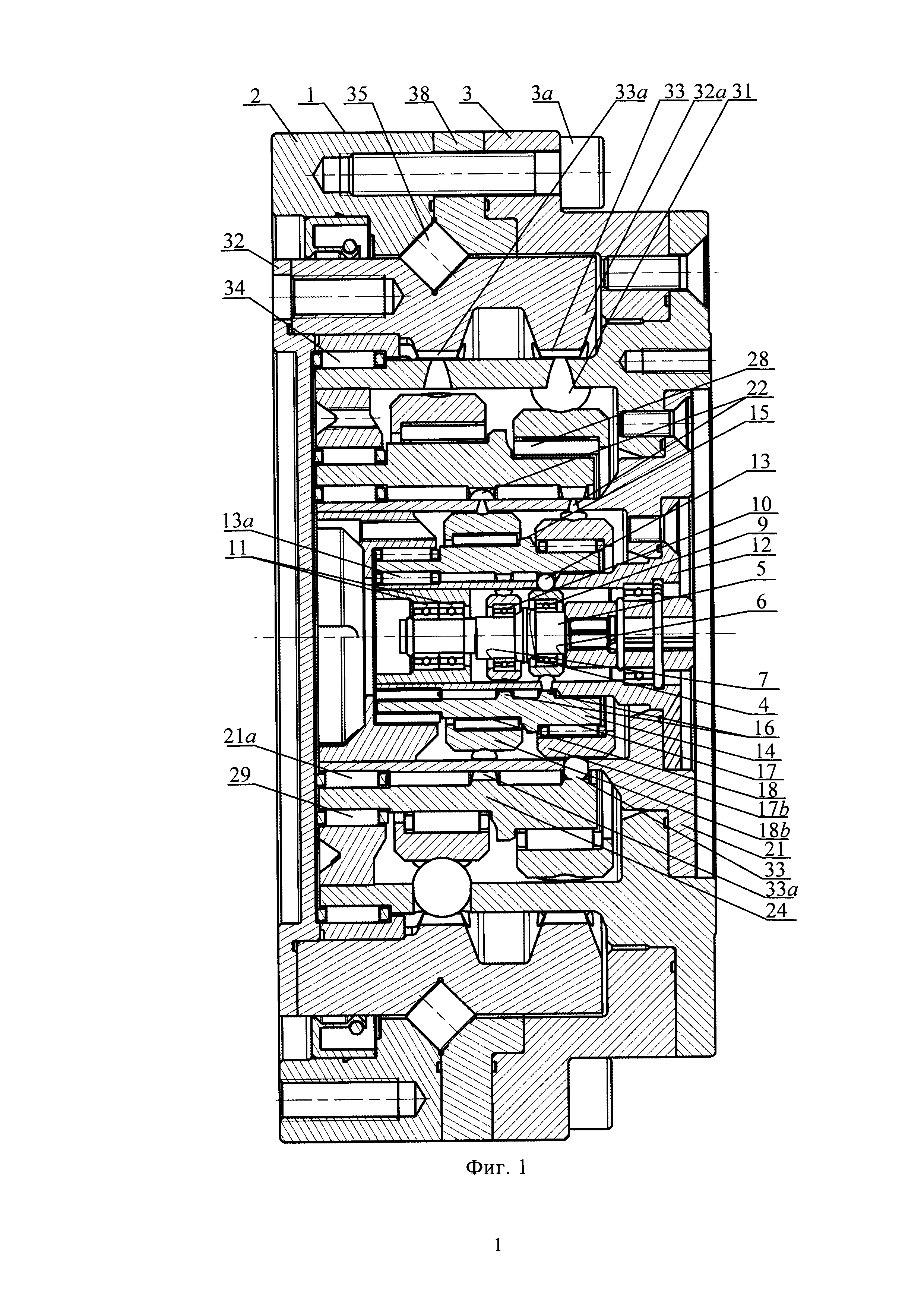
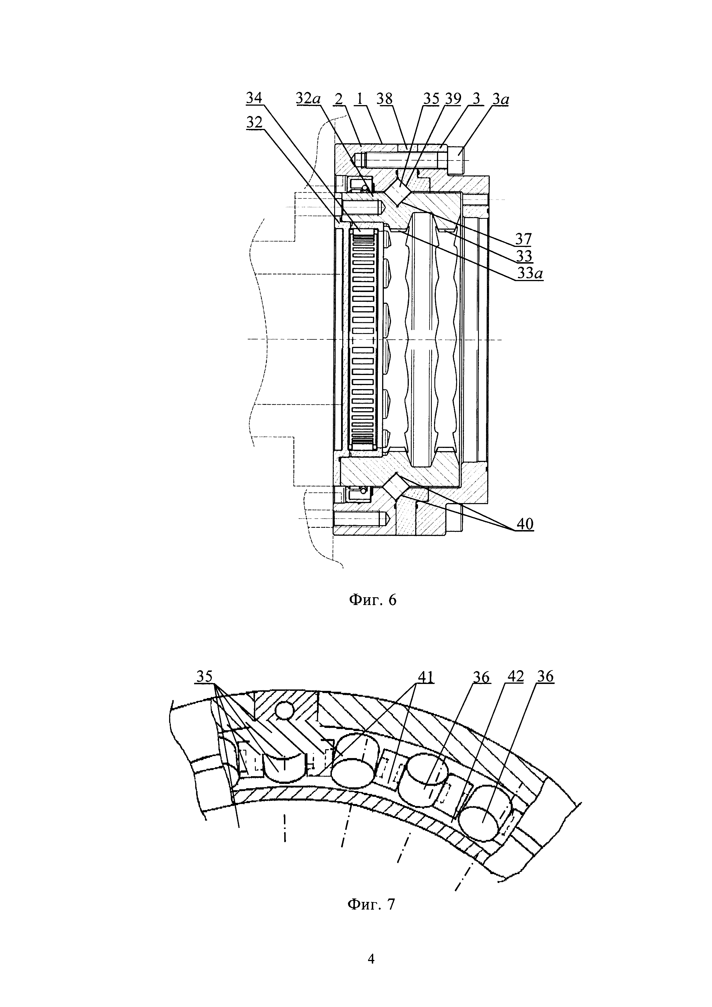
Трехступенчатый редуктор (фиг. 1-7) состоит из корпуса 1 с левой торцевой частью 2 и правой торцевой частью 3, соединенных между собой винтами 3а, в котором концентрично относительно центральной оси размещены: волновая передача 4 (фиг. 2) первой ступени с входным валом 5, имеющим две эксцентрично расположенные цилиндрические поверхности 6 и 7 с противоположно направленными эксцентриситетами 8а и 8б и с подшипниками 9 и 10 качения, расположенными на цилиндрических поверхностях 6 и 7 и с двумя радиальными подшипниками 11 качения; сепаратор 12 (фиг. 2) волновой передачи 4, неподвижный относительно корпуса 1 (фиг. 1), с размещенными в сепараторе 12 двумя рядами промежуточных тел 13 качения, взаимодействующих с цилиндрическими поверхностями 6 и 7 и с радиальным подшипником 13а на левом конце сепаратора 12; втулка 14 (фиг. 3), являющаяся входным валом волновой передачи 15 второй ступени, охватывающая сепаратор 12 волновой передачи 4 первой ступени (фиг. 1), имеющая две внутренние эпициклические поверхности 16, количество которых равно количеству рядов тел 13 качения в сепараторе 12 (фиг. 2); а также эксцентрично расположенные на втулке 14 цилиндрические поверхности 17 и 18 (фиг. 3), эксцентриситеты 17а и 18а которых являются противоположно направленными, с расположенными на них игольчатыми подшипниками 19 и 19а качения, и радиальным подшипником 20 качения на левом конце втулки 14; сепаратор 21 волновой передачи 15 второй ступени (фиг. 4) с радиальным подшипником 21а качения на его левом конце и с размещенными в нем двумя рядами промежуточных тел 22 качения при количестве рядов, равном количеству эксцентрично расположенных цилиндрических поверхностей 17 и 18; волновая передача 23 третьей ступени (фиг. 5), образованная охватывающей сепаратор 21 (фиг. 3) втулкой 24, являющейся входным валом волновой передачи 23, имеющей внутренние эпициклические поверхности 25, количество которых равно количеству рядов тел 22 (фиг. 4) качения, расположенных в сепараторе 21 волновой передачи 15 второй ступени; эксцентрично расположенные цилиндрические поверхности 26 на втулке 24 волновой передачи 23, эксцентриситеты 27а и 276 которых являются противоположно направленными, и расположенные на цилиндрических поверхностях 26 игольчатые подшипники 28 качения и радиальный подшипник 29 качения на левом конце втулки 24; и сепаратором 30 волновой передачи 23 третьей ступени с размещенными в нем двумя рядами промежуточных тел 31 качения; выходной вал 32 (фиг. 1, 6) редуктора, которым является втулка 32а, охватывающая сепаратор 30 (фиг. 5) волновой передачи 23 третьей ступени, имеющая внутренние эпициклические поверхности 33 и 33а, количество которых равно количеству рядов тел 31 качения в сепараторе 30; между выходным валом 32 и корпусом 1 имеется радиально-упорный подшипник 35 качения с перекрещивающимися роликами 36 (фиг. 7).

[28]

Радиальные подшипники 13а, 20, 21а, 29, 34, установленные на левых концах входного вала 5 сепараторов 12, 21 и 30 соответственно первой-третьей ступеней и втулок 14 и 24, а также радиально-упорный подшипник 35 качения, создают жесткую опорную систему для неподвижных и вращающихся деталей редуктора, исключая их вибрацию в процессе работы, которая могла бы быть вызвана колебательными процессами в волновых передачах 4, 15 и 23.

[29]

Вставка 38 (фиг. 1) введена для снижения трудоемкости изготовления корпуса 1.

[30]

Для снижения трудоемкости сборки редуктора сепаратор 12 волновой передачи 4 первой ступени неподвижно закреплен на сепараторе 21 (фиг. 1, 4) волновой передачи 15 второй ступени; сепаратор 21 неподвижно закреплен на сепараторе 30 волновой передачи 23 третьей ступени; сепаратор 30 неподвижно закреплен на правой торцевой части 3 корпуса 1.

[31]

Для уменьшения массы и габаритов редуктора выходной вал 32 (фиг. 6) имеет на втулке 32а V-образную канавку 37, а на левой торцевой части 2 и вставке 38 корпуса 1 напротив V-образной канавки 37 втулки 32а имеется Λ-образная канавка 39, расположенная так, что Λ-образная канавка 39 и V-образная канавка 37 образуют кольцо 40, квадратное в радиальном сечении, в котором установлены ролики 36 (фиг. 7) и элементы 41, образующие сепаратор 42 радиально-упорного подшипника 35 качения, при этом смежные ролики 36 установлены под прямым углом друг к другу.

[32]

Для снижения массы передаточное отношение трехступенчатого редуктора находится в интервале 216-18000 при частоте вращения входного вала 6, находящейся в интервале 1500-40000 об/мин.

[33]

При вращении входного вала 5 (фиг. 1) с двумя эксцентрично расположенными цилиндрическими поверхностями 6 и 7, с противоположно направленными эксцентриситетами 8а и 8b (фиг. 2).

[34]

Промежуточные тела 13 качения перемещаются в сепараторе 12 только в радиальном направлении, совершая колебательные движения с периодом, равным периоду одного оборота входного вала 5 и амплитудой, равной удвоенному эксцентриситету поверхности 6 или 7. Промежуточные тела 13 качения, взаимодействуя с внутренними эпициклическими поверхностями 16 втулки 14 и сепаратором 12, поворачивают ее на угол, меньший угла поворота входного вала 5 в число раз, равное числу волн внутренней эпициклической поверхности 16 втулки 14.

[35]

Поворот втулки 14 волновой передачи 4 с эксцентрично расположенными поверхностями 17 и 18 (фиг. 1, 3) волновой передачи 15 второй ступени позволяет промежуточным телам качения 22 перемещаться в сепараторе 21 только в радиальном направлении, совершая колебательные движения с периодом, равным периоду одного оборота втулки 14 волновой передачи 4 первой ступени и амплитудой, равной удвоенному эксцентриситету поверхности 17или 18. Промежуточные тела качения 22, взаимодействуя с внутренними эпициклическими поверхностями 25 втулки 24 и сепаратором 21, поворачивая его на угол, меньший угла поворота втулки 14 в число раз, равное числу волн на каждой из внутренних эпициклических поверхностей 25 втулки 24.

[36]

Втулка 24 при повороте, воздействуя на тела 31 качения (фиг. 5) через подшипники 28, а телами 31 качения - на внутренние эпициклические поверхности 33 и 33а (фиг. 1, 6) втулки 32а, вращает выходной вал 32 и приводимый им объект (не показан).

[37]

Общее передаточное отношение редуктора равно произведению чисел волн внутренних профилированных эпициклических поверхностей 25, 16 и 33.

Как компенсировать расходы
на инновационную разработку
Похожие патенты