патент
№ RU 2672145
МПК F41C7/00

Стрелковое оружие

Авторы:
Уржумцев Сергей Владимирович Рекухин Александр Сергеевич Долганов Дмитрий Геннадьевич
Все (4)
Номер заявки
2017117037
Дата подачи заявки
16.05.2017
Опубликовано
12.11.2018
Страна
RU
Как управлять
интеллектуальной собственностью
Чертежи 
4
Реферат

Изобретение относится к автоматическому стрелковому оружию. Стрелковое оружие содержит ствольную коробку, ствол, газовую трубку с установленной на ней накладкой и цевье. Цевье установлено с обеспечением кольцевого зазора между внутренней поверхностью цевья и внешней поверхностью ствола. Газовая трубка установлена консольно. Накладка и цевье соединяются и фиксируются относительно ствольной коробки при помощи оси, проходящей через отверстия в цевье и ствольной коробке. Установка с фиксацией цевья и накладки может быть выполнена с помощью дополнительной втулки, неподвижно закрепленной относительно ствольной коробки при помощи оси, проходящей через отверстия в цевье и втулке. Цевье и накладка могут быть выполнены в виде одной детали. Технический результат – повышение кучности стрельбы и эксплуатационных характеристик. 3 з.п. ф-лы, 8 ил.

Формула изобретения

1. Стрелковое оружие, содержащее ствольную коробку, ствол, газовую трубку, накладку, установленную на газовую трубку, и цевье, отличающееся тем, что газовая трубка закреплена в ствольной коробке консольно, а накладка с цевьем соединены и зафиксированы относительно ствольной коробки посредством оси, взаимодействующей с отверстиями в цевье и ствольной коробке.

2. Стрелковое оружие по п. 1, отличающееся тем, что цевье установлено с обеспечением кольцевого зазора между внутренней поверхностью цевья и наружной поверхностью ствола.

3. Стрелковое оружие по п. 1, отличающееся тем, что накладка с цевьем выполнены в виде единой детали.

4. Стрелковое оружие по п. 1, отличающееся тем, что дополнительно содержит втулку, неподвижно закрепленную относительно ствольной коробки, а накладка с цевьем зафиксированы относительно ствольной коробки посредством оси, взаимодействующей с отверстиями в цевье и втулке.

Описание

[1]

Изобретение относится к стрелковому оружию и может быть использовано в автоматическом стрелковом оружии, устройствах, конструктивно сходных со стрелковым оружием.

[2]

Известен автомат Калашникова (см. Наставления по стрелковому делу. Военное издательство, М., 1973, с. 148, рис. 25, рис. 36), выбранный в качестве ближайшего аналога, содержащий ствольную коробку, ствол, газовую трубку, накладку, установленную на газовую трубку, цевье. Задний конец цевья устанавливается в отверстие в ствольной коробке, а передний конец закрепляется на стволе при помощи соединительной муфты.

[3]

Недостатком данной конструкции является то, что цевье в момент выстрела под действием инерционных сил воздействует через соединительную муфту на ствол, изменяет характер его колебаний, тем самым ухудшая кучность стрельбы из оружия.

[4]

Задачей заявляемого изобретения является улучшение кучности стрельбы, повышение эксплуатационных характеристик стрелкового оружия, в том числе упрощение конструкции и повышение удобства обслуживания оружия.

[5]

Технический результат заключается в исключении контакта цевья со стволом и, как следствие, в отсутствии влияния на колебания ствола в момент выстрела силы реакции со стороны опоры или рук стрелка, а также в упрощении обслуживания оружия в процессе эксплуатации за счет введения в конструкцию консольного закрепления в ствольной коробке газовой трубки и крепления цевья с накладкой непосредственно к ствольной коробке с обеспечением кольцевого зазора между цевьем и стволом.

[6]

Поставленная задача достигается тем, что стрелковое оружие содержит ствольную коробку, ствол, газовую трубку, накладку, установленную на газовую трубку, цевье. Газовая трубка закреплена в ствольной коробке консольно, а накладка с цевьем соединены и зафиксированы относительно ствольной коробки посредством оси, взаимодействующей с отверстиями в цевье и ствольной коробке. Цевье установлено с обеспечением кольцевого зазора между внутренней поверхностью цевья и наружной поверхностью ствола. Накладка с цевьем могут быть выполнены в виде единой детали. Стрелковое оружие может дополнительно содержать втулку, неподвижно закрепленную относительно ствольной коробки, а накладка с цевьем зафиксированы относительно ствольной коробки посредством оси, взаимодействующей с отверстиями в цевье и втулке.

[7]

Сущность изобретения поясняется чертежами, на которых изображено:

[8]

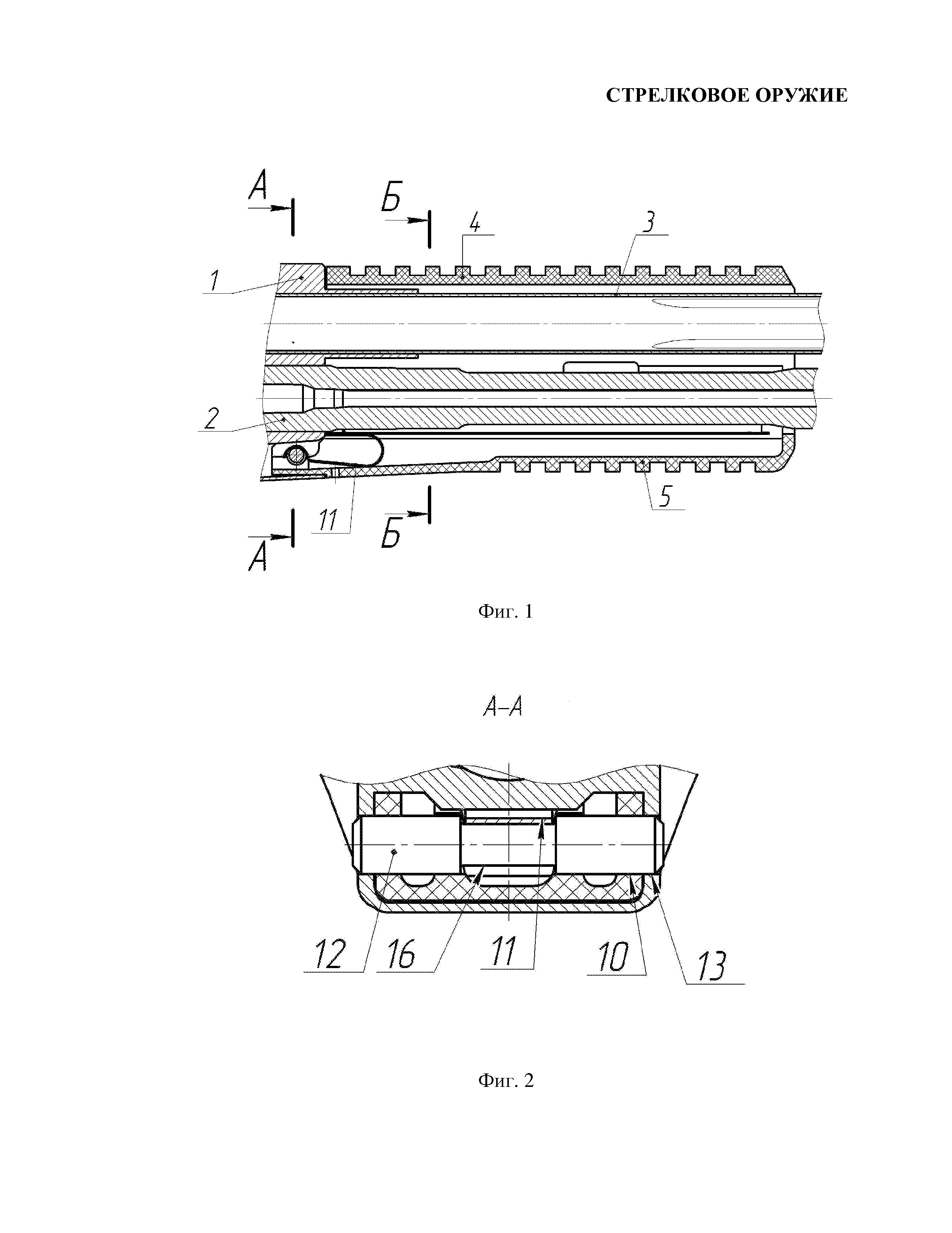
на фиг. 1 - общий вид оружия (накладка и цевье соединены разъемным соединением, газовая трубка закреплена в ствольной коробке);

[9]

на фиг. 2 - А-А на фиг. 1 (ось установлена в отверстие цевья и отверстие ствольной коробки);

[10]

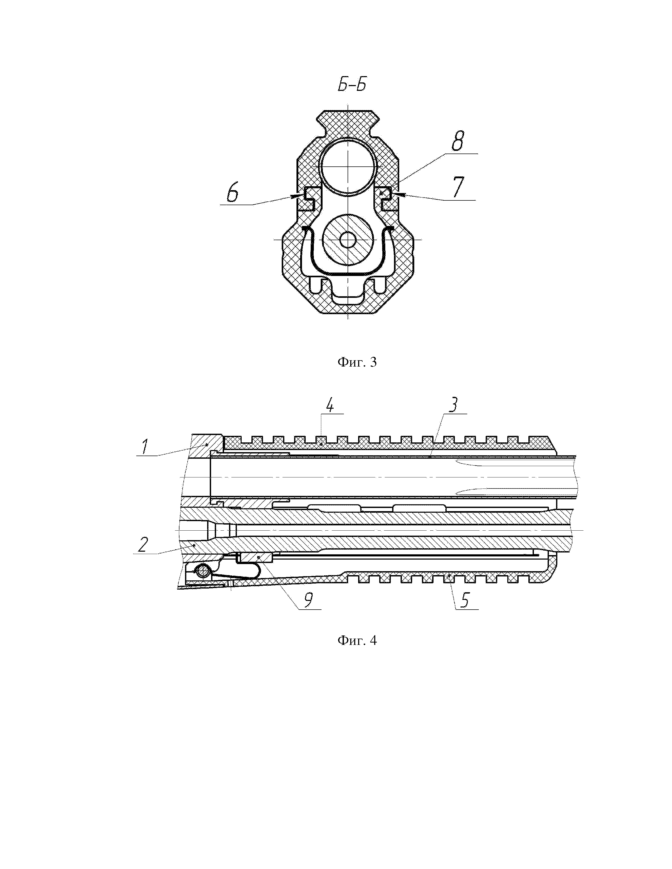
на фиг. 3 - Б-Б на фиг. 1;

[11]

на фиг. 4 - общий вид оружия (накладка и цевье соединены разъемным соединением, газовая трубка закреплена через муфту в ствольной коробке);

[12]

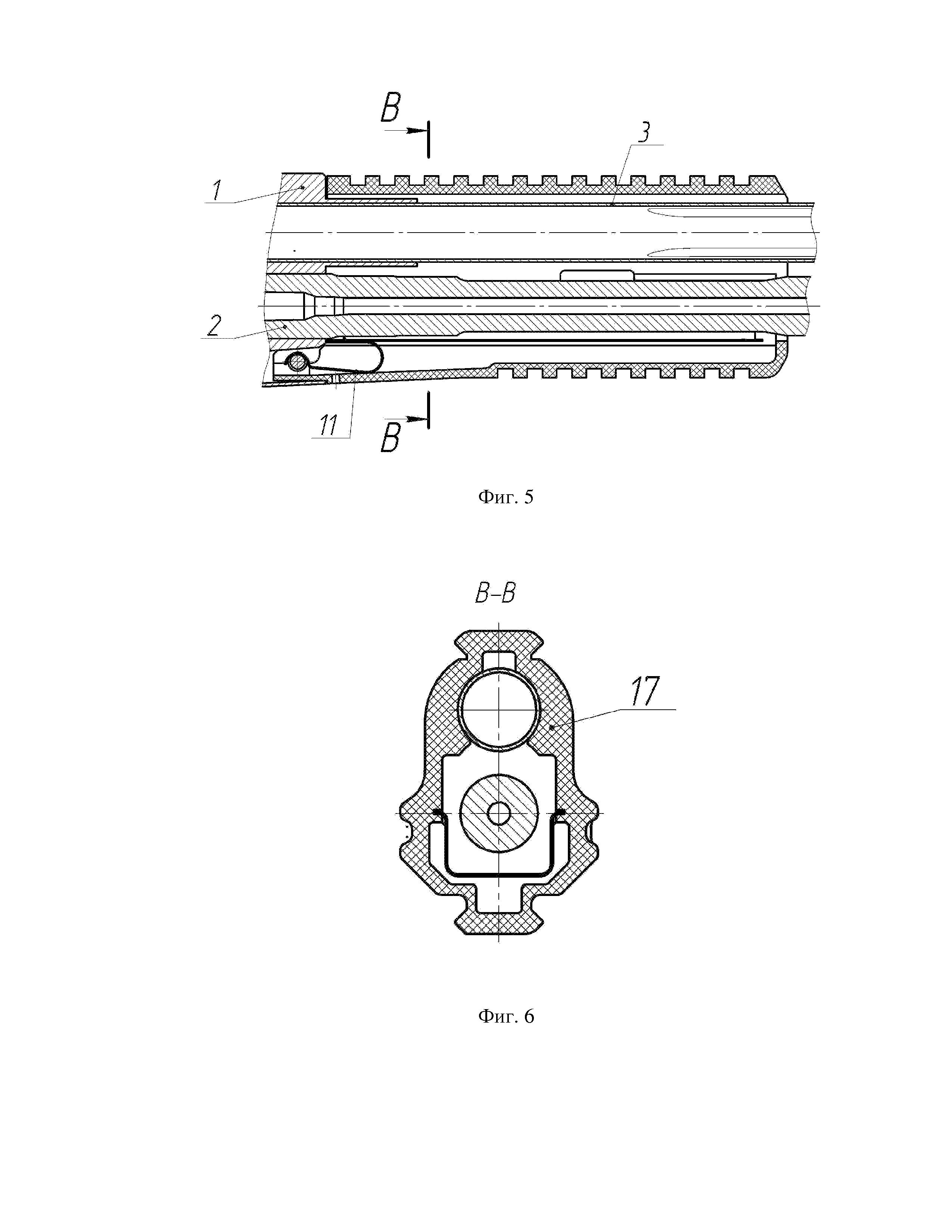
на фиг. 5 - общий вид оружия (накладка и цевье выполнены в виде единой детали);

[13]

на фиг. 6 - В-В на фиг. 5;

[14]

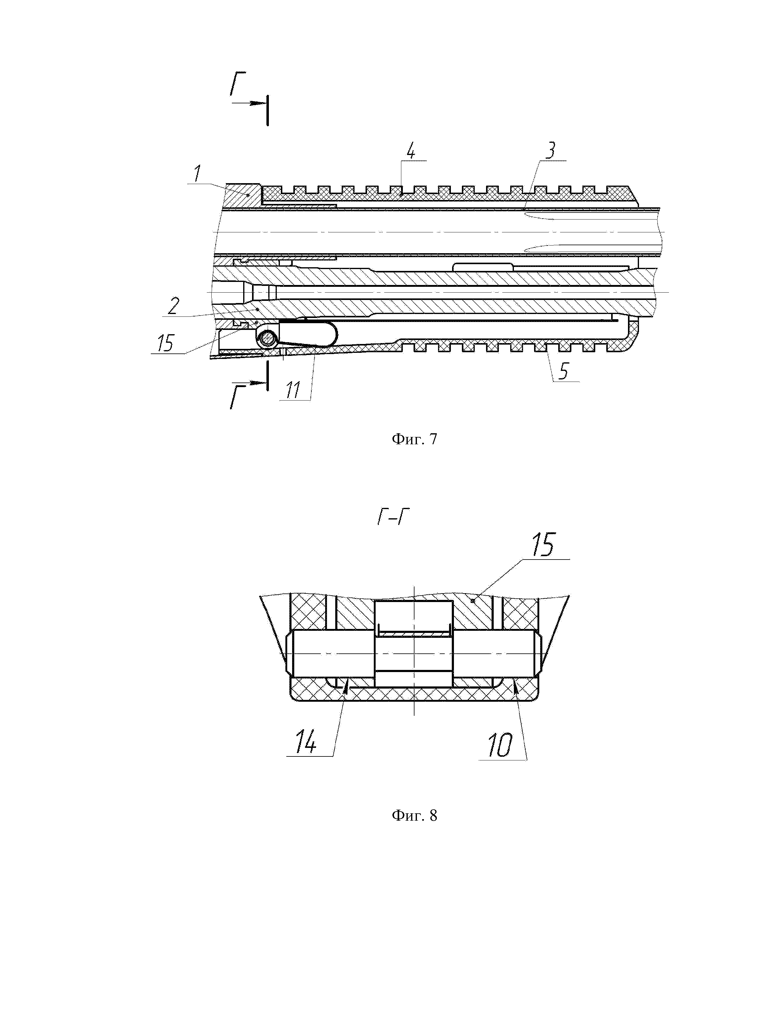
на фиг. 7 - общий вид оружия (накладка и цевье соединены разъемным соединением, газовая трубка закреплена в ствольной коробке, в ствольной коробке неподвижно закреплена втулка);

[15]

на фиг. 8 - Г-Г на фиг. 7 (ось установлена в отверстие цевья и отверстие втулки).

[16]

Стрелковое оружие содержит ствольную коробку 1, ствол 2, газовую трубку 3, накладку 4 и цевье 5. Накладка 4 плотно надевается на газовую трубку 3 и соединена с цевьем 5 разъемным соединением 6, для чего в нижней части накладки 4 выполнены пазы 7, взаимодействующие с выступами 8, выполненными на цевье 5. Цевье установлено на оружие с обеспечением кольцевого зазора между внутренней поверхностью цевья 5 и наружной поверхностью ствола 2. Газовая трубка 3 может быть консольно закреплена в ствольной коробке 1 или консольно закреплена со ствольной коробкой 1 через муфту 9. В задней части цевья 5 выполнено отверстие 10 и установлена пружина 11. Пружина 11 представляет собой пластинчатую пружину, один конец которой закреплен в цевье 5. Фиксация накладки 4 и цевья 5 в ствольной коробке 1 осуществляется осью 12, которая устанавливается в отверстие 10 цевья 5 и отверстие 13, выполненное в ствольной коробке, или в отверстие 10 цевья 5 и в отверстие 14, выполненное во втулке 15, которая неподвижно закреплена относительно ствольной коробки 1. Ось 12 выполнена с проточкой 16, с которой взаимодействует пружина 11. Накладка 4 и цевье 5 могут быть выполнены в виде единой детали - трубчатого цевья 17.

[17]

Для установки накладки 4 и цевья 5 на оружие необходимо установить на газовую трубку 3 накладку 4. Затем завести выступы 8 цевья 5 в пазы 7 накладки 4 и продвинуть цевье 5 до совмещения отверстия 10 с отверстием 13 в ствольной коробке 1 или с отверстием 14 во втулке 15. Затем установить ось 12, предварительно отжав рабочий конец пружины 11. Возвратившись в исходное положение, рабочий конец пружины 11 вступит во взаимодействие с проточкой 16, препятствуя перемещению оси 12 вдоль собственной оси. При этом между наружной поверхностью ствола 2 и внутренней поверхностью цевья 5 обеспечивается кольцевой зазор.

[18]

Для снятия цевья 5 с оружия необходимо отжать рабочий конец пружины 11, извлечь ось 12 из отверстия 10 и отверстия 13 или 14, и снять цевье 5. Затем снять накладку 4 с газовой трубки 3.

[19]

Для установки трубчатого цевья 17 на оружие необходимо надеть его на газовую трубку 3 и продвинуть по ней до совмещения отверстия 10 с отверстием 13 в ствольной коробке 1 или с отверстием 14 во втулке 15. Затем установить ось 12, предварительно отжав рабочий конец пружины 11. Возвратившись в исходное положение, рабочий конец пружины 11 вступит во взаимодействие с проточкой 16, препятствуя перемещению оси 12 вдоль собственной оси. При этом между наружной поверхностью ствола 2 и внутренней поверхностью цевья 5 обеспечивается кольцевой зазор.

[20]

Для снятия трубчатого цевья 17 с оружия необходимо отжать рабочий конец пружины 11, извлечь ось 12 из отверстия 10 и отверстия 13 или отверстия 14, и снять трубчатое цевье 17 с газовой трубки 3.

[21]

Предложенная конструкция узла стрелкового оружия обеспечивает повышение кучности стрельбы и повышение эксплуатационных характеристик оружия.

Как компенсировать расходы
на инновационную разработку
Похожие патенты