патент
№ RU 2627678
МПК A61C5/50

Устройство для инъекции разогретой гуттаперчи в канал зуба

Авторы:
Эстров Евгений Александрович
Номер заявки
2015155436
Дата подачи заявки
24.12.2015
Опубликовано
09.08.2017
Страна
RU
Как управлять
интеллектуальной собственностью
Чертежи 
12
Реферат

Изобретение относится к области медицины, в частности к области стоматологии, и может быть использовано при заполнении канала зуба разогретой гуттаперчей. Устройство для инъекций разогретой гуттаперчи в канал зуба включает корпус с блоком управления и выдвижным штоком с плунжерным уплотнением на конце, внутри которого смонтирована автоклавированная стерильная сменная насадка с кожухом и со сменными иглами, заправленными гуттаперчевыми стержнями. Внутри кожуха размещено нагревательное средство, состоящее из металлической трубки, на концевой части которой со стороны иглы имеется нагревательная спираль нагревателя, электрически изолированная от металлической трубки при помощи теплоизоляционной ленты, и датчик температуры. На конце трубки имеется неразъемно соединенная с ней соединительная втулка для фиксации трубки нагревательного средства внутри кожуха и соединения ее с корпусом при помощи быстроразъемного соединения. Насадка с трубкой смонтированы в корпусе с возможностью отделения от корпуса при помощи быстроразъемного соединения, а в соединительной втулке трубки имеются отформованные сквозные коаксиальные отверстия с размещенными в них электрическими проводниками электрических соединений. Изобретение позволяет снизить трудоемкость процесса инъекции разогретой гуттаперчи в канал зуба, снизить трудоемкость замены насадки и иглы и обеспечить возможность их стерилизации. 6 з.п. ф-лы, 24 ил.

Формула изобретения

1. Устройство для инъекций разогретой гуттаперчи в канал зуба, включающее корпус (2) с блоком управления и выдвижным штоком с плунжерным уплотнением на конце, внутри которого смонтирована автоклавированная стерильная сменная насадка (3) с кожухом (5) и со сменными иглами (4), заправленными гуттаперчевыми стержнями, внутри кожуха размещено нагревательное средство (6), состоящее из металлической трубки (7), на концевой части которой со стороны иглы имеется нагревательная спираль нагревателя, электрически изолированная от металлической трубки при помощи теплоизоляционной ленты, и датчик температуры, при этом на конце трубки имеется неразъемно соединенная с ней соединительная втулка (9) для фиксации трубки нагревательного средства внутри кожуха и соединения ее с корпусом при помощи быстроразъемного соединения, насадка с трубкой смонтированы в корпусе с возможностью отделения от корпуса при помощи быстроразъемного соединения, а в соединительной втулке трубки имеются отформованные сквозные коаксиальные отверстия с размещенными в них электрическими проводниками электрических соединений.

2. Устройство по п. 1, отличающееся тем, что насадка с нагревателем и датчиком температуры, а также игла, изготовлены из материалов, допускающих стерилизацию методом автоклавирования.

3. Устройство по п. 2, отличающееся тем, что насадка с иглой, нагревателем и датчиком температуры изготовлены из материалов, выдерживающих температуру до 140°С.

4. Устройство по п. 1, отличающееся тем, что устройство снабжено набором насадок с трубками.

5. Устройство по п. 1, отличающееся тем, что насадка с трубкой смонтирована с возможностью отделения от корпуса при помощи быстроразъемного соединения.

6. Устройство по п. 5, отличающееся тем, что быстроразъемное соединение представляет собой байонетное соединение.

7. Устройство по п. 1, отличающееся тем, что трубка смонтирована с возможностью отделения от корпуса при помощи быстроразъемного электрического соединения, снабженного подпружиненными электрическими контактами.

Описание

[1]

Изобретение относится к области стоматологии и предназначено для использования в качестве средства для лечения зубных каналов, а именно - для заполнения (обтюрации) канала зуба разогретой гуттаперчей.

[2]

Заключительным этапом эндодонтического лечения является обтюрация корневых каналов и их ответвлений неразрушающимся материалом. Трехмерная обтюрация системы корневых каналов предотвращает повторное инфицирование периодонта, а также создает благоприятные условия для заживления тканей.

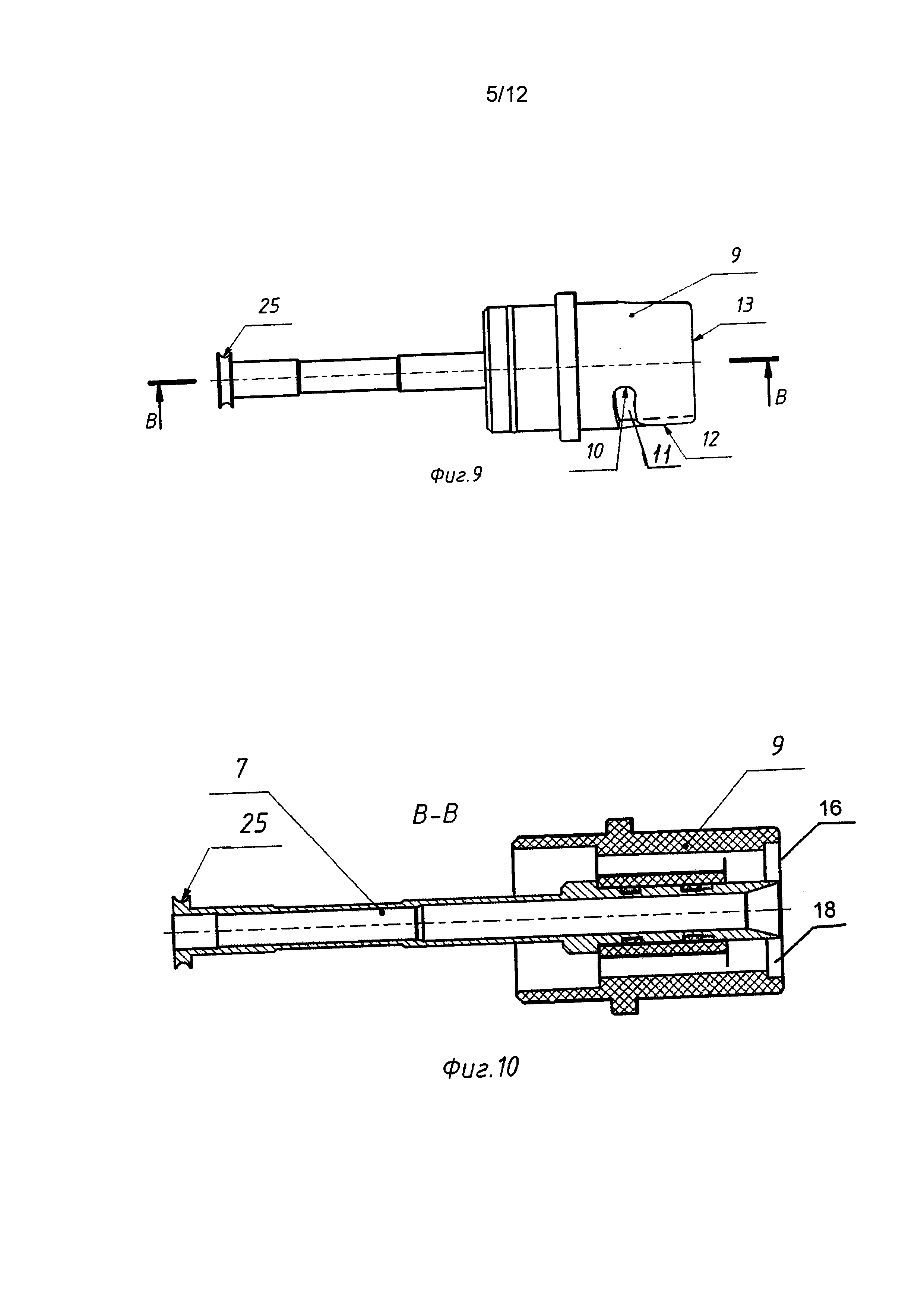
[3]

Одним из методов обтюрации корневых каналов является введение в канал термопластифицированной гуттаперчи с дальнейшим конденсированием ее холодным или разогретым плаггером.

[4]

Известен разработанный в 1981 году фирмой «Whasledent International» (США) первый аппарат «РАС-160» для подачи (инъектирования) горячей размягченной гуттаперчи. Дальнейшей модификацией аппарата данного типа является аппарат «OBTURA».

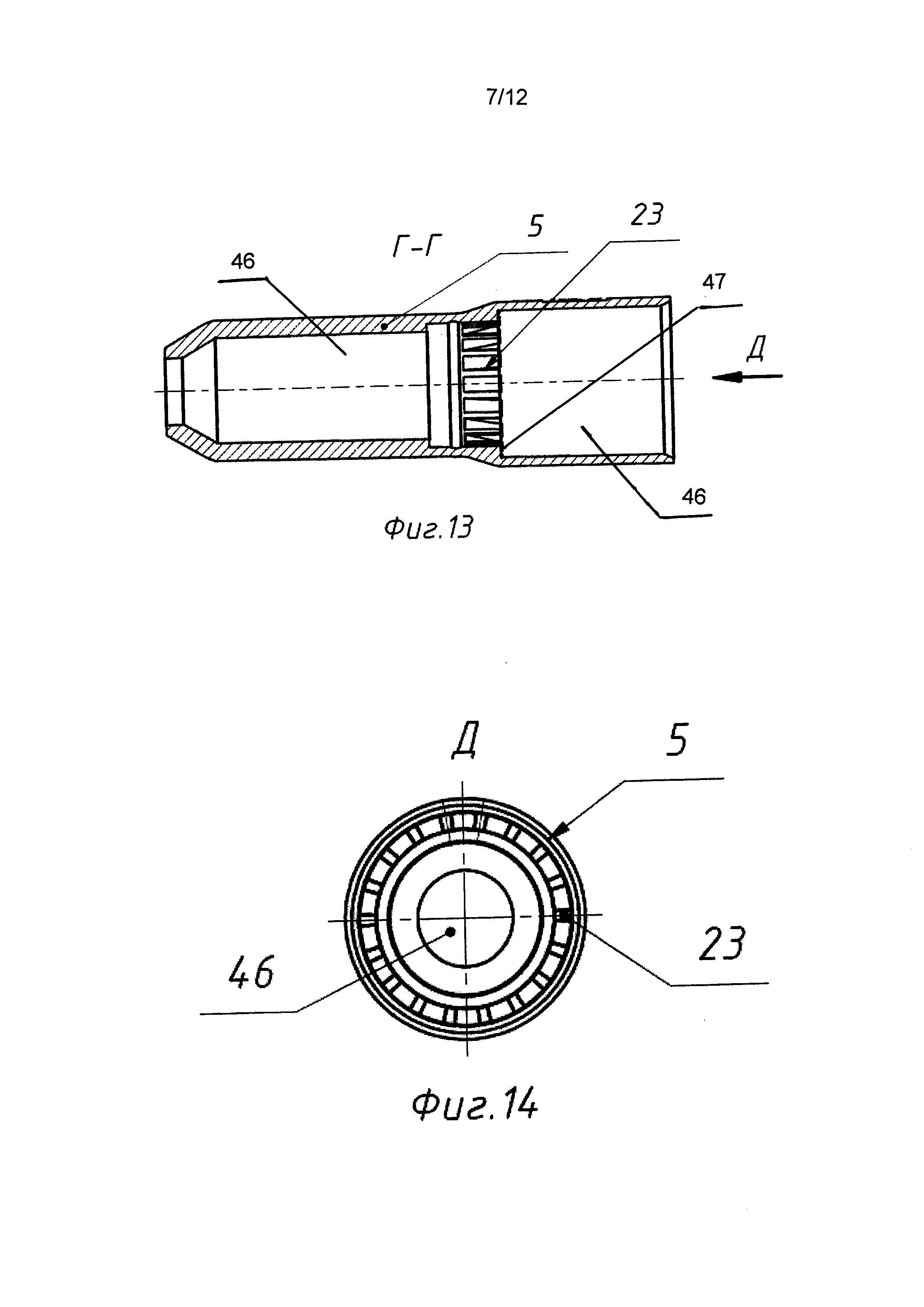
[5]

Известно устройство для инъекции разогретой гуттаперчи в канал зуба, включающее корпус с выдвижным штоком, средствами управления и индикации, оснащенную нагревателем и датчиком температуры трубку с продольной полостью для размещения штока и стержня из гуттаперчи, и съемную иглу, полость которой в смонтированном положении сообщается с продольной полостью трубки (см. беспроводный вариант аппаратов вышеприведенного типа, например «System В Endodontic Cordless Fill Unit» (фирма SybronEndo).

[6]

Общим для всех этих аппаратов является осуществление загрузки порции холодной гуттаперчи в виде цилиндрических столбиков диаметром около 3 мм и высотой около 12 мм в камеру с последующим их нагревом до температуры 160-220°С и выдавливанием размягченной гуттаперчи с помощью поршня через эндодонтическую иглу в канал зуба. Эндодонтическая игла выполнена из сплава серебра для повышения теплопроводности и уменьшения остывания гуттаперчи по мере ее прохождения внутри иглы.

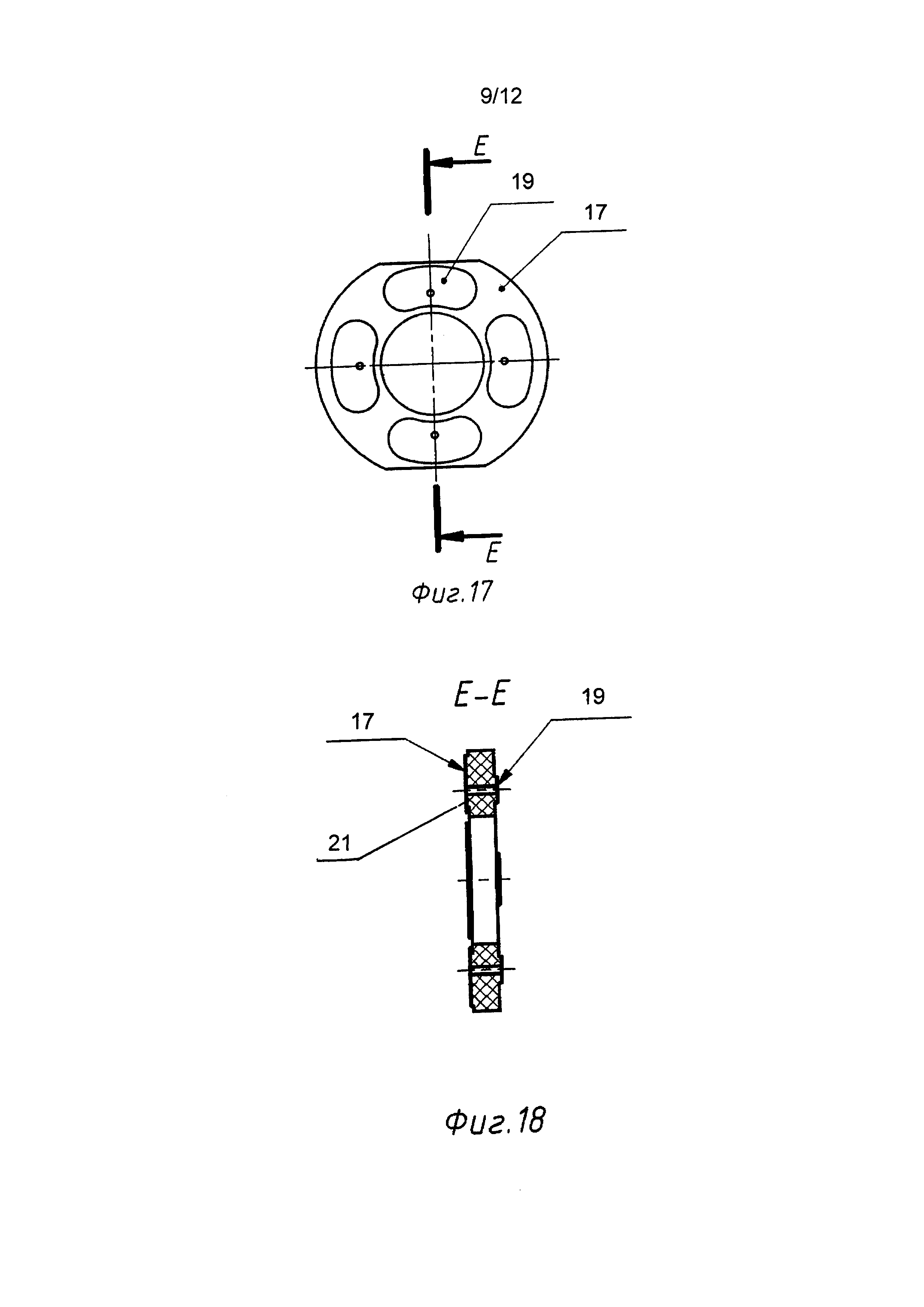
[7]

Существенными недостатками всех перечисленных аппаратов является то, что в известном устройстве для смены иглы надо ждать ее остывания, затем следует отвинтить ненужную иглу, завинтить новую и после нагрева продолжить работу, на что вкупе требует достаточно много времени.

[8]

Другим существенным недостатком является невозможность стерилизации иглы с прилегающей частью аппарата методом автоклавирования, что не позволяет иметь заранее несколько автоклавированных стерильных насадок. Это объясняется тем, что часть устройства, непосредственно прилегающая к игле, неразъемно закреплена на корпусе и поэтому не автоклавируема.

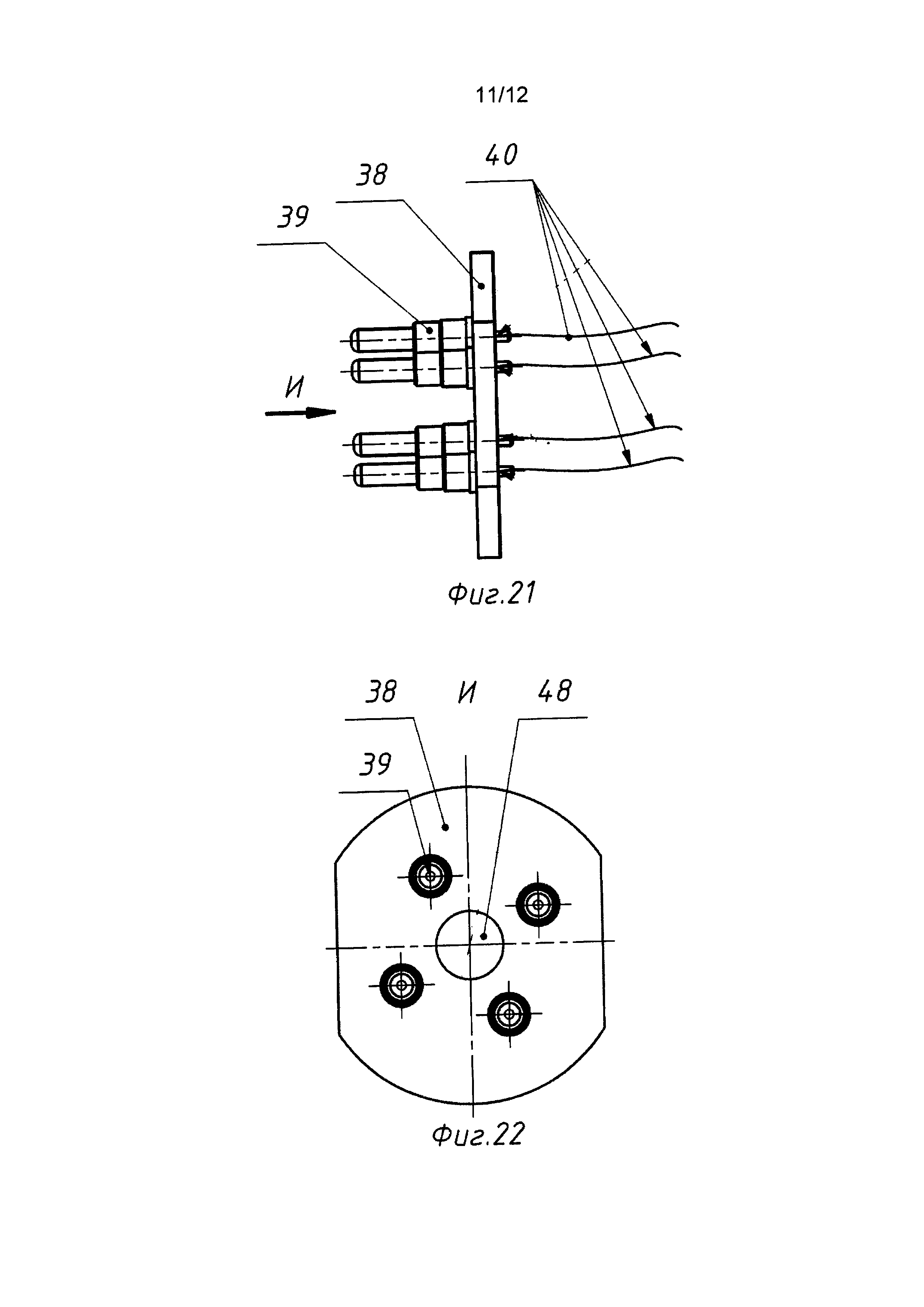
[9]

Из RU 2143244, 27.12.1999, известен эндодонтический инструмент для пломбирования корневых каналов (устройство), выполненный в виде державки с рабочей частью, где рабочая часть выполнена из сплава с эффектом памяти формы, предварительно продеформированного на уменьшение диаметра, для прижатия пломбировочного материала в верхушечную часть корневого канала зуба при наполнении канала пломбировочным материалом.

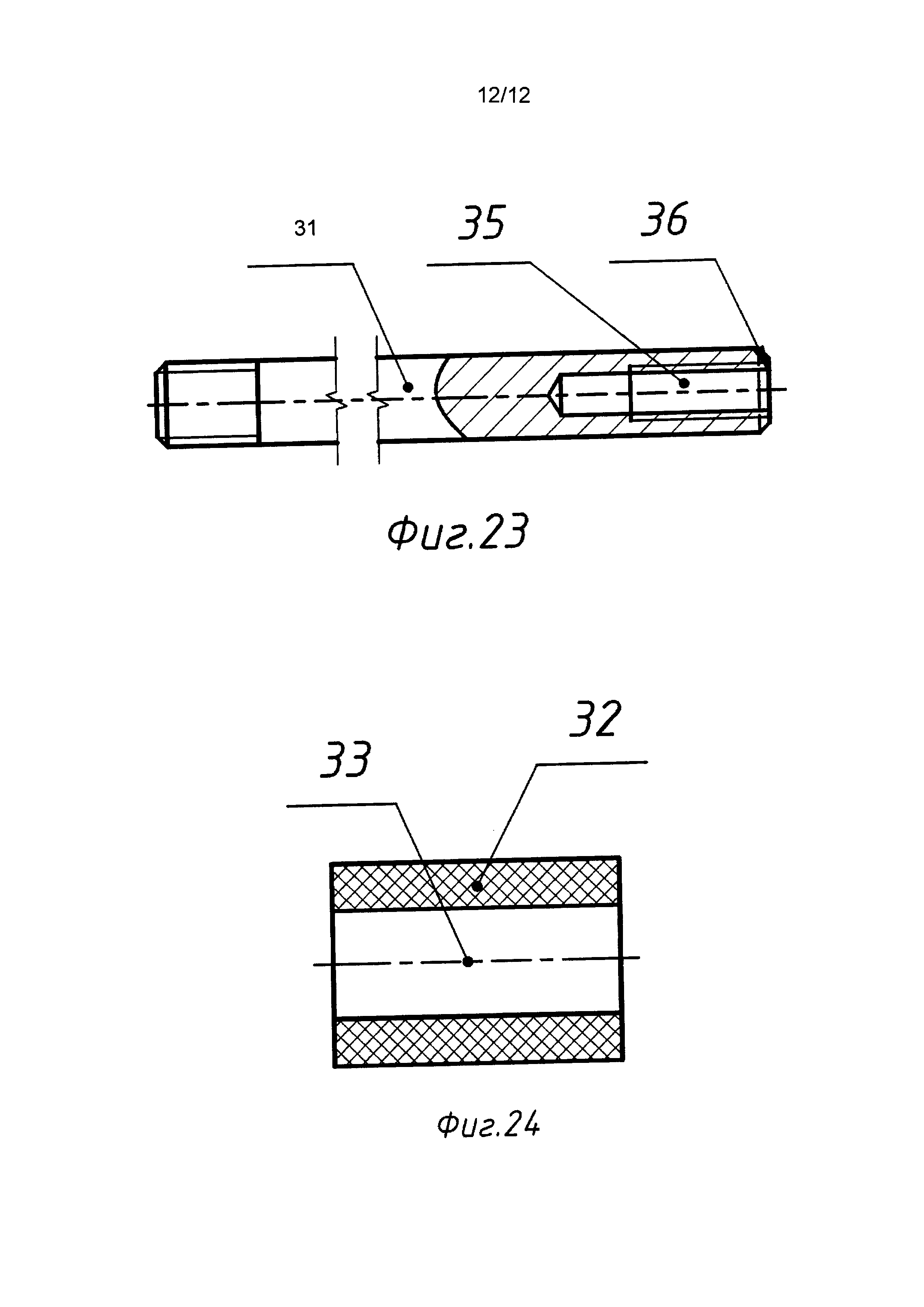
[10]

Из RU 2212206, 20.09.2003, известно другое устройство для пломбирования пульповой полости и корневых каналов, содержащее наконечник для установки в пульповой полости, соединенный с ним вакуумный насос, источник текучего материала для пломбирования пульповой полости и средство, предназначенное для приведения упомянутого источника в сообщение с пульповой полостью, при этом соединение наконечника (1) с вакуумным насосом (Р) осуществлено посредством первой системы соединительных трубок (2в, 2d, 12), а средство для приведения источника текучего материала в сообщение с пульповой полостью выполнено в виде мембраны (6), откалиброванной на разрушение при заданном давлении, при этом мембрана (6) установлена на второй системе соединительных трубок (2а, 2с, 4), расположенной между источником (9) текучего материала и наконечником (1).

[11]

Однако вышеуказанные известные устройства не используются для пломбирования корневых каналов путем инъекции разогретой гуттаперчи в канал зуба.

[12]

Технической задачей данного изобретения является устранение вышеприведенных недостатков в устройстве для заполнения канала зуба разогретой гуттаперчей.

[13]

Техническим результатом, достигаемым заявленным изобретением, является снижение трудоемкости процесса инъекции разогретой гуттаперчи в канал зуба, снижение трудоемкости замены насадки и иглы, появление возможности стерилизации их за счет использования разъемного соединения части устройства, непосредственно прилегающей к игле, к корпусу.

[14]

Поставленная задача решается в результате того, что в устройстве для инъекции разогретой гуттаперчи в канал зуба, включающем корпус с выдвижным штоком, средствами управления и индикации, трубку, оснащенную нагревателем и датчиком температуры с продольной полостью для размещения штока и стержня из гуттаперчи, и съемную иглу, полость которой в смонтированном положении сообщается с продольной полостью трубки, согласно изобретению трубка смонтирована в насадке с возможностью отделения от корпуса, причем трубка в отделенном состоянии позволяет загружать стержень из гуттаперчи.

[15]

Данная совокупность общих существенных признаков представляет собой сущность заявляемого изобретения. Она необходима и достаточна во всех случаях его использования.

[16]

Благодаря такой конструкции появляется возможность использовать несколько сравнительно дешевых насадок с одним корпусом, с обеспечением быстрой смены насадок. Это позволяет в процессе операции при помощи одного устройства менять насадки с разной длиной игл. В известном устройстве (прототипе) для смены иглы, как указано выше, надо ждать остывания иглы, затем отвинчивать ненужную иглу, завинчивать новую иглу, разогревать гуттаперчу и после нагрева продолжать работу, что требует достаточно много времени.

[17]

Заявленное устройство позволяет заранее заготовить несколько насадок с уже заправленными гуттаперчевыми цилиндрами. В результате становится возможной быстрая замена инструмента при окончании гуттаперчи (время нагрева - около 15 секунд).

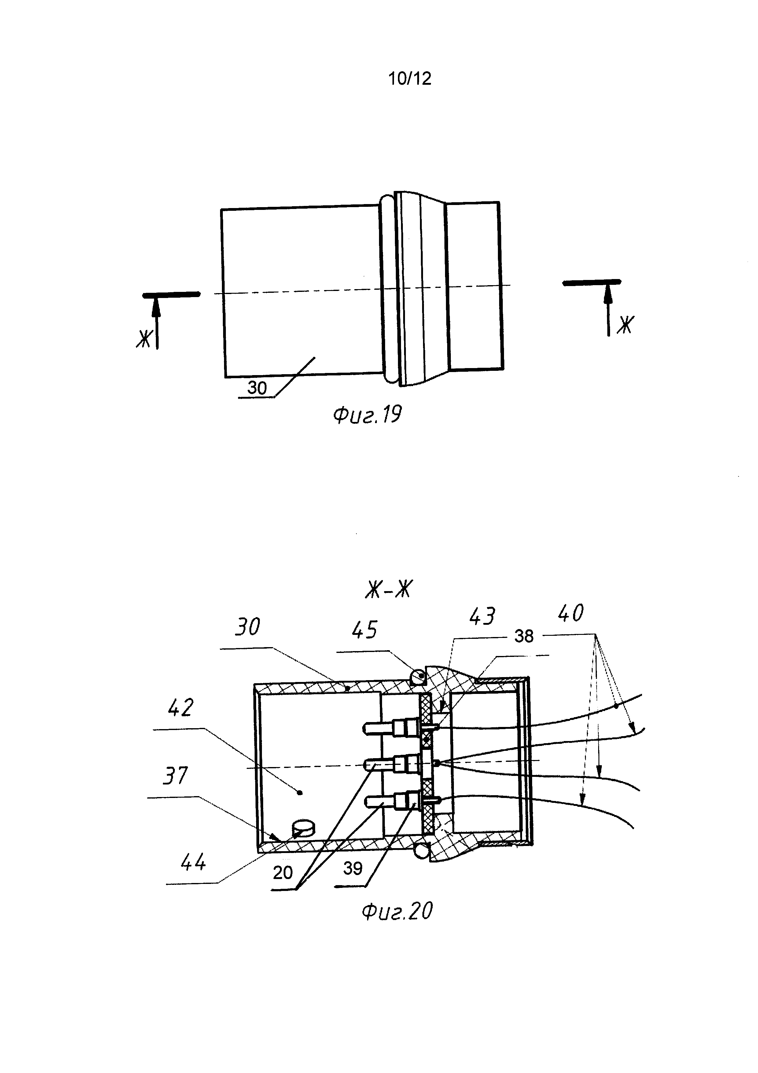
[18]

Другим важным преимуществом является возможность стерилизации насадки с иглой методом автоклавирования, что позволяет иметь заранее несколько автоклавированных стерильных насадок. В известном аналоге такой возможности нет, поскольку насадка неразъемно закреплена на корпусе и не автоклавируемая.

[19]

Заявитель разработал множество вариантов заявленного устройства, касающихся как конструкции насадки, так и конструкции корпуса.

[20]

Вместе с тем, заявитель считает необходимым выделить следующие развития и/или уточнения совокупности его существенных признаков, относящихся к некоторым частным случаям выполнения или использования.

[21]

Желательно, чтобы насадка с нагревателем и датчиком температуры, а также игла, были бы изготовлены из материалов, допускающих стерилизацию методом автоклавирования, в частности выдерживающих температуру до 140°С. Это позволит стерилизовать иглу с прилегающей частью аппарата методом автоклавирования, что позволит иметь заранее несколько автоклавированных стерильных насадок.

[22]

В результате заявленное устройство может быть снабжено набором насадок с трубками, что повышает удобство пользования при инъекции разогретой гуттаперчи в канал зуба.

[23]

Для дальнейшего повышения удобства пользования устройством, снижения времени на отсоединение и соединение насадки и корпуса предпочтительно, чтобы насадка с трубкой была бы смонтирована с возможностью отделения от корпуса при помощи быстроразъемного соединения, например байонетного соединения. Для обеспечения достижения той же цели желательно, чтобы трубка была бы смонтирована с возможностью отделения от корпуса при помощи быстроразъемного электрического соединения, снабженного подпружиненными электрическими контактами.

[24]

Изобретение поясняется чертежом.

[25]

На фиг. 1 изображено устройство для инъекции разогретой гуттаперчи в канал зуба, вид сбоку;

[26]

На фиг. 2 - то же, вид сверху;

[27]

На фиг. 3 изображен корпус устройства с блоком управления и выдвижным штоком с плунжерным уплотнением на конце;

[28]

На фиг. 4 - то же, сечение А-А фиг. 3;

[29]

На фиг. 5 - то же, аксонометрия;

[30]

На фиг. 6 изображена съемная насадка в сборе, аксонометрия;

[31]

На фиг. 7 - то же, вид сверху;

[32]

На фиг. 8 - то же, сечение Б-Б фиг. 7;

[33]

На фиг. 9 изображена сборка из соединительной втулки и трубки нагревателя, вид сверху;

[34]

На фиг. 10 - то же, сечение В-В фиг. 9;

[35]

На фиг. 11 изображен кожух насадки, аксонометрия (кожух предназначен для изолирования сильно нагреваемой части устройства, вводимого в рот пациента, а также для защиты ее от механических повреждений);

[36]

На фиг. 12 - то же, вид сверху;

[37]

На фиг. 13 - то же, сечение Г-Г фиг. 12;

[38]

На фиг. 14 - то же, вид Д фиг. 12;

[39]

На фиг. 15 изображена трубка нагревателя, аксонометрия;

[40]

На фиг. 16 - то же, продольное осевое сечение;

[41]

На фиг. 17 - печатная контактная плата насадки;

[42]

На фиг. 18 - то же, вид по стрелке Е;

[43]

На фиг. 19 - ответная соединительная втулка корпуса, аксонометрия;

[44]

На фиг. 20 - то же, сечение Ж-Ж фиг. 19;

[45]

На фиг. 21 изображена контактная плата корпуса с пружинными контактами;

[46]

На фиг. 22 - то же, вид по стрелке И фиг. 21;

[47]

На фиг. 23 изображен толкатель устройства для инъекции разогретой гуттаперчи, вид сбоку;

[48]

На фиг. 24 изображено уплотнение (продольное сечение).

[49]

ПРИМЕЧАНИЕ: поскольку конструкция стержня из гуттаперчи не является предметом изобретения, а его конструкция и манипуляции с ним очевидны, то для того, чтобы не перегружать фигуры, он не показан на них.

[50]

Описание заявленного устройства в статике

[51]

Устройство 1 для инъекции разогретой гуттаперчи в канал зуба включает корпус 2 со средствами управления и индикации и выдвижным штоком с плунжерным уплотнением на конце, а также насадку 3 с иглой 4 с продольной сквозной полостью (фиг. 1, фиг. 2).

[52]

Насадка 3, в свою очередь, содержит кожух 5, внутри которого размещено нагревательное средство 6, состоящее из трубки 7 и нагревателя 8 в виде нагревательной спирали, расположенной на концевой части трубки 7 со стороны иглы (фиг. 8). Трубка 7 изготовлена из нержавеющей стали, обладающей относительно низкой теплопроводностью. Нагреватель 8 в виде нагревательной спирали электрически изолирован от металлической трубки 7 при помощи термоизоляционной ленты (скотча). Для этого на конец трубки 7 наматывается один слой термоизолирующей ленты, на которую затем наматывается нагревательная спираль, представляющая собой нагреватель 8. Трубка 7 отдельно изображена на фиг. 15 и фиг. 16.

[53]

Для фиксации трубки 7 нагревательного средства 6 внутри кожуха 5 служит соединительная втулка 9 нагревателя, которая одновременно обеспечивает соединение с корпусом посредством байонетного соединения или любого другого аналогичного по функциям соединения, например винтового. Соединительная втулка 9 нагревателя изготовлена, например, из поликарбоната (высокотемпературный пластик, выдерживающий температуру стерилизации в автоклаве (135°С) или другого подходящего полимерного материала, который дешев и позволяет легко формоваться.

[54]

Трубка 7 и соединительная втулка 9 нагревателя неразъемно соединены между собой при отливке соединительной втулки. В соединенном виде они изображены на фиг. 10 и фиг. 9. С наружной поверхности соединительной втулки 9 на ней выполнена канавка 10 Г-образной формы байонетного соединения. Полка 11 канавки 10 соединена с продольной частью 12 канавки 10, выходящей на торец 13 соединительно втулки 9. Соединительная втулка 9 нагревателя отлита цельной из полимера и в центральной части неразъемно соединена при отливке с трубкой 7. Кроме того, в соединительной втулке 9 нагревателя отформованы продольные сквозные коаксиальные отверстия 14, предназначенные для размещения электрических проводников. Их количество определяется, например, потребностью пропустить то или иное количество проводом определенного сечения. В нашем случае необходимо пропустить четыре провода.

[55]

Для предотвращения продольного и вращательного движения трубки 7 относительно соединительной втулки 9 на трубке 7 выполнены пазы 15 (фиг. 16), которые заполняются полимером во время отливки соединительной втулки.

[56]

В собранном виде в хвостовой части 16 (фиг. 10) соединительной втулки 9 вклеивается печатная контактная плата 17 насадки (фиг. 8). Для ее размещения в хвостовой части соединительной втулки 9 отлит паз 18 (фиг. 10) по форме этой печатной контактной платы. Печатная контактная плата 17 снабжена контактными площадками 19 для соединения с подпружиненными электрическими контактами 20 блока управления в корпусе 2. Контактные площадки 19 электрически соединены с площадками 21 на другой стороне печатной контактной платы 17. Площадки 21, в свою очередь, являются контактами для пайки проводов, соединяющих выводы (два провода) нагревательной спирали нагревателя 8 и выводы (также два провода) датчика температуры 22 (например, терморезистор).

[57]

Узел из трубки 7 с соединительной втулкой 9 (фиг. 10) неразборно размещается внутри кожуха 5 (фиг. 8), который изготовлен, например, из поликарбоната или другого полимерного материала, выдерживающего стерилизацию при температуре 135°С. Кожух 5 подробно изображен на фиг. 11 - фиг. 14. Для обеспечения неразборного соединения в полости кожуха 5 отформованы рифления в виде выступов 23, которые обеспечивают плотную посадку соединительной втулки 9 внутри кожуха 5 в результате деформации выступов 23.

[58]

Для центрирования трубки 7 внутри кожуха 5 служит кольцо 24 (фиг. 8), изготовленное из силикона или из другого подходящего эластичного высокотемпературного материала. Силиконовое кольцо 24, растягивая, одевают в кольцевой паз 25 на конце трубки 7 (фиг. 15, фиг. 16).

[59]

Как отмечено ранее, игла 4 является отдельным элементом устройства. Для соединения сменной иглы 4 с трубкой 7 в конце полости 26 трубки 7 (напротив кольцевого паза 25) выполнена резьбовая нарезка 27 (фиг. 16, на фиг. 8 и 10 резьба не указана, чтобы не перегружать чертеж) с параметрами резьбы, соответствующими резьбе 28 на наружной поверхности утолщенной концевой части 29 иглы 4.

[60]

Соединительная втулка 9 разъемно соединяется, например, посредством байонетного соединения с соединительной втулкой 30 корпуса, которая является частью корпуса 2 заявленного устройства с блоком управления и выдвижным штоком 31 с плунжерным уплотнением на конце (фиг. 4).

[61]

Плунжерное уплотнение включает втулку 32 из термостойкого эластичного материала, например фторопласта (фиг. 24) с продольной полостью 33. Для закрепления втулки 32 на выдвижном штоке 31 через его продольную полость 33 продевают винт 34 до упора шляпки в торец втулки 32. После этого винт 34 ввинчивают в винтовую полость 35 выдвижного штока 31. Втулка 32 одним торцом упирается в шляпку винта 34, а другим торцом - в торец 36 выдвижного штока 31. При дальнейшем ввинчивании винта втулка 32 расширяется, образуя утолщение на конце выдвижного штока 31 (фиг. 4).

[62]

Рассмотрим подробнее конструкцию соединительной втулки 30 корпуса (фиг. 4, 19-22).

[63]

Соединительная втулка 30 корпуса включает корпус 37 соединительной втулки корпуса и контактную плату 38 корпуса 37 соединительной втулки корпуса устройства. На контактную плату 38 корпуса 37 соединительной втулки корпуса устройства установлены подпружиненные электрические контакты 20, электрически, посредством разъемов 39, соединенные с проводами 40, соединенными, в свою очередь, с платой управления 41 устройства. Контактная плата 38 корпуса 37 соединительной втулки корпуса устройства закреплена внутри ее полости 42 на кольцевом выступе 43, например, при помощи клеевого соединения. В полости 42 на ее внутренней поверхности имеется выступ 44 байонетного соединения, предназначенный для размещения внутри канавки 10 Г-образной формы байонетного соединения. Для уплотнения байонетного соединения служит кольцо 45, изготовленное из эластичного материала, например силикона. Корпус 37 соединительной втулки с контактной платой 38 присоединяется к остальной части корпуса 2, например, при помощи клеевого соединения.

[64]

Изготовление заявленного устройства

[65]

Для сборки устройства для инъекции разогретой гуттаперчи в канал зуба берут трубку 7 (фиг. 16) и на ней формуют соединительную втулку 9 литьевым способом с продольными сквозными коаксиальными отверстиями 14, предназначенными для размещения электрических проводников (фиг. 8, фиг. 10). После этого на конец трубки 7 наматывают термоизоляционную ленту (скотч). Сверху на нее наматывают нагревательную спираль, представляющую собой нагреватель 8. Затем на трубке 7 закрепляется термоскотчем датчик температуры 22. После этого в хвостовой части 16 соединительной втулки 9 вклеивается печатная контактная плата 17 с подпаянными проводами, которые пропускаются через продольные сквозные коаксиальные отверстия 14. Затем пропущенные провода электрически соединяются с выводами нагревательной спирали нагревателя 8, например, с помощью электрической сварки. Кроме того, другая пара проводов электрически соединяется с выводами датчика температуры 22. Затем одевают в кольцевой паз 25 на конце трубки 7 силиконовое кольцо 24. После этого соединительную втулку 9 с усилием вводят в полость 46 кожуха 5 до упора в выступ 47, сминая выступы 23 для обеспечения плотного неразъемного соединения. Монтируют иглу 4 путем ввинчивания резьбы 28 на наружной поверхности утолщенной концевой части 29 иглы 4 в резьбовую нарезку 27 внутри конца полости 26 трубки 7.

[66]

Сборка соединительной втулки 30 корпуса 2 осуществляется в следующей последовательности.

[67]

Сначала берут контактную плату 38 корпуса 37 соединительной втулки 30 корпуса устройства и закрепляют на ней методом пайки стандартные покупные подпружиненные электрические контакты 20. Затем с обратной стороны контактной платы 38 припаиваются провода 40 для ее связи с платой управления 41 в корпусе 2 (фиг. 21). Контактную плату 38 закрепляют внутри полости 42 на кольцевом выступе 43, например, с помощью клеевого соединения. После этого устанавливают кольцо 45 из эластичного материала, предназначенного для поджатия байонетного соединения. Затем, после припаивания проводов 40 к плате управления 41 в корпусе 2, закрепляют корпус 37 соединительной втулки корпуса устройства к остальной части корпуса 2, пропуская через отверстие 48 контактной платы 38 выдвижной шток 31.

[68]

Предварительно осуществляется сборка корпуса 2 устройства с блоком управления и выдвижным штоком 31, включая присоединение к нему соединительной втулки 30 корпуса. Сборка элементов корпуса 2 не раскрывается, поскольку не является предметом настоящего изобретения.

[69]

В итоге сборки получаем часть устройства в виде корпуса 2 с выдвижным штоком 31, совершающим возвратно-поступательное движение с управлением от процессорной системы платы управления, которое является стандартным, не относится к предмету настоящего изобретения и поэтому подробно не рассматривается.

[70]

Работа устройства

[71]

Возможны многочисленные алгоритмы работы устройства. Ниже приводится один из них, не ограничивая объем прав на изобретения.

[72]

Для работы устройства берут сначала в руки собранную насадку 3 (фиг. 8). Затем в полость 26 трубки 7 вводят стержень из гуттаперчи, например, в виде цилиндра с диаметром несколько меньше диаметра полости 26 трубки 7. Перемещают его до упора в торец 49 утолщенной концевой части 29 иглы 4 (фиг. 8). Длина стержня из гуттаперчи должна быть несколько меньше длины максимального хода выдвижного штока 31. Для ввода стержня из гуттаперчи достаточно расположить собранную насадку 3 вертикально иглой вниз. В этом случае под действием собственного веса она самопроизвольно упадет на торец 49 утолщенной концевой части 29 иглы 4.

[73]

После этого вводят выдвижной шток 31 в полость 26 трубки 7 в промежуточное положение без упора в торец стержня из гуттаперчи, предварительно отрегулировав положение выдвижного штока 31.

[74]

Затем фиксируют байонетным соединением насадку 3 на соединительной втулке 30 корпуса 2. При этом после поворота выступа 44 до упора в полке 11 канавки 10 все подпружиненные электрические контакты 20 контактной платы 38 контактируют с соответствующими контактными площадками 19 печатной контактной платы 17.

[75]

После этого берут в руки корпус 2 с присоединенной насадкой 3 и путем нажатия на кнопку 50 (фиг. 5) инициируют через плату управления подачу напряжения на нагревательную спираль нагревателя 8. Происходит нагрев гуттаперчи стержня из гуттаперчи до пластичного (почти жидкого) состояния. Смотрят на показания температуры, показываемой от датчика температуры 22, изображаемые на дисплее 51. После достижения необходимого нагрева (в интервале температур 160-220 градусов Цельсия) для обтюрации канала зуба (то есть для заполнения канала разогретой гуттаперчей) вводят конец иглы 4 на определенную глубину в канал зуба. Затем нажимая отдельными нажатиями на кнопку 52 подают контролируемыми небольшими порциями разогретую подвижную гуттаперчу в канал зуба путем ее выдавливания в результате небольших выдвижений выдвижного штока 31.

[76]

После окончания обтюрации или для смены стержня из гуттаперчи извлекают конец иглы 4 из канала зуба. Затем, нажатием на кнопку 53 извлечения выдвижного штока, осуществляют автоматическое перемещение выдвижного штока 31 назад до исходного состояния.

[77]

Для повторной загрузки стержня из гуттаперчи расстыковывается байонетное соединение, отделяется насадка 3 от корпуса 2 и в открывшуюся полость 26 трубки 7 вводят новый стержень из гуттаперчи.

[78]

Далее операции повторяются согласно вышеизложенному описанию работы.

[79]

Благодаря заявленной конструкции появляется возможность

[80]

использовать несколько сравнительно дешевых насадок с одним корпусом, с обеспечением возможности быстрой смены насадок. Это позволяет в процессе операции осуществлять при помощи одного устройства смену насадок с разной длиной игл. В известном устройстве (прототипе) для смены иглы надо ждать остывания иглы, затем следует отвинтить ненужную иглу, присоединить завинчиванием новую иглу, нагреть ее и только после нагрева продолжить работу, что требует достаточно много времени. Заявленное устройство позволяет заранее заготовить несколько насадок с уже заправленными стержнями из гуттаперчи. Благодаря этому возможна быстрая замена инструмента при окончании гуттаперчи (время нагрева - около 15 секунд).

[81]

Другим важным преимуществом заявленного устройства является возможность стерилизации отдельно насадки с иглой методом автоклавирования. Для автоклавирования насадка отделяется от корпуса. Это позволяет иметь заранее несколько автоклавированных стерильных насадок. В известном ближайшем аналоге такой возможности нет, поскольку насадка неразъемно закреплена на корпусе и поэтому не автоклавируема.

[82]

Изобретение позволяет повысить удобство пользования, снизить нагрузку на лечащего человека (врача), облегчить очистку и стерилизацию инструмента.

[83]

Помимо приведенного варианта изобретения возможны и другие его многочисленные модификации.

[84]

Все они охватываются приведенной далее формулой изобретения.

Как компенсировать расходы
на инновационную разработку
Похожие патенты