патент
№ RU 2622052
МПК B07B9/00

Гравитационно-пневматический зерноочистительный аппарат

Авторы:
Хамуев Виктор Геннадьевич
Номер заявки
2016114576
Дата подачи заявки
15.04.2016
Опубликовано
09.06.2017
Страна
RU
Как управлять
интеллектуальной собственностью
Чертежи 
1
Реферат

Изобретение относится к устройствам, сепарирующим зерновые материалы, и может быть применено при очистке зерна в сельском хозяйстве. Гравитационно-пневматический зерноочистительный сепаратор включает гравитационную колонку, внутри которой установлены зигзагообразные ряды вогнутых просеивающих поверхностей для сепарирования обрабатываемого материала по крупности, а также загрузочное приспособление, пневмосепарирующий канал и патрубки вывода разделенных фракций. Пневмосепарирующий канал разделен как минимум на три секции, в каждой из которых установлены как минимум по два выравнивающих скорость воздушного потока устройства. Каждая секция пневмосепарирующего канала подсоединена к отдельной осадочной камере с вентилятором. Каждый вентилятор соединен с фильтром и пылесборником, имеющим транспортер для вывода пыли. Технический результат - повышение эффективности очистки зерновых материалов и надежность его работы. 1 ил.

Формула изобретения

Гравитационно-пневматический зерноочистительный сепаратор, включающий гравитационную колонку, внутри которой установлены зигзагообразные ряды вогнутых просеивающих поверхностей для сепарирования обрабатываемого материала по крупности, а также загрузочное приспособление, пневмосепарирующий канал и патрубки вывода разделенных фракций, отличающийся тем, что пневмосепарирующий канал, разделен как минимум на три секции, в каждой из которых установлены как минимум по два выравнивающих скорость воздушного потока устройства, каждая секция пневмосепарирующего канала подсоединена к отдельной осадочной камере с вентилятором, а каждый вентилятор соединен с фильтром и пылесборником, имеющим транспортер для вывода пыли.

Описание

[1]

Изобретение относится к устройствам, сепарирующим зерновые и другие сыпучие материалы по крупности и аэродинамическим свойствам и может быть применено при очистке зерна и семян в сельском хозяйстве.

[2]

Известен сепаратор сыпучих материалов по крупности, содержащий гравитационную колонку, в которой размещены зигзагообразно одна ниже другой просеивающие поверхности в виде консольно закрепленных пальцев [Патент России №2071389, МПК В07В 1/04, 1994].

[3]

Известный сепаратор за один пропуск обрабатываемого материала под действием гравитационных сил производит очистку только по одному параметру определенному зазором между консольно закрепленных пальцев, поэтому недостаточно эффективен.

[4]

Наиболее близким по технической сущности и достигаемому результату к заявленному изобретению является выбранный в качестве прототипа сепаратор сыпучих материалов, включающий гравитационную колонку, внутри которой установлены зигзагообразные ряды вогнутых просеивающих поверхностей для сепарирования обрабатываемого материала по крупности, а также загрузочное приспособление, пневмосепарирующий канал и патрубки вывода разделенных фракций [Патент России №2121878, МПК В02С 23/08, 1997].

[5]

Известное устройство работоспособно при очистке от крупных примесей, но недостаточно эффективно при выделении мелких и легких примесей.

[6]

Технической задачей изобретения является повышение эффективности разделения зернового материала.

[7]

Указанная техническая задача достигается тем, что в гравитационно-пневматическом зерноочистительном сепараторе, включающем гравитационную колонку, внутри которой установлены зигзагообразные ряды вогнутых просеивающих поверхностей для сепарирования обрабатываемого материала по крупности, а также загрузочное приспособление, пневмосепарирующий канал и патрубки вывода разделенных фракций, согласно изобретению пневмосепарирующий канал разделен как минимум на три секции, в каждой из которых установлены как минимум по два выравнивающих скорость воздушного потока устройства, каждая секция пневмосепарирующего канала подсоединена посредством воздуховодов к отдельной осадочной камере с вентилятором, а каждый вентилятор соединен с фильтром и пылесборником, имеющим транспортер для вывода пыли.

[8]

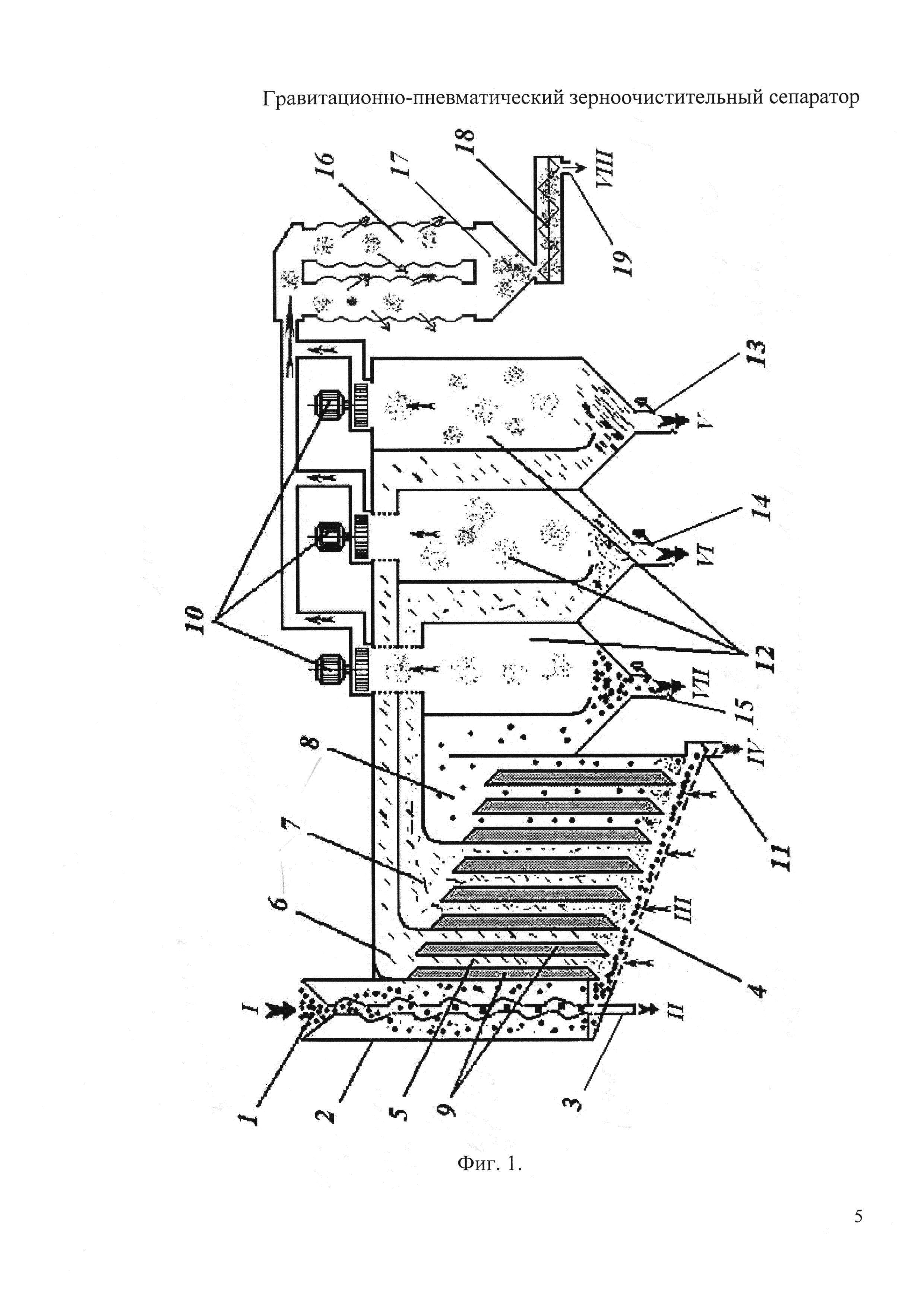
Изобретение поясняется фиг.1, где представлена конструктивно-компоновочная схема гравитационно-пневматического зерноочистительного сепаратора.

[9]

Сепаратор содержит загрузочное приспособление 1, гравитационную колонку 2, патрубок 3 вывода крупной примеси, поддерживающую сетку 4, пневмосепарирующий канал 5, секции пневмосепарирующего канала 6, 7 и 8, устройства 9, выравнивающие скорость воздушного потока, вентиляторы 10, патрубок 11 вывода очищенного зерна, осадочные камеры 12, патрубок 13 вывода легких примесей, патрубок 14 вывода щуплых и битых зерновок, патрубок 15 вывода трудноотделимых примесей, фильтры 16, сборник пыли 17, транспортер 18 и патрубок 19 вывода пыли. Кроме этого на схеме сепаратора представлены исходный материал I, крупная примесь II, воздушный поток III, очищенный материал IV, легкая примесь V, битые и щуплые зерновки VI, трудноотделимая примесь VII и пыль VIII.

[10]

Гравитационно-пневматический зерноочистительный сепаратор работает следующим образом.

[11]

Исходный зерновой материал I, состоящий из зерна и подлежащих выделению примесей, через загрузочное приспособление 1 самотеком поступает в гравитационную колонку 2. Под действием гравитационных сил материал внутри колонки движется сверху вниз по зигзагообразному каналу, образованному каскадом установленных вогнутых просеивающих поверхностей, в результате чего основная масса зерновок проходит в зазорах между консольно закрепленными пальцами, а крупная примесь II сходом движется вниз и выводится из машины через соответствующий патрубок 3. Основная зерновая масса далее самотеком поступает на поддерживающую сетку 4 пневмосепарирующего канала 5, где в секциях 6, 7 и 8 с выравнивающими устройствами 9 под воздействием вертикально-восходящих воздушных потоков III, создаваемых вентиляторами 10, происходит выделение легких примесей V, а также щуплых и битых зерновок VI и трудноотделимых примесей VII. Очищенный материал IV, перемещаясь по поддерживающей сетке 4, выводится из сепаратора через соответствующий патрубок 11. Выделенные воздушными потоками примеси выносятся в осадочные камеры 12 и выгружаются через соответствующие патрубки 13, 14 и 15, клапаны которых закрываются под действием вакуума, образованного в осадочных камерах. Воздушные потоки из осадочных камер 12, пройдя через вентиляторы 10, очищаются от пыли в фильтрах 16. Выделенная пыль VIII собирается в специальном сборнике 17, откуда выводится транспортером 18 через патрубок 19.

[12]

Применение предложенного сепаратора позволит значительно повысить эффективность очистки зерновых материалов и надежность его работы.

Как компенсировать расходы
на инновационную разработку
Похожие патенты